|
|
(21), (22) Заявка: 2005111011/12, 08.04.2005
(24) Дата начала отсчета срока действия патента:
08.04.2005
(30) Конвенционный приоритет:
21.09.2004 (пп.1-14) KR 10-2004-0075370
(43) Дата публикации заявки: 20.10.2006
(46) Опубликовано: 20.03.2007
(56) Список документов, цитированных в отчете о поиске:
US 3425192 А, 04.02.1969. SU 994011 А, 07.02.1983. SU 1060231 A1, 15.12.1982. GB 2374305 A, 16.10.2002. GB 2084904 A, 21.04.1982. DE 4104923 A1, 05.03.1992.
Адрес для переписки:
191036, Санкт-Петербург, а/я 24, “НЕВИНПАТ”, пат.пов. А.В.Поликарпову
|
(72) Автор(ы):
ХАН Джанг-гьюн (KR), О Джэнг-кьюн (KR), СИ Джи-уон (KR)
(73) Патентообладатель(и):
Самсунг Гуангджу Электроникс Ко., Лтд. (KR)
|
(54) ЦИКЛОННЫЙ ПЫЛЕУЛОВИТЕЛЬ (ВАРИАНТЫ)
(57) Реферат:
Циклонный пылеуловитель, содержащий первый циклон, предназначенный для центрифугирования пыли из втягиваемого воздуха; по меньшей мере один второй циклон, предназначенный для отделения пыли из воздуха, прошедшего через первый циклон; и электродный узел, установленный, по меньшей мере, в одном из указанных циклонов и содержащий первый электрод, установленный в первом выпускном канале первого циклона, и первый проводящий элемент, прикрепленный к внутренней стенке первого циклона. Использование данного изобретения обеспечивает эффективный сбор мелкодисперсной пыли. 3 н. и 11 з.п. ф-лы, 6 ил.
ПЕРЕКРЕСТНАЯ ССЫЛКА НА РОДСТВЕННЫЕ ЗАЯВКИ
Приоритет данной заявки заявляется по заявке на патент Кореи No. 2004-75370, которая подана 21 сентября 2004 года в Управление Интеллектуальной Собственности Кореи и описание которой полностью включено в настоящую заявку посредством ссылки.
ПРЕДПОСЫЛКИ ИЗОБРЕТЕНИЯ
Область изобретения
Настоящее изобретение относится к пылесосу. Более конкретно, настоящее изобретение относится к циклонному пылеуловителю, предназначенному для отделения загрязнений, таких как пыль, содержащихся во втягиваемом воздухе, посредством центробежной силы и электричества.
Описание уровня техники
В общем случае пылесос содержит всасывающую щетку, способную перемещаться по очищаемой поверхности и соединенную с корпусом пылесоса, пылеуловитель, установленный с возможностью съема в корпусе пылесоса; и двигатель, обеспечивающий силу всасывания. Посредством силы всасывания, создаваемой двигателем, пыль и неоднородные загрязнения с очищаемой поверхности втягиваются в корпус пылесоса и фильтруются пылеуловителем, а затем очищенный воздух выпускается наружу из пылесоса через электродвигатель.
Подобные традиционные пылеуловители обычно используются с мешком для сбора пыли, а в настоящее время применяются пылеуловители циклонного типа, в которых используется центробежная сила, для повышения удобства пользователя и повышения эффективности очищения. Недавно был разработан и теперь используется в быту пылесос, в котором увеличена эффективность очищения за счет установленных в нем последовательно или параллельно нескольких циклонов.
Известен, например, циклонный пылеуловитель, содержащий многоциклонный узел, включающий первую камеру циклона, предназначенную для отделения пыли из втягиваемого воздуха, и вторые камеры циклона, расположенные вокруг первой камеры циклона; покрывающий узел, прикрепленный к верхней части многоциклонного узла и соединяющий первую и вторые камеры циклона; и пылесборный узел, прикрепленный к нижней части многоциклонного узла и предназначенный для сбора центрифугированной пыли (см. патент США №3425192).
Однако данный усовершенствованный пылесос все еще не достаточно тщательно собирает мелкодисперсную пыль, содержащуюся в воздухе. Поэтому продолжаются исследования по повышению эффективности пылеулавливания путем улавливания и сбора даже мелкодисперсной пыли, которая с трудом подвергается действию центробежной силы.
СУЩНОСТЬ ИЗОБРЕТЕНИЯ
Целью настоящего изобретения является решение, по меньшей мере, вышеуказанных проблем и/или устранение недостатков, а также обеспечение, по меньшей мере, преимуществ, приведенных ниже. Соответственно, целью настоящего изобретения является создание циклонного пылеуловителя, эффективного для сбора мелкодисперсной пыли.
Для осуществления вышеуказанных целей настоящего изобретения предлагается циклонный пылеуловитель, содержащий первый циклон, предназначенный для центрифугирования пыли из втягиваемого воздуха; по меньшей мере один второй циклон, предназначенный для отделения пыли из воздуха, прошедшего через первый циклон; и электродный узел, установленный, по меньшей мере, на одном из указанных циклонов.
Электродный узел содержит первый электрод, установленный в первом выпускном канале первого циклона, и первый проводящий элемент, прикрепленный к внутренней стенке первого циклона.
Электродный узел содержит второй электрод, установленный во втором выпускном канале второго циклона, и второй проводящий элемент, прикрепленный к внутренней стенке второго циклона.
Первый и второй электродные элементы создают отрицательные ионы, так что пыль, содержащаяся в воздухе, заряжается отрицательными зарядами, при этом первый и второй проводящие элементы заземлены.
Еще одна цель настоящего изобретения достигается путем создания циклонного пылеуловителя, содержащего многоциклонный узел, включающий первую камеру циклона, предназначенную для отделения пыли из втягиваемого воздуха, и вторые камеры циклонов, расположенные вокруг первой камеры циклона; покрывающий узел, прикрепленный к верхней части многоциклонного узла и соединяющий первую и вторую камеры циклонов; пылесборный узел, прикрепленный к нижней части многоциклонного узла и предназначенный для сбора центрифугированной пыли; и электродный узел, предназначенный для зарядки пыли, втягиваемой, по меньшей мере, в одну из указанных камер циклона.
Покрывающий узел содержит первую крышку с центробежными каналами, предназначенными для направления воздуха, прошедшего через первую камеру циклона, ко второй камере циклона с образованием завихрений, и вторую крышку, предназначенную для направления воздуха, выпускаемого из второго циклона, при этом электродный узел содержит по меньшей мере один электродный элемент и по меньшей мере один проводящий элемент.
Электродный элемент содержит первый электродный элемент, прикрепленный к первой крышке и выступающий внутрь первой камеры циклона, а также вторые электродные элементы, выступающие внутрь второй камеры циклона, а проводящий элемент содержит первый проводящий элемент, прикрепленный к внутренней стенке корпуса циклона, и вторые проводящие элементы, прикрепленные к внутренним стенкам вторых корпусов циклонов.
Проводящий элемент дополнительно содержит третий проводящий элемент, прикрепленный к внутренней стенке первой крышки.
Первая крышка содержит первый и второй направляющие элементы, выполненные в первом и втором выпускном каналах, а первый и второй электродные элементы установлены на первом и втором направляющих элементах.
Первый и второй направляющие элементы, соответственно, имеют установочные отверстия, предназначенные для введения в них первого и второго электродных элементов.
Первый и второй электродные элементы создают отрицательные ионы, при этом первый и второй проводящие элементы заземлены.
Первый и второй электродные элементы выполнены в виде иглы.
Вторые электродные элементы соединены параллельно друг с другом с обеспечением соответственного подведения к ним одинакового напряжения.
КРАТКОЕ ОПИСАНИЕ ЧЕРТЕЖЕЙ
Вышеуказанный аспект и другие признаки настоящего изобретения станут более очевидны из подробного описания типовых вариантов выполнения изобретения со ссылкой на прилагаемые чертежи, на которых:
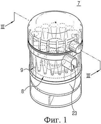
фиг.1 представляет собой вид в аксонометрии циклонного пылеуловителя в соответствии с вариантом выполнения настоящего изобретения;
фиг.2 представляет собой покомпонентный вид в аксонометрии циклонного пылеуловителя, приведенного на фиг.1;
фиг.3 представляет собой поперечный разрез циклонного пылеуловителя по линии III-III на фиг.1;
фиг.4 представляет собой вид снизу первой крышки;
фиг.5 представляет собой увеличенный вид в аксонометрии части “F” на фиг.4; и
фиг.6 представляет собой вид сверху первой крышки, показанной на фиг.2, иллюстрирующий дополнительно способ электромонтажа электродного узла.
ПОДРОБНОЕ ОПИСАНИЕ ТИПОВЫХ ВАРИАНТОВ ВЫПОЛНЕНИЯ
Ниже более подробно описан вариант выполнения настоящего изобретения со ссылкой на прилагаемые чертежи.
В последующем описании одинаковые номера позиций относятся к одинаковым элементам, даже на разных чертежах. Определенные в описании объекты, такие как конструктивное исполнение и элементы, являются лишь средствами лучшего понимания изобретения. Таким образом, очевидно, что настоящее изобретение может быть выполнено без определения этих объектов. Помимо того, хорошо известные функции или конструктивные исполнения не описаны в подробностях, поскольку они мешают пониманию описания введением несущественных деталей.
Со ссылкой на фиг.1-3 следует, что циклонный пылеуловитель 7, в соответствии с вариантом выполнения настоящего изобретения, выполнен в виде многоциклонного узла 11, содержащего первый циклон 8 и вторые циклоны 9.
Первый циклон 8 размещен в центральной части многоциклонного узла 11 и содержит первый выпускной канал 25, внутренний кожух 21, образующий первый корпус 21 циклона, и всасывающий проход 23. Первый циклон 8 отделяет относительно крупную пыль из загрязненного воздуха, втягиваемого через всасывающий проход 23.
Вторые циклоны 9 каждый содержат центробежный канал 43, выполненный в первой крышке 40, второй выпускной канал 45 и второй корпус 33 циклона. Вокруг первого циклона 8 размещено тринадцать вторых циклонов 9.
Со ссылкой на фиг.2 и 3 следует, что циклонный пылеуловитель содержит многоциклонный узел 11, пылесборный узел 12, покрывающий узел 13 и электродный узел 14. Фиг.2 представляет собой покомпонентный вид в аксонометрии, иллюстрирующий соответствующие части циклонного пылеуловителя. Что касается электродного узла 14, то на фиг.2 показан только один электродный элемент, в то время как остальные части электродного узла показаны на фиг.3. Фиг.3 представляет собой вид устройства, приведенного на фиг.1, в разрезе по линии III-III. Стрелками на фиг.3 показано направление потока воздуха.
Многоциклонный узел 11 содержит первый циклон 8 и тринадцать вторых корпусов 33 циклонов (фиг.4), размещенных вдоль наружной окружности первого циклона 8. Первый циклон 8 содержит первую камеру 20 циклона, которая расположена во внутреннем пространстве внутреннего кожуха 21 (фиг.4), имеющего по существу цилиндрическую форму, всасывающий проход 23, предназначенный для втягивания воздуха в первую камеру 20 циклона, и решетчатый элемент 27, соединенный с первым выпускным каналом 25 внутреннего кожуха 21. Внутренний кожух 21 может быть выполнен в виде единого целого с наружным кожухом 31. Нижняя и верхняя части внутреннего кожуха 21 являются открытыми, в частности верхняя часть открывается через первый выпускной канал 25 с тем, чтобы воздух мог проходить в него через второй циклон 9. Решетчатый элемент 27 размещен в первом выпускном канале 25.
Тринадцать вторых циклонов 9 расположены вокруг первого циклона 8. Второй корпус 33 циклона, размещенный в пространстве между внутренним кожухом 21 и наружным кожухом 31, выполнен в форме усеченного конуса, более короткого, чем внутренний кожух 21 и наружный кожух 31. Второй корпус 33 циклона открыт сверху и снизу. Таким образом, воздух образует завихрение, выходя из верхней части второго корпуса 33 циклона, и затем опускается вниз. После этого воздух отражается обратно для подъема вверх и выпускается. В это время относительно мелкодисперсная пыль, содержащаяся в воздухе, подвергается центрифугированию и осаждается в узле 12, пройдя через нижнюю часть второго корпуса 33 циклона. Со ссылкой на фиг.2 следует, что вторые корпуса 33 циклонов размещены с определенным интервалом по окружности первого циклона 8. Внутренний кожух 21 и наружный кожух 31, вторые корпуса 33 циклонов, а также всасывающий проход 23 могут быть выполнены как единое целое.
Узел 12 соединен с возможностью съема с нижней частью многоциклонного узла 11. Узел 12 содержит два отдельных пространства “А” и “В”, предназначенных для сбора, соответственно, грубой и мелкодисперсной пыли, которая подвергается центрифугированию в первом и вторых циклонах 8 и 9, соответственно. Узел 12 содержит основной резервуар 70 и изолирующий элемент 80, выполненный внутри основного резервуара 70. Основной резервуар 70 имеет такой же диаметр, как и наружный кожух 31, и содержит соединительную часть 71, предназначенную для соединения с нижней частью наружного кожуха 31.
Изолирующая часть 80 содержит корпус 81 изолирующего элемента цилиндрической формы, соединенный с нижней частью внутреннего кожуха 21 и юбкой 83, проходящей от окружного края корпуса 81 изолирующего элемента и соединенной с внутренней частью основного резервуара 70. Первое пространство “А”, образованное внутренней частью изолирующего элемента 80 и нижней частью основного резервуара 70, собирает грубую пыль, отделенную в первом циклоне 8. Второе пространство “В”, образованное между наружной частью изолирующего элемента 80 и верхней частью основного резервуара 70, проточно соединено со вторым циклоном 9. Соответственно, мелкодисперсная пыль, отделенная во втором циклоне 9, собирается во втором пространстве “В”.
Основной резервуар 70 предпочтительно выполнен из прозрачного материала, чтобы потребитель мог контролировать объем собранной в нем пыли. Юбка 83 изолирующего элемента 80 предпочтительно с одной стороны имеет больший наклон для более удобной проверки собранной пыли потребителем, когда мелкодисперсная пыль накапливается на стороне юбки 83, имеющей больший наклон.
На дне основного резервуара 70 расположена стойка 91, выступающая из него и предназначенная для предотвращения подъема вверх осажденной в первом пространстве “А” пыли за счет вращающегося потока воздуха, создаваемого в этом пространстве. Более того, для ограничения вращения или перемещения пыли, накопленной в основном резервуаре 70, вызываемых воздушным потоком, имеется перегородка 93, соединяющая стойку 91 с внутренней стенкой основного резервуара 70.
Покрывающий узел 13 содержит первую крышку 40, вторую крышку 50 и прокладку 60. Первая крышка 40 вызывает подсос воздуха, прошедшего через первый циклон 8, в соответствующие вторые циклоны 9. Первая крышка 40 соединена с верхней частью многоциклонного узла 11, а прокладка 60 проложена между первой крышкой 40 и многоциклонным узлом 11.
Как показано на фиг.4, первая крышка 40 содержит пластину 41, центробежные каналы 43, расположенные в радиальном направлении по отношению к центру пластины 41, и второй выпускной канал 45. Центробежный канал 43 направляет воздух, выпускаемый из первого выпускного канала 35 первой камеры 20 циклона, к верхней части второго корпуса 33 циклона, превращая тем самым выпускаемый воздух в вихревой поток. Более конкретно, воздух, прошедший через первый выпускной канал 25 и поднявшийся к верхней части первого циклона 8, продолжает движение в радиальном направлении по центробежному каналу 43 ко второму циклону 9, при этом создается вихревое движение воздуха. Очищенный воздух, из которого отделена мелкодисперсная пыль, снова перемещается вверх, создавая вихревое движение воздуха во втором корпусе 33 циклона, и выпускается через второй выпускной канал 45. Очищенный воздух, прошедший через второй выпускной канал 34, выпускается через третий выпускной канал 51 во второй крышке 50 (фиг.2).
Вторая крышка 50 (фиг.2), предназначенная для сбора и выпуска наружу воздуха, выпускаемого из соответствующих вторых выпускных каналов 45, расположена над первой крышкой 40. Внутренняя стенка второй крышки 50 может быть покрыта проводящим пигментом или снабжена проводящим элементом. Вторая крышка 50 (фиг.2) заземлена, как показано на фиг.3.
Прокладка 60, герметично соединяющая крышку 40 и вторые корпуса 33 циклонов, имеет отверстия 61, соответствующие вторым корпусам 33 циклонов, при этом воздух, проходящий через первую камеру 20 циклона, может проходить во вторую камеру 30 циклона через отверстия 61. Отверстия 61 направляют воздух, проходящий через центробежный канал 43, для увеличения центробежной силы воздуха.
Из фиг.3 и 4 следует, что в центральной части 40а первой крышки 40 расположен первый направляющий элемент 47, который может быть выполнен как отдельно от соответствующей внутренней стенки центральной части 40а первой крышки 40 поперек центральной части 40а, так и как единое целое с ней.
В центре первого направляющего элемента 47 расположено первое установочное отверстие 47а, предназначенное для установки первого электродного элемента 101. Внутренний диаметр первого отверстия 47а обеспечивает плотную посадку первого электродного элемента 101 с тем, чтобы последний не мог легко выйти из этого отверстия 47а.
Со ссылкой на фиг.3-5 следует, что второй выпускной канал 45 выступает на определенное расстояние внутрь второго циклона 9.
Второй выпускной канал 45 содержит второй направляющий элемент 49, который может быть выполнен как отдельно от соответствующей внутренней стенки второго выпускного канала поперек его центральной части, так и как единое целое с ним.
В центре второго направляющего элемента 49 расположено второе установочное отверстие 49а, предназначенное для установки второго электродного элемента 103. Внутренний диаметр второго установочного отверстия 49а обеспечивает плотную посадку в нем второго электродного элемента 104 с тем, чтобы последний не мог легко выйти из этого отверстия 49а.
Со ссылкой на фиг.3-5 следует, что электродный узел 14 содержит первый и второй электродные элементы 101 и 103, а также с первого по третий проводящие элементы 122, 124 и 126.
Первый электродный элемент 101 установлен в первом установочном отверстии 47а первого направляющего элемента 47. Для этого первый электродный элемент 101 имеет диаметр, обеспечивающий плотную посадку в первом установочном отверстии 47а первого направляющего элемента 47. Для достижения максимальной генерации отрицательных ионов первый электродный элемент 101 выполнен в форме иглы определенной длины. Следует понимать, что второй электродный элемент 103 может иметь любую другую форму.
Второй электродный элемент 103 установлен во втором установочном отверстии 49а второго направляющего элемента 49. Для этого второй электродный элемент 103 имеет диаметр, обеспечивающий плотную посадку во второе установочное отверстие 49а второго направляющего элемента 49. Для достижения максимальной генерации отрицательных ионов второй электродный элемент 103 выполнен в форме иглы определенной длины. Следует понимать, что второй электродный элемент 103 может иметь любую другую форму.
С первого по третий проводящие элементы 122, 124 и 126 закреплены во внутреннем кожухе 21 многоциклоннного узла 11, соответственно во внутренней стенке второго корпуса 33 циклона и во внутренней стенке второй крышки 50, при этом указанные проводящие элементы заземлены. Проводящие элементы 122, 124 и 126 могут быть нанесены в виде проводящего пигмента, покрывающего внутренние стенки вышеуказанных соответствующих узлов, или возможно создание отдельного проводящего элемента на внутренних стенках вышеуказанных соответствующих узлов. В данном варианте выполнения используется проводящий пигмент, как показано на фиг.3.
Со ссылкой на фиг.6 следует, что первый электродный элемент 101 соединен с первым электрическим проводом 107а у верхней части первой крышки 40, в то время как второй электродный элемент 103 соединен со вторыми электрическими проводами 107b у верхней части первой крышки 40. Первый и вторые электрические провода 107а и 107b соединены параллельно друг с другом в центре первой крышки 40, а также подсоединены к генератору напряжения через третий электрический провод 107 с. Соответственно к первому и вторым электродным элементам 101 и 103 подведено одинаковое напряжение. Генератор напряжения может быть выполнен отдельно, или как единое целое с циклонным пылеуловителем для подведения высокого напряжения к первому и вторым электродным элементам 101 и 103. Обычно к первому и вторым электродным элементам 101 и 103 подводится напряжение, значение которого составляет приблизительно от 5 до 10 кВ.
Ниже описана работа циклонного пылеуловителя, имеющего вышеуказанную конструкцию.
Со ссылкой на фиг.1-3 следует, что загрязненный воздух втягивается через всасывающий проход 23. Втягиваемый воздух направляется вдоль направляющей воздух стенки 26 (фиг.3), сообщающей ему вихревое движение, и втягивается в первую камеру 20 циклона внутреннего кожуха 21. За счет центробежной силы завихренного воздуха грубая пыль опускается и собирается в первом пространстве “А” основного резервуара 70, а очищенный воздух проходит через решетчатый элемент 27 и выпускается через первый выпускной канал 25. Воздух, поднимающийся вверх после прохождения через первый выпускной канал 25, рассеивается за счет столкновения с первой крышкой 40 и по центробежному каналу 43 поступает в тринадцать вторых камер 30 циклонов. Воздух, втягиваемый во вторые камеры 30 циклонов, изменяет движение на вихревое движение, направляемый центробежным каналом 43, и отделяет еще оставшуюся пыль во второй камере 30 циклона. Соответственно, еще не отделенная в первом циклоне 8 пыль отделяется в соответствующих вторых циклонах 9 и опускается, при этом завихренный воздух проходит через второй выпускной канал 45 первой крышки 40 и выпускается в направлении второй крышки 50. Отделенная, опущенная вторым циклоном 9 пыль собирается во втором пространстве “В”. Воздух, выпускаемый через вторые выпускные каналы 45 первой крышки 40, выпускается наружу через третий выпускной канал 51 второй крышки 50.
Помимо центробежного отделения пыли мелкодисперсная пыль отделяется с помощью электродного узла 14. Способ отделения мелкодисперсной пыли с помощью электродного узла 14 изложен ниже.
Со ссылкой на фиг.3 следует, что при подведении высокого напряжения к первому и вторым электродным элементам 101 и 103 от генератора 105 напряжения вокруг первого и вторых электродных элементов 101 и 103 создается сильное магнитное поле и, соответственно, возникает коронный разряд. В это время молекулы воздуха, находящиеся около первого и вторых электродных элементов 101 и 103, превращаются в отрицательные ионы. При столкновении превратившихся в отрицательные ионы молекул воздуха с пылью, втягиваемой в первую и вторые камеры 20 и 30 циклона, пыль приобретает отрицательный электрический заряд.
Отрицательно заряженная пыль за счет разности потенциалов прикрепляется к первому и вторым проводящим элементам 122 и 124, прикрепленным или нанесенным на внутренние стенки первого циклона 8 и вторых корпусов 33 циклонов. Когда объем прикрепленной пыли увеличивается до определенной величины, она начинает накапливаться на внутренних стенках внутреннего кожуха 21 и вторых корпусов 33 циклонов и сбрасывается в первое и второе пространства “А” и “В” основного резервуара 70. Кроме того, пыль, остающаяся в очищенном воздухе, прошедшем через вторую камеру 30 циклона, прикрепляется к третьему проводящему элементу 126, прикрепленному на внутренней стенке второй крышки 50, подвергаясь тем самым вторичному отделению.
Как можно понять из вышеприведенного описания циклонного пылеуловителя в соответствии с вариантом выполнения настоящего изобретения, несмотря на то, что за счет центробежной силы не происходит полного отделения пыли, мелкодисперсная пыль может быть вторично отделена с помощью электричества. Соответственно, эффективность сбора пыли циклонным пылеуловителем улучшается.
В то время как данное изобретения показано и описано со ссылкой на определенные варианты выполнения, специалистам в этой области техники следует понимать, что возможны различные изменения формы и деталей без отклонения от сущности и объема правовой охраны изобретения, как это определено в прилагаемой формуле изобретения.
Формула изобретения
1. Циклонный пылеуловитель, содержащий первый циклон, предназначенный для центрифугирования пыли из втягиваемого воздуха; по меньшей мере один второй циклон, предназначенный для отделения пыли из воздуха, прошедшего через первый циклон; и электродный узел, установленный, по меньшей мере, в одном из указанных циклонов и содержащий первый электрод, установленный в первом выпускном канале первого циклона, и первый проводящий элемент, прикрепленный к внутренней стенке первого циклона.
2. Циклонный пылеуловитель по п.1, в котором электродный узел содержит второй электрод, установленный во втором выпускном канале второго циклона, и второй проводящий элемент, прикрепленный к внутренней стенке второго циклона.
3. Циклонный пылеуловитель по п.2, в котором первый и второй электродные элементы генерируют отрицательные ионы с обеспечением зарядки содержащейся в воздухе пыли отрицательными зарядами, при этом первый и второй проводящие элементы заземлены.
4. Циклонный пылеуловитель, содержащий многоциклонный узел, включающий первую камеру циклона, предназначенную для отделения пыли из втягиваемого воздуха, и вторые камеры циклона, расположенные вокруг первой камеры циклона; покрывающий узел, прикрепленный к верхней части многоциклонного узла и соединяющий первую и вторые камеры циклона; пылесборный узел, прикрепленный к нижней части многоциклонного узла и предназначенный для сбора центрифугированной пыли; и электродный узел, предназначенный для зарядки пыли, втягиваемой, по меньшей мере, в одну из указанных камер циклона, и содержащий по меньшей мере один электродный элемент и по меньшей мере один проводящий элемент, при этом электродный элемент содержит первый электродный элемент, прикрепленный к первой крышке и выступающий внутрь первой камеры циклона, а также вторые электродные элементы, выступающие внутрь второй камеры циклона, а проводящий элемент содержит первый проводящий элемент, прикрепленный к внутренней стенке корпуса циклона, и вторые проводящие элементы, прикрепленные к внутренним стенкам вторых корпусов циклонов.
5. Циклонный пылеуловитель по п.4, в котором покрывающий узел содержит первую крышку, содержащую центробежные каналы, предназначенные для направления воздуха, прошедшего через первую камеру циклона, во вторую камеру циклона с образованием завихрений, и вторую крышку, предназначенную для направления воздуха, выпускаемого из второго циклона.
6. Циклонный пылеуловитель по п.5, в котором проводящий элемент дополнительно содержит третий проводящий элемент, установленный на внутренней стенке первой крышки.
7. Циклонный пылеуловитель по п.4, в котором первая крышка содержит первый и второй направляющие элементы, установленные в первом и втором выпускном каналах; причем первый электродный элемент и вторые электродные элементы прикреплены к первому и второму направляющим элементам.
8. Циклонный пылеуловитель по п.7, в котором первый и второй направляющие элементы имеют установочные отверстия, предназначенные для введения в них соответственно первого и вторых электродных элементов.
9. Циклонный пылеуловитель по п.4, в котором первый электродный элемент и вторые электродные элементы генерируют отрицательные ионы, при этом первый и вторые проводящие элементы заземлены.
10. Циклонный пылеуловитель по п.4, в котором первый электродный элемент и вторые электродные элементы выполнены в виде иглы.
11. Циклонный пылеуловитель по п.4, в котором вторые электродные элементы соединены параллельно друг с другом с обеспечением подведения к ним, соответственно, одинакового напряжения.
12. Циклонный пылеуловитель, содержащий циклоны, предназначенные для отделения пыли из втягиваемого воздуха с помощью центробежной силы; и второе устройство, предназначенное для отделения пыли из втягиваемого воздуха посредством электричества и содержащее электродный узел, в котором имеется электрод, расположенный на траектории втягиваемого воздуха, и проводящий элемент, прикрепленный к внутренней стенке по меньшей мере одного из циклонов.
13. Циклонный пылеуловитель по п.12, в котором проводящий элемент содержит проводящий пигмент, нанесенный на внутреннюю стенку.
14. Циклонный пылеуловитель по п.12, в котором второе устройство содержит электрод, расположенный на траектории втягиваемого воздуха, и проводящий пигмент, нанесенный по меньшей мере на один из циклонов.
РИСУНКИ
MM4A – Досрочное прекращение действия патента СССР или патента Российской Федерации на изобретение из-за неуплаты в установленный срок пошлины за поддержание патента в силе
Дата прекращения действия патента: 09.04.2008
Извещение опубликовано: 27.11.2010 БИ: 33/2010
|
|