|
|
(21), (22) Заявка: 2005111009/12, 08.04.2005
(24) Дата начала отсчета срока действия патента:
08.04.2005
(30) Конвенционный приоритет:
02.12.2004 KR 10-2004-0100259
(43) Дата публикации заявки: 20.10.2006
(46) Опубликовано: 20.03.2007
(56) Список документов, цитированных в отчете о поиске:
WO 01/60226 A1, 23.08.2001. US 1416995 A, 23.05.1922. GB 2374305 A, 16.10.2002. RU 2181255 A, 20.04.2004. SU 144086 A, 14.11.1962.
Адрес для переписки:
191036, Санкт-Петербург, а/я 24, “НЕВИНПАТ”, пат.пов. А.В.Поликарпову
|
(72) Автор(ы):
ЛИ Йонг-хи (KR), КИМ Так-су (KR)
(73) Патентообладатель(и):
Самсунг Гуангджу Электроникс Ко., Лтд. (KR)
|
(54) ЦИКЛОННЫЙ ПЫЛЕОТДЕЛИТЕЛЬ
(57) Реферат:
Циклонный пылеотделитель, содержащий: корпус циклона и по меньшей мере одну пылеотделительную камеру, выполненную на внутренней боковой стенке корпуса циклона, причем в указанной пылеотделительной камере собираются микроскопические частицы пыли. Использование данного изобретения обеспечивает эффективность пылеулавливания, уменьшает частоту засорения фильтра и предупреждает возникновение ослабления мощности всасывания пылесоса. 3 н. и 17 з.п. ф-лы, 7 ил.
Область изобретения
Настоящее изобретение относится к циклонному пылеотделителю, а более конкретно настоящее изобретение относится к циклонному пылеотделителю, предназначенному для отделения пыли и воздуха от загрязненного воздуха посредством центрифугирования.
Описание уровня техники
В целом циклонный пылеуловитель, раскрытый в выложенной заявке на патент Кореи №2002-00915510, выданной M.J.Choi 6 декабря 2002 и озаглавленной “Циклонный пылеуловитель для пылесоса”, содержит корпус циклона, в котором осуществляется центрифугирование и сбор мусора; входной канал, выполненный на периферийной поверхности корпуса циклона; и выходной канал, выполненный в верхней части корпуса циклона. В корпусе циклона установлена решетка, соединенная с выходным каналом, а в нижней части решетки установлена юбка.
В соответствии с вышеуказанной конструкцией загрязненный воздух, поступающий через входной канал, разделяется на воздух и пыль, при этом пыль скапливается в нижней части корпуса циклона, в то время как воздух выпускается наружу из корпуса циклона через выходной канал.
Между тем юбка препятствует подъему предварительно отделенной собранной пыли из корпуса циклона, а решетка препятствует выходу пыли из выходного канала, которая осталась после центрифугирования в корпусе циклона, а также выходу пыли, которая обходит юбку.
Хотя циклонный пылеуловитель способен, в некоторой степени, воспрепятствовать выходу из выходного канала крупных и мелких частиц пыли, однако, все еще имеются ограничения для того, чтобы воспрепятствовать выходу микроскопических частиц пыли из выходного канала. Таким образом, микроскопические частицы пыли, вышедшие без прохождения через юбку и решетку, забивают защитный фильтр двигателя и выпускной фильтр, в результате чего всасывающая мощность пылесоса ослабевает.
СУЩНОСТЬ ИЗОБРЕТЕНИЯ
Таким образом, в одном аспекте данного изобретения предложен циклонный пылеотделитель, в котором улучшена эффективность сбора микроскопической пыли.
В другом аспекте данного изобретения предложен циклонный пылеотделитель, в котором уменьшено или исключено засорение фильтра.
В соответствии с одним аспектом данного изобретения предложен циклонный пылеотделитель, содержащий корпус циклона и по меньшей мере одну пылеотделительную камеру, выполненную на внутренней боковой стенке корпуса циклона, причем в указанной по меньшей мере одной пылеотделительной камере собираются микроскопические частицы.
Далее, указанная по меньшей мере одна пылеотделительная камера содержит цилиндрическую стенку, расположенную на внутренней боковой стенке и нижней поверхности корпуса циклона. В частности, верхняя часть цилиндрической стенки предпочтительно наклонена в направлении, противоположном направлению вращения потока воздуха в корпусе циклона.
Кроме того, циклонный пылеотделитель может дополнительно содержать несколько пылеотделительных камер с отдельными цилиндрическими стенками, выполненными на внутренней боковой стенке корпуса циклона на различных высотах и размещенных последовательно от пылеотделительной камеры самой малой высоты до пылеотделительной камеры самой большой высоты по направлению вращения потока воздуха в корпусе циклона.
Дополнительно указанные пылеотделительные камеры содержат первую пылеотделительную камеру с первой цилиндрической стенкой, вторую пылеотделительную камеру со второй цилиндрической стенкой, высота которой превышает высоту первой цилиндрической стенки, и третью пылеотделительную камеру с третьей цилиндрической стенкой, высота которой превышает высоту второй цилиндрической стенки. Предпочтительно пылеотделительные камеры, с первой по третью, отделены друг от друга вдоль устройства на угол, составляющий примерно 120°.
КРАТКОЕ ОПИСАНИЕ ЧЕРТЕЖЕЙ
Вышеуказанные аспекты и признаки настоящего изобретения станут более очевидны из описания некоторых вариантов выполнения настоящего изобретения со ссылкой на прилагаемые чертежи, на которых:
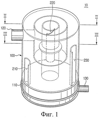
фиг.1 представляет собой вид в аксонометрии циклонного пылеотделителя в соответствии с предпочтительным вариантом выполнения настоящего изобретения;
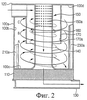
фиг.2 представляет собой схематичный поперечный разрез циклонного пылеотделителя по линии II-II на фиг.1;
фиг.3 представляет собой схематичный поперечный разрез циклонного пылеотделителя по линии III-III на фиг.1;
фиг.4А представляет собой вид в аксонометрии первой цилиндрической стенки, показанной на фиг.3;
фиг.4В представляет собой вид в аксонометрии второй цилиндрической стенки, показанной на фиг.3;
фиг.4С представляет собой вид в аксонометрии третьей цилиндрической стенки, показанной на фиг.3; и
фиг.5 представляет собой схему развертки, показывающую основные компоненты боковой стенки корпуса циклона, приведенного на фиг.3.
ПОДРОБНОЕ ОПИСАНИЕ ТИПОВЫХ ВАРИАНТОВ ВЫПОЛНЕНИЯ
Некоторые варианты выполнения настоящего изобретения описаны более подробно со ссылкой на прилагаемые чертежи.
В последующем описании одинаковые номера позиций относятся к одинаковым элементам, даже на разных чертежах. Определенные в описании объекты, такие как конструктивное исполнение и элементы, являются лишь средствами лучшего понимания изобретения. Таким образом, очевидно, что настоящее изобретение может быть выполнено без определения этих объектов. Помимо того, хорошо известные функции или конструктивные исполнения не описаны подробно, поскольку они мешают пониманию описания введением несущественных деталей.
Со ссылкой на фиг.1 и 2 следует, что циклонный пылеотделитель 10 содержит корпус 100 циклона, губчатую решетку 110, первую пылеотделительную камеру 210, вторую пылеотделительную камеру 220 и третью пылеотделительную камеру 230.
Корпус 100 представляет собой цилиндрический контейнер, в котором происходит разделение загрязненного воздуха на пыль и воздух под действием центробежной силы, при этом происходит одновременный сбор отделенной пыли в контейнер. На наружной части боковой стенки 100а корпуса 100 выполнен трубообразный входной канал 120, обеспечивающий прохождение запыленного воздуха внутрь корпуса 100.
Во внутренней центральной части корпуса 100 выполнен трубообразный центральный канал 140, проходящий от нижней поверхности 100с корпуса 100 к его верхней поверхности 100d. На верхнем участке центрального канала 140 выполнена решетка 150, а в нижней части решетки 150 имеется юбка 160, выполненная в форме воронки, или воронкообразного типа. Юбка 160 служит препятствием для подъема запыленного воздуха снова вверх, а решетка 150 препятствует выходу наружу через выходной канал 130 пыли, которая осталась после центрифугирования и не была захвачена юбкой 160. Кроме того, в решетке 150 выполнены выпускные отверстия 150а, предназначенные для выпуска воздуха.
Также в центре корпуса 100 на заданном расстоянии от его верхней поверхности 100d до его нижней поверхности 100с выполнены вспомогательные боковые стенки 170 цилиндрического типа, или имеющие кольцеобразную форму. В этом типовом варианте выполнения вспомогательные боковые стенки 170 охватывают, или окружают центральный канал 140 по окружности, при этом они отстоят на заданное расстояние от центрального канала 140. Также, одна часть вспомогательной боковой стенки 170 соединена с входным каналом 120. Позицией 170а обозначена внутренняя поверхность вспомогательной боковой стенки 170.
У нижней стороны корпуса 100 установлена губчатая решетка 110, предназначенная для фильтрации пыли, содержащейся в воздухе, проходящем через центральный канал 140. Также, под губчатой решеткой 110 расположен выходной канал 130, который соединен с тяговым электродвигателем (не показан), обеспечивающим мощность всасывания.
В то время как в типовом варианте выполнения выходной канал 130 находится в нижней части корпуса 100, как показано на фиг.2, в альтернативном решении возможно расположение выходного канала 130 в других частях корпуса 100, например, в верхней части корпуса циклона, если этого требуют обстоятельства. Также, в зависимости от требований, можно исключить вспомогательные боковые стенки 170.
Между тем на внутренней боковой стенке 100b корпуса циклона расположена, по меньшей мере, одна камера 210, 220 или 230, предназначенная для сбора микроскопических частиц пыли, вращающихся вдоль внутренних боковых стенок 100b корпуса 100.
Стрелками А, В и С на фиг.2, 3 и 5 показаны траектории потока воздуха на разных высотах. То есть, высота прохождения воздуха у стрелки В больше, чем высота прохождения воздуха у стрелки А и меньше, чем высота прохождения воздуха у стрелки С. При том, что помимо изображенных имеется бесчисленное количество траекторий потока воздуха, для простоты объяснения они опущены.
Со ссылкой на фиг.3 следует, что имеются камеры 210-230, с первой по третью, в соответствии с предпочтительным вариантом выполнения настоящего изобретения. В частности, камеры 210-230, с первой по третью, размещены под углом приблизительно в 120° по отношению друг к другу вдоль внутренней боковой стенки 100b корпуса 100.
Со ссылкой на фиг.3, 4А и 5 следует, что первая камера 210 содержит первую цилиндрическую, или дугообразную стенку 210а, расположенную на внутренней боковой стенке 100b и нижней поверхности 100с корпуса 100. Первая цилиндрическая стенка 210а представляет собой полукруглую трубку, первая верхняя часть 210аа и первая нижняя часть 210аb которой открыты и имеют первый радиус R1 и первую высоту Н1. Первая камера 210 образована в результате приклеивания, приваривания или присоединения иным способом первой цилиндрической стенки 210а к внутренней боковой стенке 110b и нижней поверхности 100с. Первая верхняя часть 210аа первой цилиндрической стенки 210а наклонена вниз под углом 1 к горизонтали, при этом первая верхняя часть 210аа обращена в сторону, противоположную направлению вращения воздуха внутри корпуса 100. Те микроскопические частицы пыли, которые вращаются вдоль внутренней боковой стенки 100b корпуса 100 на высоте стрелки А, ударяются о первую верхнюю часть 210аа первой цилиндрической стенки 210а и падают вниз в первую камеру 210.
Со ссылкой на фиг.3, 4В и 5 следует, что вторая камера 220 содержит вторую цилиндрическую или дугообразную стенку 220а, расположенную на внутренней боковой стенке 100b и нижней поверхности 100с корпуса 100. Вторая цилиндрическая стенка 220а представляет собой полукруглую трубку, вторая верхняя часть 220аа и вторая нижняя часть 220ab которой открыты и имеют второй радиус R2 и вторую высоту Н2. Вторая камера 220 образована в результате приклеивания, приваривания или присоединения иным способом второй цилиндрической стенки 220а к внутренней боковой стенке 110b и нижней поверхности 100с. Вторая верхняя часть 220аа второй цилиндрической стенки 220а наклонена вниз под углом 2 к горизонтали, при этом вторая верхняя часть 220аа обращена в сторону, противоположную направлению вращения воздуха внутри корпуса 100. Те микроскопические частицы пыли, которые вращаются вдоль внутренней боковой стенки 100b корпуса 100 на высоте стрелки В, ударяются о вторую верхнюю часть 220аа второй цилиндрической стенки 220а и падают вниз во вторую камеру 220.
Со ссылкой на фиг.3, 4С и 5 следует, что третья камера 230 содержит третью цилиндрическую или дугообразную стенку 230а, расположенную на внутренней боковой стенке 100b и нижней поверхности 100с корпуса 100. Третья цилиндрическая стенка 230а представляет собой полукруглую трубку, третья верхняя часть 230аа и третья нижняя часть 230аb которой открыты и имеют третий радиус R3 и третью высоту Н3. Третья камера 230 образована в результате приклеивания, приваривания или присоединения иным способом третьей цилиндрической стенки 230а к внутренней боковой стенке 110b и нижней поверхности 100с. В частности, третья верхняя часть 230аа третьей цилиндрической стенки 230а наклонена вниз под углом 3 к горизонтали, при этом третья верхняя часть 230аа обращена в сторону, противоположную направлению вращения воздуха внутри корпуса 100. Те микроскопические частицы пыли, которые вращаются вдоль внутренней боковой стенки 100b корпуса 100 на высоте стрелки С, ударяются о третью верхнюю часть 230аа третьей цилиндрической стенки 230а и падают вниз в третью камеру 230.
Со ссылкой на фиг.5 следует, что высоты цилиндрических стенок 210а, 220а и 230а, с первой по третью, т.е. первая высота Н1, вторая высота Н2 и третья высота Н3, отличаются друг от друга. То есть, происходит увеличение высоты в порядке возрастания от первой высоты Н1 ко второй высоте Н2 и третьей высоте Н3. Таким образом, при последовательном размещении первой камеры 210, второй камеры 220 и третьей камеры 230 на внутренней боковой стенке 100b циклонного корпуса 100 микроскопические частицы пыли, которые совершают спиральное вращение вдоль внутренней боковой стенки 100b корпуса 100, сначала собираются у первой камеры 210, затем у второй камеры 220 и, наконец, у третьей камеры 230. Следовательно, отличающиеся высоты цилиндрических стенок 210а-230а, с первой по третью, повышают эффективность сбора микроскопических частиц пыли по сравнению с конструкцией, когда цилиндрические стенки 210а-230а, с первой по третью, выполнены с одинаковой высотой.
Более подробно, те микроскопические частицы пыли, которые вращаются на высоте стрелки А вдоль внутренней боковой стенки 100b корпуса 100, ударяются о первую верхнюю часть 210аа первой наклонной цилиндрической стенки 210а и затем падают вниз в первую камеру 210.
Далее, те микроскопические частицы пыли, которые вращаются на высоте стрелки В, позволяющей уклониться от столкновения с первой верхней частью 210аа, вдоль внутренней боковой стенки 100b корпуса 100, ударяются о вторую верхнюю часть 220аа второй цилиндрической стенки 220а и падают вниз во вторую камеру 220.
Наконец, те микроскопические частицы пыли, которые вращаются на высоте стрелки С, позволяющей уклониться от столкновения со второй верхней частью 220аа, вдоль внутренней боковой стенки 100b корпуса 100, ударяются о третью верхнюю часть 230аа третьей цилиндрической стенки 230а и падают вниз в третью камеру 230.
Следствием этой особой конструкции является то, что содержащиеся в воздухе микроскопические частицы пыли, спирально вращающиеся вдоль внутренней боковой стенки 100b корпуса 100, последовательно собираются в первой камере 210, второй камере 220 и третьей камере 230.
Как указано выше, имеется бесчисленное количество траекторий потока воздуха, помимо тех потоков воздуха, которые показаны стрелками А, В, и С, при этом содержащиеся в этом воздухе микроскопические частицы пыли будут собираться в одной из камер 210-230, с первой по третью, которая соответствует высоте отдельного потока воздуха.
Дополнительно настоящее описание изобретения предполагает наличие и другого числа, большего трех, пылеотделительных камер, предназначенных для сбора микроскопических частиц пыли, которые также могут быть расположены с равными промежутками вокруг внутренней боковой стенки 100b корпуса 100. Чем больше пылеотделительных камер используется, тем выше эффективность сбора микроскопических частиц. Однако увеличение числа пылеотделительных камер приводит к усложнению конструкции корпуса 100, что дополнительно увеличивает производственные издержки и усложняет производственные процессы. Следовательно, является предпочтительным наличие трех пылеотделительных камер, т.е. камер 210-230, с первой по третью, которые расположены на внутренней боковой стенке 100b корпуса 100 под углом около 120° по отношению друг к другу.
Ниже подробно описана работа циклонного пылеотделителя 10, имеющего вышеописанную конструкцию.
Со ссылкой на фиг.2, 3 и 5 следует, что загрязненный воздух, проходящий внутрь вспомогательных боковых стенок 170 через входной канал 120, опускается вниз, совершая спиральное вращение. В это время те крупные и мелкие частицы загрязненного воздуха, которые перемещаются по направлению к внутренней поверхности 170а вспомогательной боковой стенки 170 и по направлению к внутренней боковой стенке 100b корпуса циклона под действием центробежной силы, затем собираются на нижней поверхности 100с корпуса 100. Одновременно те микроскопические частицы пыли, которые все еще вращаются вокруг внутренней боковой стенки 100b корпуса 100, последовательно собираются в камерах 210-230, с первой по третью.
То есть, микроскопические частицы пыли, вращающиеся на высоте стрелки А, сначала собираются у первой камеры 210, а те микроскопические частицы пыли, которые вращаются, соответственно, на высоте стрелки В и стрелки С собираются у второй камеры 220 и у третьей камеры 230. Поскольку подробный способ сбора микроскопических частиц пыли идентичен вышеизложенному, то описание данного способа сбора опущено. На основе этого описанного способа пылеотделения можно воспрепятствовать непосредственному выпуску микроскопических частиц пыли наружу через выходной канал 130.
Между тем, когда поднимающийся поток воздуха, опускающийся поток воздуха и поток воздуха в корпусе 100 становятся нестабильными из-за изменений внешних условий, то с нижней поверхности 100с корпуса циклона поднимается некоторое количество собранной на ней пыли, и на этот раз решетка 150 и юбка 160 препятствуют выпуску этих крупных и мелких частиц пыли наружу через выходной канал 130. Те микроскопические частицы пыли, которые не захвачены решеткой 150 и юбкой 160, снова собираются у камер 210-230, с первой по третью. Соответственно, в отличие от традиционных пылеуловителей, в данном случае микроскопическая пыль не может быть непосредственно выпущена наружу через выходной канал 130. Далее, воздух, отделенный от крупных, мелких и микроскопических частиц пыли, выпускается наружу из циклонного пылеотделителя 10 через выходной канал 130.
В соответствии с предпочтительным вариантом выполнения настоящего изобретения циклонный пылеотделитель содержит ряд пылеотделительных камер, выполненных с обеспечением сбора даже микроскопических частиц пыли благодаря их расположению на внутренней боковой стенке корпуса циклона. Эти камеры обеспечивают достижение, по меньшей мере, следующих результатов. Во-первых, повышается эффективность пылеулавливания. Во-вторых, появляется возможность уменьшить частоту засорения микроскопическими частицами пыли защитного фильтра двигателя и выпускного фильтра. В-третьих, дополнительно появляется возможность предупредить возникновение ослабления мощности всасывания пылесоса, вызываемого засорением фильтров.
Вышеприведенный вариант выполнения и преимущества являются только типовыми, и не должны толковаться как ограничения настоящего изобретения. Настоящая идея может быть легко применима и к другим типам устройств. Кроме того, описание вариантов выполнения настоящего изобретения является иллюстративным и не ограничивает объем правовой охраны формулы изобретения, а также множества вариантов, модификаций и изменений, которые очевидны для специалистов в этой области техники.
Формула изобретения
1. Циклонный пылеотделитель, содержащий корпус циклона и по меньшей мере одну пылеотделительную камеру, выполненную на внутренней боковой стенке корпуса циклона, причем в указанной пылеотделительной камере собираются микроскопические частицы пыли.
2. Циклонный пылеотделитель по п.1, в котором указанная по меньшей мере одна пылеотделительная камера содержит цилиндрическую стенку, расположенную на внутренней боковой стенке корпуса циклона и имеющую верхнее отверстие, которое наклонено в направлении, противоположном направлению вращения потока воздуха в корпусе циклона.
3. Циклонный пылеотделитель по п.2, который содержит несколько указанных пылеотделительных камер, которые имеют цилиндрические стенки разной высоты, расположенные на внутренней боковой стенке корпуса циклона, и которые расположены последовательно от пылеотделительной камеры самой малой высоты до пылеотделительной камеры самой большой высоты по направлению вращения потока воздуха в корпусе циклона.
4. Циклонный пылеотделитель по п.3, в котором указанные пылеотделительные камеры содержат первую пылеотделительную камеру с первой цилиндрической стенкой, имеющей первую высоту, вторую пылеотделительную камеру со второй цилиндрической стенкой, имеющей вторую высоту, превышающую первую высоту первой цилиндрической стенки, и третью пылеотделительную камеру с третьей цилиндрической стенкой, имеющей третью высоту, превышающую вторую высоту второй цилиндрической стенки.
5. Циклонный пылеотделитель по п.4, в котором первая, вторая и третья пылеотделительные камеры расположены под углом около 120° по отношению друг к другу вдоль внутренней боковой стенки корпуса циклона.
6. Циклонный пылеотделитель по п.2, дополнительно содержащий входной канал, через который поток воздуха поступает в корпус циклона, выходной канал, через который поток воздуха выпускается из корпуса циклона, и центральный канал, расположенный в корпусе циклона и проточно сообщающийся с входным и выходным каналами, причем центральный канал имеет решетку, препятствующую выпуску пыли наружу через выходной канал.
7. Циклонный пылеотделитель по п.6, в котором центральный канал содержит юбку, препятствующую подъему пыли к решетке.
8. Циклонный пылеотделитель по п.6, дополнительно содержащий кольцевую стенку, частично окружающую центральный канал и соединенную с входным каналом с обеспечением прохода потока воздуха между кольцевой стенкой и центральным каналом.
9. Пылесос, содержащий источник разрежения и корпус циклона, сообщающийся проточно с источником разряжения и содержащий внутреннюю боковую стенку по меньшей мере с одной пылеотделительной камерой, причем в указанной камере собираются микроскопические частицы пыли.
10. Пылесос по п.9, в котором указанная по меньшей мере одна пылеотделительная камера содержит цилиндрическую стенку, расположенную на внутренней боковой стенке корпуса циклона и имеющую верхнее отверстие, которое наклонено в направлении, противоположном направлению вращения потока воздуха в корпусе циклона.
11. Пылесос по п.9, который содержит несколько указанных пылеотделительных камер, которые имеют цилиндрические стенки разной высоты, расположенные на внутренней боковой стенке корпуса циклона, и которые расположены последовательно от пылеотделительной камеры самой малой высоты до пылеотделительной камеры самой большой высоты по направлению вращения потока воздуха в корпусе циклона.
12. Пылесос по п.11, в котором каждая из указанных пылеотделительных камер имеет верхнее отверстие, наклоненное в направлении, противоположном направлению вращения потока воздуха в корпусе циклона.
13. Пылесос по п.9, в котором указанные пылеотделительные камеры содержат первую пылеотделительную камеру с первой цилиндрической стенкой, имеющей первую высоту, вторую пылеотделительную камеру со второй цилиндрической стенкой, имеющей вторую высоту, превышающую первую высоту первой цилиндрической стенки, и третью пылеотделительную камеру с третьей цилиндрической стенкой, имеющей третью высоту, превышающую вторую высоту второй цилиндрической стенки.
14. Пылесос по п.13, в котором первая, вторая и третья пылеотделительные камеры расположены под углом около 120° по отношению друг к другу вдоль внутренней боковой стенки корпуса циклона.
15. Пылесос по п.10, дополнительно содержащий входной канал, через который поток воздуха поступает в корпус циклона, выходной канал, через который поток воздуха выпускается из корпуса циклона, и центральный канал, расположенный в корпусе циклона и проточно сообщающийся с входным и выходным каналами, причем центральный канал имеет решетку, препятствующую выпуску пыли наружу через выходной канал.
16. Пылесос по п.15, в котором центральный канал содержит юбку, препятствующую подъему пыли к решетке.
17. Пылесос по п.15, дополнительно содержащий кольцевую стенку, частично окружающую центральный канал и соединенную с входным каналом с обеспечением прохода потока воздуха между кольцевой стенкой и центральным каналом.
18. Способ отделения микроскопических частиц пыли из воздуха, включающий подачу воздуха от источника в корпус циклона, направление воздуха с формированием спиральной траектории потока воздуха в корпусе циклона, перемещение пыли, содержащейся в воздухе, по направлению к внутренней боковой стенке корпуса циклона под действием центробежной силы, и сбор микроскопических частиц пыли с использованием по меньшей мере одной пылеотделительной камеры, расположенной вдоль указанной внутренней боковой стенки, причем микроскопические частицы пыли проходят через наклонное отверстие указанной по меньшей мере одной пылеотделительной камеры и падают в эту камеру.
19. Способ по п.18, в котором микроскопические частицы собирают с помощью нескольких пылеотделительных камер, расположенных вдоль внутренних боковых стенок, посредством изменения положения каждого из наклонных отверстий указанных пылеотделительных камер относительно высоты корпуса циклона.
20. Способ по п.18, в котором все пылеотделительные камеры расположены с равными промежутками между ними вокруг внутренней боковой стенки корпуса циклона.
РИСУНКИ
|
|