|
(21), (22) Заявка: 2005112142/12, 13.04.2005
(24) Дата начала отсчета срока действия патента:
13.04.2005
(30) Конвенционный приоритет:
03.11.2004 (пп.1-20) KR 10-2004-0088648
(43) Дата публикации заявки: 20.10.2006
(46) Опубликовано: 20.03.2007
(56) Список документов, цитированных в отчете о поиске:
US 6532622 В2, 18.03.2003. SU 1722454 A1, 30.03.1992. SU 1595455 A1, 30.09.1990. US 4446594 A, 08.03.1984. US 4435877 A, 13.03.1984. SU 1736422 A1, 30.05.1992. SU 595539 A, 16.03.1978. RU 2141783 C1, 27.11.1999.
Адрес для переписки:
191036, Санкт-Петербург, а/я 24, “НЕВИНПАТ”, пат.пов. А.В.Поликарпову
|
(72) Автор(ы):
ЛИ Хьюн-джу (KR), СОНГ Хуа-гью (KR), ЛИМ Джонг-кук (KR), ЛИ Санг-чеол (KR)
(73) Патентообладатель(и):
Самсунг Гуангджу Электроникс Ко., Лтд. (KR)
|
(54) ВСАСЫВАЮЩИЙ ВХОДНОЙ УЗЕЛ ПЫЛЕСОСА
(57) Реферат:
Всасывающий входной узел пылесоса, имеющего источник разрежения, содержащий: нижний корпус, имеющий первое и второе всасывающие отверстия, верхний корпус, соединенный с нижним корпусом с образованием соединительного канала для первого и второго всасывающих отверстий, и шумопонижающий узел, установленный вдоль соединительного канала, который проточно сообщается с источником разрежения. Использование заявленного всасывающего узла и пылесоса с таким узлом позволяет обеспечить эффективность всасывания пыли на обоих сторонах пылесоса. 2 н. и 18 з.п. ф-лы, 7 ил.
ПЕРЕКРЕСТНАЯ ССЫЛКА НА РОДСТВЕННЫЕ ЗАЯВКИ
Приоритет данной заявки заявляется по заявке на патент Кореи No.2004-88648, которая подана 3 ноября 2004 года в Управление Интеллектуальной Собственности Кореи и описание которой полностью включено в настоящую заявку посредством ссылки.
ПРЕДПОСЫЛКИ ИЗОБРЕТЕНИЯ
Область изобретения
Настоящее изобретение относится к пылесосу. Более конкретно, данное изобретение относится к всасывающему входному узлу пылесоса, предназначенному для втягивания загрязнений с очищаемой поверхности.
Описание уровня техники
В общем случае пылесосы втягивают пыль с очищаемой поверхности за счет силы всасывания, создаваемой источником разрежения, установленным внутри корпуса пылесоса. Подобные пылесосы содержат корпус, в котором установлен источник разрежения, всасывающий входной узел для втягивания пыли, обращенный к очищаемой поверхности и удлинительный канал, предназначенный для направления пыли, втягиваемой через всасывающий входной узел.
Поскольку обычные всасывающие входные узлы имеют всасывающее отверстие, к которому передается сила всасывания, обеспечивающая втягивание пыли в его середине, то при этом сила всасывания сосредотачивается в средней части всасывающего входного узла, где расположено всасывающее отверстие, в то время как боковые части всасывающего входного узла меньше подвергаются воздействию силы всасывания. Следствием этого является ухудшение эффективности всасывания в боковых частях по сравнению со средней частью.
Для преодоления указанных недостатков в патенте США №6532622 был предложен способ, согласно которому на обеих сторонах всасывающего входного узла расположена пара всасывающих отверстий. Однако в этом случае недостатком является то, что потоки запыленного воздуха, втягиваемые через пару всасывающих отверстий, сходятся вместе вблизи узкого выпускного отверстия, соединенного с удлинительным соединителем, в результате чего возникает шум, обусловленный увеличением скорости потоков воздуха и завихрением воздуха, создаваемого столкновением потоков воздуха друг с другом.
СУЩНОСТЬ ИЗОБРЕТЕНИЯ
В одном аспекте данного изобретения предлагается решение по меньшей мере указанных выше проблем и/или устранение недостатков, а также обеспечение по меньшей мере указанных ниже преимуществ. Соответственно аспектом данного изобретения является создание всасывающего входного узла пылесоса, в котором в равной степени улучшена эффективность всасывания на обеих сторонах всасывающего входного узла.
Для осуществления вышеуказанных аспектов настоящего изобретения предлагается всасывающий входной узел пылесоса, содержащий нижний корпус, в котором имеются первое и второе всасывающие отверстия, верхний корпус, соединенный с нижним корпусом с образованием соединительного канала для первого и второго всасывающих отверстий, и шумопонижающий узел, расположенный вдоль соединительного канала. Верхний корпус содержит крышку канала и верхнюю крышку, присоединенную к нижнему корпусу над крышкой канала.
Шумопонижающий узел может содержать первое шумопонижающее ребро, которое имеет первые наклонные отверстия, и второе шумопонижающее ребро, которое имеет вторые наклонные отверстия. Первое и второе шумопонижающие ребра могут быть по существу симметричны друг другу.
Соединительный канал в средней части задней стенки может иметь выходное отверстие для воздуха, при этом первое шумопонижающее ребро может быть установлено вдоль задней стенки соединительного канала справа от выходного отверстия для воздуха, а второе шумопонижающее ребро может быть установлено вдоль задней стенки соединительного канала слева от выходного отверстия для воздуха.
Высоты Н2 и Н3 первого и второго шумопонижающих ребер могут уменьшаться соответственно вправо и влево от выходного отверстия для воздуха, при этом указанные ребра могут быть изогнуты соответственно в направлении первого и второго всасывающих отверстий.
Первые и вторые наклонные отверстия могут быть наклонены под углами 1 и 2 в направлении выпуска запыленного воздуха через выходное отверстие для воздуха. Значения углов 1 и 2 могут лежать в диапазоне приблизительно от 40° до 70°.
Ширина W1 и W2 соответственно первых и вторых наклонных отверстий может составлять приблизительно от 0,5 до 1,0 от расстояний D1 и D2 между первыми наклонными отверстиями и между вторыми наклонными отверстиями.
Всасывающий входной узел дополнительно может содержать первый и второй шумопоглощающие элементы, установленные на обеих сторонах соединительного канала.
Первый шумопоглощающий элемент может быть расположен между первым шумопонижающим ребром и соединительным каналом, а второй шумопоглощающий элемент может быть установлен между вторым шумопонижающим ребром и соединительным каналом.
Высоты Н5 и Н6 соответственно первого и второго шумопоглощающих элементов могут постепенно уменьшаться вправо и влево от выходного отверстия для воздуха, при этом указанные элементы также могут быть изогнуты в направлении соответственно первого и второго всасывающих отверстий.
Первый и второй шумопоглощающие элементы могут быть выполнены из пористого материала.
КРАТКОЕ ОПИСАНИЕ ЧЕРТЕЖЕЙ
Вышеуказанный аспект и другие свойства настоящего изобретения будут более очевидны из подробного описания типовых вариантов выполнения настоящего изобретения со ссылкой на прилагаемые чертежи, на которых:
фиг.1 изображает схематичный вид пылесоса, содержащего всасывающий входной узел в соответствии с вариантом выполнения настоящего изобретения;
фиг.2 изображает покомпонентный вид в аксонометрии всасывающего входного узла, показанного на фиг.1;
фиг.3 изображает вид сзади в аксонометрии всасывающего входного узла, показанного на фиг.1;
фиг.4 изображает вид сверху всасывающего входного узла, показанного на фиг.1;
фиг.5 изображает увеличенный вид сверху части всасывающего входного узла, показанного на фиг.4, на котором показано первое шумопонижающее ребро и первый шумопоглощающий элемент;
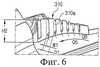
фиг.6 изображает увеличенный вид в аксонометрии части всасывающего входного узла, показанного на фиг.4, на котором показано первое шумопонижающее ребро;
фиг.7 изображает увеличенный вид в аксонометрии части всасывающего входного узла, показанного на фиг.4, показывающий первый шумопоглощающий элемент.
ПОДРОБНОЕ ОПИСАНИЕ ПРИМЕРНЫХ ВАРИАНТОВ ВЫПОЛНЕНИЯ
Ниже более подробно описан типовой вариант выполнения настоящего изобретения со ссылкой на прилагаемые чертежи.
В последующем описании одинаковые номера позиций относятся к одинаковым элементам, даже на разных чертежах. Определенные в описании объекты, такие как конструктивное исполнение и элементы, являются лишь средствами лучшего понимания изобретения. Таким образом, очевидно, что настоящее изобретение может быть выполнено без определения этих объектов. Помимо того, хорошо известные функции или конструктивные исполнения не описаны подробно, поскольку они мешают пониманию описания введением несущественных деталей.
Как показано на фиг.1, пылесос 100, содержащий всасывающий входной узел 200 в соответствии с вариантом выполнения настоящего изобретения, содержит корпус 110, имеющий источник разрежения (не показан), всасывающий входной узел 200, предназначенный для втягивания пыли с очищаемой поверхности посредством силы всасывания, создаваемой источником разрежения, и удлинительный канал 120, соединенный со всасывающим входным узлом 200 и предназначенный для направления втягиваемой через узел 200 пыли в корпус 110 пылесоса. Удлинительный канал 120 содержит удлинительный соединитель 126, прикрепленный с возможностью поворота к узлу 200, удлинительную трубу 124 и всасывающий шланг 122, одним концом соединенный с удлинительной трубой 124, соединенной с соединителем 126, а вторым концом – с корпусом 110 пылесоса.
Как показано на фиг.2 и 3, всасывающий входной узел 200 в соответствии с типовым вариантом выполнения настоящего изобретения содержит нижний корпус 210, верхний корпус 250 и шумопонижающий узел 300.
Нижний корпус 210 имеет первое всасывающее отверстие 211 и второе всасывающее отверстие 212, расположенные на расстоянии друг от друга и предназначенные для втягивания пыли с очищаемой поверхности.
Отверстие 211 выполнено в нижней части нижнего корпуса 210 на заданном расстоянии справа от перегородки 213, а отверстие 212 выполнено в нижней части нижнего корпуса 210 на заданном расстоянии слева от перегородки 213.
Благодаря наличию первого и второго отверстий 211 и 212 сила всасывания в предпочтительном случае равномерно предается к средней части М и боковым частям S всасывающего входного узла 200. То есть, и запыленный воздух, втягиваемый в среднюю часть М в направлении Q1, показанном стрелкой, и запыленный воздух, втягиваемый в боковые части S в направлениях Q2 и Q3, показанных стрелками, может плавно проходить во всасывающий входной узел 200.
Следовательно, возможно обеспечение эффективности всасывания в боковых частях S с таким же успехом, как и в традиционных конструкциях всасывающего входного узла с одним всасывающим отверстием, расположенным только в средней части М. Также благодаря повышению эффективности всасывания в средней части М возможно увеличение площади очищаемой поверхности. Хотя первое и второе отверстия 211 и 212 в настоящем варианте выполнения имеют полукруглую форму, этим их форма не ограничивается. Всасывающие отверстия 211 и 212 могут иметь любую форму, например форму овала или треугольника.
Для повышения эффективности очистки в нижнем корпусе 210 выполнены первое и второе нижние отверстия 216 и 217, а также первый и второй каналы 214 и 215 для пыли. Верхняя крышка 230 может содержать первое и второе верхние отверстия 231 и 232.
Первое и второе нижние отверстия 216 и 217 выполнены в нижней части нижнего корпуса 210, при этом первое нижнее отверстие 216 имеет наклон вправо, а второе нижнее отверстие 217 имеет наклон влево по отношению к перегородке 213.
В этом варианте выполнения первое и второе нижние отверстия 216 и 217 имеют прямоугольную форму, однако они могут иметь любую форму, например форму овала или треугольника. Также их расположение может изменяться в зависимости от расположения первого и второго всасывающих отверстий 211 и 212.
Первый канал 214 для пыли проходит через первое нижнее отверстие 216 в нижней части нижнего корпуса 210, а также через первое всасывающее отверстие 211, начинаясь справа от перегородки 213 и заканчиваясь у правой боковой стенки 210b нижнего корпуса 210. Второй канал 215 для пыли проходит через второе нижнее отверстие 217 в нижней части нижнего корпуса 210, а также через второе всасывающее отверстие 212, начинаясь слева от перегородки 213 и заканчиваясь у левой боковой стенки 210с нижнего корпуса 210.
Благодаря вышеуказанной конструкции наружный воздух, втягиваемый через первое и второе верхние отверстия 231 и 232 соответственно, в направлениях F1 и F2, показанных стрелками, проходит внутрь герметичного всасывающего входного узла 200 (фиг.1) в направлениях F3 и F4, показанных стрелками, и направляется к нижней части нижнего корпуса 210 через первое и второе нижние отверстия 216 и 217.
Направляемый наружный воздух рассеивает пыль, накопившуюся между первым и вторым каналами 214 и 215, при этом запыленный воздух, содержащий рассеянную пыль, втягивается в первый и второй всасывающие отверстия 211 и 212 по первому и второму каналам 214 и 215 в направлениях F3 и F4, показанных стрелками. Соответственно пыль, находящаяся между первым и вторым каналами 214 и 215, может быть легко вычищена, улучшая, таким образом, эффективность очистки.
Как показано на фиг.2 и 4, верхний корпус 250 содержит крышку 220 канала и верхнюю крышку 230. Крышка 220 и верхняя крышка 230, которые в этом типовом варианте выполнения выполнены отдельно, могут быть выполнены как единое целое.
Крышка 220 присоединена к нижнему корпусу 210 с образованием соединительного канала 221, предназначенного для соединения первого и второго всасывающих отверстий 211 и 212.
Более конкретно, верхняя стенка канала 221 образована крышкой 220, а нижняя часть и задняя стенка 210d канала 221 образованы нижним корпусом 210.
Крышка 220 имеет, по существу, сводчатый или дугообразный участок, расположенный вертикально по отношению к направлению потока втягиваемого воздуха, при этом он U-образно изогнут вдоль своей длины, если смотреть в направлении Х1, показанном стрелкой. По существу, крышка 220 имеет максимальную высоту Н1 в своем центре, которая постепенно уменьшается в направлении обеих сторон.
Крышка 220 предпочтительно выполнена из прозрачного материала, чтобы пользователь мог наблюдать за перемещением втягиваемой пыли.
Как показано на фиг.2, верхняя крышка 230 соединена с нижним корпусом 210 над крышкой 220 с образованием герметичного пространства внутри всасывающего входного узла 200. Верхняя крышка 230 имеет первое и второе верхние отверстия 231 и 232, предназначенные для сообщения с наружным воздухом, как описано выше. Наружный воздух, проходящий через герметичное пространство и втягиваемый через первое и второе верхние отверстия 231 и 232, может быть выпущен в первое и второе нижние отверстия 216 и 217 (фиг.3).
Верхняя крышка 230 содержит вырезанный участок 233 в форме, соответствующей крышке 220, для того, чтобы крышка 220 была видна относительно входного узла 200. Другими словами, крышка 220 выступает наружу из верхней крышки 230 через вырезанный участок 233.
Хотя первое и второе верхние отверстия 231 и 232 выполнены в форме щелей в соответствии с типовым вариантом выполнения, также возможно другое количество, другие формы и размеры отверстий, например сквозные отверстия. В качестве варианта возможно создание защитного элемента или клапана для первого и второго верхних отверстий 231 и 232 с тем, чтобы первое и второе верхние отверстия 231 и 232 открывались только для поступающего внутрь воздуха.
Как показано на фиг.2-4, выходное отверстие 210е для воздуха выполнено в середине задней стенки 210d канала 221, при этом в это отверстие 210е вставлен удлинительный соединитель 126 (фиг.1), который установлен с возможностью поворота и/или вращения.
Потоки запыленного воздуха, втягиваемые из первого всасывающего отверстия 211 в направлении Q5, показанном стрелкой, а также из второго всасывающего отверстия 212 в направлении Q6, показанном стрелкой, сходятся к выходному отверстию 210е.
Поскольку потоки запыленного воздуха, втягиваемые через отверстия 211 и 212 и затем сходящиеся к выходному отверстию 210е, вместе выпускаются через соединитель 126, то возможно возникновение шума, вызываемого увеличением скорости потоков воздуха и завихрением воздуха, создаваемого при столкновении потоков воздуха друг с другом. Кроме того, шум может быть вызван давлением и непосредственным столкновением потоков воздуха с задней стенкой 210d.
Как показано на фиг.2, канал 221 содержит шумопонижающий узел 300, предотвращающий подобный шум и имеющий первое и второе шумопонижающие ребра 310 и 320, а также первый и второй шумопоглощающие элементы 330 и 340.
Первое и второе ребра 310 и 320 предпочтительно симметричны друг другу относительно канала 221, при этом они могут быть выполнены из пластмассы, например из акрила. Также для изготовления ребер 310 и 320 возможно использование других материалов, например стекла и металла.
Поскольку первое и второе ребра 310 и 320 имеют одинаковую форму, то в качестве подробного описания первого и второго ребер 310 и 320 ниже приводится описание только первого ребра 310, изображенного на фиг.5 и 6.
Первое ребро 310 установлено вдоль задней стенки 210d канала 221 в направлении R, показанном стрелкой, то есть справа от отверстия 210е.
Это позволяет запыленному воздуху, насколько это возможно, вступать в контакт с задней стенкой 210d, так как запыленный воздух с большой вероятностью отклоняется к задней стенке 210d канала 221 в процессе прохождения от первого всасывающего отверстия 211 к каналу 221 за счет изогнутой формы канала 221. Следовательно, установка первого ребра 310 вдоль задней стенки 210d позволяет более эффективно противодействовать возникновению шума.
Как показано на фиг.5, первый элемент 330 вставлен между первым ребром 310 и задней стенкой 210d канала 221.
Как показано на фиг.2, первое ребро 310 выполнено с постепенным уменьшением высоты Н2 в направлении R, показанном стрелкой, то есть вправо, при этом конструкция изогнута в направлении первого всасывающего отверстия 211.
Первое ребро 310 выполнено, как описано выше, с учетом высоты крышки 220 и формы задней стенки 210d канала 221, что облегчает его установку в канале 221. Кроме того, запыленный воздух может проходить через канал 221, испытывая меньшее сопротивление от первого ребра 310.
Как показано на фиг.5, первое ребро 310 имеет первые наклонные отверстия 310а, наклоненные под углом 1 к вертикали в направлении Q5, показанном стрелкой, то есть в направлении перемещения запыленного воздуха от первого всасывающего отверстия 211 к выходному отверстию 210е. В данном случае значение угла 1 наклона лежит в диапазоне приблизительно от 40° до 70°.
Этот наклон препятствует прямому прохождению в первые наклонные отверстия 310а запыленного воздуха, проходящего через канал 221. Конкретнее, запыленный воздух в процессе прохождения через канал 221 в направлении Q5, показанном стрелкой, заходит в первые наклонные отверстия 310а в направлении Q8, показанном стрелкой, с изменением направления движения. Для этого угол 1 может ограничивать рассеяние и отклонение запыленного воздуха, проходящего в направлении Q5, показанном стрелкой.
Ширина W1 первых наклонных отверстий 310а составляет приблизительно от 0,5 до 1,0 от расстояния D1 между этими отверстиями 310а. Запыленный воздух частично поступает через первые отверстия 310а, имеющие ширину W1.
Как показано на фиг.2 и 7, первый элемент 330 имеет высоту Н5, постепенно уменьшающуюся в направлении R, показанном стрелкой, то есть вправо от выходного отверстия 210е, при этом он изогнут в направлении первого всасывающего отверстия 211 с обеспечением установки или другого размещения между первым ребром 310 и задней стенкой 210d канала 221.
Первый элемент 330 вторично уменьшает шум, который вначале был уменьшен первым ребром 310, для чего в первом элементе 330 могут быть использованы пористые материалы, например губчатые материалы, обычные фильтры и пеноматериалы.
Ниже описывается взаимосвязь между первым элементом 330 и первым ребром 310.
Как показано на фиг.2, 5 и 7, задняя сторона 330b первого элемента 330 предпочтительно присоединена к задней стенке 210d канала 221 с использованием клея. Далее, первое ребро 310 присоединено к передней стороне 330а первого элемента 330 с помощью клея, так что первое ребро 310 и первый элемент 330 установлены вдоль канала 221.
Однако первый шумопоглощающий элемент 330 не является непременным элементом данного изобретения. При отсутствии первого элемента 330 первое ребро 310 может быть прикреплено прямо к задней стенке 210d канала 221. Кроме того, вместо клея возможно применение других способов крепления первого ребра 310 и первого элемента 330, например с помощью винтов или сварки.
Как показано на фиг.2 и 4, второе ребро 320 прикреплено вдоль задней стенки 210d канала 221 в направлении L, показанном стрелкой, то есть влево от выходного отверстия 210е. Второй элемент 340 вставлен между вторым ребром 320 и задней стенкой 210d канала 221.
Второе ребро 320 имеет высоту Н3, постепенно уменьшающуюся в направлении L, показанном стрелкой, то есть влево от выходного отверстия 210е для воздуха, при этом оно изогнуто в направлении второго всасывающего отверстия 212.
Причина указанной формы и расположения второго ребра 320 такая же, как и для первого ребра 310.
Второе ребро 320 имеет вторые наклонные отверстия 320а, наклоненные под углом 2 к вертикали в направлении Q6, показанном стрелкой, то есть в направлении перемещения запыленного воздуха от второго всасывающего отверстия 212 к выходному отверстию 210е. В данном случае значение угла 2 наклона лежит в диапазоне приблизительно от 40° до 70°.
Указанный наклон препятствует прямому прохождению во вторые наклонные отверстия 320а запыленного воздуха, проходящего через канал 221. Конкретнее, запыленный воздух в процессе прохождения через канал 221 в направлении Q6, показанном стрелкой, заходит во вторые наклонные отверстия 320а в направлении Q9, показанном стрелкой, с изменением направления движения. Для этого угол 2 может ограничивать рассеяние и отклонение запыленного воздуха, проходящего в направлении Q6, показанном стрелкой.
Ширина W2 вторых наклонных отверстий 320а составляет приблизительно от 0,5 до 1,0 от расстояния D2 между указанными отверстиями 320а. Запыленный воздух частично поступает через вторые наклонные отверстия 320а, имеющие ширину W2.
Как показано на фиг.2, второй элемент 340 имеет высоту Н6, постепенно уменьшающуюся в направлении L, показанном стрелкой, то есть влево от выходного отверстия 210е для воздуха, при этом он изогнут в направлении второго всасывающего отверстия 212 для установки или другого размещения между вторым ребром 320 и задней стенкой 210d канала 221.
Второй элемент 340 вторично уменьшает шум, который вначале был уменьшен вторым ребром 320, для чего во втором элементе 340 могут быть использованы пористые материалы, например губчатые материалы, обычные фильтры и пеноматериалы.
Поскольку взаимосвязь между задней стенкой 210d, вторым элементом 340 и вторым ребром 320 аналогична взаимосвязи между задней стенкой 210d, первым элементом 330 и первым ребром 310, то описание этой взаимосвязи не повторяется.
Ниже приводится описание работы пылесоса 100, в котором используется всасывающий входной узел 200 в соответствии с вариантом выполнения настоящего изобретения.
Как показано на фиг.1, сила всасывания, создаваемая источником разрежения (не показан), который установлен в корпусе 110 пылесоса, передается к всасывающему входному узлу 200, проходя при этом через всасывающий шланг 122, удлинительную трубу 124 и удлинительный соединитель 126 для трубы.
Как проиллюстрировано на фиг.2 и 4, сила всасывания, передаваемая к всасывающему входному узлу 200, затем передается соответственно к первому и второму всасывающим отверстиям 211 и 212 в направлениях, противоположных направлениям Q5 и Q6, показанным стрелками.
За счет переданной силы всасывания запыленный воздух, втягиваемый в направлении Q1 в средней части М всасывающего входного узла 200, а также потоки запыленного воздуха, втягиваемые в направлениях Q2 и Q3, показанных стрелками, в боковых частях S всасывающего входного узла 200, втягиваются соответственно в первое и второе всасывающие отверстия 211 и 212.
Кроме того, как проиллюстрировано на фиг.2 и 4, сила всасывания, передаваемая к первому и второму всасывающим отверстиям 211 и 212, затем передается соответственно к первому и второму нижним отверстиям 216 и 217 через первый и второй каналы 214 и 215 для пыли.
Сила всасывания, передаваемая к первому и второму нижним отверстиям 216 и 217, передается к первому и второму верхним отверстиям 231 и 232 через герметичное пространство, образованное в результате соединения верхней крышки 230 с нижним корпусом 210. За счет силы всасывания наружный воздух втягивается через первое и второе верхние отверстия 231 и 232 в направлениях F1 и F2, показанных стрелками.
В процессе прохождения через герметичное пространство, образованное соединением верхней крышки 230 с нижним корпусом 210, а также через первое и второе нижние отверстия 216 и 217, воздух, втягиваемый через первое и второе верхние отверстия 231 и 232, сталкивается с очищаемой поверхностью и тем самым рассеивает пыль, скопившуюся в первом и втором каналах 214 и 215.
Воздух, содержащий рассеянную пыль, проходит через первый и второй каналы 214 и 215 в направлениях F3 и F4, показанных стрелками, и поступает в отверстия 211 и 212.
Как показано на фиг.4, запыленный воздух, втягиваемый в отверстия 211 и 212 в направлениях Q1, Q2, Q3, F3 и F4, перемещается в направлениях Q5 и Q6, показанных стрелками, для прохождения через канал 221, где установлен шумопонижающий узел 300, который содержит первое и второе ребра 310 и 320, а также первый и второй элементы 330 и 340.
На данном этапе запыленный воздух может протекать в первое и второе наклонные отверстия 310а и 320а, выполненные в первом и втором ребрах 310 и 320, в направлениях Q8 и Q9, показанных стрелками, и соответственно запыленный воздух может быть частично захвачен отверстиями 310а и 320а.
Также возможно рассредоточение ударного воздействия и давления, возникающих при столкновении запыленного воздуха с первым и вторым ребрами 310 и 320 за счет первого и второго наклонных отверстий 310а и 320а.
Как следствие, возможно уменьшение шума, встречающегося в традиционных пылесосах, который вызывается схождением потоков запыленного воздуха в выходном отверстии 210е для воздуха и столкновением запыленного воздуха с задней стенкой 210d канала 221. Шум можно уменьшить еще больше за счет применения первого и второго элементов 216 и 217.
Согласно экспериментальным данным при наличии узла 300 общий шум может быть уменьшен приблизительно на 1,5 дБ(А), то есть с 74,5 дБ(А) до 73,0 дБ(А).
Как показано на фиг.1 и 2, потоки запыленного воздуха сходятся к выходному отверстию 210е для воздуха и перемещаются к корпусу 110 пылесоса, проходя через соединитель 126, удлинительную трубу 124 и всасывающий шланг 122. Во время этого процесса происходит сбор пыли и выпуск отделенного от пыли воздуха наружу.
Перечислим некоторые преимущества вышеописанного всасывающего входного узла 200 для пылесоса.
Во-первых, сила всасывания может быть равномерно передана в среднюю и боковые части за счет наличия первого и второго всасывающих отверстий 211 и 212, расположенных на расстоянии друг от друга, при этом улучшается эффективность всасывания.
Во-вторых, вследствие того, что узел 300 может воспрепятствовать увеличению скорости потоков воздуха и завихрению воздуха, создаваемому столкновением потоков воздуха, происходит уменьшение шума, что позволяет осуществлять более тихую уборку.
В-третьих, наличие узла 300 позволяет уменьшить шум, вызываемый ударным воздействием и давлением, создаваемым в процессе непосредственного столкновения запыленного воздуха с задней стенкой 210d канала 221, что позволяет осуществлять более тихую уборку.
В то время как настоящее изобретение показано и описано со ссылкой на определенные варианты выполнения, специалистам в этой области техники следует понимать, что возможны различные изменения формы и деталей без отклонения от сущности и объема правовой охраны изобретения, как это определено в прилагаемой формуле изобретения.
Формула изобретения
1. Всасывающий входной узел пылесоса, имеющего источник разрежения, содержащий нижний корпус, имеющий первое и второе всасывающие отверстия, верхний корпус, соединенный с нижним корпусом с образованием соединительного канала для первого и второго всасывающих отверстий, и шумопонижающий узел, установленный вдоль соединительного канала, который проточно сообщается с источником разрежения.
2. Всасывающий входной узел по п.1, в котором верхний корпус содержит крышку канала и верхнюю крышку, присоединенную к нижнему корпусу над крышкой канала.
3. Всасывающий входной узел по п.2, в котором шумопонижающий узел содержит первое шумопонижающее ребро, имеющее первые наклонные отверстия, и второе шумопонижающее ребро, имеющее вторые наклонные отверстия.
4. Всасывающий входной узел по п.3, в котором первое и второе шумопонижающие ребра по существу симметричны друг другу.
5. Всасывающий входной узел по п.3, в котором соединительный канал в средней части своей задней стенки имеет выходное отверстие для воздуха, при этом первое шумопонижающее ребро установлено вдоль задней стенки соединительного канала справа от выходного отверстия для воздуха, а второе шумопонижающее ребро установлено вдоль задней стенки соединительного канала слева от выходного отверстия для воздуха.
6. Всасывающий входной узел по п.5, в котором высота первого и второго шумопонижающих ребер уменьшается соответственно в направлении удаления от выходного отверстия для воздуха, при этом указанные ребра изогнуты в направлении соответственно от первого и второго всасывающих отверстий.
7. Всасывающий входной узел по п.3, в котором каждое из первых и вторых наклонных отверстий наклонено под углами соответственно 1 и 2 в направлении выпуска запыленного воздуха через выходное отверстие для воздуха, при этом углы 1 и 2 составляют приблизительно от 40 до 70°.
8. Всасывающий входной узел по п.3, в котором ширина W1 и W2 соответственно каждого из первых и вторых наклонных отверстий составляет приблизительно от 0,5 до 1,0 от расстояний D1 до D2 между каждыми из первых наклонных отверстий и между каждыми из вторых наклонных отверстий.
9. Всасывающий входной узел по п.3, дополнительно содержащий первый и второй шумопоглощающие элементы вдоль соединительного канала.
10. Всасывающий входной узел по п.9, в котором первый шумопоглощающий элемент расположен между первым шумопонижающим ребром и соединительным каналом, а второй шумопоглощающий элемент расположен между вторым шумопонижающим ребром и соединительным каналом.
11. Всасывающий входной узел по п.9, в котором высота Н5 и Н6 соответственно первого и второго шумопоглощающих элементов уменьшается в направлении удаления от выходного отверстия для воздуха, при этом первый и второй шумопоглощающие элементы изогнуты в направлении соответственно первого и второго всасывающих отверстий.
12. Всасывающий входной узел по п.11, в котором первый и второй шумопоглощающие элементы по меньшей мере частично выполнены из пористого материала.
13. Пылесос, содержащий источник разрежения и всасывающий входной узел, проточно сообщающийся с источником разрежения и содержащий верхний и нижний корпусы и шумопонижающий узел, причем нижний корпус имеет первое и второе всасывающие отверстия, а верхний корпус соединен с нижним корпусом и по меньшей мере частично ограничивает соединительный канал для первого и второго всасывающих отверстий, который в своей средней части имеет выходное отверстие для воздуха для прохождения воздуха к источнику разрежения и вдоль которого расположен шумопонижающий узел.
14. Пылесос по п.14, в котором шумопонижающий узел содержит первое шумопонижающее ребро, имеющее первые наклонные отверстия, и второе шумопонижающее ребро, имеющее вторые наклонные отверстия.
15. Пылесос по п.14, в котором первое и второе шумопонижающие ребра по существу симметричны друг другу и расположены с противоположных сторон от выходного отверстия для воздуха.
16. Пылесос по п.14, в котором выходное отверстие для воздуха расположено вдоль задней стенки соединительного канала, а первое и второе шумопонижающие ребра расположены с противоположных сторон от этого отверстия.
17. Пылесос по п.14, в котором высота первого и второго шумопонижающих ребер уменьшается соответственно в направлении удаления от выходного отверстия для воздуха, при этом указанные ребра изогнуты в направлении соответственно первого и второго всасывающих отверстий.
18. Пылесос по п.14, в котором соединительный канал содержит первый и второй шумопоглощающие элементы.
19. Пылесос по п.18, в котором первый шумопоглощающий элемент расположен между первым шумопонижающим ребром и соединительным каналом, а второй шумопоглощающий элемент расположен между вторым шумопонижающим ребром и соединительным каналом.
20. Пылесос по п.18, в котором первый и второй шумопоглощающие элементы по меньшей мере частично выполнены из пористого материала.
РИСУНКИ
|