|
|
(21), (22) Заявка: 2005125668/12, 12.08.2005
(24) Дата начала отсчета срока действия патента:
12.08.2005
(46) Опубликовано: 20.03.2007
(56) Список документов, цитированных в отчете о поиске:
RU 2118144 C1, 27.08.1998. US 2003/0229964 A1, 18.12.2003. СА 2265998 A1, 01.03.2000. US 4118002 A, 03.10.1978. SU 610511 A1, 15.06.1978.
Адрес для переписки:
432027, г.Ульяновск, Северный Венец, 32, ГОУ ВПО “Ульяновский государственный технический университет”, проректору по научной работе
|
(72) Автор(ы):
Розенберг Юрий Вениаминович (RU)
(73) Патентообладатель(и):
Государственное образовательное учреждение высшего профессионального образования “Ульяновский государственный технический университет” (RU)
|
(54) БЕСПРОВОДНОЙ ПЫЛЕСОС Ю.В. РОЗЕНБЕРГА
(57) Реферат:
Изобретение относится к бытовой технике, в частности к устройствам для вакуумной очистки запыленных поверхностей. Беспроводной пылесос содержит корпус с подсоединенным к нему подводящим пылевоздухопроводом и снабженную опорными элементами платформу. Платформа снабжена встроенным в нее патрубком. Пылевоздухопровод выполнен в виде удлинителя, установленного в патрубке с возможностью изменения осевого положения и отсоединения, и гибкого шланга, размещенного между корпусом и удлинителем, а опорные элементы выполнены в виде самоустанавливающихся поворотных роликов. Данная конструкция устройства позволяет расширить эксплуатационные возможности беспроводного пылесоса и снизить трудоемкость очистки больших по площади, а также сильно загроможденных участков поверхности с узкими проходами и лабиринтоподобными крутыми поворотами. 2 з.п. ф-лы, 2 ил.
Изобретение относится к бытовой технике, в частности к устройствам для вакуумной очистки запыленных поверхностей.
Известен беспроводной пылесос, содержащий корпус с размещенными в нем побудителем тяги, пылезадерживающим фильтром и источником питания (аккумулятором), а также снабженный встроенной ручкой для перемещения пылесоса в процессе пылеуборки и съемными насадками, используемыми для вакуумной очистки поверхности и служащими одновременно в качестве подводящего пылевоздухопровода (см. паспорт и описание к пылесосу марки «Эленберг», модель VC 2100, производство КНР, 2004).
Данный пылесос позволяет за счет использования автономного источника питания проводить вакуумную пылеуборку в помещениях, не имеющих проводной электросети, а также в тех случаях, когда из-за большой площади очищаемой поверхности и удаленности розеток электропитания затруднительно использовать стандартный проводной пылесос.
Недостаток известного пылесоса состоит в большой трудоемкости очистки с помощью данного пылесоса значительных по площади участков поверхности. Указанный недостаток связан с тем, что вследствие отсутствия у известного пылесоса опорных элементов, например, в виде роликов, позволяющих перемещать пылесос по очищаемой поверхности, оператору в процессе пылеочистки приходится держать пылесос постоянно в руках. При этом следует отметить, что из-за необходимости использования аккумулятора, имеющего – для обеспечения достаточно продолжительной работы пылесоса – большую электроемкость и соответственно большую массу, пылесосы подобного типа имеют, как правило, значительный вес.
Кроме того, отсутствие у известного пылесоса гибкого соединительного шланга не позволяет использовать пылесос для очистки близко расположенных или удаленных от пылесоса на длину соединительного шланга участков поверхности, например, при стационарном положении пылесоса.
Известна также беспроводная автоматическая машина для уборки пола (RU 2118114 C1, 27.08.1998), содержащая корпус и подсоединенный к корпусу подводящий пылевоздуховод, и платформу, снабженную опорными элементами, которая принята в качестве наиболее близкого аналога.
Однако в данном устройстве имеется ряд недостатков. В частности, конструктивные особенности известной машины для уборки пола не позволяют использовать ее в качестве ручного пылесоса, что сужает эксплуатационные возможности данного устройства.
Задачей изобретения является создание беспроводного пылесоса, обеспечивающего получение технического результата, состоящего в снижении трудоемкости очистки больших по площади участков поверхности, расширении эксплуатационных возможностей пылесоса.
Этот технический результат в беспроводном пылесосе, содержащем корпус с подсоединенным к нему подводящим пылевоздухопрооводом и снабженную опорными элементами платформу, достигается тем, что платформа снабжена встроенным в нее патрубком, пылевоздухопровод выполнен в виде удлинителя, установленного в патрубке с возможностью изменения осевого положения и отсоединения, и гибкого шланга, размещенного между корпусом и удлинителем, а опорные элементы выполнены в виде самоустанавливающихся поворотных роликов.
В беспроводном пылесосе платформа снабжена ручкой для ее перемещения, причем ручка установлена с возможностью вращения вокруг оси, проходящей через точки соединения ручки с платформой, и возможностью ее фиксации в выбранном положении.
В беспроводном пылесосе платформа снабжена ложементом для установки корпуса пылесоса, а корпус установлен с возможностью фиксации и съема.
В беспроводном пылесосе шланг размещен с возможностью отсоединения.
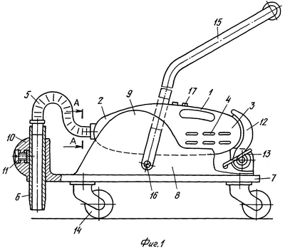
Сущность изобретения поясняется чертежами, где на фиг.1 изображен общий вид беспроводного пылесоса, на фиг.2 – разрез по А-А на фиг.1.
Беспроводной пылесос содержит сигарообразный корпус 1 с имеющими конусовидную форму передней 2 и задней 3 частями. В корпусе 1 размещены источник питания (аккумулятор), побудитель тяги и пылесборник с пылезадерживающим фильтром (на чертеже не показаны). В корпусе 1 со стороны торца передней части 2 корпуса имеется всасывающее отверстие и расположен соединительный узел для подсоединения гибкого шланга или сменных насадок, а на боковой поверхности корпуса имеются выходные отверстия 4. К корпусу 1 через размещенный в его передней части 2 соединительный узел подсоединен гибкий шланг 5. К другому концу шланга 5 подсоединен удлинитель 6.
Корпус 1 пылесоса установлен на платформе 7, имеющей предназначенный для размещения корпуса ложемент 8. В ложементе 8 имеются охватывающие переднюю часть 2 корпуса 1 боковые элементы 9, повторяющие форму конусовидной передней части 2 корпуса и образующие конусовидный упор (конусовидное гнездо) для передней части корпуса. Платформа 7 имеет встроенный патрубок 10, в котором установлен с возможностью изменения осевого положения и отсоединения удлинитель 6, удерживаемый в патрубке 10 с помощью винта 11.
На платформе 7 со стороны торца задней части 3 корпуса размещен с возможностью поворота вокруг горизонтальной оси прижим 12, подпружиненный с помощью пружины кручения 13. Платформа имеет опорные элементы в виде самоустанавливающихся поворотных роликов 14. Перемещение платформы осуществляют с помощью ручки 15, установленной на платформе с возможностью вращения вокруг оси, проходящей через точки соединения ручки с платформой. Положение ручки может быть зафиксировано с помощью винта 16. Включение и выключение, а также изменение режимов работы пылесоса осуществляется с помощью кнопок 17.
Подготовка к работе и вакуумная пылеуборка с помощью беспроводного пылесоса производится следующим образом.
До начала пылеуборки отводят назад на необходимый угол прижим 12 и укладывают корпус 1 пылесоса в ложемент 8 платформы 7 таким образом, чтобы передняя часть 2 вошла между элементами 9 ложемента 8. Далее отпускают прижим 12, в результате чего последний под воздействием пружины 13 надежно зафиксирует корпус 1 в ложементе 8.
Перед началом пылеуборки на нижний конусный торец удлинителя 6 устанавливается соответствующая насадка (например, длинноворсовая щетка). Затем платформу 7 с размещенным на ней корпусом 1 устанавливают опорными роликами 14 на очищаемую поверхность, после чего частично вывинчивают винт 11 и подбирают длину выступающей из патрубка 10 части удлинителя таким образом, чтобы ворсинки щетки насадки пришли в соприкосновение с очищаемой поверхностью, после чего вновь затягивают винт 11. Далее с помощью кнопок 17 включают побудитель тяги пылесоса и выбирают соответствующий режим его работы. Затем платформу 7 с помощью ручки 15 начинают перемещать по очищаемой поверхности. При этом, благодаря наличию у платформы опорных элементов в виде поворотных роликов 14, каждый из которых выполнен с возможностью самоустановки, платформе можно сообщать любое заданное направление перемещения по очищаемой поверхности, что особенно необходимо при очистке сильно загроможденных помещений с узкими лабиринтоподобными поворотами и проходами. Наличие свободновращающейся вокруг горизонтальной оси ручки 15 обеспечивает удобство управления платформой при перемещении последней по убираемой поверхности. При необходимости положение ручки 15 может быть зафиксировано с помощью винта 16.
В процессе перемещения платформы с размещенным на ней корпусом 1 пылесоса, удлинителем 6 и установленной на нем щеточной насадкой по очищаемой поверхности ворсинки щетки насадки будут выбивать из пылевого слоя пылевые частицы, при этом воздух, отсасываемый с помощью побудителя тяги пылесоса, вместе с частицами пыли будет засасываться через насадку в удлинитель 6 и далее через шланг 5 поступит в корпус 1 и очищенный от пыли с помощью имеющегося в корпусе пылезадерживающего фильтра будет выталкиваться через отверстия 4.
При необходимости вакуумной очистки от пыли труднодоступных зон, например пространства между полом и дном стоящих на нем предметов, удлинитель отсоединяют от платформы, устанавливают на его конусный торец соответствующую насадку и с помощью подсоединенного к корпусу пылесоса гибкого шланга производят пылеочистку соответствующих зон.
Для использования корпуса пылесоса отдельно от платформы, например в качестве ручного пылеочищающего устройства, прижим 12 с усилием, необходимым для преодоления упругого сопротивления пружины 13, отводят назад, вынимают корпус из ложемента 8 и используют его в качестве самостоятельного переносного пылесоса.
Таким образом, как видно из описания заявленного изобретения, предложенное техническое решение, состоящее в размещении корпуса беспроводного пылесоса на платформе, имеющей опорные элементы в виде поворотных самоустанавливающихся роликов и снабженной ручкой, установленной с возможностью вращения вокруг горизонтальной оси, позволяет существенно снизить трудоемкость очистки больших по площади участков поверхности, в том числе, в сильно загроможденных помещениях с узкими проходами и лабиринтоподобными крутыми поворотами. При этом возможность отсоединения корпуса пылесоса от платформы позволяет использовать его в качестве самостоятельного переносного пылеочищающего устройства, что значительно расширяет эксплуатационные возможности беспроводного пылесоса.
Формула изобретения
1. Беспроводной пылесос, содержащий корпус с подсоединенным к нему подводящим пылевоздухопроводом и снабженную опорными элементами платформу, отличающийся тем, что платформа снабжена встроенным в нее патрубком, пылевоздухопровод выполнен в виде удлинителя, установленного в патрубке с возможностью изменения осевого положения и отсоединения, и гибкого шланга, размещенного между корпусом и удлинителем, а опорные элементы выполнены в виде самоустанавливающихся поворотных роликов.
2. Беспроводной пылесос по п.1, отличающийся тем, что платформа снабжена ручкой для ее перемещения, установленной с возможностью вращения вокруг оси, проходящей через точки соединения ручки с платформой, и фиксации в выбранном положении.
3. Беспроводной пылесос по п.1, отличающийся тем, что платформа снабжена ложементом для установки корпуса, а корпус установлен с возможностью фиксации и съема.
РИСУНКИ
|
|