|
|
(21), (22) Заявка: 2005103225/12, 23.07.2003
(24) Дата начала отсчета срока действия патента:
23.07.2003
(30) Конвенционный приоритет:
25.07.2002 KR 10-2002-0045708
(43) Дата публикации заявки: 10.08.2005
(46) Опубликовано: 20.03.2007
(56) Список документов, цитированных в отчете о поиске:
US 5622192 A, 22.04.1997. US 6367483 A, 09.04.2002. JP 11253225 A, 21.09.1999. RU 2028164 C1, 09.02.1995.
(85) Дата перевода заявки PCT на национальную фазу:
25.02.2005
(86) Заявка PCT:
KR 03/001458 (23.07.2003)
(87) Публикация PCT:
WO 2004/010818 (05.02.2004)
Адрес для переписки:
101990, Москва, Петроверигский пер., 4, “Агентство Ермакова, Столярова и партнеры”, пат.пов. Е.А.Ермаковой
|
(72) Автор(ы):
ЛИИ Джае-Кун (KR)
(73) Патентообладатель(и):
ЛИИ Джае-Кун (KR)
|
(54) УСТРОЙСТВО ДЛЯ ОКРАШИВАНИЯ ВОЛОС С ИСПОЛЬЗОВАНИЕМ КОНТЕЙНЕРА ДЛЯ КРАСКИ
(57) Реферат:
Устройство для окрашивания волос содержит основной корпус с электромотором, гребень, насос, источник питания, выключатель и отверстие, устроенное с возможностью присоединения через него, по крайней мере, одного из контейнеров для краски к основному корпусу. Гребень присоединен к основному корпусу и оснащен несколькими зондами, в каждом из которых предусмотрен, по крайней мере, один выводной канал. Насос присоединен к электромотору для подачи краски в зонды гребня. Выводные каналы выполнены с возможностью поступления по ним подаваемой насосом краски в соответствующие зонды. Изобретение обеспечивает легкое применение красителей без приложения усилий для выпуска краски из контейнеров при окрашивании волос и исключает контакт краски с воздухом, что предотвращает ее порчу. 6 з.п. ф-лы, 23 ил.
Настоящее изобретение относится к устройствам для окрашивания волос, в частности к устройствам с упрощенным использованием красящих веществ в контейнерах, содержащих жидкие красители (например, в тюбиках, флаконах или пакетах), без принудительного извлечения жидких красителей из контейнеров при окрашивании волос (например, обесцвеченных, окрашенных, наращенных, мелированных волос на голове или на теле) с обеспечением расхода красителя в необходимом объеме и без его потерь, а также с возможностью смешивания разных красителей (например, основного красящего вещества со стабилизатором, проявляющей, обесцвечивающей смесью или с другими красителями), при котором волосы легко окрашиваются в другие цвета. Изобретение также относится к контейнерам для краски, которые используются с таким устройством.
До настоящего времени предлагались различные устройства для окрашивания волос, которые известны из нижеследующих патентов:
1. Патент Республики Корея на полезную модель №200270351, заявка подана в октябре 2001 г. на имя Esther Cos. Co., Ltd.
2. Патент Республики Корея на полезную модель №200151735, заявка подана в июле 1997 г. на имя Dong Sung Pharm. Co., Ltd.
3. Патент Республики Корея на полезную модель №200151736, заявка подана в марте 1997 г. от Dong Sung Pharm. Co., Ltd.
4. Патент США №6513534, заявка подана в октябре 1999 г., патентообладатель – Montec Products Development Ltd. (Израиль).
5. Патент США №6460546, заявка подана в августе 2001 г. на имя Montec Products Development Ltd. (Израиль).
6. Патент США №6457476, заявка подана в январе 2001 г., патентообладатель – The Procter & Gamble Co.
7. Патент США №6453909, заявка подана в марте 2000 г., патентообладатель – L’Oreal S.A. (Париж, Франция).
8. Патент США №6450366, заявка подана в октябре 2000 г., патентообладатель – L’Oreal S.A. (Париж, Франция).
9. Патент США №6431178, заявка подана в январе 2000 г., патентообладатель – Pentel Kabushiki Kaisha (Япония).
10. Патент США №6390101, заявка подана в мае 2000 г., патентообладатель – Larry Rush Alexander (Эванстон, шт.Иллинойс США).
11. Патент США №6386778, заявка подана в январе 2001 г., патентообладатель – The Gillette Company (Бостон, шт.Массачусетс, США).
12. Патент США №6357450, заявка подана в декабре 2000 г., патентообладатель – Andrew Paice (Великобритания).
13. Патент США №6357449, заявка подана в ноябре 2000 г., патентообладатель – New Basics, Inc. (Бостон, шт.Массачусетс, США).
14. Патент США на промышленный образец №D442331, заявка подана в апреле 2000 г. на имя New Basics, Inc. (Бостон, шт.Массачусетс, США).
15. Патент США №6,334,727, заявка подана в апреле 2000 г., патентообладатель – L’Oreal S.A. (Париж, Франция).
16. Патент США №6334449, заявка подана в мае 2000 г., патентообладатель – The Procter & Gamble Co.
17. Патент США №6285518, заявка подана в августе 1999 г., патентообладатель – Michel Laporte (Франция).
18. Патент США №6260557, заявка подана в июле 2000 г., патентообладатель – Christine Yarbrough (шт.Флорида, США).
19. Патент США №6244433, заявка подана в феврале 2000 г., патентообладатель – L’Oreal S.A. (Париж, Франция).
20. Патент США №6182822, заявка подана в августе 1998 г., патентообладатель – L’Oreal S.A. (Париж, Франция).
21. Патент США №6176389, заявка подана в декабре 1998 г., патентообладатель – L’Oreal S.A. (Париж, Франция).
22. Патент США №6145513, заявка подана в феврале 1999 г., патентообладатель – New Basics, Inc. (Бостон, шт.Массачусетс, США).
23. Патент США №6142157, заявка подана в феврале 1999 г., патентообладатель – L’Oreal S.A. (Париж, Франция).
24. Патент США №6062230, заявка подана в июле 1998 г., патентообладатель – Zarko Kajgana (шт.Огайо, США).
25. Патент США №6053177, заявка подана в феврале 1999 г., патентообладатель – Montec Products Development Ltd. (Израиль).
26. Патент США №6012462, заявка подана в апреле 1999 г., патентообладатель – Rodney L. Schmittou (шт.Калифорния, США).
27. Патент США №6009881, заявка подана в октябре 1998 г., патентообладатель – L’Oreal S.A. (Париж, Франция).
28. Патент США №5937866, заявка подана в апреле 1998 г., патентообладатель – Laila Magharehi (шт.Калифорния, США).
29. Патент США №5913314, заявка подана в октябре 1998 г., патентообладатель – Michelle R. Garrett (шт.Мэриленд, США).
30. Патент США №5848730, заявка подана в декабре 1998 г., патентообладатель – Као Corporation (Токио, Япония).
31. Патент США №5778902, заявка подана в декабре 1996 г., патентообладатель – Christine Nagy (шт.Нью-Йорк, США).
32. Патент США №5676480, заявка подана в апреле 1996 г., патентообладатель – Nada Tosto (шт.Нью-Йорк, США).
33. Патент США №5593065, заявка подана в январе 1997 г., патентообладатель – Pakmax, Inc. (шт.Нью Джерси, США).
34. Патент США №5569368, заявка подана в июне 1995 г., патентообладатель – Edvin G. Larsky (шт.Вайоминг, США).
35. Патент США №5472456, заявка подана в январе 1995 г., патентообладатель – Edvin G. Larsky (шт.Вайоминг, США).
36. Европейский Патент №1018309, заявка подана в июле 2000 г., патентообладатель – Pentel Kabushiki Kaisha (Япония) и Taico Co. (Япония).
Вышеупомянутые известные устройства можно классифицировать по нескольким типам, которые рассмотрены ниже.
К первому типу относятся устройства для окрашивания волос, в которых заранее определенное количество краски (или пасты) извлекается из каждого контейнера. Контейнеры не присоединены к основному корпусу и, таким образом, краски из контейнера смешиваются, после чего смесь красок подается в цилиндр, который выполнен в виде шприца или герметичного контейнера. Поршень перемещают таким образом, чтобы смешанные краски выжимались через отверстия в зондах или через отверстия между зондами.
Ко второму типу относятся устройства для окрашивания волос, в которых определенное, предварительно подготовленное количество краски извлекают из каждого контейнера, причем контейнеры не присоединяют к самому устройству для окрашивания волос. Таким образом, краски, извлекаемые из контейнеров для краски, смешивают как и в устройствах первого типа. Смешанные краски подают в сжимаемый пакет, при сжатии которого смешанные краски выпускают через отверстия между зондами.
К третьему типу относятся устройства для окрашивания волос, в которых определенное, предварительно подготовленное количество краски извлекают из каждого контейнера, причем такой контейнер не присоединен к основному корпусу устройства. По аналогии с первым и вторым типами извлекаемые из контейнеров краски поступают в цилиндр, а оттуда выпускаются через отверстия в зондах с помощью встроенного электромотора, зубчатой передачи и кулачка.
В каждом из первых трех типов устройств для окрашивания волос с описанными выше конструкциями определенное, предварительно подготовленное количество краски должно извлекаться из каждого контейнера, которые не присоединены к основному корпусу. Краски, извлекаемые из контейнеров, приходится смешивать вручную или другим способом, а затем подавать в цилиндр устройства для окрашивания волос. Описанный выше способ должен повторяться, если смешанных красок оказывается недостаточно или, наоборот, слишком много во время окрашивания. Более того, каналы в цилиндре или зонды могут забиваться, но средства для очищения каналов не предусмотрены. Следовательно, руки, волосы, устройства для окрашивания и пространство вокруг могут легко испачкаться при использовании любого из ранее упомянутых известных устройств для окрашивания.
К четвертому типу относятся устройства с присоединенным снаружи или к основному корпусу устройства аэрозольным баллончиком таким способом, что он служит как рукоятка, и краска с разбавителем выпускается под давлением из аэрозольного баллончика. Этот тип устройства для окрашивания волос имеет определенные преимущества, поскольку не оснащается цилиндром и поршнем для выпуска краски, а также отсутствует необходимость в извлечении двух красок из контейнеров, смешивании и их подаче в цилиндр устройства. Однако четвертому типу устройств также присущ ряд недостатков, в частности при их применении краска разбрызгивается под давлением, пачкая кожу пользователя. Краска также может попасть в глаза или запачкать окружающее пространство.
К пятому типу относятся устройства, в которых краску заправляют в герметично закрывающийся контейнер под давлением. Краска выходит через трубку за счет разницы давлений, когда внешний воздух, находящийся под давлением, поступает в контейнер под давлением. Несмотря на то, что этап смешивания красок здесь не требуется, краска должна выпускаться из контейнера, так же как и заправляться в контейнер под давлением, и контейнер необходимо герметично закупоривать. Более того, когда контейнер под давлением встряхивают или наклоняют, в трубку может проникнуть воздух и в результате краска может сфонтанировать. Таким образом, недостаток устройств такого типа заключается в том, что в них может применяться краска только на водной основе.
Помимо указанного, в первых пяти типах устройств для окрашивания волос и других известных устройствах для окрашивания краска распределяется в отверстиях зондов, как правило, неравномерно. В частности, краска распределяется в соответствующие отверстия через каналы и выпускается из отверстий или же краска распределяется по соответствующим каналам и непосредственно оттуда выпускается. Однако краска выходит и через естественные отверстия, т.к. соответствующие отверстия для краски сообщаются друг с другом. Таким образом, известные устройства для окрашивания волос не обеспечивают равномерного распределения краски, находящейся под давлением. В особенности, если выходу краски что-то препятствует или отверстия забиваются, то краска подается на волосы зачастую с избытком и неравномерно, поскольку сила напора краски через отверстия в достаточной степени отличается от напора в незасоренных отверстиях. В результате краска может стекать на лицо или разбрызгиваться, пачкая посторонние предметы.
Настоящее изобретение было создано с учетом вышеописанных недостатков предшествующего уровня техники. Задача изобретения заключается в разработке устройства для окрашивания волос, которое было бы способно обеспечить легкое применение красителей в контейнерах, содержащих красящие вещества (жидкости), без приложения усилий для выпуска краски из контейнеров при окрашивании волос. Также предлагается использование любого необходимого количества краски в контейнерах без ее потери, при этом разные краски для окрашивания волос можно легко смешивать в любых желаемых пропорциях, с получением новых цветов и оттенков. Другой целью изобретения является разработка контейнера для краски, который можно было бы использовать с таким устройством для окрашивания волос.
В соответствии с указанным аспектом настоящего изобретения, предусмотрено устройство для окрашивания волос, выполненное с возможностью выпуска краски при помощи электропривода, содержащее основной корпус с электромотором, источник питания, выключатель и отверстие, устроенное с возможностью присоединения через него, по крайней мере, одного из контейнеров для краски к основному корпусу; гребень, присоединенный к основному корпусу и оснащенный несколькими зондами, в каждом из которых предусмотрен, по крайней мере, один выводной канал; по крайней мере, один насос, присоединенный к электромотору для подачи краски в зонды гребня; причем выводные каналы выполнены с возможностью поступления по ним подаваемой насосом краски в соответствующие зонды.
В предпочтительном варианте изобретения блок гребня шарнирно присоединяется к одному концу основного корпуса. В другом предпочтительном варианте каждый из зондов оснащен внутренними каналами в количестве от одного до восьми. В следующем предпочтительном варианте встроенный в основной корпус насос является многоканальным с несколькими насосными элементами, разделенными переборками, при этом насосные элементы расположены коаксиально, а их количество соответствует количеству зондов.
В следующем предпочтительном варианте в устройстве для окрашивания волос предусмотрены клапаны, встроенные в каждый из каналов между насосом и крепежом гребня таким образом, чтобы во время выпуска краски через каждый канал краска могла смешиваться с другой краской или выпускаться через каждый канал без смешивания, в зависимости от выбранной позиции клапана.
В одном из предпочтительных вариантов в устройстве для окрашивания волос предусмотрена промежуточная пластина, присоединенная к отверстию основного корпуса, для обеспечения легкой замены контейнера для краски, независимо от размера отверстия контейнера для краски.
В другом предпочтительном варианте устройство для окрашивания волос оснащено распылительными клапанами, расположенными между насосом и крепежом гребня для равномерного распределения краски, подаваемой насосом, причем каждый из таких распылительных клапанов оснащен несколькими роторами, установленными на одном и том же валу.
Вышеуказанные и другие компоненты, характеристики и преимущества настоящего изобретения станут более очевидными благодаря следующему детальному описанию, сопровождаемому чертежами, а именно:
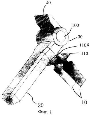
Фиг.1 – изображение общего вида устройства для окрашивания волос согласно первому предпочтительному варианту;
Фиг.2 – вид устройства, ранее показанного на Фиг.1, – сбоку, в частичном разрезе, с изображением внутреннего устройства;
Фиг.3 – вид устройства, ранее показанного на Фиг.1, – сверху, в частичном разрезе, с изображением внутренней части устройства;
Фиг.4 – вид контейнера для краски согласно настоящему изобретению;
Фиг.5 – изображение блока гребня устройства, ранее показанного на Фиг.1, с изображением процесса смешивания;
Фиг.6 – вид блока гребня устройства, ранее показанного на Фиг.1, с изображением процесса сепарирования;
Фиг.7 – вид многоканального насоса устройства, показанного на Фиг.1;
Фиг.8 – ракурс проекции внешней части корпуса насоса, показанного на Фиг.7;
Фиг.9 – ракурс проекции внутренней части корпуса насоса, показанного на Фиг.7;
Фиг.10 – ракурс проекции рабочего ротора насоса, показанного на Фиг.7;
Фиг.11 – сборный ракурс проекции, изображающий клапан устройства, показанного на Фиг.1;
Фиг.12 – проекция внешней части корпуса клапана, ранее показанного на Фиг.11, к которому присоединяется блок гребня;
Фиг.13 – проекция внутренней части корпуса клапана, показанного на Фиг.11, к которой присоединяется блок гребня;
Фиг.14 – проекция корпуса клапана, показанного на Фиг.11;
Фиг.15а и 15б – проекции, последовательно показывающие клапан согласно Фиг.11;
Фиг.16а и 16в – проекции, показывающие промежуточную пластину, выполненную согласно изобретению;
Фиг.17 – схема гидравлической цепи устройства для окрашивания волос в соответствии с первым предпочтительным вариантом настоящего изобретения;
Фиг.18 – вид сбоку в частичном разрезе устройства в соответствии со вторым предпочтительным вариантом настоящего изобретения, с изображением внутренней части устройства;
Фиг.19 – вид многоканального распылительного клапана настоящего устройства;
Фиг.20 – ракурс проекции внешней части корпуса многоканального распылительного клапана, показанного на Фиг.19;
Фиг.21 – ракурс проекции внутренней части корпуса многоканального распылительного клапана, показанного на Фиг.19;
Фиг.22 – проекция рабочего ротора многоканального распылительного клапана, показанного на Фиг.19;
Фиг.23 – схема гидравлической цепи устройства, показанного на Фиг.18.
Предпочтительный вариант осуществления изобретения. Настоящее изобретение относится к устройству для окрашивания волос с использованием контейнера для краски. Первоначально рассматриваются основные конструкции контейнера для краски и устройства для окрашивания волос в соответствии с Фиг.1-3, а затем детально рассматривается контейнер для краски в соответствии с Фиг.4.
На Фиг.1-3 изображено устройство для окрашивания волос, в соответствии с первым предпочтительным вариантом воплощения изобретения, которое содержит основной корпус 20, модуль головки 30 и блок гребня 40. Основной корпус 20 служит рукояткой. Контейнеры для краски 10 являются съемными и присоединяются к отверстиям (портам) 150, сформированным на основном корпусе 20 или на модуле головки 30. Контейнеры 10 легко снимаются и присоединяются.
Модуль головки 30 составляет пару с блоком гребня 40. Модуль головки 30 так же шарнирно прикреплен к основному корпусу 20 устройства, как и на сушилке для волос.
В качестве контейнеров 10 для краски могут использоваться разные типы контейнеров с различными емкостями, в зависимости от того, являются ли они одноразовыми или многоразовыми. Предпочтительно использовать контейнеры, напоминающие обычные тюбики для зубной пасты, как показано на Фиг.1. Также неоднократно можно использовать контейнеры-картриджи 10′, как показано на Фиг.4. Независимо от типа используемого контейнера, 10 или 10′, в предпочтительных вариантах контейнеры имеют конструкцию, не допускающую контактирование краски с воздухом при уменьшении количества краски, чтобы предотвратить порчу краски.
Контейнеры-тюбики 10 препятствуют проникновению воздуха внутрь во время выпуска краски.
В устройстве для окрашивания волос согласно настоящему изобретению краски выкачивают из контейнеров насосом. Таким образом, внешнего воздействия на контейнеры-тюбики 10 не требуется, как в случае с контейнерами-тюбиками, которые необходимо сжимать руками, чтобы выдавить краску. По этой причине каждый контейнер-тюбик 10 изготавливают из мягкого синтетического полимера минимальной толщины, уменьшая или полностью исключая отрицательное давление.
Каждый контейнер-картридж 10′, как показано на Фиг.4, включает корпус 10’а из твердого синтетического полимера с отверстиями 10’в; и тонкие пакеты 10’б, расположенные в корпусе 10’а. Корпус 10’а оснащен отверстиями 10’г. В контейнерах-картриджах 10’а тонкие пакеты 10’б упруго сжимают при выпуске содержащейся в них краски насосом, устраняя, таким образом, контакт краски с воздухом,
Как показано на Фиг.2, во внутреннюю часть основного корпуса 20 устройства для окрашивания волос встроены источник питания 50, электромотор 60 и насос 80. Снаружи основного корпуса 20 находится выключатель (не показан) для регулировки рабочей мощности, подаваемой на электромотор 60. В качестве насоса 80 можно использовать пластинчатый насос для упрощения регулирования количества краски посредством электромотора 60, хотя также может применяться поршневой насос, в частности шестерной или ротационный насос, в зависимости от свойств краски. В предпочтительном варианте применяют насос малой мощности, например 5-30 см3/мин. В зависимости от типа электромотора 60 используют редуктор 70. Блок гребня 40 поворачивают в положения, проиллюстрированные позицией 40′, так, чтобы можно было легко менять угол наклона гребня 40 во время эксплуатации или хранения.
Как показано на Фиг.5 и 6, блок гребня 40 оснащен зондами 41, каждый из которых выполнен в виде пластинчатого элемента с большей шириной, чем обычные расчески. Каждый из зондов 41 снабжен внутренними каналами 41а и 41б, проходящими продольно по всей длине. Зонды 41 располагаются у основания секции каждого зонда 41. Если, в особенности, каждый из зондов 41 имеет форму пластинчатого элемента, то они располагаются в один или два ряда, чтобы гребень использовался в двух направлениях при расчесывании волос. Когда зонды выполнены в виде тонких круглых (цилиндрических) элементов, то они могут располагаться в несколько рядов, как в щетке, что не требует изменения направления расчесывания. При большой ширине зонда 41 количество и форма внутренних каналов 41а и 41б может легко меняться. Более того, существенно снижается деформация и износ, вызываемые трением между зондами 41 и волосами во время процесса окрашивания. Каналы 41а и 41б могут быть полностью отделены друг от друга. Или же, напротив, каналы объединяют друг с другом в верхней, средней или нижней частях канала, что позволяет изменять состав краски. Как показано на Фиг.6, нижний конец каждого зонда 41 направлен таким образом, что процесс расчесывания проводится качественно, а нижние концы каналов 41а и 41б имеют свободный доступ.
Внутри каждого из зондов 41 блока гребня 40 располагается от одного до восьми каналов 41а и 41б. Количество каналов 41а и 41б согласовывают с количеством краски, чтобы краски не только смешивались надлежащим образом, но также и разделялись, или чтобы отверстия, через которые проходит краска, тщательно промывались.
Когда длина зонда достаточно большая, каждый из зондов 41 изготавливают способами профилирования или деформационной обработки металлического листа. С другой стороны, если длина зонда небольшая, каждый из зондов 41 может изготавливаться литьевым формированием.
В качестве насоса 80 предпочтительно применяют сдвоенный или многофункциональный насос с качающими блоками, количество которых зависит от количества используемой краски. Насос 80 имеет впускное отверстие 81а и ряд выпускных отверстий 81б, что позволяет равномерно распределять краску под давлением. Наиболее предпочтительным является применение многоканальной системы, в которой насосные элементы 83 (Фиг.10), по количеству соответствующие зондам 41 с внутренними каналами 41а и 41б, соединены коаксиально с целью синхронизации.
В соответствии с Фиг.7-10 насос 80 имеет внешний корпус 81 (Фиг.9), внутренний корпус 82 (Фиг.9) и насосные элементы 83 (Фиг.10). Общая пропускная способность насосных элементов 83 равна пропускной способности насоса 80 устройства для окрашивания волос.
Внутренний корпус 82 расположен во внешнем корпусе 81. Внешний корпус 81 в верхней части имеет впускное отверстие 81а, соответствующее впускному отверстию 82а внутреннего корпуса 82. В нижней части внешнего корпуса 81 выполнены выпускные отверстия 81б, соответствующие выпускным отверстиям 82б внутреннего корпуса 82.
Внутренний корпус 82 включает верхнюю часть 82у и нижнюю часть 82л. Верхняя часть 82у соединена в зацеплении с нижней частью 82л. Впускное отверстие 82а предусмотрено в верхней части внутреннего корпуса 82, а выпускные отверстия 82б – в нижней части внутреннего корпуса 82. Внутреннее пространство внутреннего корпуса 82, включающего верхнюю 82у и нижнюю 82л части, состоит из рабочих камер 82г, которые отделены друг от друга переборками 82в. Рабочие камеры, имеющие отдельные переборки, могут быть скомпонованы коаксиально или так, чтобы соседние камеры имели смежную переборку для коаксиального сопряжения всех рабочих камер.
Каждый из насосных элементов 83 включает несколько рабочих роторов 83, закрепленных на одном и том же валу. Каждый из насосных элементов 83 оснащен муфтой сцепления 84 для соединения с электромотором 60 или редуктором 70.
К базовому механизму насоса 80 настоящего изобретения могут применяться внешний шестеренный насос, внутренний шестеренный насос, трохоидный насос, ротационный насос, плунжерный насос, ручной насос, перисталический насос, диафрагменный насос (насос-лягушка), пластинчатый насос или любые другие насосы. При наличии особых требований к конструкции многоканального насоса предпочтительно применяют шестеренный или ротационный насосы, которые являются нагнетательными. Насос 80, показанный на Фиг.7, – это внешний шестеренный насос.
В основном корпусе 20 или модуле головки 30 устройства для окрашивания волос согласно изобретению выполнены отверстия (порты) 150, к которым присоединяются контейнеры для краски 10 или 10′. При изготовлении основного корпуса устройства отверстия (порты) предпочтительно выполняют стандартными. К основному корпусу 20 или модулю головки 30 могут присоединяться контейнеры различных размеров с помощью промежуточной пластины 110, устанавливаемой между контейнерами и основным корпусом 20 или модулем головки 30, которая будет рассмотрена далее.
Устройство для окрашивания волос в соответствии с настоящим изобретением содержит каналы 90, через которые насосом 80 краска подается в соответствующие зонды 41. В предпочтительном варианте внутренний диаметр каждого канала 90 превосходит каждый из диаметров каналов 41а и 41б зондов 41 в целях равномерной подачи и распределения краски под действием насоса 80 в зонды 41 модуля головки. Секции каналов, через которые краска из контейнеров 10 и 10′ поступает в насос 80, должны быть больше, чем сумма внутренних диаметров каналов 90, через которые краска поступает в зонды 41 посредством насоса 80, что снижает сопротивление потока и дроссельный эффект. В предпочтительном варианте каналы 90 изготавливают из упругих материалов, например, в форме гибких трубок, чтобы они не повредились при складывании или раскладывании модуля головки 30.
Как показано на Фиг.11-15, для регулирования потока краски устройство для окрашивания волос оснащают клапаном 100, который располагают на основном корпусе 20. Устройство может также снабжаться другим клапаном 100, который располагается на модуле головки 30 для регулирования потока краски. Клапан 100, расположенный на модуле головки 30, для обеспечения позиций смешивания Б-Б’ и сепарирования А-А’ показан на Фиг.1-3.
В предпочтительном варианте клапан 100 совмещает выбор функций смешивания, изолирования и сепарирования. Также обеспечивают возможность выбора функций смешивания, изолирования и сепарирования по отдельности или же прибегают к комбинированным вариантам. Комбинация выбранных положений предусматривает наличие 4-канального 2-позиционного клапана или 4-канального 3-позиционного клапана. Наиболее предпочтительной комбинацией является 4-канальный (102а, 102б, 102в и 102г (Фиг.13)) двухпозиционный (А-А’ и Б-Б’) клапан, который соответствует обеспечению выбора положения смешивания Б-Б’ и положения сепарирования А-А’. Пример положения 4-канального 2-позиционного клапана для смешивания краски В-В’ показан на Фиг.5, а пример положения 4-канального 2-позиционного клапана для сепарирования краски А-А’ показан на Фиг.6.
Смешивающий клапан предпочтительно имеет перешеек 104в, расположенный между первой рабочей камерой 104а и второй рабочей камерой 104б, чтобы краски легко взбалтывались и перемешивались. Для работы клапанов на смешивание-изолирование-сепарирование требуется рычаг или кулачок (не показан).
Как описывалось выше, отверстия (порты) 150, посредством которых контейнеры для краски 10 и 10′ ставятся и снимаются с корпуса 20 или модуля головки 30 устройства для окрашивания волос, предусматриваются в основном корпусе 20 или в модуле головки 30. Промежуточная пластина 110 (Фиг.16) расположена между отверстиями (портами) 150 и контейнерами 10 и 10′ таким образом, чтобы пользователь мог выбрать нужный ему контейнер из разных имеющихся в наличии контейнеров и присоединить его к промежуточной пластине 110.
Промежуточная пластина 110 (Фиг.16) имеет присоединительные элементы 110а, каждый из которых соответствует отверстиям (не показаны) контейнеров 10 по форме и размерам, и соединительные элементы 110б основного корпуса, которые соответствуют отверстиям (портам) 150 основного корпуса 20 или модуля головки 30 соответственно по форме и размеру. Следовательно, контейнеры можно легко менять путем замены промежуточной пластины 110.
Отверстия (порты) 150 выполняют в основном корпусе 20 или в модуле головки 30 устройства для окрашивания волос. Каждое отверстие (порт) 150 имеет резьбу на внутренней поверхности, что позволяет надежно закреплять контейнеры 10 и 10′ соответственно. В ином случае каждое отверстие 150 может быть выполнено в форме усеченного конуса, чтобы контейнеры 10 и 10′ более легко крепились на отверстия (порты). В процессе присоединения или снятия контейнеров 10 и 10′ с вышеуказанных отверстий (портов) 150, снабженных резьбой или выполненных в форме усеченного конуса, в предпочтительном варианте обеспечивают герметичность каждого контейнера 10 или 10′.
На Фиг.17 показан процесс контролируемого нанесения смеси двух красок или раздельного нанесения двух красок через каналы 41а и 41б зондов 41 на модуле головки 30 устройства для окрашивания волос. В соответствии с Фиг.17 два насоса 83а обеспечены приводом от одного электромотора 60, поэтому запускаются синхронно, и краска выпускается из контейнеров 10 и 10′ соответственно. На основном корпусе 20 устройства для окрашивания волос выполнен выключатель (не показан) для включения/выключения электромотора 60. Клапаны 100 расположены так, что каналы 41а и 41б в зондах 41, сообщающиеся друг с другом, отделены друг от друга или открываются/закрываются одновременно. Следовательно, смешанные или сепарированные краски равномерно выпускают через все каналы зондов 41 в модуле головки 30, когда выбрано положение А-А’ или Б-Б’ на каждом клапане 100 и работает электромотор 60.
В целях безопасности рекомендованная скорость подачи краски по каналам 90 из зондов 41 в модуле головки 30 должна составлять не более 30 мм/с. В предпочтительном варианте секция каждого из каналов 90 определяется по количеству зондов 41 и количеству каналов 41 а и 41б, находящихся в каждом зонде 41, с учетом объема дозировки краски приблизительно 120 мл.
На Фиг.18- 23 показано устройство для окрашивания волос в соответствии со вторым предпочтительным вариантом настоящего изобретения. Согласно этой конструкции распылительные клапаны 140 выполняют на модуле головки 30′, с которым блок гребня 40 образует пару.
К модулю головки 30′, с которым узел гребня 40 составляет пару, присоединяют основной корпус 20 (как в первом предпочтительном варианте, представленном на Фиг.1). Модуль головки 30′ шарнирно присоединяют к основному корпусу 20 штифтом 120. Устройство для окрашивания волос во втором предпочтительном варианте идентично устройству по первому варианту, при этом источник питания 50, электромотор 60 и насос 80 встроены внутрь основного корпуса 20, а на блоке гребня 40 выполнены зонды 41. Отличие устройства для окрашивания волос второй предпочтительной конструкции от устройства по первому варианту заключается в том, что распылительные клапаны 140 выполняют в модуле головки 30′ устройства.
Как показано на Фиг.19-22, каждый распылительный клапан 140 имеет внешний корпус 111 и внутренний корпус, включающий верхнюю часть 112у, нижнюю часть 112л и насосные элементы 113. Внутренняя часть корпуса, включающая верхнюю часть 112у и нижнюю часть 112л, сформирована каналами 112г, каждый из которых имеет переборку 112в, как в многоканальном насосе по первому предпочтительному варианту. В ином случае каналы 112г могут быть устроены таким образом, что соседние каналы имеют общую переборку 112в, чтобы коаксиально интегрировать все каналы. Предпочтительно, чтобы количество каналов 112г соответствовало количеству зондов 41, через которые выпускается краска, независимо от того, являются ли каналы 112г раздельными или объединенными. В верхней части корпуса 112у выполнено впускное отверстие 112а, а в нижней части корпуса 112л – выпускные отверстия 112б, количество которых соответствует количеству зондов 41. Во внешнем корпусе 111, в котором имеются внутренний корпус 112у и 112л, предусмотрено впускное отверстие 111а, соответствующее впускному отверстию 112а в верхней части корпуса 112у, и выпускные отверстия 111б, соответствующие выпускным отверстиям 112б в нижней части корпуса 112л. На внешней поверхности внешнего корпуса 111 прикреплены скобы, которые служат опорой для упругих каналов. Каждый из насосных элементов 113 включает рабочие роторы 113а, насаженные на один вал. Насосные элементы 113 ротационно установлены во внутреннем корпусе 112у и 112л, как в насосе 80 в первой предпочтительной конструкции настоящего изобретения. Однако насосные элементы 113 не соединены с электромотором 60, поэтому аксиальная сила с электромотора 60 на них не передается. Насосные элементы активируют за счет давления краски, выпускаемой насосом.
Как показано на Фиг.18-23, вместо многоканальной насосной системы, показанной на Фиг.1-3, применяют одноканальную насосную систему. Распылительные клапаны 140 формируют на модуле головки 30′ устройства для окрашивания волос. Можно устанавливать распылительные клапаны 140 в требуемых позициях на гидравлической цепи. Распылительные клапаны 140 функционируют как переходники на многоканальный насос 80. Следовательно, даже при наличии сопротивления в канале, возникающего в любом из зондов 41, насосные элементы в остальных каналах служат двигателем для усиления напора в потоке канала с сопротивлением, равномерно распределяя расход краски. Таким образом, краски, выкачиваемые отдельным одиночным насосом, равномерно распределяют силовым воздействием, когда они проходят через многоканальные распылительные клапаны 140.
Поскольку устройство для окрашивания волос оснащено распылительными клапанами 140, конструкция насоса 80 упрощена и имеет форму одиночного насоса. Распылительные клапаны 140 и одиночный насос совместно выполняют ту же самую функцию, что и многоканальный насос. Можно применять трохоидный, ротационный или любой другой насос. Однако с учетом конфигурации устройства для окрашивания волос, основным условием которой является небольшой размер, преимущественно применяется система шестеренного насоса.
При сборке устройства для окрашивания волос в соответствии с настоящим изобретением к впускному отверстию 111а внешнего корпуса 111 присоединяют упругий канал потока (трубку) насоса 80, а к выпускным отверстиям 111б внешнего корпуса 111 присоединяют верхние концы каналов в зондах 41.
На Фиг.23 показана схема гидравлической цепи устройства для окрашивания волос согласно второму предпочтительному варианту, аналогично Фиг.17. Как проиллюстрировано на Фиг.23, распылительные клапаны 140 расположены между насосами 80 и блоком гребня 40. Однако следует отметить, что наличие распылительных клапанов 140 необязательно. В случае, если каждый насос 80 – многоканальный, можно применять конструкцию, как показано на Фиг.17.
Модуль головки 30′, показанный на Фиг.18, имеет квадратную форму, а модуль головки 30, изображенный на Фиг.1-3, имеет круглую форму. К основному корпусу 20 или к модулю головки 30 или 30′ присоединяют контейнеры различной формы, независимо от формы модуля головки 30 или 30′ устройства для окрашивания волос.
Несмотря на то, что в целях наглядности были представлены предпочтительные варианты воплощения настоящего изобретения, специалисту в данной области техники будут очевидны возможности использования различных модификаций, дополнений и заменяющих деталей без отступления от области применения и сущности изобретения, представленной в пунктах формулы. Как следует из вышеприведенного описания, настоящее изобретение предусматривает устройство для окрашивания волос, которое отвечает цели легкого использования всех типов съемных контейнеров для краски. При этом выбор нужных красок осуществляется просто и удобно для пользователя (включая обесцвечивающие вещества, стабилизаторы, разбавители или красящие агенты) в процессе окрашивания волос, например, наращенных, окрашенных, мелированных, обесцвеченных волос или перманентно окрашенных волос, волос с кратковременным окрашиванием. С помощью регуляторов мощности и скорости можно контролировать скорость подачи краски и красящих компонентов. Устройство равномерно распределяет краски, выкачиваемые насосами через каналы потоков, которые находятся в зондах.
С помощью данного изобретения краски могут извлекаться из контейнеров в желаемом количестве, легко и удобно добавляться, когда волосы уже окрашиваются, а забившиеся каналы в зондах легко промываются. При этом краска не пачкает кожу пользователя, а глаза пользователя надежно защищены от попадания краски.
Устройство для окрашивания волос, выполненное в соответствии с настоящим изобретением, может использоваться как рядовыми потребителями, так и профессионалами, а также использоваться в качестве удобной сушилки для волос (обычного фена). Таким образом, настоящее устройство для окрашивания волос отвечает не только специфическим, но и рядовым требованиям.
Формула изобретения
1. Устройство для окрашивания волос, выполненное с возможностью выпуска краски при помощи электропривода, отличающееся тем, что оно содержит основной корпус с электромотором, источник питания, выключатель и отверстие, устроенное с возможностью присоединения через него, по крайней мере, одного из контейнеров для краски к основному корпусу; гребень, присоединенный к основному корпусу и оснащенный несколькими зондами, в каждом из которых предусмотрен, по крайней мере, один выводной канал; по крайней мере, один насос, присоединенный к электромотору для подачи краски в зонды гребня; причем выводные каналы выполнены с возможностью поступления по ним подаваемой насосом краски в соответствующие зонды.
2. Устройство по п.1, отличающееся тем, что блок гребня шарнирно присоединен к одному концу основного корпуса.
3. Устройство по п.1, отличающееся тем, что каждый из зондов, выполненных в блоке гребня, оснащен внутренними каналами в количестве от одного до восьми.
4. Устройство по п.1, отличающееся тем, насос выполнен многоканальным, с несколькими установленными коаксиально насосными элементами, разделенными переборками, при этом количество насосных элементов соответствует количеству зондов с выводными каналами.
5. Устройство по п.1, отличающееся тем, что оно снабжено клапанами, расположенными между насосом и блоком гребня для обеспечения выхода краски через каждый из каналов с ее одновременным смешиванием с другой краской, либо отсутствием такого смешивания, в зависимости от выбранного положения клапана.
6. Устройство по п.1, отличающееся тем, что оно снабжено промежуточной пластиной, присоединенной к отверстию основного корпуса, для обеспечения легкой замены контейнера для краски, независимо от размера отверстия контейнера для краски.
7. Устройство по п.1, отличающееся тем, что оно снабжено распылительными клапанами, расположенными между насосом и блоком гребня для равномерного распределения краски, подаваемой насосом, причем каждый из таких распылительных клапанов оснащен несколькими роторами на одном и том же валу.
Приоритет по всем пунктам – 25.07.2002.
РИСУНКИ
MM4A – Досрочное прекращение действия патента СССР или патента Российской Федерации на изобретение из-за неуплаты в установленный срок пошлины за поддержание патента в силе
Дата прекращения действия патента: 24.07.2009
Извещение опубликовано: 20.08.2010 БИ: 23/2010
|
|