|
|
(21), (22) Заявка: 2005105294/12, 28.02.2005
(24) Дата начала отсчета срока действия патента:
28.02.2005
(43) Дата публикации заявки: 10.08.2006
(46) Опубликовано: 20.03.2007
(56) Список документов, цитированных в отчете о поиске:
RU 2005370 C1, 15.01.1994. SU 812592 A2, 15.03.1981. SU 991964 A1, 30.01.1983. US 3190026 A, 22.06.1965. US 3230655 A, 25.01.1966. US 3966151 A, 29.06.1976.
Адрес для переписки:
390039, г.Рязань, ул. Бирюзова, 30, корп.1, кв.303, Л.А. Волкову
|
(72) Автор(ы):
Волков Лев Алексеевич (RU)
(73) Патентообладатель(и):
Волков Лев Алексеевич (RU)
|
(54) ЗИМНЯЯ ЖЕРЛИЦА ВОЛКОВА
(57) Реферат:
Изобретение относится к устройствам для спортивной и любительской ловли рыбы, а именно к зимним жерлицам. Жерлица включает подставку в виде пластины с отверстием, прорезь для размещения лесы оснастки и вставленный в отверстие стержень-сигнализатор, выполненный с возможностью изменения соотношения его плеч после установки жерлицы на ребро подставки. Стержень-сигнализатор имеет конусную форму или цилиндрическую с буртиком для ограничения его западания в отверстие подставки после поклевки, а один конец стержня-сигнализатора выполнен в виде мотовильца для размещения регулируемой части лесы оснастки. Обеспечивается упрощение конструкции и удешевление изготовления зимних жерлиц при сохранении их основных функций. 1 ил.
Изобретение относится к устройствам для спортивной и любительской ловли рыбы.
Из уровня техники известны конструкции зимних жерлиц, которые конструктивно сложны, имеют в своем устройстве крепежные, в том числе металлические детали, и поэтому дороги в изготовлении. Их конструкция не предусматривает настройки на крупного живца, в результате чего неизбежны ложные срабатывания. Кроме этого отсутствует возможность регулировки расстояния отпуска хищной рыбы после поклевки, что позволяет ей запутывать снасть в корягах, камыше и других местных предметах, а это приводит к потере снасти. Эти недостатки устраняет предлагаемая конструкция жерлицы.
Техническим результатом изобретения является существенное упрощение конструкции жерлицы за счет отсутствия крепежных деталей, что удешевляет ее изготовление и, кроме того, позволяет получить дополнительные возможности, а именно:
– использовать живцов в широком диапазоне их размеров;
– позволяет регулировать расстояния отпуска хищной рыбы после поклевки в зависимости от расположения растительности на водоеме и местных предметов, за которые может произойти зацеп.
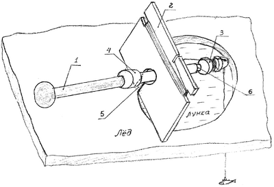
Технический результат достигается тем, что в качестве сигнализирующего устройства применяется стержень-сигнализатор, который вставляют в отверстие подставки, представляющей собой пластину с пазами для размещения лесы оснастки. Один конец стержня-сигнализатора выполнен в виде мотовильца, другой конец, окрашенный в контрастный цвет, служит сигнализатором поклевки. Стержень-сигнализатор имеет конусную форму или ограничительный буртик. На чертеже изображена конструкция жерлицы, где:
1 – стержень-сигнализатор;
2 – подставка с отверстием и пазами;
3 – мотовильце;
4 – буртик ограничительный;
5 – отверстие;
6 – пазы для сочленения стержня-сигнализатора и подставки;
7 – прорезь.
При подготовке жерлицы к работе, из пазов подставки, на которой размещается леса оснастки, отматывают часть лесы в зависимости от горизонта установки живца, за тем еще часть лесы, которая будет соответствовать расстоянию до местных предметов. Эту часть лесы размещают на мотовильце стержня-сигнализатора.
Чуткую настройку жерлицы под конкретного живца, применяемого в качестве приманки, осуществляют изменением соотношения плеч стержня-сигнализатора (принцип безмена) после установки жерлицы на ребро подставки над лункой и опускания в нее живца, насаженного на крючок оснастки. Затем лесу заправляют в прорези подставки и мотовильца как показано на чертеже. При поклевке подставка в результате потяжки поворачивается плоскостью к лунке, стержень-сигнализатор глубже западает в отверстие подставки до ограничительного буртика, тем самым принимая устойчивое, близкое к вертикальному положение и сигнализируя о поклевке. Подсекают при поклевке как обычно, убирая подставку с лунки. При недосмотре возможна самозасечка за счет пружинящих свойств подставки и лесы.
В качестве материала для изготовления подставки может быть использовано дерево, в частности 3-5-слойная фанера или листовая пластмасса.
Стержень-сигнализатор может быть изготовлен из дерева режущим инструментом на токарном станке или литьем из пластмассы.
Оптимальные размеры:
– стержень-сигнализатор 10-15 мм в диаметре, длиной 300 мм;
– подставка размером 200×120 мм, толщиной 5 мм.
Формула изобретения
Зимняя жерлица, включающая подставку в виде пластины с отверстием, прорезь для размещения лесы оснастки и вставленный в отверстие стержень-сигнализатор, выполненный с возможностью изменения соотношения его плеч после установки жерлицы на ребро подставки, при этом стержень-сигнализатор имеет конусную форму или цилиндрическую с буртиком для ограничения его западания в отверстие подставки после поклевки, а один конец стержня-сигнализатора выполнен в виде мотовильца для размещения регулируемой части лесы оснастки.
РИСУНКИ
|
|