|
|
(21), (22) Заявка: 2005121581/12, 08.07.2005
(24) Дата начала отсчета срока действия патента:
08.07.2005
(46) Опубликовано: 20.03.2007
(56) Список документов, цитированных в отчете о поиске:
RU 2129358 C1, 27.04.1999. RU 2236113 C1, 20.09.2004. SU 635920 А, 15.12.1978. SU 422382 А, 20.01.1975. SU 352632 А, 23.10.1972. US 6840854 В2, 11.01.2005. US 5232405 A, 03.08.1993. US 3717062 A, 20.02.1973. DE 10256744 А1, 17.06.2004.
Адрес для переписки:
656002, г.Барнаул, ул. Северо-Западная, 2, ОАО “АНИТИМ”
|
(72) Автор(ы):
Квашнин Эдуард Михайлович (RU), Трофимов Петр Федорович (RU), Бедарев Михаил Викторович (RU)
(73) Патентообладатель(и):
Открытое акционерное общество “Алтайский научно-исследовательский институт технологии машиностроения” (RU)
|
(54) ИЗМЕЛЬЧИТЕЛЬ СОЛОМЫ ДЛЯ ЗЕРНОУБОРОЧНОГО КОМБАЙНА
(57) Реферат:
Изобретение относится к сельскохозяйственному машиностроению и может быть использовано в зерноуборочных комбайнах. Измельчитель включает корпус с установленным в нем с возможностью вращения валом с режущими ножами. На корпусе закреплены рассеиватель соломы с направляющими пластинами и противорежущие ножи, взаимодействующие с режущими ножами. Направляющие пластины рассеивателя соломы выполнены прямыми или изогнутыми влево от направления движения комбайна. Режущие ножи выполнены в виде спрофилированных пластин с упрочнением их рабочих кромок по одной из сторон кромки, что увеличивает срок службы ножей. Неупрочненная сторона рабочей кромки быстрее изнашивается, создавая эффект самозатачивания и улучшая качество измельчения. 1 з.п. ф-лы, 3 ил.
Изобретение относится к сельскохозяйственному машиностроению, а именно к измельчающим аппаратам зерноуборочных комбайнов.
Известен измельчитель соломы для зерноуборочного комбайна, включающий корпус, с размещенным внутри валом, с закрепленными на нем режущими ножами, взаимодействующими с противорежущими ножами, установленными в корпусе. (Патент РФ № 2219699, А 01 F 12/40 от 19.09.2001, опубл. Бюл. № 36 от 27.12.2003).
Недостатком данного измельчителя является короткий срок работы ножей, которые после 2-3 заточек приобретают клиновидность, что сказывается на качестве измельчения. Такие ножи подлежат замене, что снижает производительность при измельчении и разбрасывании соломы.
Известен измельчитель соломы для зерноуборочного комбайна, включающий корпус с установленным в нем валом, причем вал установлен с возможностью вращения и с закрепленными на нем режущим ножами, взаимодействующими с противорежущими ножами, закрепленными на корпусе. Кроме того, на корпусе закреплен рассеиватель соломы с установленными на нем направляющими пластинами (патент РФ № 2129358, А 01 F 12/40 от 05.01.98, опубл. 27.04.99 – прототип).
Недостатком данного измельчителя является короткий срок работы ножей, которые после 2-3-х заточек приобретают клиновидность, что сказывается на качестве измельчения.
Такие ножи подлежат замене, что приводит к простою комбайна.
Кроме того, направляющие пластины рассеиватели соломы изогнуты в разные стороны, что приводит к расстиланию измельченной соломы по неубранному полю, особенно при боковом ветре, дующем справа от направления движения комбайна, а это затруднят косовицу и обмолот хлебов.
Задачей изобретения является увеличение срока службы ножей, повышение качества измельчения соломы, исключение простоев комбайна из-за замены ножей, исключение расстилания измельченной соломы по неубранному полю, особенно при боковом ветре, дующем справа от направления движения комбайна.
Поставленная задача решается измельчителем соломы для зерноуборочного комбайна, включающего корпус с установленным в нем валом, причем вал установлен с возможностью вращения и с закрепленными на нем режущими ножами, взаимодействующими с противорежущими ножами, закрепленными на корпусе, кроме того, на корпусе закреплен рассеиватель соломы с установленными на нем направляющими пластинами, по изобретению, ножи выполнены в виде спрофилированных пластин, а направляющие пластины рассеивателя соломы выполнены прямыми или изогнутыми влево от направления движения комбайна.
Измельчитель соломы зерноуборочного комбайна выполнен так, что рабочие кромки ножей упрочены, например, электроискровым легированием.
Анализ предложенного решения с прототипом позволил выделить признаки, отличающие предложенное решение от прототипа, что соответствует критерию “новизна”.
Сравнительный анализ предложенного решения с известными не выявил решений, признаки которых совпадают с отличительными признаками предложенного решения, что соответствуют критерию “изобретательский уровень”.
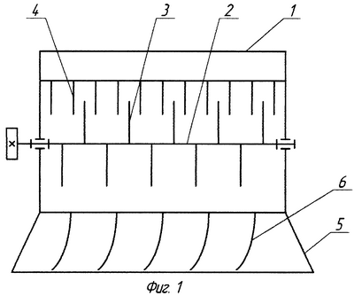
Изобретения поясняется чертежами, где на фиг.1 изображен схематически чертеж общего вида измельчителя соломы для зерноуборочного комбайна, на фиг.2 – чертеж ножа, на фиг.3 – кромка ножа рабочая.
Измельчитель соломы для зерноуборочного комбайна состоит из корпуса (фиг.1). В корпусе 1 установлен с возможностью вращения (например от вариатора комбайна) вал 2. На валу 2 закреплены режущие ножи 3, которые взаимодействуют с противорежущими ножами 4, закрепленными на корпусе 1. На корпусе, кроме того, закреплен рассеиватель соломы 5 с установленными на нем направляющими пластинами 6. Режущие 3 и противорежущие ножи 4 выполнены в виде спрофилированных (выполненных в виде буквы С) пластин (фиг.2).
Направляющие пластины 6 рассеивателя соломы 5 выполнены прямыми или изогнутыми влево от направления движения комбайна.
Рабочие кромки 7 ножей 3 и 4 упрочнены, например, электроискровым легированием (фиг.3) по одной из сторон кромки. Это делается в целях обеспечения остроты режущей кромки. Упрочненная сторона (с помощью электроискрового легирования или электродуговой наплавки твердого сплава, либо оксикарбонитрация и т.д.) создает прочную к износу поверхность (толщиной 0,2-0,25 мм), в то же время неупрочненная сторона рабочей кромки 7 быстрее изнашивается, создавая эффект самозатачивания. Срок службы ножей возрастает многократно. Кроме того, при износе одной стороны ножа он устанавливается другой стороной (кромкой 7), что значительно увеличивает срок службы и качество измельчения.
Измельчитель соломы для зерноуборочного комбайна работает следующим образом.
Измельчитель корпусом 1 крепится на место копнителя к комбайну (на чертеже не показан). Вал 2 измельчителя при помощи, например, шкива, закрепленнного на нем, и ремня соединяется приводными шкивами (на чертеже не показаны) с вариатором комбайна. Измельчитель готов к работе. При движении комбайна солома с клавиш соломотряса комбайна поступает к режущим 3 ножам измельчителя, которые за счет вращения вала 2 прижимают ее к противорежущим ножам 4, закрепленным на корпусе 1 жестко. Происходит разрезание (расщепление) соломы. Разрезанная солома поступает на рассеиватель соломы 5 и направляющими пластинами 6 рассеивается по полю. При этом даже при сильном ветре, дающем справа от направления движения комбайна, измельченная солома не попадет на неубранное поле, так как направляющие пластины направляют ее прямо или влево (на встречу ветру) от направления движения комбайна. При работе измельчителя рабочие кромки 7 ножей 3 и 4 за счет неравномерного износа самозатачиваются, что повышает срок службы их (без заточки) и качество измельчения.
При необходимости расстилания соломы без измельчения в корпусе 1 в противоположной стенке от места крепления к комбайну (на чертеже не показана) выполняется окно (на чертеже не показано), а режущие и противорежущие ножи закрываются кожухом-шторкой (на чертеже не показано). Тогда солома с соломотряса комбайна поступит в окно и будет в виде валка расстилаться по полю.
Такое выполнение измельчителя еще больше расширяет технологическое применение его.
Таким образом, предложенный измельчитель повышает качество измельчения при увеличении срока службы ножей, исключает расстилание соломы по неубранному полю.
Формула изобретения
1. Измельчитель соломы для зерноуборочного комбайна, включающий корпус с установленным в нем с возможностью вращения валом с режущими ножами, взаимодействующими с закрепленными на корпусе противорежущими ножами, и закрепленный на корпусе рассеиватель соломы с установленными на нем направляющими пластинами, отличающийся тем, что ножи выполнены виде спрофилированных пластин, рабочие кромки ножей упрочнены по одной из сторон кромки, а направляющие пластины рассеивателя соломы выполнены прямыми или изогнутыми влево от направления движения комбайна.
2. Измельчитель по п.1, отличающийся тем, что упрочнение рабочих кромок ножей выполнено электроискровым легированием.
РИСУНКИ
MM4A – Досрочное прекращение действия патента СССР или патента Российской Федерации на изобретение из-за неуплаты в установленный срок пошлины за поддержание патента в силе
Дата прекращения действия патента: 09.07.2008
Извещение опубликовано: 20.06.2010 БИ: 17/2010
|
|