|
|
(21), (22) Заявка: 2002121062/12, 08.08.2002
(24) Дата начала отсчета срока действия патента:
08.08.2002
(30) Конвенционный приоритет:
10.08.2001 (пп.1-19) DE 10139539.6
(43) Дата публикации заявки: 27.02.2004
(46) Опубликовано: 20.03.2007
(56) Список документов, цитированных в отчете о поиске:
US 5334093 A, 02.08.1994. RU 2201065 C2, 24.11.1999. SU 1195945 A, 07.12.1985. SU 1634166 A1, 15.03.1991. SU 1391533 A1, 30.04.1988. SU 727177 A, 25.04.1980. DE 19722079 A1, 03.12.1998. US 4475561 A, 09.10.1984.
Адрес для переписки:
191186, Санкт-Петербург, а/я 230, “АРС-ПАТЕНТ”, пат.пов. В.М.Рыбакову, рег. № 90
|
(72) Автор(ы):
ШВЕРСМАНН Бертольд (DE), ГОГОЛИН Грегор (DE)
(73) Патентообладатель(и):
КЛААС Зельбстфаренде Эрнтемашинен ГмбХ (DE)
|
(54) СЕЛЬСКОХОЗЯЙСТВЕННАЯ УБОРОЧНАЯ МАШИНА
(57) Реферат:
Изобретение относится к сельскохозяйственному машиностроению и может быть использовано в устройствах для отделения и сепарации растительных примесей из сельскохозяйственной убранной массы. Отделение растительных примесей и предварительная сепарация осуществляются в образованной молотильными органами области обмолота, за которой расположена по меньшей мере одна область сепарации для разделения и сепарации растительных примесей. Область сепарации образована по меньшей мере одним сепарирующим ротором, окруженным по меньшей мере одним сепарирующим поддоном. Начальная область сепарации поддона выполнена с возможностью смещения в осевом направлении по меньшей мере одного осевого сепарирующего ротора, что обеспечивает начало сепарации, когда соответствующая увеличенная доля зерна находится во внешней области проходящего потока убранной массы и соответствует низкому содержанию примесей в убранной массе после ее сепарации в осевом сепарирующем роторе. 18 з.п. ф-лы, 6 ил.
Область техники, к которой относится изобретение
Настоящее изобретение относится к сельскохозяйственной уборочной машине, оснащенной средствами для отделения и сепарации соплодий из убранной массы в соответствии с ограничительной частью пункта 1 формулы изобретения.
Уровень техники
Сельскохозяйственная уборочная машина указанного типа раскрыта в патентном документе ЕР 0591688. В этой машине вслед за однобарабанным или многобарабанным молотильным аппаратом установлены один или два так называемых осевых сепарирующих ротора, ориентированных в продольном направлении комбайна. Каждый из осевых сепарирующих роторов содержит установленный внутри вращающийся ротор, который снабжен на своей окружной поверхности захватными элементами любого типа и взаимодействует с сепарирующим решетом, которое неподвижно установлено по меньшей мере в нижней области ротора и по меньшей мере частично охватывает его. Сверху ротор закрыт кожухом таким образом, что между ротором, сепарирующим решетом и указанным кожухом образован проходной зазор, по которому убранная масса транспортируется через осевой сепарирующий ротор по винтовым траекториям вдоль оси ротора. Во время этого процесса транспортирования происходит разделение продвигаемой через осевой сепарирующий ротор смеси зерна с соломой, причем через выполненные в сепарирующем решете отверстия отделяется зерно, а также в значительной мере мелкая солома и полова. Значительная часть мелкой соломы и половы, то есть так называемых примесей, отделяется прежде всего в передней части осевого сепарирующего ротора, так как находящееся в потоке зерно вначале должно быть смещено действием центробежных сил во внешнюю область потока до того, как оно может быть отделено в области сепарирующего решета. Повышенное содержание примесей требует интенсивной очистки прошедшей сепарацию смеси в предназначенных для данной цели очистных системах, которые расположены в сельскохозяйственной машине вслед за осевым сепарирующим ротором. Иногда содержание примесей бывает настолько высоким, что очистная система сельскохозяйственной машины не в состоянии обеспечить требуемую чистоту убранной массы, так что требуется ее последующая очистка в стационарном очистном устройстве. Это ведет к повышенным затратам, увеличивающим себестоимость способа уборки.
Далее, из патента США №4869272 известен так называемый зерноуборочный комбайн с осевым прохождением потока убранной массы. Осевой молотильный и сепарирующий ротор также содержит установленный внутри ротор, вращающийся вокруг продольной оси. В отличие от устройства по ЕР 0591688 в данной машине ротор выполняет функцию как обмолота, так и отделения соплодий из проходящей через ротор убранной массы. Для этого передняя область ротора выполнена в виде так называемой области обмолота, а примыкающая к ней задняя область ротора – в виде так называемой области сепарации. Как область обмолота, так и область сепарации сверху закрыты кожухом, который в нижней части ротора переходит, соответственно, в молотильные подбарабанья и сепарирующие решета, через которые также сепарируется смесь зерна с соломой. В данном случае в начале области сепарации также имеет место тот эффект, что находящееся в потоке зерно вначале должно быть смещено во внешнюю область движущегося по винтовой траектории потока до того, как оно может пройти через отверстия сепарирующего решета. Таким образом, в зерноуборочных комбайнах с осевым прохождением потока в начале области сепарации вместе с зерном также сепарируется повышенная доля примесей, что ведет к перегрузке последующих очистных органов.
Сущность изобретения
Задача, на решение которой направлено настоящее изобретение, заключается в усовершенствовании сельскохозяйственной уборочной машины с целью устранения указанных недостатков известных решений уровня техники и снижения содержания примесей в убранной массе, прошедшей сепарацию в области сепарации.
В соответствии с изобретением решение поставленной задачи достигается в сельскохозяйственной уборочной машине для высвобождения и сепарации соплодий из сельскохозяйственной убранной массы и сепарации соплодий из убранной массы, причем по меньшей мере высвобождение соплодий из убранной массы и частичная предварительная сепарация осуществляются в образованной молотильными органами области обмолота, за которой следует по меньшей мере одна область сепарации для разделения смеси и сепарации соплодий. Согласно изобретению область сепарации образована по меньшей мере одним осевым сепарирующим ротором, причем по меньшей мере один сепарирующий ротор окружен по меньшей мере одним сепарирующим поддоном, начальная область сепарации которого выполнена с возможностью смещения в осевом направлении по меньшей мере одного осевого сепарирующего ротора.
За счет того, что осевой сепарирующий ротор оснащен сепарирующим поддоном, начальная область сепарации которого выполнена с возможностью смещения в осевом направлении по меньшей мере одного осевого сепарирующего ротора, обеспечивается начало сепарации только тогда, когда соответствующая увеличенная доля зерна находится во внешней области проходящего потока убранной массы, что обеспечивает низкое содержание примесей в убранной массе после ее сепарации в осевом сепарирующем роторе.
В простейшем случае смещение начальной области сепарации по меньшей мере одного осевого сепарирующего ротора осуществляется посредством по меньшей мере частичного закрытия сепарирующего поддона.
Особенно эффективное действие изобретения обеспечивается в том случае, когда тангенциальный молотильный аппарат образует область обмолота, а область сепарации образована по меньшей мере одним осевым сепарирующим ротором, причем следующий за тангенциальным молотильным аппаратом осевой молотильный и сепарирующий ротор образует область обмолота и область сепарации, а по меньшей мере один осевой сепарирующий ротор образует область сепарации.
Предпочтительно, чтобы сепарирующий поддон, по меньшей мере частично окружающий по меньшей мере один осевой сепарирующий ротор, был выполнен секционным в осевом направлении по меньшей мере одного осевого сепарирующего ротора. При этом по меньшей мере часть секций сепарирующего поддона выполнена с возможностью последовательного закрытия друг за другом, начиная с области входа убранной массы, и последовательного открытия в обратном порядке. Для этого сепарирующий поддон должен быть выполнен так, что закрытие секций начинается всегда с секции, расположенной у впускной области по меньшей мере одного осевого сепарирующего ротора.
В следующем оптимальном примере выполнения для сепарирующего поддона в окружном направлении по меньшей мере одного осевого сепарирующего ротора могут быть предусмотрены несколько расположенных рядом друг с другом поворотных заслонок, причем указанные заслонки в своем закрытом положении по существу полностью закрывают перекрываемую заслонками область сепарирующего поддона. За счет этого обеспечивается небольшая потребность в конструктивном пространстве для поворота отдельных заслонок между открытым и закрытым положениями.
В следующем оптимальном примере выполнения в осевом направлении по меньшей мере одного осевого сепарирующего ротора расположены несколько поворотных заслонок, причем за каждой из этих поворотных заслонок в окружном направлении по меньшей мере одного осевого сепарирующего ротора расположены несколько следующих друг за другом соседних поворотных заслонок, при этом указанные заслонки в своем закрытом положении по существу полностью закрывают перекрываемую заслонками область сепарирующего поддона.
Для упрощения перемещения заслонок заслонки, расположенные рядом друг с другом в окружном направлении по меньшей мере одного осевого сепарирующего ротора, связаны между собой с возможностью поворота посредством соединительного звена, так что все связанные друг с другом заслонки одновременно поворачиваются посредством одной операции регулирования.
В предпочтительном варианте поворотное движение нескольких заслонок, расположенных друг за другом в окружном направлении по меньшей мере одного осевого сепарирующего ротора, осуществляется с помощью по меньшей мере одного механизма поворота и взаимосвязано так, что заслонки закрывают сепарирующий поддон последовательно, начиная с переднего конца по меньшей мере одного осевого сепарирующего ротора, и вновь открывают его в обратном порядке.
Соединительные звенья заслонок, расположенных рядом друг с другом в окружном направлении по меньшей мере одного осевого сепарирующего ротора, предпочтительно направляются в направляющих прорезях механизма поворота, при этом за счет смещения направляющих прорезей механизма поворота обеспечивается поворотное движение соединительных звеньев в окружном направлении по меньшей мере одного осевого сепарирующего ротора и, вследствие этого, поворот соответствующих связанных с ними заслонок из закрытого положения в открытое положение и наоборот. Направляющие прорези могут быть расположены с возможностью поворота вокруг оси, проходящей в осевом направлении по меньшей мере одного осевого сепарирующего ротора, при этом форма направляющих прорезей также обеспечивает предусмотренную изобретением последовательность открытия и закрытия заслонок. Такое расположение направляющих прорезей позволяет значительно снизить величину хода регулирования и сократить требуемое конструктивное пространство.
Направляющие прорези предпочтительно связаны посредством по меньшей мере одной тяги по меньшей мере с одним регулировочным средством, причем регулировочное средство предназначено для смещения направляющих прорезей в осевом направлении по меньшей мере одного осевого сепарирующего ротора.
Кроме того, соединительные звенья заслонок, расположенных рядом друг с другом в окружном направлении по меньшей мере одного осевого сепарирующего ротора, направляются в направляющих прорезях соединительного механизма, при этом направляющие прорези расположены с возможностью поворота вокруг оси, проходящей в осевом направлении по меньшей мере одного осевого сепарирующего ротора, и во время поворота направляющих прорезей заслонки поворачиваются из закрытого положения в открытое положение и наоборот.
Предпочтительно, чтобы для каждого соединительного звена было предусмотрено независимое регулировочное средство, выполненное с возможностью регулирования любым образом для получения возможностей более гибкого регулирования.
В том случае, когда сельскохозяйственная уборочная машина оснащена по меньшей мере двумя осевыми сепарирующими роторами, регулировочное средство или средства и связанный с ними соединительный механизм или механизмы могут быть простым конструктивным образом расположены в пространстве между этими осевыми сепарирующими роторами, что существенно снижает их загрязнение абразивными частицами в рабочей области. Другими словами, по меньшей мере один первый осевой сепарирующий ротор и по меньшей мере один дополнительный осевой сепарирующий ротор расположены рядом друг с другом, а соединительный механизм заслонок расположен в области между осевыми сепарирующими роторами.
Для того, чтобы открытые заслонки не мешали проходу убранной массы из сепарирующего поддона, в следующем оптимальном примере выполнения заслонки, расположенные рядом друг с другом в окружном направлении по меньшей мере одного осевого сепарирующего ротора, в своем открытом положении открывают проходную область, сечение которой увеличивается в радиальном направлении, т.е. имеет вид воронки.
Поскольку отсеивание примесей в большой степени зависит от свойств убранной массы, таких как влажность, ломкость, размер зерен, может оказаться целесообразной возможность смещения начальной области сепарации в зависимости от содержания примесей в потоке убранной массы в этой начальной области. Поэтому сепарирующий поддон может быть выполнен с возможностью смещения начальной области сепарации в зависимости от повышения или снижения содержания примесей в потоке убранной массы, прошедшем через сепарирующий поддон.
Особенно оптимальный вариант осуществления изобретения достигается в том случае, когда смещение начальной области сепарации в зависимости от содержания примесей производится автоматически, при этом содержание примесей определяется с помощью известных датчиков, а с помощью устройства обработки данных и управления генерируется регулировочный сигнал, который открывает или закрывает заслонки предусмотренным в изобретении образом. Для этого в машине предусмотрены датчики для восприятия содержания примесей в прошедшем сепарацию на сепарирующем поддоне потоке убранной массы, причем сигнал датчиков генерирует в устройстве управления выходной сигнал для автоматической регулировки начальной области сепарации сепарирующего поддона.
Перечень фигур чертежей
Примеры осуществления настоящего изобретения будут подробнее описаны ниже со ссылками на прилагаемые чертежи, на которых:
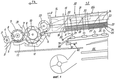
фиг.1 схематично изображает на виде сбоку зерноуборочный комбайн с тангенциальным молотильным аппаратом и осевым сепарирующим ротором,
фиг.2 изображает на виде в разрезе по линии II-II на фиг.1 заслонки в открытом положении,
фиг.3 изображает на виде в разрезе по линии II-II на фиг.1 заслонки в закрытом положении,
фиг.4 изображает более подробно осевой сепарирующий ротор по фиг.1,
фиг.5 схематично изображает на виде сбоку зерноуборочный комбайн с осевым молотильным и сепарирующим ротором,
фиг.6 изображает на виде в разрезе по линии II-II на фиг.1 другой пример выполнения механизма поворота в соответствии с изобретением.
Сведения, подтверждающие возможность осуществления изобретения
На фиг.1 схематично представлена часть выполненной в виде зерноуборочного комбайна 1 сельскохозяйственной уборочной машины 2, которая в передней по направлению FR движения области оснащена наклонным конвейером 3, движущимся по направлению стрелки 4. Транспортирующие средства 5 наклонного конвейера 3 транспортируют убранную массу 6 к задней части конвейера и передают ее на многобарабанный молотильный аппарат 7. Вращающиеся по стрелке 8 молотильные барабаны 9, 10 захватывают убранную массу 6 и транспортируют ее вдоль молотильных подбарабаньев 11, 12 в задней области многобарабанного молотильного аппарата 7. Подбарабанья 11, 12 могут быть выполнены любым образом и известны сами по себе. В том случае, когда убранная масса представляет собой зерновую культуру, во время этого транспортирования зерна высвобождаются из колосьев, по меньшей мере частично сепарируются на подбарабаньях 11, 12 и направляются к последующим рабочим органам. В задней области молотильного аппарата 7 убранная масса 6 захватывается подающим барабаном 13, который подает ее в приемную область 14 осевого сепарирующего устройства 15, расположенного наклонно к направлению FR движения. В рамках изобретения предусмотрено, что вместо многобарабанного молотильного аппарата 7 может использоваться не представленный здесь однобарабанный молотильный аппарат, а вместо однороторного осевого сепарирующего устройства 15 могут быть установлены двух- или многороторные осевые сепарирующие устройства 15а, 15b по фиг.2.
Каждое осевое сепарирующее устройство 15а, 15b содержит вращающийся в направлении по стрелке 16, 17 осевой сепарирующий ротор 18, оснащенный на своей окружной поверхности 19 захватными элементами 20, которые могут быть выполнены в любом виде и расположены по спирали на окружной поверхности 19. Сверху каждый осевой сепарирующий ротор 18 окружен защитным кожухом 21. На нижних боковых кромках защитных кожухов 21 сформованы монтажные полки 22, разъемно охватывающие рамные конструкции 23, выполненные любым образом. На рамных конструкциях известным образом также разъемно установлены сепарирующие поддоны 25, при этом они известным образом могут состоять из нескольких секций 26-29 (фиг.4). Эти секции 26-29 сепарирующего поддона 25 во взаимодействии с рамными конструкциями 23 образуют сепарирующее решето 30. В сельскохозяйственной машине 2 по фиг.1 многобарабанный молотильный аппарат 7 определяет область 31 обмолота, а осевое сепарирующее устройство 15 определяет область 32 сепарирования.
В соответствии с изобретением для двух передних по направлению FR движения секций 28, 29 сепарирующего поддона предназначены заслонки 33, подробно описанные ниже. Как показано на фиг.2, заслонки 33 секций 28, 29 проходят в окружном направлении охватываемого ими осевого сепарирующего ротора 18. Один конец каждой заслонки укреплен на рамной конструкции 23 сепарирующего решета 30 с возможностью поворота на шарнирной оси 35, причем шарнирные оси 35 ориентированы в осевом направлении 34 осевого сепарирующего ротора 18. Сверху на каждой заслонке 33 сформована запирающая поверхность 36. В противоположной от запирающей поверхности 36 области заслонки 33 установлена другая шарнирная ось 37, также ориентированная в осевом направлении 34 осевого сепарирующего ротора 18. Каждая из этих шарнирных осей 37 секций 28, 29 сепарирующего поддона 25 жестко соединена с дугообразным соединительным звеном 38, причем к указанному дугообразному соединительному звену 38 также жестко прикреплены один или несколько направляющих пальцев 39 (фиг.3).
По меньшей мере две передние по направлению FR движения секции 28, 29 сепарирующего поддона оснащены кроме боковых усиливающих реборд 40 (фиг.4) также средними усиливающими ребордами 41 с направляющими прорезями 42 (фиг.3). В эти направляющие прорези 42 входят направляющие пальцы 39 дугообразного соединительного звена 38, так что соединительное звено 38 может совершать поворотные движения по стрелке 43 вокруг охватываемой им области сепарирующего поддона 25 в зависимости от длины направляющих прорезей 42. Для обеспечения этой возможности на одном конце соединительного звена 38 установлен с возможностью поворота шарнирный палец 44, в простейшем случае шарнирно укрепленный также в вилочной головке 45 (фиг.3 и 4). На обратной пальцу 44 стороне вилочная головка 45 продолжена серьгой 46 в виде стержня, на другом конце которой выполнена шаровая головка 47. Каждая шаровая головка 47 охватывает шарнирный палец 48 с шаровой головкой. На обратном от своей шаровой головки конце каждый шарнирный палец 48 входит в направляющую прорезь 49, 50, причем эти направляющие прорези 49, 50 в простейшем случае выполнены в бортовом листе 51 (фиг.3, 4). На верхней стороне бортового листа 51 образован пояс 52 коробчатого профиля, через который не показанным более подробно образом проходит тяга 53, жестко связанная с этим поясом. Тяга 53 установлена на сельскохозяйственной машине 1 с помощью направляющей опорной втулки 54 известным образом, не описанным более подробно. Своим дальним от бортового листа концом тяга 53 шарнирно соединена пальцем 55 с поворотным рычагом 56, который также шарнирно соединен пальцем 57 с рамной конструкцией 23 сепарирующего поддона 25, в простейшем случае с помощью кронштейна 58. Для осуществления шарнирного поворота поворотного рычага 56 вокруг пальца 57 на кронштейне 58 в представленном примере выполнения поворотный рычаг соединен с поршневым штоком 59 силового цилиндра 60. В рамках изобретения предусмотрено, что вместо силового цилиндра 60 могут использоваться любые регулировочные средства 61, обеспечивающие поворот поворотного рычага 56 вокруг пальца 57 на кронштейне 58.
В показанном на фиг.4 положении поршневой шток 59 силового цилиндра находится во втянутом положении. При этом шарнирно связанный с поршневым штоком поворотный рычаг 56 настолько сместил тягу 53 в направлении заднего конца осевого сепарирующего устройства 15, что входящие в направляющие прорези 49, 50 бортового листа 51 шарнирные пальцы 48 находятся у передних концов этих прорезей по направлению FR движения. В этом положении шарнирные пальцы 48 занимают в вертикальном направлении самое нижнее положение в направляющих прорезях 49, 50. Соответственно, серьги 46, которые соединяют соединительные звенья 38 с направляющими прорезями 49, 50, также занимают наиболее низкое положение по вертикали. Как показано на фиг.3, при этом соединительные звенья 38 удерживаются в таком положении, что их направляющие пальцы 39 прижаты к нижним концам своих направляющих прорезей 42.
Каждое соединительное звено 38 находится в кинематической связи с соответствующими заслонками 33 с помощью шарнирных осей 37, причем каждая шарнирная ось 37 проходит через продольный паз 62 в соединительном звене 38. Это необходимо для того, чтобы при шарнирном повороте соединительных звеньев 38 проходящие через них насквозь шарнирные оси 37 могли компенсировать изменения длины. Когда соединительное звено 38 находится в положении по фиг.3, заслонки 33, связанные шарнирными осями 37 с соединительными звеньями 38, совершили шарнирный поворот вокруг осей 35 шарнирной связи с соответствующей усиливающей ребордой сепарирующего поддона 25 в направлении к сепарирующему поддону 25 и находятся в своем так называемом закрытом положении 63. В этом закрытом положении 63 расположенные рядом друг с другом заслонки повернуты в направлении к сепарирующему поддону 25 настолько, что убранная масса 65, проходящая через ячейки 24 в направлении стрелки 64, не может проходить в этой области к следующему рабочему органу, такому как известный и не описанный здесь подробно очистной рабочий орган 66. Геометрия заслонок 33 рассчитана таким образом, что в закрытом положении 63 между смежными заслонками создаются узкие зазоры, не допускающие сепарирования убранной массы 65. За счет поворота заслонок 33 в закрытое положение 63 в соответствии с изобретением достигается возможность смещения начальной области 67 сепарирования (фиг.4) в осевом направлении 34 по меньшей мере одного осевого сепарирующего ротора 18. Таким образом, в зависимости от числа заслонок, следующих друг за другом в осевом направлении 34 по меньшей мере одного осевого сепарирующего ротора 18, а также при необходимости расположенных за ними в радиальном направлении дополнительных заслонок 33 может предварительно задаваться длина максимальной части сепарирующего поддона 25, которая может быть закрыта заслонками.
Когда в силовой цилиндр 60 (фиг.4) подается давление и поршневой шток 59 выдвигается, тяга 53 смещается к переднему концу осевого сепарирующего устройства 15 под действием связанного с поршневым штоком 59 поворотного рычага 56. В представленном на фиг.4 примере выполнения поворотные заслонки 33 предусмотрены для первой секции 28 и второй секции 29 сепарирующего решета 30, при этом связанные с соединительными звеньями 38 серьги 46 взаимодействуют с направляющими прорезями 49, 50, имеющими различную форму. При движении тяги 53 к переднему концу осевого сепарирующего устройства 15 за счет жесткого соединения бортового листа 51 с тягой 53 эти выполненные в нем направляющие прорези 49, 50 также смещаются в этом направлении. При этом проходящий в задней направляющей прорези 50 шарнирный палец 48 вначале смещается по поднимающемуся вверх участку 68, что вызывает под действием уже описанных соединительного звена 38 и серег 46 поворот соответствующих заслонок 33 из закрытого положения 63 в открытое положение 70 пропуска по фиг.2. В этом открытом положении 70 проходящая через сепарирующий поддон 25 убранная масса 65 может свободно направляться к следующим рабочим органам. В то время, как заслонки 33 задней секции 28 совершают описанный поворот, заслонки 33 передней секции 29 остаются в закрытом положении 63, так как проходящий в передней направляющей прорези 49 и вызывающий смещение заслонок 33 шарнирный палец 48 смещается по горизонтальному участку 69 этой направляющей прорези 49. Таким образом, вначале открываются только заслонки 33 задней секции 28.
Если поршневой шток 59 выдвигается дальше из силового цилиндра 60, шарнирный палец 48, вызывающий поворотное смещение заслонок 33 расположенной спереди секции 29, достигает поднимающегося вверх участка 68 передней направляющей прорези 49, в то время как шарнирный палец 48 задней секции 28 следует по горизонтальному участку 69 задней направляющей прорези 50. Теперь заслонки 33 передней секции 29 описанным выше образом также поворачиваются из закрытого положения 63 в открытое положение 70.
При изменении подачи давления в силовой цилиндр 60 таким образом, что поршневой шток 59 втягивается в цилиндр, заслонки 33 секций 28, 29 поворачиваются в обратном порядке. Вначале происходит поворот заслонок 33 передней по направлению FR движения секции 29 из открытого положения 70 в закрытое положения 63, и только тогда, когда это поворотное движение закончено, заслонки 33 следующей секции 28 также смещаются из открытого положения 70 в закрытое положения 63.
В рамках изобретения предусмотрено, что в отличие от представленного примера выполнения в осевом направлении 34 осевого сепарирующего устройства 15 может быть установлено множество заслонок 33. При этом длины отдельных участков 68, 69 направляющих прорезей 49, 50 должны быть подобраны в соответствии с новыми геометрическими условиями. Кроме того, расположенные в середине соответствующих секций 28, 29 соединительные звенья 38 могут быть также расположены в любом месте в области секций 28, 29 для того, чтобы обеспечить движение заслонок 33 посредством определенного выполнения направляющих прорезей 49, 50.
Далее, в рамках изобретения предусмотрено, что оно может использоваться не только в описанном примере выполнения с многобарабанным молотильным аппаратом 7 и расположенным за ним осевым сепарирующим устройством 15, но также и в осевых молотильных и сепарирующих роторах 71. Такие осевые молотильные и сепарирующие роторы 71 как правило подразделены на область 72 обмолота и область 73 сепарации, которая по конструкции и функционированию в основном соответствует описанной области 32 сепарации осевого сепарирующего устройства 15, так что изобретение может использоваться применительно к осевым молотильным и сепарирующим роторам 71 таким же образом, как и в описанном примере выполнения.
Как это схематично представлено на фиг.6, направляющие прорези 49, 50, которые вызывают поворотное движение заслонок 33, могут быть также выполнены в виде направляющих прорезей 75, огибающих ось 74, проходящую в осевом направлении 34 осевого сепарирующего ротора или сепарирующих роторов 18. При этом проходящие в этих направляющих прорезях 75 шарнирные пальцы 48 через соединительный механизм 76 также передают на соединительные звенья 38 заслонок 33 движение, определяемое направляющими прорезями 75. Такой пример выполнения требует меньшего конструктивного пространства за счет того, что здесь не требуется преобразования линейного движения в поворотное.
В рамках изобретения предусмотрено, что для заслонок 33 секций 28, 29 сепарирующего поддона 25 предназначены отдельные регулировочные средства 61, действие которых может быть скоординировано таким образом, чтобы вначале обеспечивать возможность поворота заслонок 33 начальной области 67 сепарирования в осевом направлении 34 осевого сепарирующего устройства или устройств 15.
Для того чтобы находящиеся в открытом положении 70 заслонки 33 не мешали проходу убранной массы, прошедшей через сепарирующий поддон 25, заслонки 33 выполнены по форме такими, что в открытом положении 70 смежные заслонки 33 открывают между собой проход 77 (фиг.6) в виде воронки, расширяющейся в радиальном направлении наружу от сепарирующего поддона 25.
В другом оптимальном примере выполнения для потока 78 убранной массы, проходящей через сепарирующие поддоны 25, могут быть предусмотрены датчики 79 (фиг.1), которые воспринимают наличие примесей в массе, проходящей через сепарирующий поддон 25, и подают на устройство 81 управления сигнал или сигналы 80 измерений. В устройстве 81 управления в зависимости от входного сигнала 80 генерируется выходной сигнал 82, который вызывает автоматическую перенастройку начальной области 67 сепарации сепарирующего поддона 25. В простейшем случае этот выходной сигнал 82 может управлять подачей давления в регулировочные средства 61, выполненные в виде силового цилиндра 60, так что заслонки 33 автоматически открываются или закрываются в ходе предусмотренного изобретением процесса. При этом управление закрытием или открытием заслонок 33 по существу может осуществляться таким образом, что при повышении содержания примесей в прошедшем через сепарирующий поддон 25 потоке 78 убранной массы закрывается большее число заслонок 33, а при снижении содержания примесей в прошедшем сепарацию потоке 78 убранной массы число открытых заслонок 33 увеличивается.
Формула изобретения
1. Сельскохозяйственная уборочная машина для высвобождения и сепарации соплодий из сельскохозяйственной убранной массы и сепарации соплодий из убранной массы, причем по меньшей мере высвобождение соплодий из убранной массы и частичная предварительная сепарация осуществляется в образованной молотильными органами области обмолота, за которой следует по меньшей мере одна область сепарации для разделения смеси и сепарации соплодий, отличающаяся тем, что область (32, 73) сепарации образована по меньшей мере одним осевым сепарирующим ротором (18, 71), причем по меньшей мере один сепарирующий ротор (18, 71) окружен по меньшей мере одним сепарирующим поддоном (25), начальная область (67) сепарации которого выполнена с возможностью смещения в осевом направлении (34) по меньшей мере одного осевого сепарирующего ротора (18, 71).
2. Машина по п.1, отличающаяся тем, что смещение начальной области (67) сепарации по меньшей мере одного осевого сепарирующего ротора (18, 71) осуществляется посредством по меньшей мере частичного закрытия сепарирующего поддона (25).
3. Машина по п.1, отличающаяся тем, что область (31) обмолота образована тангенциальным молотильным аппаратом (7) и область (32) сепарации образована по меньшей мере одним осевым сепарирующим ротором (18).
4. Машина по п.3, отличающаяся тем, что область (72) обмолота и область (73) сепарации образованы по меньшей мере одним осевым молотильным и сепарирующим ротором (71), при этом область (73) сепарации образована по меньшей мере одним осевым сепарирующим ротором (18).
5. Машина по п.3 или 4, отличающаяся тем, что сепарирующий поддон (25), по меньшей мере частично окружающий по меньшей мере один осевой сепарирующий ротор (18, 71), выполнен секционным в осевом направлении (34) по меньшей мере одного осевого сепарирующего ротора (18, 71).
6. Машина по п.5, отличающаяся тем, что по меньшей мере часть секций (26-29) сепарирующего поддона (25) выполнены с возможностью последовательного закрытия друг за другом и последовательного открытия в обратном порядке.
7. Машина по п.6, отличающаяся тем, что сепарирующий поддон (25) выполнен так, что закрытие секций начинается всегда с секции (29), расположенной у впускной области (14) по меньшей мере одного осевого сепарирующего ротора (18, 71).
8. Машина по п.3 или 4, отличающаяся тем, что для сепарирующего поддона (25) в окружном направлении по меньшей мере одного осевого сепарирующего ротора (18, 71) предусмотрены несколько расположенных рядом друг с другом поворотных заслонок (33), причем указанные заслонки (33) в своем закрытом положении (63) по существу полностью закрывают перекрываемую заслонками (33) область сепарирующего поддона (25).
9. Машина по п.3 или 4, отличающаяся тем, что в осевом направлении (34) по меньшей мере одного осевого сепарирующего ротора (18, 71) расположены несколько поворотных заслонок (33), причем за каждой из этих поворотных заслонок (33) в окружном направлении по меньшей мере одного осевого сепарирующего ротора (18, 71) расположены несколько следующих друг за другом соседних поворотных заслонок (33), при этом указанные заслонки (33) в своем закрытом положении (63) по существу полностью закрывают перекрываемую заслонками (33) область сепарирующего поддона (25).
10. Машина по п.8, отличающаяся тем, что заслонки (33), расположенные рядом друг с другом в окружном направлении по меньшей мере одного осевого сепарирующего ротора (18, 71), связаны между собой с возможностью поворота посредством соединительного звена (38).
11. Машина по п.10, отличающаяся тем, что поворотное движение нескольких заслонок (33), расположенных друг за другом в окружном направлении по меньшей мере одного осевого сепарирующего ротора (18, 71), с помощью по меньшей мере одного механизма (76) поворота взаимосвязано таким образом, что заслонки (33) закрывают сепарирующий поддон (25) последовательно, начиная с переднего конца по меньшей мере одного осевого сепарирующего ротора (18, 71), и вновь открывают его в обратном порядке.
12. Машина по п.10 или 11, отличающаяся тем, что соединительные звенья (38) заслонок (33), расположенных рядом друг с другом в окружном направлении по меньшей мере одного осевого сепарирующего ротора (18, 71), направляются в направляющих прорезях (49, 50) механизма (76) поворота, при этом за счет смещения направляющих прорезей (49, 50) механизма (76) поворота обеспечивается поворотное движение соединительных звеньев (38) в окружном направлении по меньшей мере одного осевого сепарирующего ротора (18, 71) и, вследствие этого, поворот соответствующих связанных с ними заслонок (33) из закрытого положения (63) в открытое положение (70) и наоборот.
13. Машина по п.12, отличающаяся тем, что направляющие прорези (49, 50) связаны посредством по меньшей мере одной тяги (53) по меньшей мере с одним регулировочным средством (60, 61), причем регулировочное средство (60, 61) предназначено для смещения направляющих прорезей (49, 50) в осевом направлении (34) по меньшей мере одного осевого сепарирующего ротора (18, 71).
14. Машина по п.10 или 11, отличающаяся тем, что соединительные звенья (38) заслонок (33), расположенных рядом друг с другом в окружном направлении по меньшей мере одного осевого сепарирующего ротора (18, 71), направляются в направляющих прорезях (75) соединительного механизма (76), при этом направляющие прорези (75) расположены с возможностью поворота вокруг оси (74), проходящей в осевом направлении (34) по меньшей мере одного осевого сепарирующего ротора (18, 71), и во время поворота направляющих прорезей (75) заслонки (33) поворачиваются из закрытого положения (63) в открытое положение (70) и наоборот.
15. Машина по любому из п.10, 11 или 13, отличающаяся тем, что для каждого соединительного звена (38) предусмотрено регулировочное средство (61), выполненное с возможностью регулирования любым образом.
16. Машина по п.12, отличающаяся тем, что по меньшей мере один первый осевой сепарирующий ротор (18, 71) и по меньшей мере один дополнительный осевой сепарирующий ротор (18, 71) расположены рядом друг с другом, а соединительный механизм (76) заслонок (33) расположен в области между осевыми сепарирующими роторами (18, 71).
17. Машина по п.8, отличающаяся тем, что заслонки (33), расположенные рядом друг с другом в окружном направлении по меньшей мере одного осевого сепарирующего ротора (18, 71), в своем открытом положении (63) открывают проходную область (77), сечение которой увеличивается в радиальном направлении.
18. Машина по п.1, отличающаяся тем, что сепарирующий поддон (25) выполнен с возможностью смещения начальной области (67) сепарации в зависимости от повышения или снижения содержания примесей в потоке (78) убранной массы, прошедшем через сепарирующий поддон (25).
19. Машина по п.18, отличающаяся тем, что в ней предусмотрены датчики (79) для восприятия содержания примесей в прошедшем сепарацию на сепарирующем поддоне (25) потоке (78) убранной массы, причем сигнал (80) датчиков (79) генерирует в устройстве (81) управления выходной сигнал (82) для автоматической регулировки начальной области (67) сепарации сепарирующего поддона (25).
РИСУНКИ
|
|