|
|
(21), (22) Заявка: 2004117909/09, 24.10.2002
(24) Дата начала отсчета срока действия патента:
24.10.2002
(30) Конвенционный приоритет:
14.11.2001 ES 200102520
(43) Дата публикации заявки: 10.01.2006
(46) Опубликовано: 10.03.2007
(56) Список документов, цитированных в отчете о поиске:
RU 2077096 C1, 10.04.1997. US 6025982 A, 15.02.2000. US 930448 A, 23.05.1982.
(85) Дата перевода заявки PCT на национальную фазу:
15.06.2004
(86) Заявка PCT:
GB 02/04810 (24.10.2002)
(87) Публикация PCT:
WO 03/043136 (22.05.2003)
Адрес для переписки:
107023, Москва, ул. Б.Семеновская, 49, оф.404, Фирма патентных поверенных ООО “ИННОТЭК”, пат.пов. О.В.Аргасову
|
(72) Автор(ы):
АРИАС Хуан Томас (ES), ХИМЕНО Хосе Висенте (ES)
(73) Патентообладатель(и):
ТАЙКО ЭЛЕКТРОНИКС РЕЙКЕМ, С.А. (ES)
|
(54) МНОГОТЕРМИНАЛЬНЫЙ СОЕДИНИТЕЛЬНЫЙ ПЕЧАТНЫЙ ПРОВОДНИК И СПОСОБ ЕГО ГЕРМЕТИЗАЦИИ
(57) Реферат:
Соединительный печатный проводник (1) предусмотрен с рядом гнезд (2) для аналогичного числа терминалов (3), к которым монтажные провода (8) протаскивают с помощью инструмента (11) для образования соединения посредством смещения монтажных проводов (8) через терминалы (3). Каждое гнездо или полость (2) выполнено независимым от соседних, причем разделение осуществляется посредством поперечных перегородок (4) и (4′), что делает возможным заливку герметизирующего геля в соответствующую полость (2) гнезда до уровня (12), который находится на высоте, которая меньше входного уступа (10) монтажных проводов и выше края терминалов (3), с той целью, чтобы как указанные терминалы, так и их соединения с монтажными проводами (8), были погружены в герметизирующий гель для предотвращения окисления на соединениях. Технический результат – повышения срока действия смолы. 2 с.п. и 6 з.п. ф-лы, 4 ил.
ОБЛАСТЬ ТЕХНИКИ, К КОТОРОЙ ОТНОСИТСЯ НАСТОЯЩЕЕ ИЗОБРЕТЕНИЕ
Настоящее изобретение относится к многотерминальному соединительному печатному проводнику, используемому для соединений в технике связи, которые приходят с множеством полостей или гнезд для аналогичного числа терминалов, причем соединения получают путем протаскивания монтажных проводов и сдавливания их посредством инструмента, смещающего изоляцию проводов и образующего их соединение с терминалами.
Инновация соединительного печатного проводника заключается во внутренней конфигурации гнезд или полостей терминалов, а также в том, что указанные гнезда или полости выполнены независимыми, посредством поперечных перегородок.
Дополнительной задачей настоящего изобретения является обеспечение способа герметизации соединительного печатного проводника, причем указанную герметизацию осуществляют заливкой соответствующего геля или текучей среды до заданной высоты в каждую из полостей, в которой расположен терминал, так что, когда гель или текучая среда затвердеют, вводят монтажные провода и должным образом соединяют.
ПРЕДПОСЫЛКИ ДЛЯ СОЗДАНИЯ НАСТОЯЩЕГО ИЗОБРЕТЕНИЯ
Известны многотерминальные соединительные печатные проводники, в которых используют пары терминалов, соединенных друг с другом в длинный ряд для их соединения, терминалы которых способны смещать изоляцию проводов, вводимых путем протаскивания посредством инструмента между соответствующими участками терминалов, производя смещение трубчатой изоляции для образования соединения между указанными проводами и действительными терминалами. То есть соединение не выполняют ни резкой проводов, ни зачисткой их концов, но путем протаскивания монтажных проводов с помощью инструмента через терминалы, причем последний смещает изоляцию и образует соединение, как было только что указано.
Тем не менее, хотя такая система соединения оказалась эффективной, она имеет недостаток, который заключается в том, что полости или гнезда для соответствующих терминалов открыты для воздуха, и дают возможность попадания влаги на соответствующий провод, что может вызвать последующее окисление, которое может усилиться вследствие частоты, с которой передается электрический сигнал, поскольку более высокие частоты электрического сигнала дают более высокое окисление.
Способ, который используют для предотвращения указанного окисления, заключается в покрытии внешней стороны соединительного печатного проводника герметиком, например, жидким, гелеобразным или другим пригодным продуктом, который, как правило, наносят заливкой, и оставляют для сушки, причем способ предусматривает прохождение указанного герметика через прорези, которые ограничивают гнезда соединительного печатного проводника, отверждение герметика, при этом указанный герметик остается уплотненным, хотя и гибким.
В других случаях для предотвращения окисления в качестве герметика используют консистентную смазку, которая по своей природе не требует отверждения, но которая даже в таких условиях теряется при соединении проводов, а, кроме того, инструмент, который оказывает воздействие на терминалы, снимает часть консистентной смазки при осуществлении этой технологической операции, оставляя пространства, открытые для воздуха и, следовательно, подверженные вышеуказанному окислению.
Таким образом, для того чтобы текучая среда, используемая для предотвращения окисления, не смещалась и не терялась во время сушки, соединительный печатный проводник вставляют в пресс-форму, покрывающую существующие прорези, что, очевидно, не обеспечивает эффективного решения.
В других случаях в качестве средства, предназначенного для блокирования прорезей, используют смолы с целью предотвращения утечки жидкости прежде, чем она отвердеет. Недостатком этого последнего способа является то, что смолы имеют ограниченный срок действия, то есть очень короткий срок, составляющий приблизительно два дня, означающий, что они должны непрерывно заменяться.
СУЩНОСТЬ НАСТОЯЩЕГО ИЗОБРЕТЕНИЯ
Соединительный печатный проводник, описываемый в этой заявке, был разработан для преодоления всех вышеописанных проблем и основан на простом, но высокоэффективном решении, которое оказывает влияние как на конфигурацию гнезд или полостей, в которых расположены терминалы, так и на зону относительного покрытия.
Более конкретно, соединительный печатный проводник, соответствующий настоящему изобретению, отличается тем, что гнезда или полости для разных терминалов являются независимыми и разделены посредством соответствующих поперечных перегородок, что определяет то, что каждый терминал размещен в совершенно независимом гнезде, которое может быть заполнено соответствующим герметиком. Короче говоря, каждая пара терминалов отделена от соседних пар посредством основных перегородок и, в свою очередь, два терминала, которые образуют пару, разделены посредством соответствующих промежуточных перегородок.
Промежуточные поперечные перегородки, расположенные между терминалами, которые образуют пару, имеют меньшую высоту, чем основные перегородки, для того чтобы быть способными увеличить объем герметика и одновременно увеличить эффективность герметизации, которую он обеспечивает, при потере наименьшего возможного количества герметика в течение технологической операции герметизации и последующего соединения проводов.
Другой элемент новизны, который предлагается с соединительным печатным проводником, заключается в том, что внутри гнезд или полостей, в которых размещены терминалы, имеются некоторые углубления или уступы для правильного размещения терминала, поскольку последний имеет специальную конфигурацию, причем все это сделано так, чтобы протаскивание посредством соответствующего инструмента в результате приводило не только к смещению проводов через терминалы и срезанию избыточного провода для образования соединения, но также образовывало элементы опоры как для ребер, которые являются частью терминалов, так и самих проводов в их конечном местоположении.
Кроме того, особая и внутренняя конфигурация вышеупомянутых полостей, которые вмещают терминалы, такова, что верхние края терминалов оставлены на уровне, который ниже боковых кромок соединительного печатного проводника и, безусловно, также ниже края поперечных перегородок, которые разделяют или разграничивают гнезда или полости.
Что касается способа герметизации, то он основан на заливке гелеобразным или жидким герметиком соответствующей полости, вмещающей терминалы, как только они смонтированы должным образом, с той особенностью, что высота, которую должен достичь герметизирующий гель на внутренней стороне полости или гнезда, должна быть меньше уровня уступа, соответствующего поперечной входной прорези кабелей, в соответствии с чем весь терминал и точка контактного взаимодействия с кабелем погружены и, тем не менее, герметизирующая текучая среда не переливается на какую-либо сторону.
Очевидно, что способ герметизации предусматривает заливку полости или гнезда терминалов до тех пор, пока количество соответствующего гелеобразного или жидкого герметика не достигнет уровня, который находится выше верхнего уровня терминалов и ниже верхнего уровня боковых кромок фактического соединительного печатного проводника. Все это сделано для того, чтобы достичь такого положения, когда терминалы и зона контакта между терминалом и монтажными проводами, погружены в гель, так что после сушки или отверждения можно продолжить размещение и последующее соединение монтажных проводов при использовании инструмента без риска потери или растяжения самого герметика.
Для достижения этого используемый герметизирующий гель, как только он был подвергнут сушке или отверждению, принимает желатинообразное или полутвердое состояние с некоторой степенью упругости, в таком случае он позволяет введение в него инструмента с монтажным проводом, а также, когда провод соединен, а инструмент удален, указанная упругость желатинообразной массы побуждает гель восстанавливать свой исходный объем (который был до введения инструмента) и закрывает промежуток, который был образован инструментом при его введении, в соответствии с чем полость совершенно заполняется герметизирующим гелем, что гарантирует герметизацию.
ОПИСАНИЕ ЧЕРТЕЖЕЙ
Подробное описание, которое будет изложено ниже с целью содействия более хорошему пониманию характеристик настоящего изобретения, сделано со ссылкой на сопроводительные чертежи, образующие его неотъемлемую часть, которые приведены только для иллюстрации, а не для ограничения настоящего изобретения, на которых
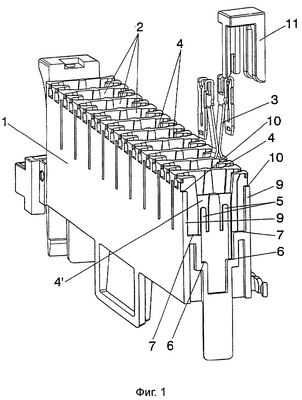
Фиг.1 – изометрическое изображение соединительного печатного проводника в разрезе с усовершенствованиями, соответствующими настоящему изобретению, иллюстрирующее внутреннюю конфигурацию отделений или полостей для различных терминалов, один из которых показан с пространственным разделением деталей и в положении для монтажа в соответствующую полость или гнездо, а также соответствующий инструмент, посредством которого монтажные провода должны быть продвинуты для создания соединения с терминалом;
Фиг.2 – изометрическое изображение части соединительного печатного проводника, иллюстрируемого на фиг.1, с терминалом, смонтированным должным образом;
Фиг.3 – другое изометрическое изображение соединительного печатного проводника с монтажными проводами, соединенными с терминалом, причем инструмент показан при наличии продвинутой соответствующей жилы кабеля полностью против уступа полости, вмещающей терминал, а также образования контакта с последним;
Фиг.4 – изометрическое изображение верхней части соединительного печатного проводника, иллюстрирующее уровни отдельных промежуточных поперечных перегородок, местоположение контактов и герметика.
ПОДРОБНОЕ ОПИСАНИЕ ПРЕДПОЧТИТЕЛЬНОГО ВАРИАНТА ОСУЩЕСТВЛЕНИЯ НАСТОЯЩЕГО ИЗОБРЕТЕНИЯ
Как очевидно из сопроводительных чертежей, соединительный печатный проводник 1, соответствующий настоящему изобретению, выполненный в виде удлиненного тела, в котором образованы соответствующие гнезда или полости 2 для каждой пары терминалов 3, имеет особенность, которая заключается в том, что каждое из гнезд или каждая из полостей 2 образована отдельно и независимо от остальных, благодаря соответствующим поперечным перегородкам 4.
Кроме того, между терминалами 3, которые образуют пару, имеются другие поперечная и промежуточная перегородки 4′ меньшей высоты, занимающие наименьший возможный объем в полости 2 и обеспечивающие возможность заливки большего количества герметика с целью увеличения его эффективности и минимизации потери герметика в течение технологической операции герметизации, которая будет описана позднее. В частности, уровень промежуточных перегородок 4′ находится близко или выше наибольшей высоте терминалов 3, как иллюстрируется на фиг.2.
Во внутренней части эти гнезда или полости имеют особую конфигурацию с выступами, уступами и буртиками, образующими, с одной стороны, опоры 5 для размещения односторонних траверс опор фактических терминалов 3, а также опор 6 или уступов для краев указанных односторонних траверс опор терминалов 3, имеются также некоторые уступы 7, образованные для монтажных проводов 8. Аналогичным образом, гнезда или полости 2 разграничены на боковых поверхностях посредством соответствующих кромок 9, верхний край которых образует опору или уступ 10 прорези для соответствующего кабеля (провода) 8.
Терминалы 3, как следует из чертежа, имеют два ребра, которые входят во взаимное контактное взаимодействие посредством одного из своих краев, тогда как другие края расходятся и после некоторых изгибов проходят в виде пластинчатых конфигураций и располагаются на внутренней стороне опор или уступов 5 и 6. Причем пластинчатые конфигурации образуют продольную прорезь с режущими кромками, выполненную так, чтобы при введении монтажных проводов 8 через прорези терминалов 3 имело место подрезание и соответствующее смещение изоляционного материала монтажных проводов 8, а также образование соединения между проводником, который в каждом случае продолжает провод, и соответствующим терминалом, как показано на фиг.3.
Более характерно то, что указанные терминалы 3 вблизи свободного края их пластинчатых конфигураций имеют выступ 13, предназначенный для фиксации самого терминала 3 посредством прокалывания самого полимерного соединительного печатного проводника 1.
Соответствующую герметизацию осуществляют заливкой соответствующей текучей среды, геля или герметика во внутреннюю область полости или гнезда 2 до достижения уровня 12, причем указанный уровень 12 находится на нижней высоте входного уступа монтажных проводов 8, соответствующего боковым кромкам 9 самого соединительного печатного проводника 1, предотвращая в соответствии с этим перелив или утечку геля, несмотря на то, что терминалы 3 и зоны соединения выше этих проводов 8 полностью погружены в указанный гель.
Когда герметик отвержден или полимеризован, осуществляют размещение монтажных проводов 8 и их соединение с терминалами 3 таким образом, чтобы монтажные провода 8 были протиснуты в положение их соединения посредством инструмента 11, который выдерживают в направлении посредством фактических терминалов 3 и боковых кромок 9, правильно располагающегося на них и образующего их соединение вышеописанным образом, при этом из фиг.3 очевидно, что монтажные провода 8 сначала находят опору на внутреннем уступе 7, а затем в соответствии с частью, продолжающейся наружу, на уступе 10 прорези который ограничивает верхний край боковых выступов 9.
После извлечения инструмента, вследствие упругости геля или герметика, последний расширяется и полностью покрывает промежуток, который был образован инструментом. Либо инструмент, либо поверхность геля или герметика, или инструмент и герметик предпочтительно покрывают материалом, имеющим низкую адгезию, например силиконом или тальком, или предпочтительно фторполимером, например, политетрафторэтиленом, для уменьшения или минимизации нежелательного повреждения или удаления геля или герметика при введении и удалении инструмента.
Формула изобретения
1. Многотерминальный соединительный печатный проводник, пригодный для получения соединений в технике связи, содержащий удлиненное тело, включающее в себя ряд полостей для соответствующего числа терминалов, с которыми монтажные провода могут быть соединены посредством протаскивания последних во внутреннюю область полости с помощью соответствующего инструмента, протаскивая в соответствии с этим монтажные провода в прорези терминалов, что вызывает разрезание изоляции проводов для образования электрического соединения проводов с терминалами, отличающийся тем, что полость (2) для каждой пары терминалов (3) отделена от каждой соседней полости соответствующими перегородками (4) так, чтобы позволять заливку геля или герметика в каждую из полостей (2) для защиты монтажных проводов (8), причем терминалы (3), которые образуют пару внутри каждой полости (2), отделены друг от друга промежуточными перегородками (4′), а высота промежуточных перегородок (4′) между терминалами (3) одной пары меньше высоты поперечных перегородок (4) между разными парами
2. Соединительный печатный проводник по п.1, отличающийся тем, что каждое из гнезд или полостей (2) соединительного печатного проводника (1) имеет уступы (5) и (6) для поддерживания и проверки соответствующих частей терминалов (3), обеспечивая правильное их расположение в указанных гнездах или полостях (2).
3. Соединительный печатный проводник по п.1, отличающийся тем, что в нем дополнительно предусмотрены уступы (7) в качестве опор для монтажных проводов (8) после их введения протаскиванием с помощью инструмента (11).
4. Соединительный печатный проводник по п.1, отличающийся тем, что указанный инструмент и/или поверхность геля или герметика обладают низкой адгезией или покрыты материалом, имеющим низкую адгезию, для уменьшения сцепления между гелем и инструментом при его использовании.
5. Соединительный печатный проводник по п.1, отличающийся тем, что гель или герметик отвержден в гнездах или полостях.
6. Способ герметизации многотерминального соединительного печатного проводника по любому из предыдущих пунктов, отличающийся тем, что он предусматривает заливку в указанные полости (2) пригодного герметизирующего геля или продукта до уровня (12) выше верхнего края терминалов (3) и ниже края, который определен верхним входным уступом (10) для монтажных проводов (8), соответствующим боковой кромке (9) соединительного печатного проводника.
7. Способ по п.6, отличающийся тем, что при завершении заливки герметика его затем подвергают сушке или отверждению, после чего соединяют терминалы (3) и монтажные провода (8), причем как терминал (3), так и соединения между терминалами и монтажными проводами (8) полностью погружены в указанный гель.
8. Способ по п.6, отличающийся тем, что указанный инструмент и/или поверхность геля или герметика обладают низкой адгезией или покрыты материалом, имеющим низкую адгезию, для уменьшения сцепления между гелем и инструментом при его использовании.
РИСУНКИ
|
|