|
(21), (22) Заявка: 2005122185/09, 13.07.2005
(24) Дата начала отсчета срока действия патента:
13.07.2005
(46) Опубликовано: 10.03.2007
(56) Список документов, цитированных в отчете о поиске:
RU 2167474 C1, 30.08.1999. RU 2144720 C1, 12.10.1988. US 2002126062 A1, 12.09.2002. US 2004164908 A1, 26.08.2004. WO 00/55938 A1, 21.09.2000.
Адрес для переписки:
197349, Санкт-Петербург, ул. Новосельковская, 37, ОАО “НПП “Радар ммс”
|
(72) Автор(ы):
Анцев Георгий Владимирович (RU), Сарычев Валентин Александрович (RU), Французов Алексей Дмитриевич (RU), Головачев Михаил Владимирович (RU), Кочетов Александр Викторович (RU), Кардо-Сысоев Алексей Федорович (RU), Флеров Александр Николаевич (RU), Калугин Николай Юрьевич (RU), Бродский Сергей Викторович (RU), Селезнев Александр Иванович (RU), Левченков Виктор Николаевич (RU)
(73) Патентообладатель(и):
Открытое акционерное общество “Научно-производственное предприятие “Радар ммс” (RU)
|
(54) СПОСОБ ВОЗБУЖДЕНИЯ ШИРОКОПОЛОСНОЙ АНТЕННОЙ РЕШЕТКИ И ШИРОКОПОЛОСНАЯ АНТЕННАЯ РЕШЕТКА (ВАРИАНТЫ) ДЛЯ ЕГО ОСУЩЕСТВЛЕНИЯ
(57) Реферат:
Изобретение относится к области радиотехники, в частности к антенной технике, и может быть использовано при проектировании антенных решеток для систем связи, локации и радиоэлектронной борьбы. Технический результат – повышение коэффициента полезного действия антенны, дальности действия и эффективности радиосистемы за счет обеспечения возможности возбуждения электромагнитного поля в виде биполярного сверхкороткого импульсного сигнала, что повышает направленность антенной решетки. Согласно предложенным техническим решениям информативный сигнал преобразуют в электромагнитное поле в линии передачи и разделяют полученное электромагнитное поле по n рупорным излучателям с ТЕМ-волной антенной решетки. После разделения электромагнитного поля по рупорным излучателям одну часть электромагнитного поля униполярного моноимпульса задерживают во времени на половину длительности информативного сигнала, преобразуют фазу этой части электромагнитного поля на противоположную и интерферируют ее с другой частью электромагнитного поля. Широкополосная антенная решетка для осуществления указанного способа содержит систему возбуждения на n выходов и связанный с ней излучающий раскрыв, выполненный из n рупорных излучателей в ТЕМ-волной. 4 н.п. ф-лы, 5 ил.
Изобретение относится к области радиотехники, в частности к антенной технике, и может быть использовано при проектировании антенных решеток для систем связи, локации и радиоэлектронной борьбы.
Наиболее близким к заявляемым техническим решениям является способ возбуждения широкополосной антенной решетки [1], заключающийся в том, что преобразуют информативный сигнал в электромагнитное поле в линии передачи, разделяют полученное электромагнитное поле по n рупорным излучателям антенной решетки с ТЕМ-волной, которое затем излучается. Широкополосная антенная решетка для осуществления указанного способа содержит систему возбуждения на n выходов и связанный с ней излучающий раскрыв, выполненный из n рупорных излучателей с ТЕМ-волной.
Недостатком указанных технических решений является малый коэффициент полезного действия антенной решетки при возбуждении ее информативным сигналом в виде сверхкороткого униполярного моноимпульса [2]:

где Um – амплитуда импульса;
uo – длительность импульса по нулевому уровню;
t – время;
R – расстояние, на которое распространяется импульс;
Vo – скорость распространения импульса.
При таком информативном сигнале в раскрыве антенной решетки возбуждается электромагнитное поле в виде моноимпульсного сигнала. Коэффициент направленного действия Du антенны, в раскрыве которой возбуждается поле в виде моноимпульса, определяется выражением [2]:

где D o=4 / o 2Ao – коэффициент направленного действия антенны для монохроматического колебания с длиной волны o,
где o= uoVo;
Ao – действующая площадь апертуры антенны.
Из выражения (2) видно, что коэффициент полезного действия антенны, возбужденной сверхкоротким моноимпульсом, составляет всего 25% по сравнению с коэффициентом полезного действия антенны, возбужденной монохроматическим колебанием с соответствующей длиной волны, что снижает дальность действия и эффективность радиосистемы в четыре раза по сравнению с радиосистемой, работающей на монохроматических колебаниях.
В то же время расчеты и эксперимент показывают [2], что при возбуждении в раскрыве антенны электромагнитного поля Е в виде биполярного импульса:

Коэффициент направленного действия DБ становится равным

Таким образом, возбуждение в раскрыве антенны электромагнитного поля в виде биполярного импульса (3) увеличивает коэффициент направленного действия DБ антенны в 9,5 раз по сравнению с коэффициентом направленного действия Du для униполярного моноимпульса (1) и в 2,37 раз по сравнению с коэффициентом направленного действия D o для монохроматического колебания, что повышает коэффициент полезного действия антенны, дальности действия и эффективность радиосистемы.
Возбуждение электромагнитного поля в виде биполярного импульса (3) непосредственно генератором осуществить невозможно, когда длительность импульса uo становится короче нескольких наносекунд. Однако возбуждение электромагнитного поля в виде биполярного импульса (3) в раскрыве антенны возможно непосредственно в самой антенне.
Задачей предлагаемой группы изобретений является повышение коэффициента полезного действия антенны, дальности действия и эффективности радиосистемы за счет обеспечения возможности возбуждения электромагнитного поля в виде биполярного сверхкороткого импульсного сигнала, что повышает направленность антенной решетки.
Решение поставленной задачи достигается тем, что в способе возбуждения широкополосной антенной решетки, при котором информативный сигнал преобразуют в электромагнитное поле в линии передачи и разделяют полученное электромагнитное поле по n рупорным излучателям с ТЕМ-волной антенной решетки, после разделения электромагнитного поля по рупорным излучателям одну часть электромагнитного поля униполярного моноимпульса задерживают во времени на половину длительности информативного сигнала, преобразуют фазу этой части электромагнитного поля на противоположную и интерферируют ее с другой частью электромагнитного поля.
Широкополосная антенная решетка для осуществления указанного способа (первый вариант) содержит систему возбуждения на n выходов и связанный с ней излучающий раскрыв, выполненный из n рупорных излучателей с ТЕМ-волной, при этом каждый рупорный излучатель состоит из двух рупоров, один из которых подключен к первому выходу делителя на два направления, вход которого подключен к одному из n выходов системы возбуждения, а второй рупор выполнен противофазным относительно первого рупора и подключен к выходу линии задержки длиной, равной половине длины моноимпульса, вход которой подключен ко второму выходу делителя на два направления.
Широкополосная антенная решетка для осуществления указанного способа (второй вариант) содержит систему возбуждения на n выходов и связанный с ней излучающий раскрыв, выполненный из n рупорных излучателей с ТЕМ-волной, при этом каждый из n рупоров антенной решетки подключен к первому выходу делителя на два направления, вход которого подключен к одному из n выходов системы возбуждения, а к второму выходу делителя на два направления подключен вход линии задержки с длиной, равной четверти длины моноимпульса, к выходу которой подключен короткозамкнутый отражатель.
Широкополосная антенная решетка для осуществления указанного способа (третий вариант) содержит систему возбуждения на n выходов и связанный с ней излучающий раскрыв, выполненный из n рупорных излучателей с ТЕМ-волной, при этом каждый из n рупоров антенной решетки выполнен в виде биконического рупора, вход которого подключен к одному из n выходов системы возбуждения, а половина раскрыва биконического рупора подключена к отражателю, расположенному на расстоянии от вершины биконического рупора, равном четверти длины моноимпульса.
В заявляемых технических решениях для повышения коэффициента полезного действия антенны, дальности действия и эффективности радиосистемы обеспечивается возможность возбуждения электромагнитного поля в виде биполярного сверхкороткого импульсного сигнала, что повышает направленность антенной решетки.
Сущность изобретения поясняется чертежами, где на фиг.1 представлены временные диаграммы, поясняющие сущность предлагаемого способа возбуждения широкополосной антенной решетки; а на фиг.2, фиг.3, фиг.4 и фиг.5 приведены варианты широкополосной антенной решетки.
На фиг.1 приведены:
а – диаграмма униполярного информативного моноимпульсного сигнала, поступающего на вход широкополосной антенной решетки;
б – диаграмма униполярного задержанного противофазного моноимпульсного сигнала;
в – диаграмма биполярного импульса в раскрыве антенны.
На фиг.2 приведена структурная схема широкополосной антенной решетки, где
1 – входной коаксиальный разъем антенны;
2 – система возбуждения на n выходов;
3 – выходные разъемы системы возбуждения;
4 – входной разъем рупорного излучателя;
5 – рупорный излучатель.
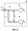
На фиг.3 приведен первый вариант выполнения рупорного излучателя широкополосной антенной решетки, где
4 – входной разъем рупорного излучателя 5;
6 – делитель на два направления;
7 – линия задержки длиной L;
8 – рупор.
На фиг.4 приведен второй вариант выполнения рупорного излучателя широкополосной антенной решетки, где
4 – входной разъем рупорного излучателя 5;
6 – делитель на два направления;
8 – рупор;
9 – линия задержки длиной L/2;
10 – отражатель короткозамкнутый.
На фиг.5 приведен третий вариант выполнения рупорного излучателя широкополосной антенной решетки, где
4 – входной разъем рупорного излучателя 5;
11 – биконический рупор;
12 – отражатель.
Линии задержки 7 и 9 представляют собой отрезок однородной передающей линии заданной длины (см. А.Л.Фельдштейн и др. Справочник по элементам волноводной техники. Изд. – 2е, М., Сов. Радио, – 1967 г., стр.36, рис.1.18).
Реализация предлагаемого способа возбуждения широкополосной антенной решетки выполняется следующим образом.
Информативный униполярный сигнал (фиг.1, а) поступает на вход широкополосной антенной решетки, из него формируется противофазный униполярный сигнал (фиг.1, б), который задерживается на половину длительности импульса. Импульсы (фиг.1, а и фиг.1, б) поступают в раскрыв антенной решетки, интерферируют друг с другом и формируют в раскрыве биполярный импульс (фиг.1, в). Этот биполярный импульс электромагнитного поля, возбужденный в раскрыве широкополосной антенной решетки, создает поле излучения, которое согласно выражению (4) обеспечивает сверхнаправленный коэффициент направленного действия антенны в 2,37 раза, превосходящий коэффициент направленного действия антенны, возбужденной монохроматическим сигналом. Сверхнаправленный коэффициент направленного действия обеспечивает повышение коэффициента полезного действия соответствующей радиосистемы, увеличивает дальность действия и эффективность радиосистемы за счет увеличения отношения сигнал/шум на входе приемного устройства.
Первый вариант широкополосной антенной решетки (фиг.2, фиг.3), реализующий предлагаемый способ возбуждения, работает следующим образом.
На входной коаксиальный разъем 1 широкополосной антенной решетки поступает информативный униполярный сигнал (фиг.1, а), который преобразуется в электромагнитное поле в линии передачи и разделяется выходными разъемами 3 системы возбуждения на n выходов, каждый из которых подключается к входному разъему 4 рупорного излучателя 5 (фиг.2).
Электромагнитное поле информативного униполярного импульса (фиг.1, а) поступает на входной разъем 4 рупорного излучателя 5 (фиг.3), который состоит из двух рупоров 8. Один из рупоров 8 подключается к первому выходу делителя 6 на два направления, вход которого подключен к входу 4 рупорного излучателя 5. В результате чего одна часть электромагнитного поля униполярного импульса (фиг.1, а) возбуждает раскрыв первого рупора 8 полем E1 (фиг.3). Второй выход делителя 6 подключен к входу линии задержки 7, выполненной в виде отрезка однородной линии передачи длиной L, равной

К выходу линии задержки 7 подключается второй рупор 8 противофазно с первым рупором 8.
Вторая часть электромагнитного поля униполярного импульса (фиг.1, а) задерживается на половину длительности импульса в линии задержки 7, меняет фазу на противоположную (фиг.1, б) и возбуждает раскрыв второго рупора 8 электромагнитным полем E2 униполярного задержанного на половину длительности импульса, противофазного полю E1 первого рупора.
В свою очередь электромагнитные поля двух униполярных импульсов E1 и Е2, интерферируя в эквивалентном общем раскрыве антенной решетки, возбуждают в нем электромагнитное поле биполярного импульса (фиг.1, в).
В первом варианте реализации широкополосной антенной решетки (фиг.2, фиг.3) повышение коэффициента полезного действия антенны, дальности действия и эффективности радиосистемы достигается путем:
– разделения униполярного импульса на две равные части;
– задержки и перефазировки одной из частей униполярного импульса;
– интерференции задержанной противофазной части импульса с другой частью униполярного импульса и возбуждения в раскрыве антенной решетки биполярного импульса.
Второй вариант широкополосной антенной решетки (фиг.2, фиг.4), реализующий предлагаемый способ возбуждения, работает следующим образом.
После разделения на n выходов (выходные разъемы 3 системы возбуждения) электромагнитное поле униполярного импульса (фиг.1, а) поступает на вход 4 рупорного излучателя 5 (фиг.4), который подключен к делителю 6 на два направления, к первому выходу которого подключен рупор 8. Ко второму выходу делителя 6 подключена линия задержки 9, выполненная в виде однородной линии передачи длиной L/2, равной

К выходу линии задержки 9 подключен отражатель короткозамкнутый 10.
Электромагнитное поле униполярного импульса (фиг.1, а) делится в делителе 6 на две равные части, при этом одна часть в виде униполярного импульса (фиг.1, а) поступает в рупор и возбуждает в его раскрыве поле E1. Другая часть униполярного импульса поступает в линию задержки 9, задерживается на ее выходе на четвертую часть длительности импульса, отражается от отражателя 10, при этом, меняя фазу на противофазную, распространяется в линии задержки 9 в обратную сторону, в результате задерживаясь еще на четвертую часть длительности импульса. В итоге задержанный на половину длительности униполярного импульса противофазный униполярный импульс (фиг.1, б) в виде электромагнитного поля E2, поступает в раскрыв рупора 8, где, интерферируя с первой частью импульса (фиг.1, а), возбуждает в раскрыве электромагнитное поле в виде биполярного импульса (фиг.1, в).
Во втором варианте реализации широкополосной антенной решетки (см. фиг.2, фиг.4) повышение коэффициента полезного действия антенны, дальности действия и эффективности радиосистемы достигается путем:
– разделения униполярного импульса на две равные части;
– задержки и отражения одной из частей униполярного импульса;
– интерференции отраженной противофазной части импульса с другой частью униполярного импульса и возбуждения в раскрыве антенной решетки, биполярного импульса.
Третий вариант широкополосной антенной решетки (фиг.2, фиг.5), реализующий предлагаемый способ возбуждения, работает следующим образом.
После разделения на n выходов (выходные разъемы 3 системы возбуждения), как в первом и втором вариантах, электромагнитное поле униполярного импульса (фиг.1, а) поступает на вход 4 биконического рупора 11 (фиг.5) и формируют цилиндрическую волну, распространяющуюся от центра к периферии биконического рупора. Половина раскрыва биконического рупора на расстоянии L/2, равном четвертой части длительности импульса, как показано в выражении (6), закрыта отражателем 12, который отражает и меняет фазу половины электромагнитного поля униполярного импульса (фиг.1, а) и направляет его в ту половину раскрыва, которая свободна от отражателя. В результате чего в половине раскрыва, свободной от отражателя, формируется поле униполярного импульса (фиг.1, а) E1 и поле противофазного задержанного на половину длительности импульса (фиг.1, б) E2, которые, интерферируя между собой, возбуждают в раскрыве, свободном от отражателя, электромагнитное поле биполярного импульса (фиг.1, в).
В третьем варианте реализации широкополосной антенной решетки (фиг.2, фиг.5) повышение коэффициента полезного действия антенны, дальности действия и эффективности радиосистемы достигается путем:
– возбуждения цилиндрического раскрыва биконического рупора униполярным импульсом;
– отражения и задержки половины электромагнитного поля униполярного импульса отражателем, перекрывающим половину раскрыва биконического рупора;
– интерференции отраженного и прямого униполярных импульсов и формирования в раскрыве биполярного импульса.
Технический результат от использования заявляемых технических решениях по сравнению с прототипом заключается в повышении коэффициента полезного действия антенны, дальности действия и эффективности радиосистемы за счет обеспечения возможности возбуждения электромагнитного поля в виде биполярного сверхкороткого импульсного сигнала, что повышает направленность антенной решетки.
Источники информации
1. Патент РФ №2167474, МПК H 01 Q 21/06.
2. А.Д.Французов. Энергетические характеристики апертурных антенн, излучающих сверхкороткие импульсы (СКИ). Проблемы интеллектуального и военного транспорта №7 в Сборнике статей “55 лет на службе Отечеству”, часть II, С-Пб, 2005 г.
Формула изобретения
1. Способ возбуждения широкополосной антенной решетки, при котором информативный сигнал преобразуют в электромагнитное поле в линии передачи и разделяют полученное электромагнитное поле по n рупорным излучателям антенной решетки с ТЕМ-волной, отличающийся тем, что после разделения электромагнитного поля по рупорным изучателям одну часть электромагнитного поля униполярного моноимпульса задерживают во времени на половину длительности информативного сигнала, преобразуют фазу этой части электромагнитного поля на противоположную и интерферируют ее с другой частью электромагнитного поля.
2. Широкополосная антенная решетка, содержащая систему возбуждения на n выходов и связанный с ней излучающий раскрыв, выполненный из n рупорных излучателей с ТЕМ-волной, отличающаяся тем, что каждый рупорный излучатель состоит из двух рупоров, один из которых подключен к первому выходу делителя на два направления, вход которого подключен к одному из n выходов системы возбуждения, а второй рупор выполнен противофазным относительно первого рупора и подключен к выходу линии задержки длиной, равной половине длины моноимпульса, вход которой подключен к второму выходу делителя на два направления.
3. Широкополосная антенная решетка, содержащая систему возбуждения на n выходов и связанный с ней излучающий раскрыв, выполненный из n рупорных излучателей с ТЕМ-волной, отличающаяся тем, что каждый из n рупоров антенной решетки подключен к первому выходу делителя на два направления, вход которого подключен к одному из n выходов системы возбуждения, а к второму выходу делителя на два направления подключен вход линии задержки с длиной, равной четверти длины моноимпульса, к выходу которой подключен отражатель.
4. Широкополосная антенная решетка, содержащая систему возбуждения на n выходов и связанный с ней излучающий раскрыв, выполненный из n рупорных излучателей с ТЕМ-волной, отличающаяся тем, что каждый из n рупоров антенной решетки выполнен в виде биконического рупора, вход которого подключен к одному из n выходов системы возбуждения, а половина раскрыва биконического рупора подключена к отражателю, расположенному на расстоянии от вершины биконического рупора, равном четверти длины моноимпульса.
РИСУНКИ
|