|
|
(21), (22) Заявка: 2004126853/09, 30.10.2002
(24) Дата начала отсчета срока действия патента:
30.10.2002
(30) Конвенционный приоритет:
06.11.2001 IT MI2001A002327
(43) Дата публикации заявки: 27.01.2006
(46) Опубликовано: 10.03.2007
(56) Список документов, цитированных в отчете о поиске:
ЕР 0903763 А1, 24.03.1999. RU 18861 U1, 20.07.2001. ЕР 1137038 A1, 26.09.2001. US 5534835 А, 09.07.1996.
(85) Дата перевода заявки PCT на национальную фазу:
06.09.2004
(86) Заявка PCT:
EP 02/12167 (30.10.2002)
(87) Публикация PCT:
WO 03/041106 (15.05.2003)
Адрес для переписки:
129010, Москва, ул. Б.Спасская, 25, стр.3, ООО “Юридическая фирма Городисский и Партнеры”, пат.пов. Г.Б. Егоровой, рег.№ 513
|
(72) Автор(ы):
БРЕШАНИ Никола (IT), РОТА МАРТИР Роберто (IT)
(73) Патентообладатель(и):
АББ СЕРВИС С.Р.Л. (IT)
|
(54) АВТОМАТИЧЕСКИЙ ВЫКЛЮЧАТЕЛЬ НИЗКОГО НАПРЯЖЕНИЯ
(57) Реферат:
Изобретение относится к электротехнике. Автоматический выключатель низкого напряжения содержит по меньшей мере один неподвижный контакт, электрически подключенный к выводу электрической цепи, и вращающийся подвижный контакт, содержащий центральный корпус, из которого выступает по меньшей мере одно первое плечо, на конце которого имеется активная поверхность, являющаяся соединяемой/отделяемой относительно неподвижного контакта посредством вращения подвижного контакта. Вращающийся поддерживающий контакт вал подключен к механизму включения и снабжен опорой, в которой расположен центральный корпус подвижного контакта так, что первое плечо выступает наружу из указанной опоры. По меньшей мере одна первая пружина расположена в поддерживающем контакт валу, функционально связана с подвижным контактом и является подходящей для обеспечения, когда выключатель замкнут, адекватного давления в контактах между активной поверхностью и первым неподвижным контактом. По меньшей мере одна первая поверхность опоры обеспечена на центральном корпусе подвижного контакта и взаимодействует во время вращения подвижного контакта, вызванного коротким замыканием, с дополнительно оформленной поверхностью, образованной в опоре вала так, что по меньшей мере часть энергии, накопленной вращающимся подвижным контактом во время его вращения, передается непосредственно валу. Технический результат – минимизация ударов подвижного контакта по корпусу, уменьшение дребезга контактов и вероятности повторного пробоя при размыкании. 8 з.п. ф-лы, 6 ил.
Данное изобретение относится к автоматическому выключателю низкого напряжения, т.е. для приложений с рабочими напряжениями до 1000 вольт.
Промышленные электрические системы низкого напряжения, характеризующиеся высокими токами и уровнями мощности, обычно используют специфические устройства, общеизвестные в данной области техники как автоматические выключатели силовых цепей.
Эти автоматические выключатели сконструированы таким образом, чтобы обеспечивать ряд особенностей, требуемых для обеспечения правильной работы электрической системы, в которую они вставлены, и нагрузок, подключенных к ней. Например, они обеспечивают номинальный ток, требуемый для различных пользователей, позволяют осуществлять вставку и разъединение нагрузок относительно цепи, защищают нагрузки от аномальных событий, таких как перегрузка и короткие замыкания посредством автоматического размыкания цепи, и позволяют размыкать защищаемую цепь посредством гальванической развязки или посредством размыкания соответствующих контактов для того, чтобы достичь полной изоляции нагрузки относительно источника электропитания.
В настоящее время такие автоматические выключатели являются доступными согласно различным промышленным вариантам, наиболее обычный из которых поручает размыкание контактов сложным кинематическим механизмам, которые используют механическую энергию, заранее накопленную в специальных отключающих пружинах, и обычно запускаемым, в случае электрического короткого замыкания, соответствующим устройством защиты, обычно реле.
В определенных рабочих условиях, особенно когда предполагаемый ток короткого замыкания может допустить очень высокие значения, использование устройств, которые используют традиционным образом энергию, которая может быть накоплена в отключающих пружинах, может быть недостаточно эффективным и неэкономным для размыкания контактов; в таких случаях, нормальным является обращение к специальным типам автоматического выключателя, которые имеют технические решения, нацеленные на увеличение их отключающей способности.
Среди технических решений, наиболее широко используемых в настоящее время, есть два, которые часто используются в комбинации. В частности, первое решение заставляет ток следовать по заданному пути таким образом, что когда происходит короткое замыкание, между контактами возникают силы электродинамического отталкивания. Эти силы отталкивания генерируют полезный толчок, который помогает увеличить скорость отделения подвижных контактов относительно неподвижных контактов; таким образом, время вмешательства уменьшено и предполагаемый ток короткого замыкания не может достичь своего максимального значения.
Второе решение удваивает неподвижные контакты и подвижные контакты. В этом случае поток тока прерывается в каждом полюсе автоматического выключателя на две отдельные области, которые расположены электрически последовательно друг к другу так, что каждая область подвергается низшему механическому и термическому напряжению.
Особенно критическим аспектом известных типов автоматического выключателя является тот факт, что присутствие сил электродинамического отталкивания, несмотря на положительный вклад в генерацию толчка, полезного для разделения контактов с одной стороны, с другой стороны, помогает структуре подвижных контактов достичь конца этого удара при высокой скорости и, следовательно, с большой энергией. Это стремится вызвать сильные удары по корпусу автоматического выключателя, с возможностью его повреждения, и может, следовательно, потребовать использования дополнительных амортизирующих элементов; кроме того, может иметь место дребезг подвижных контактов по направлению к неподвижным контактам и нежелательные повторные пробои электрической дуги. В случае автоматических выключателей с двойными контактами, вероятность дребезга контактов и повторного пробоя электрической дуги может быть увеличена присутствием дополнительных пружин, которые обычно связаны со структурой каждого подвижного контакта для содействия равномерному распределению механического давления на двух поверхностях для связывания между каждым подвижным контактом и соответствующими неподвижными контактами.
Задачей данного изобретения является обеспечение автоматического выключателя, который позволяет устранить недостатки, отмеченные выше, и, в частности, в котором размыкание в состоянии короткого замыкания имеет место способом, который оптимизирован и функционально более эффективен, чем в известных решениях, и в то же самое время устраняет или по меньшей мере минимизирует удары, которые подвижный контакт может иметь по корпусу автоматического выключателя, и последующие негативные эффекты, вызываемые указанными ударами.
Эта и другие задачи, которые станут более ясными далее, решаются в предлагаемом автоматическом выключателе низкого напряжения, содержащем:
по меньшей мере один неподвижный контакт, который электрически подключен к выводу для подключения к электрической цепи;
вращающийся подвижный контакт, который содержит центральный корпус, от которого выдается по меньшей мере одно первое плечо, причем активная поверхность обеспечена на конце указанного первого плеча, причем указанная активная поверхность является соединяемой/отделяемой относительно указанного неподвижного контакта посредством вращения указанного подвижного контакта;
вращающийся поддерживающий контакт вал, который функционально подключен к механизму включения автоматического выключателя и снабжен опорой, которая приспосабливает центральный корпус подвижного контакта таким образом, что первое плечо выступает наружу из указанной опоры, причем по меньшей мере одна первая пружина, кроме того, расположена в указанном поддерживающем контакт валу, причем указанная первая пружина функционально связана с подвижным контактом и является подходящей для обеспечения, когда автоматический выключатель замкнут, адекватного давления в контактах между активной поверхностью и первым неподвижным контактом, отличающийся тем, что по меньшей мере одна первая поверхность опоры обеспечена на указанном центральном корпусе подвижного контакта и является подходящей для действия, во время вращения подвижного контакта, вызванного коротким замыканием, по отношению к дополнительно оформленной поверхности, образованной в указанной опоре вала, таким образом, что по меньшей мере часть энергии, накопленной вращающимся подвижным контактом во время его вращения, передается непосредственно к валу.
Дополнительные характеристики и преимущества изобретения станут более ясными из описания предпочтительных, но не исключительных вариантов осуществления автоматического выключателя согласно изобретению, проиллюстрированному только посредством неограничивающего примера в сопутствующих чертежах, в которых:
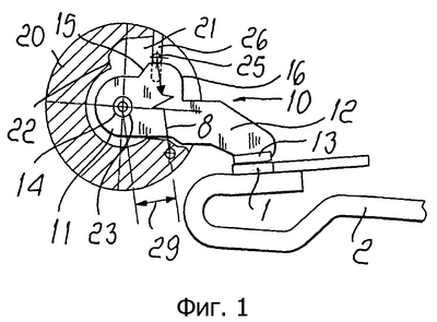
фиг.1 является видом сверху первого варианта осуществления узла, составленного поддерживающим контакт валом, подвижным контактом с единственным плечом и неподвижным контактом, который может использоваться в автоматическом выключателе согласно изобретению;
фиг.2 является видом сверху второго варианта осуществления узла, составленного поддерживающим контакт валом, подвижным контактом с единственным плечом и неподвижным контактом, который может использоваться в автоматическом выключателе согласно изобретению;
фиг.3 является видом сверху третьего варианта узла, составленного поддерживающим контакт валом, движущимся контактом с единственным плечом, и неподвижным контактом, который может использоваться в автоматическом выключателе согласно изобретению;
фиг.4 является видом сверху подвижного контакта фиг.1 во время опоры на поддерживающий контакт вал, во время отделения активной поверхности от соответствующего неподвижного контакта, следующего за коротким замыканием;
фиг.5 является частичным перспективным видом поддерживающего контакт вала, связанного с подвижным контактом и с механизмом для включения автоматического выключателя;
фиг.6 является видом сверху возможного варианта осуществления узла, составленного подвижным контактом и поддерживающим контакт валом, для автоматического выключателя с двойными контактами.
В нижеследующем описании для большей простоты делается ссылка на единственный полюс автоматического выключателя без намерения ограничить каким-либо образом объем изобретения, так как задуманное решение может быть применено ко всем полюсам автоматического выключателя низкого напряжения, имеющего любое количество полюсов. Кроме того, в различных чертежах идентичные ссылочные позиции обозначают идентичные или технически эквивалентные элементы.
Со ссылкой на упоминаемые чертежи, полюс автоматического выключателя низкого напряжения согласно изобретению обычно содержит по меньшей мере один первый неподвижный контакт 1, который электрически соединен посредством соответствующим образом сконфигурированного проводника 2 с выводом для подключения в электрическую цепь, согласно вариантам, которые широко известны в данной области техники и поэтому не описываются подробно; этот полюс, кроме того, содержит вращающийся подвижный контакт 10 и вращающийся поддерживающий контакт вал 20, который показан в поперечном сечении на фиг.1-4 для большей ясности иллюстрации и функционально соединен с подвижным контактом 10 и с механизмом 30 включения автоматического выключателя. Как подробно показано на фиг.5, указанный механизм 30 включения обычно содержит кинематическую систему с отключающими пружинами 31 и позволяет функционально соединить поддерживающий контакт вал 20 с рычагом 32 для ручного включения автоматического выключателя. Автоматический выключатель, кроме того, обычно снабжен устройством защиты (не показано) для защиты от электрических коротких замыканий, обычно реле, которое срабатывает, когда происходит электрическое короткое замыкание, вызывая включение механизма 30 включения, с последующим вращением поддерживающего контакт вала 20 и высвобождает автоматический выключатель. Работа реле защиты и механизма 30 включения, а также соответствующих способов для их функционального подключения друг к другу и к другим частям автоматического выключателя также широко известна в данной области техники и поэтому не описывается далее.
Как показано на фиг.1-4, вращающийся поддерживающий контакт вал 20 имеет опору 21, которая оконтурена соответствующим образом так, чтобы иметь по меньшей мере одну поверхность 22 взаимодействия, и центр 23 вращения прикреплен к опоре 21.
В свою очередь, подвижный контакт 10 имеет оконтуренный центральный корпус 11, из которого выступает по меньшей мере одно первое плечо 12. Первая активная поверхность 13, например контактная пластина или площадка, расположена в конце указанного плеча и может быть соединена/отделена электрически относительно неподвижного контакта 1, вслед за вращением указанного подвижного контакта 10. В частности, в иллюстрированных вариантах подвижный контакт 10 функционально соединен с валом 20 и расположен таким образом, что центральная часть 11 помещена в опору 21 таким образом, что конец плеча 12 выступает поперечно наружу; предпочтительно, подвижный контакт 10 подключен к валу 20 посредством связывания отверстия 14, образованного в центральном корпусе 11, с центром 23 вращения, согласно решению, которое является выгодным с точки зрения изготовления и сборки. Ясно, что функциональное подключение между валом 20 и подвижным контактом 10 может быть обеспечено различными способами, например путем обеспечения центра вращения на корпусе подвижного контакта и связывающего отверстия в валу, или путем обеспечения плавающего связывания исключительно посредством одной или нескольких пружин, размещенных в опоре 21 и соответствующим образом подключенных к валу и к указанному подвижному контакту, или другими способами, при условии, что они совместимы с данным приложением.
Благоприятно, что в автоматическом выключателе согласно изобретению на оконтуренном центральном корпусе 11 подвижного контакта 10 имеется по меньшей мере одна первая поверхность 15 опоры, которая является подходящей для функционального взаимодействия по отношению к дополнительно оформленной поверхности для целей, которые станут более ясными в подробностях далее.
Предпочтительно, в вариантах, показанных на фиг.1 и 2, по меньшей мере одна первая подобная кулачку поверхность 16, кроме того, обеспечена на центральном корпусе 11 подвижного контакта 10, прилегает к поверхности 15 опоры и расположена между указанной поверхностью опоры и продолжением плеча 12; кроме того, по меньшей мере средство 24 зацепления и дополнительный центр 25 вращения расположены на валу 20 на взаимно противоположных сторонах по отношению к корпусу подвижного контакта 10. В частности, в варианте, показанном на фиг.1 и 4, средство 24 зацепления предпочтительно содержит второй центр 24 вращения, который жестко прикреплен к валу 20, тогда как третий центр 25 вращения функционально связан с подвижным контактом 10 таким образом, что он может двигаться относительно его и расположен таким образом, что его концы вставлены в прорези 26, образованные в поддерживающем контакт валу 20.
Вариант, показанный на фиг.2, вместо этого, использует дополнительные средства зацепления, которые предпочтительно содержат четвертый центр 27 вращения, который, если принять в качестве ссылки первый центр 23 вращения, прикреплен к валу 20 по существу в симметричном положении относительно второго центра 24 вращения; в свою очередь, третий центр 25 вращения функционально связан с подвижным контактом 10 таким образом, что он может двигаться относительно него и подключен к четвертому центру 27 вращения посредством двух связей 28 (только одна из которых показана на фиг.2), которые расположены в опоре 21 вала 20 вдоль двух противоположных сторон подвижного контакта 10, которые по существу параллельны друг к другу.
По меньшей мере одна пружина обычно связана с подвижным контактом 10 и является подходящей для обеспечения, когда автоматический выключатель замкнут, адекватного давления в контактах между активной поверхностью 13 и соответствующим неподвижным контактом 1. В частности, автоматический выключатель согласно изобретению предпочтительно использует по меньшей мере две пружины 8 электротяги (только одна из которых видна на фиг.1-4), каждая из которых прикреплена ко второму центру 24 вращения и к третьему центру 25 вращения и расположена на взаимно противоположных сторонах относительно плеча 12 подвижного контакта 10.
Работа автоматического выключателя согласно изобретению теперь описывается со ссылкой, посредством примера, на вариант, показанный на фиг.1 и 4.
В рабочих условиях, когда происходит короткое замыкание, силы электродинамического отталкивания, генерируемые в электрических частях, пересекаемых током, запускают вращение подвижного контакта 10, который, начиная от положения, показанного на фиг.1, движется в положение, показанное на фиг.4, в котором поверхность 15 опоры примыкает к соответствующей поверхности 22; в этой ситуации, из-за взаимодействия между поверхностями 15 и 22 имеется большое преимущество в том, что по меньшей мере часть кинетической энергии, которой обладает подвижный контакт 10 во время вращения, передается непосредственно к поддерживающему контакт валу 20 и, следовательно, также распространяется среди механических частей, которые подключены к нему. Способом, который является очень выгодным и совершенно инновационным относительно известного уровня техники, энергия, передаваемая подвижным контактом 10 к валу 20, следовательно, не только устраняется из возможного удара по корпусу автоматического выключателя, но и действительно используется для преодоления инерции указанного вала и запускает его вращение перед расцеплением реле защиты, которое в любом случае действует немедленно после вышеописанного эффекта и вызывает размыкание механизма 30 включения полностью стандартным способом. Поэтому это позволяет, относительно известных решений, выполнить более быстрые действия размыкания и уменьшить механическое и электрическое напряжения, которым активные части должны сопротивляться в условиях короткого замыкания, с выгодным следствием, что поведение автоматического выключателя на протяжении его полезной жизни значительно улучшается и его полезная жизнь продлевается.
Кроме того, тот факт, что энергия, накопленная подвижным контактом во время его вращения, используется для получения эффекта, описанного выше, препятствует всей накопленной кинетической энергии разряжаться непосредственно на корпус автоматического выключателя, уменьшая каждую причину возможного дребезга подвижного контакта 10 и, следовательно, повторного пробоя электрической дуги. Этот положительный эффект может быть увеличен, если используются конструктивные конфигурации, показанные на фиг.1 и 2. В этих случаях центр 25 вращения под действием соответствующих пружин, связанных с ним и со связями 28 в варианте фиг.2, фактически расположен в опоре по отношению к стенке подобной кулачку поверхности 16; это взаимодействие облегчает генерацию силы, указанной стрелкой А, которая в конечном итоге создает момент, который стремится удержать активную поверхность 13 подвижного контакта 10, связанного с неподвижным контактом. Во время размыкания, вызванного коротким замыканием, вращение подвижного контакта 10 вызывает скольжение центра 25 вращения, который под действием пружин 8 взаимодействует с подобной кулачку поверхностью 16, оставаясь в прямом контакте с ним, с относительным скольжением частей в контакте; это приводит к вариации направления силы А с постепенным уменьшением плеча 29 ее рычага, пока, как подробно показано на фиг.4, взаимодействие между центром вращения и подобной кулачку поверхности не будет таким, чтобы поместить линию действия сил А под центром относительно центра 23 вращения и, следовательно, имеется плечо 29 рычага, знак которого является противоположным к начальной фазе. В этой ситуации, следовательно, существует механический момент, который согласуется с направлением вращения подвижного контакта 10, что помогает удерживать подвижный контакт 10 в положении, которого он достиг, противопоставляя любому дребезгу контактов и делая в сущности ненужным использование дополнительных релейных систем.
В любом случае следует отметить, что инновационный результат передачи энергии от подвижного контакта к вращающемуся валу требует только контура подвижного контакта, подлежащего снабжению поверхностью опоры, требуемой для взаимодействия с соответствующей поверхностью, образованной на валу и в сущности независимой от типа функционального связывания между валом и подвижным контактом и от контура остающейся части указанного подвижного контакта; например, в дополнение к решениям, описанным выше, было бы возможно использовать подвижный контакт, который оконтурен без подобных кулачку поверхностей, как схематически показано на фиг.3, или подключить подвижный контакт к валу посредством использования одной или нескольких связывающих пружин, стандартно расположенных в опоре без использования центров вращения, или любым другим способом, при условии, что он совместим с данным приложением.
Решения, описанные выше для автоматического выключателя с единственным контактом, могут быть легко и также благоприятно реализованы в случае автоматических выключателей с двойными контактами; в этом случае фактически в сущности достаточно копировать, симметрично относительно оси вращения, форму и функциональные части изобретения.
Пример в этом отношении схематично показан на фиг.6.
Как показано на фиг.6, автоматический выключатель снабжен первым неподвижным контактом 1 и вторым неподвижным контактом 3, которые электрически подключены посредством соответствующим образом сконфигурированных проводников 2 к соответствующим выводам для подключения в электрическую цепь. В свою очередь, вращающийся подвижный контакт 10 имеет оконтуренный центральный корпус 11, из которого выступают два плеча 12; две активные поверхности 13 расположены в концах указанных плеч и во взаимно противоположных направлениях относительно оси вращения и могут быть связаны/отделены относительно соответствующих неподвижных контактов 1 и 3, как следствие вращения указанного подвижного контакта 10. Благоприятно, что в этом варианте на оконтуренном центральном корпусе 11 подвижного контакта 10 имеются первая и вторая поверхности 15 опоры на взаимно противоположных сторонах и в сущности симметрично относительно оси вращения и, следовательно, относительно отверстия 14; соответственно, опора 21 вала 20 оконтурена таким образом, чтобы образовать две поверхности 22 взаимодействия, по отношению к каждой из них поверхность 15 опоры действует способом, который функционально полностью подобен способу, который был описан для подвижного контакта с единственным плечом.
Ясно, что даже в случае автоматического выключателя с двойными контактами можно обеспечить функциональное подключение между валом и подвижным контактом согласно различным конструктивным конфигурациям и принять или нет также контур с подобными кулачку поверхностями.
Например, в варианте, показанном на фиг.6, на центральном корпусе подвижного контакта 10 имеются две смежно расположенные подобные кулачку поверхности 16, причем каждая имеет соответствующую поверхность 15 опоры; соответственно, относительно решения с единственными контактами на валу 20 имеются также дополнительные центры вращения: со ссылкой на центр 23 вращения четвертый центр 34 вращения прикреплен к валу в сущности в симметричном положении относительно второго центра 24 вращения, и пятый центр 35 вращения расположен симметрично относительно третьего центра 25 вращения и функционально эквивалентен ему. Две дополнительные пружины 8 прикреплены к двум центрам 34 и 35 вращения и также расположены на взаимно противоположных сторонах относительно второго плеча 12.
Подобные модификации могут быть приняты при переходе от автоматического выключателя с единственными контактами к автоматическому выключателю с удвоенными контактами для вариантов, показанных на фиг.2 и 3. Например, в случае фиг.2 достаточно использовать пятый центр вращения, который расположен относительно центра 23 вращения, в сущности симметрично относительно центра 25 вращения и функционально эквивалентен ему; в этом случае указанный центр 25 вращения может быть подключен ко второму центру 24 вращения посредством дополнительной пары связей 28, и можно использовать две дополнительные пружины 8, которые прикреплены к центру 27 вращения и к указанному пятому центру вращения.
Следует отметить, что в различных вариантах, как с подвижным контактом с единственным плечом, так и с подвижным контактом с удвоенным плечом, неподвижные центры 24 или 27 или 34 вращения могут быть заменены полностью эквивалентным способом другими средствами зацепления, которые позволяют осуществлять зацепление концов пружин 8 способом, который функционально эквивалентен действию единственного неподвижного центра вращения: например, можно использовать два центра вращения, которые структурно независимы друг от друга и прикреплены к валу, или два связывающих элемента, связанных с валом, или две опоры, образованные в нем и подходящие для того, чтобы позволить прикрепление концов пружин 8, или другие средства, при условии, что они совместимы с данным приложением.
На практике было обнаружено, что автоматический выключатель согласно изобретению полностью решает предназначенную задачу, обеспечивая значительный ряд преимуществ относительно известного уровня техники, и используется как стандартный автоматический выключатель, так и ограничитель тока.
Автоматический выключатель, задуманный таким образом, допускает большое число модификаций и вариаций, все из которых находятся в рамках объема изобретения; все подробности, кроме того, могут быть заменены другими технически эквивалентными элементами. На практике используемые материалы, а также размеры могут быть любыми к соответствующим требованиям и состоянию данной области техники.
Формула изобретения
1. Автоматический выключатель низкого напряжения, содержащий по меньшей мере один неподвижный контакт, который электрически подключен к выводу для подключения к электрической цепи; вращающийся подвижный контакт, который содержит центральный корпус, от которого выдается по меньшей мере одно первое плечо, причем активная поверхность обеспечена на конце первого плеча, причем активная поверхность является соединяемой/отделяемой относительно неподвижного контакта посредством вращения подвижного контакта; вращающийся поддерживающий контакт вал, который функционально подключен к механизму включения автоматического выключателя и снабжен опорой, которая приспосабливает центральный корпус подвижного контакта таким образом, что первое плечо выступает наружу из опоры, причем по меньшей мере одна первая пружина, кроме того, расположена в поддерживающем контакт валу, причем первая пружина функционально связана с подвижным контактом и является подходящей для обеспечения, когда автоматический выключатель замкнут, адекватного давления в контактах между активной поверхностью и первым неподвижным контактом, отличающийся тем, что по меньшей мере одна первая поверхность опоры обеспечена на центральном корпусе подвижного контакта и является подходящей для действия, во время вращения подвижного контакта, вызванного коротким замыканием, по отношению к дополнительно оформленной поверхности, образованной в опоре вала, таким образом, что по меньшей мере часть энергии, накопленной вращающимся подвижным контактом во время его вращения, передается непосредственно к валу.
2. Автоматический выключатель по п.1, отличающийся тем, что первая поверхность опоры, образованная на центральном корпусе подвижного контакта, действует по отношению к дополнительно оформленной поверхности таким образом, чтобы запускать в состоянии короткого замыкания вращение поддерживающего контакт вала перед вмешательством механизма включения.
3. Автоматический выключатель по п.1, отличающийся тем, что первый центр вращения прикреплен к поддерживающему контакт валу и связан с зазором в отверстии, образованном в центральном корпусе подвижного контакта, причем по меньшей мере одна первая подобная кулачку поверхность, кроме того, образована на центральном корпусе и расположена смежно с первой поверхностью опоры.
4. Автоматический выключатель по п.1, отличающийся тем, что он содержит по меньшей мере один второй центр вращения, который прикреплен к валу, и третий центр вращения, который функционально связан с подвижным контактом и может скользить в прорезях, образованных в указанном валу, причем указанные второй и третий центры вращения расположены на взаимно противоположных сторонах относительно корпуса подвижного контакта, причем первая пружина и вторая пружина, кроме того, прикреплены ко второму и третьему центрам вращения и расположены вдоль двух противоположных сторон плеча подвижного контакта, причем третий центр вращения функционально взаимодействует с первой подобной кулачку поверхностью таким образом, чтобы генерировать механический момент, который согласуется с направлением вращения подвижного контакта во время по меньшей мере одной финальной части отделения активной поверхности от неподвижного контакта в состоянии короткого замыкания.
5. Автоматический выключатель по п.1, отличающийся тем, что он содержит по меньшей мере один второй центр вращения и один третий центр вращения, которые прикреплены к валу по существу во взаимно симметричном положении относительно первого центра вращения, и четвертый центр вращения, который функционально связан с подвижным контактом таким образом, что он может двигаться относительно него, причем третий и четвертый центры вращения взаимно соединены посредством первой связи и второй связи, которые расположены в опоре вала вдоль двух противоположных сторон подвижного контакта, причем первая пружина и вторая пружина, кроме того, прикреплены ко второму и четвертому центрам вращения и расположены вдоль двух противоположных сторон вращающегося подвижного контакта, причем четвертый центр вращения функционально взаимодействует с первой подобной кулачку поверхностью таким образом, чтобы генерировать механический момент, который согласуется с направлением вращения подвижного контакта во время по меньшей мере одной финальной части отделения активной поверхности от неподвижного контакта в состоянии короткого замыкания.
6. Автоматический выключатель по п.1, отличающийся тем, что он содержит два неподвижных контакта, которые электрически подключены к соответствующим выводам для подключения к электрической цепи, и вращающийся подвижный контакт содержит центральный корпус, из которого выступают первое плечо и второе плечо, причем две активные поверхности обеспечены на концах плеч и на взаимно противоположных сторонах относительно оси вращения, причем поверхности являются соединяемыми/отделяемыми относительно неподвижных контактов посредством вращения подвижного контакта, причем по меньшей мере одна первая поверхность опоры и одна вторая поверхность опоры образованы на центральном корпусе и расположены на взаимно противоположных сторонах относительно оси вращения, причем поверхности являются подходящими для действия во время вращения подвижного контакта, вызванного коротким замыканием, по отношению к двум дополнительно оформленным поверхностям, образованным в опоре вала.
7. Автоматический выключатель по п.6, отличающийся тем, что первая и вторая поверхности опоры расположены на центральном корпусе подвижного контакта и по существу симметричны относительно оси вращения.
8. Автоматический выключатель по п.4, отличающийся тем, что вторая подобная кулачку поверхность, кроме того, образована на центральном корпусе и примыкает к поверхности опоры и со ссылкой на первый центр вращения на валу имеется также четвертый центр вращения, который прикреплен к валу по существу в симметричном положении относительно второго центра вращения, и имеется пятый центр вращения, который расположен по существу симметрично к третьему центру вращения и функционально связан с подвижным контактом и может скользить в прорезях, образованных в валу, причем третья пружина и четвертая пружина прикреплены к четвертому и пятому центрам вращения и расположены вдоль двух противоположных сторон подвижного контакта, причем пятый центр вращения функционально взаимодействует со вторым подобным кулачку профилем таким образом, чтобы генерировать механический момент, который согласуется с направлением вращения подвижного контакта во время по меньшей мере одной финальной части стадии отделения активных поверхностей от соответствующих неподвижных контактов в состоянии короткого замыкания.
9. Автоматический выключатель по п.5, отличающийся тем, что вторая подобная кулачку поверхность, кроме того, образована на центральном корпусе и примыкает ко второй поверхности опоры и он содержит пятый центр вращения, который функционально связан с подвижным контактом таким образом, что он может двигаться относительно него, причем пятый центр вращения соединен со вторым центром вращения посредством третьей связи и четвертой связи, расположенных в опоре вала вдоль двух противоположных сторон подвижного контакта, причем третья пружина и четвертая пружина прикреплены к пятому и четвертому центрам вращения и расположены вдоль двух противоположных сторон подвижного контакта, причем пятый центр вращения функционально взаимодействует со второй подобной кулачку поверхностью таким образом, чтобы генерировать механический момент, который согласуется с направлением вращения подвижного контакта во время по меньшей мере одной финальной части отделения активных поверхностей от неподвижных контактов в состоянии короткого замыкания.
РИСУНКИ
Прежний патентообладатель:
АББ СЕРВИС СРЛ (IT)
(73) Патентообладатель:
АББ С.п.А. (IT)
Договор № РП0000758 зарегистрирован 18.05.2010
Извещение опубликовано: 27.06.2010 БИ: 18/2010
|
|