|
|
(21), (22) Заявка: 2003137776/28, 28.05.2002
(24) Дата начала отсчета срока действия патента:
28.05.2002
(30) Конвенционный приоритет:
04.06.2001 EP 01830365.1
(43) Дата публикации заявки: 10.02.2005
(46) Опубликовано: 10.03.2007
(56) Список документов, цитированных в отчете о поиске:
US 4143942 A, 13.03.1979. WO 9852197 A, 08.05.1998. RU 2157939 C2, 20.10.2000. RU 2138067 C1, 20.09.1999.
(85) Дата перевода заявки PCT на национальную фазу:
05.01.2004
(86) Заявка PCT:
EP 02/05849 (28.05.2002)
(87) Публикация PCT:
WO 02/099491 (12.12.2002)
Адрес для переписки:
129010, Москва, ул. Б.Спасская, 25, стр.3, ООО “Юридическая фирма Городисский и Партнеры”, пат.пов. Ю.Д.Кузнецову, рег.№ 595
|
(72) Автор(ы):
ДЖИНОККИО Алессандро (IT), ВАЛЛЬС ПРАТС Агусти (IT), КОНСОННИ Энрико (IT)
(73) Патентообладатель(и):
ПИРЕЛЛИ ЭНД К. СПА (IT)
|
(54) ОПТИЧЕСКИЙ КАБЕЛЬ, СНАБЖЕННЫЙ МЕХАНИЧЕСКИ-ПРОЧНОЙ ОБОЛОЧКОЙ
(57) Реферат:
Изобретение относится к оптическому кабелю, содержащему элемент для передачи оптических сигналов, и структуру, способную защищать упомянутый элемент. Упомянутая структура является многослойной структурой и располагается в позиции, радиально внешней по отношению к упомянутому одному элементу, и содержит: а) один первый защитный слой из полимерного материала в позиции, радиально внешней по отношению к упомянутому элементу; b) один защитный слой из вспененного полимерного материала в позиции, радиально внешней по отношению к упомянутому первому защитному слою, и с) один второй защитный слой из полимерного материала в позиции, радиально внешней по отношению к упомянутому защитному слою из вспененного полимерного материала. Вспененный полимерный материал имеет плотность от 0,3 до 0,7 кг/дм3 и модуль упругости на растяжение от 300 до 700 МПа при 20°С. Технический результат – повышенная защищенность кабеля против удара и сжатия при повышенной гибкости кабеля. 4 н. и 21 з.п. ф-лы, 5 ил.
Настоящее изобретение относится к оптическому кабелю для телекоммуникаций и/или для передачи данных, который, в частности, предназначен для установок наземного типа.
В частности, настоящее изобретение относится к оптическому кабелю, содержащему, по меньшей мере, один элемент для передачи оптических сигналов и многослойную защитную структуру, расположенную в позиции, радиально внешней по отношению к упомянутому, по меньшей мере, одному элементу, причем упомянутая защитная структура обеспечивает высокую механическую прочность упомянутого кабеля, главным образом, в отношении боковых напряжений, например, удара и/или сжатия.
В настоящем описании и в нижеследующей формуле изобретения, термин «элемент для передачи оптических сигналов» означает любой передающий элемент, содержащий, по меньшей мере, одно оптическое волокно. Поэтому этот термин обозначает как единичное оптическое волокно, так и совокупность оптических волокон, возможно, объединенных с образованием жгута оптических волокон или расположенных параллельно друг другу и покрытых общей оболочкой с образованием ленты (полосы) оптических волокон.
Кроме того, этот термин также включает в себя конфигурации, более сложные, чем одно оптическое волокно или совокупность оптических волокон. Поэтому данный термин подразумевает одно или несколько оптических волокон, размещенных в ограничивающей структуре, например трубчатом элементе, покрытии, микропокрытии или рифленой жиле. Предпочтительно, упомянутые трубчатый элемент, покрытие или микропокрытие выполнены из полимерного материала. Кроме того, упомянутые трубчатый элемент, покрытие или микропокрытие могут располагаться в канавках упомянутой рифленой жилы.
Согласно данной терминологии, одна или несколько упомянутых ограничивающих структур, заключающих в себе одно или несколько оптических волокон, традиционно обозначаются термином «оптическая жила». Например, оптическая жила может быть сформирована из совокупности трубчатых элементов, выполненных из полимерного материала скрученных друг с другом вокруг центрального армирующего элемента. В необязательном порядке, упомянутая оптическая жила может дополнительно содержать ткани и/или ленты, например, гигроскопичные ткани и/или ленты, которые можно использовать для создания вышеупомянутого скручивания. В настоящем описании и в нижеследующей формуле изобретения, термин «оптический кабель» означает волоконно-оптический кабель, т.е. кабель, снабженный, по меньшей мере, одним элементом для передачи оптических сигналов. Конкретно, в отношении приложений наземного типа, на этапе укладки и/или на этапе транспортировки оптического кабеля последний может подвергаться случайным ударам и/или сжатиям, например, по причине падения больших масс в виде глыб, комьев, вырытого материала или инструментов, используемых при прокладке кабеля, на кабель, находящийся в траншее для укладки кабеля.
Это случайное падение может приводить не только к произвольному и, по существу, мгновенному ударному воздействию на кабель, но и к постоянному сдавливающему действию на протяжении длительного времени, пока не будет удален(о) осыпавшийся выкопанный материал и/или экскаваторное оборудование, который(ое) по неосторожности положен(о) или упал(о) на поверхность кабеля.
Соответственно, для сохранения структурной целостности оптического кабеля, его обычно снабжают, по меньшей мере, одной защитной оболочкой, которая способна обеспечивать соответствующую механическую прочность упомянутого кабеля. Фактически, следует обратить внимание на то, что при отсутствии надлежащих мер по защите любые механические действия удара и/или сжатия (разрушения), даже средней силы, действующие на жилу оптического кабеля, могут передаваться непосредственно в отдельные оптические волокна, находящиеся в упомянутой жиле, прежде всего, приводят к возрастанию ослабления оптического сигнала, передаваемого по упомянутым волокнам и, затем, если явление продолжается, к повреждению волокон. Фактически, оптические волокна, сами по себе или даже размещенные в ограничивающей структуре, описанной выше, имеют ограниченную механическую прочность и особенно чувствительны к механическим воздействиям извне, даже малой силы. Минимальные деформации упомянутых волокон, а также ограничивающих структур последних, особенно в случае, когда деформированные структуры входят в контакт с волокнами, приводит к деформации самих волокон с последующим ухудшением их характеристик пропускания. Явление микродеформации структуры волокна, приводящее к ослаблению сигнала, передаваемого по волокну, обычно обозначается термином «микроизгиб».
В целях обеспечения заданной механической прочности оптического кабеля, достаточной для противодействия внешним силам, например удару и/или сжатию, традиционно используется броня, обычно металлическая, находящаяся в позиции, радиально внешней по отношению к оптической жиле, для защиты последней. Обычно упомянутая броня обеспечивается наложением металлической полоски, предпочтительно, гофрированной, сформированной вдоль кабеля, или скручиванием совокупности металлических проводов, намотанных в спиральной конфигурации. В этой связи, см., например, патентный документ US 4491386.
Из уровня техники также известно снабжение оптического кабеля амортизирующим слоем, выполненным из достаточно мягкого материала, например пенопласта, для защиты оптических волокон упомянутого кабеля. Этот амортизирующий слой можно объединять с различными конструктивными элементами кабеля. Например, его можно разместить внутри оптической жилы, чтобы он окружал каждый отдельный трубчатый элемент, содержащий оптические волокна, или, чтобы он сам образовывал трубчатый элемент, а также его можно разместить вне оптической жилы, например в позиции непосредственно под внешним полимерным покрытием кабеля.
Например, в патентном документе GB 1451232 предусмотрено использование слоя сжимаемого материала, который способен уменьшать деформацию волокон, если оптический кабель подвергается напряжению, в результате которого одно или несколько волокон испытывают продольное напряжение растяжения. В таком напряженном состоянии одно или несколько оптических волокон перемещаются поперек кабеля. Однако, поскольку упомянутые волокна контактируют с упомянутым сжимаемым амортизирующим слоем и сжимают его внутрь, частично проникая в него, деформация волокон значительно уменьшается.
Другой пример амортизирующего слоя, выполненного из мягкого материала, например пенопласта с модулем упругости, предпочтительно менее 100 МПа, описан в документе DE 3107024. Этот слой используется для защиты оптических волокон от поперечных сил, действующих поперек оптического кабеля.
Другие варианты осуществления, предусматривающие использование амортизирующих слоев упомянутого типа, описаны, например, в патентных документах GB 2159291 и GB 2184863.
Еще одно решение, направленное на улучшение механических свойств оптического кабеля, в частности прочности на удар и прочности на сжатие, описано в патентном документе US 4770489.
Упомянутый документ относится к оптическому кабелю, имеющему повышенную прочность на растяжение и расширенный диапазон рабочих температур, обеспеченный наличием, по меньшей мере, одного жесткого натяжного элемента, выполненного из пластика, армированного волокном, и имеющим большой модуль Юнга и малый коэффициент теплового расширения, причем упомянутый элемент может представлять собой либо оболочку, либо одну или несколько нитей, проходящих вдоль кабеля и внедренных в него.
В этом документе указано, что, в целях обеспечения высокой прочности на удар и прочности на сжатие оптического кабеля, а также, чтобы сделать допустимым высокое натяжение при прокладке без снижения возможностей пропускания самого кабеля, последний следует обеспечить, по меньшей мере, одним жестким натяжным элементом наподобие вышеупомянутого, и внешним покрытием из армированного пластика, например армированного волокнами, например волокнами из стекла, Келвара, волокнами из графита, внедренными в связующий материал в виде эпоксидной смолы.
Некоторые варианты осуществления, описанные в документе US 4770489, дополнительно предусматривают, что оптический кабель можно обеспечить амортизирующим слоем, способным улучшать характеристики изгиба и кривизны кабеля. Предпочтительно, амортизирующий слой выполнен из волокнистого материала, например Кевлара, или полипропиленовых нитей. При необходимости, упомянутый слой можно сделать из расширенного материала, например полиэтилена.
Документ WO 00/05730, поданный тем же заявителем, относится к комбинированному оптоэлектрическому кабелю, предназначенному для прокладки вдоль воздушных линий связи и электрической сети, особенно среднего напряжения.
Упомянутый кабель содержит трехфазный электрический кабель с изолированными проводниками, обмотанный вокруг несущего троса, содержащего оптическую жилу, заключенную в трубчатую структуру, устойчивую к поперечному сжатию.
Обычно трубчатая структура состоит из металлического покрытия (которое также может быть устойчивым к коррозии, например, алюминиевым или из нержавеющей стали) или из полимерного материала с высоким модулем упругости (например, полипропилена, модифицированного полипропилена, полибутилентерефталата (ПБТФ), полиэфирных имидов, полиэфирсульфонов).
Упомянутая трубчатая структура может, кроме того, состоять из вспененного полимерного материала наподобие описанного в патентной заявке WO 98/52197, поданной тем же заявителем, способного рассеивать энергию, порождаемую поперечными силами сжатия, которые могут возникать в процессе производства, прокладки и/или эксплуатации кабеля и, как отмечено выше, повреждать оптические волокна, что ведет к ослаблению передаваемого оптического сигнала.
Упомянутые силы сжатия могут быть вызваны либо изолированными фазовыми проводниками, которые под действием большой силы натяжения сжимают несущий трос и, следовательно, содержащиеся в нем оптические волокна, либо структурой поддержки кабеля, которая, будучи натянута, имеет тенденцию уменьшаться в диаметре, что приводит к уменьшению внутреннего пространства, где располагаются волокна.
Согласно конкретному варианту осуществления, описанному в вышеупомянутом документе WO 98/52197, комбинированный кабель содержит оптическую жилу, снабженную армирующим элементом, вокруг которого размещена совокупность трубчатых элементов для размещения оптических волокон, внедренных в демпфирующий наполнитель.
Согласно упомянутому варианту осуществления трубчатые элементы удерживаются в позиции вокруг армирующего элемента, при необходимости, скручены друг с другом согласно предпочтительной спиральной конфигурации посредством одной или нескольких лент, которые, помимо связывания жилы, могут также осуществлять механические и/или тепловые функции.
В свете решений, известных из уровня техники, заявитель пришел к выводу о необходимости в обеспечении оптического кабеля, предназначенного для приложений наземного типа, обладающего высокими механическими свойствами, а именно параметрами прочности на удар и прочности на сжатие, и который, в то же время, способен гарантировать высокие характеристики в смыслах легкости и гибкости.
Фактически, заявитель обнаружил, что решения, известные из уровня техники, имеют ряд недостатков.
Например, кабель, снабженный металлической броней, имеет значительно увеличенный вес, что сказывается не только на этапе прокладки упомянутого кабеля, но и на этапе транспортировки кабеля, и неизбежно увеличивает их стоимость.
Кроме того, кабель, снабженный вышеупомянутой броней, имеет высокую жесткость к изгибу, которая, в сочетании с упомянутым увеличенным весом, значительно ограничивает длину устанавливаемого кабеля, особенно в случае прокладки на земле, внутри существующих кабелепроводов.
Наконец, имеется три весьма существенных недостатка обеспечения металлической брони в структуре кабеля. Например, в случае закопанных кабелей, наличие металлических элементов требует заземления кабеля в целях безопасности и защиты посредством защитного троса, способного предохранять кабель, действуя как защитный элемент. Это означает, что способ изготовления и способ прокладки кабеля сложны, а следовательно, затратны как в смысле денег, так и в смысле времени. Решение, описанное в документе US 4770489, особенно сложно тем, что оно предусматривает размещение жестких натяжных элементов внутри структуры кабеля. Кроме того, это решение приводит к значительному увеличению веса, а также жесткости на изгиб упомянутого кабеля.
В отношении решений, известных из уровня техники, которые предусматривают использование амортизирующего слоя для защиты оптических волокон, размещенных в оптическом кабеле, заявитель обнаружил, что, ввиду мягкости используемого материала, упомянутый слой не способен гарантировать достаточную защиту при сильном ударе и/или сжатии, например, вызванном падением вырытой породы, расположенной на краю укладочной траншеи, по случайности падающей на кабель, находящийся на дне упомянутой траншеи.
Заявитель, начиная с конкретного варианта осуществления, описанного в вышеупомянутом документе WO 98/52197, обнаружил, что можно оптимизировать прочность на удар элемента для передачи оптических сигналов, расположенного в позиции, радиально внутренней по отношению к слою оболочки из вспененного полимерного материала.
В частности, заявитель обнаружил, что для получения оптического кабеля, устойчивого к ударам и силам сжатия, а также достаточно легкого и гибкого, в позиции, радиально внешней по отношению к оптической жиле упомянутого кабеля, необходимо обеспечить защитную структуру, содержащую, по меньшей мере, один слой оболочки из вспененного полимерного материала, находящегося посередине, по меньшей мере, одной пары слоев оболочки из полимерного материала. Конкретно, заявитель обнаружил, что слой оболочки из вспененного полимерного материала упомянутой защитной структуры обладает особой эффективностью, т.е. эффективно осуществляет функцию поглощения энергии случайного удара и/или противодействия данной силе сжатия, действующей на кабель, когда упомянутый слой вспененного полимерного материала поддерживается достаточно жестким структурным элементом упомянутого кабеля.
Другими словами, заявитель обнаружил, что слой оболочки из вспененного полимерного материала осуществляет вышеупомянутые функции в полную силу, когда, в позиции, радиально внутренней по отношению к упомянутому слою, и при условии взаимного контакта с последним, обеспечен слой защитной оболочки, имеющий достаточную жесткость и способный механически поддерживать упомянутый слой расширенного материала.
Итак, первый аспект настоящего изобретения предусматривает оптический кабель, содержащий:
по меньшей мере, один элемент для передачи оптических сигналов, и
структуру для защиты упомянутого, по меньшей мере, одного элемента, причем упомянутая структура располагается в позиции, радиально внешней по отношению к упомянутому, по меньшей мере, одному элементу,
отличающийся тем, что упомянутая структура является многослойной структурой, содержащей:
по меньшей мере, один первый защитный слой из полимерного материала в позиции, радиально внешней по отношению к упомянутому, по меньшей мере, одному элементу; по меньшей мере, один защитный слой из вспененного полимерного материала в позиции, радиально внешней по отношению к упомянутому, по меньшей мере, одному первому защитному слою, и
по меньшей мере, один второй защитный слой из полимерного материала в позиции, радиально внешней по отношению к упомянутому, по меньшей мере, одному защитному слою из вспененного полимерного материала,
причем вспененный полимерный материал имеет плотность от 0,3 до 0,7 кг/дм3 и модуль упругости на растяжение от 300 до 700 МПа при 20°С.
Предпочтительно, защитный слой из вспененного полимерного материала находится в состоянии взаимного контакта с упомянутым, по меньшей мере, одним первым защитным слоем, чтобы наилучшим образом выполнять свою функцию поглощения энергии случайного удара и/или сжатия, вызванного внешней силой, действующей на кабель.
Предпочтительный вариант осуществления настоящего изобретения предусматривает оптический кабель, содержащий:
оптическую жилу, снабженную, по меньшей мере, одним оптическим волокном;
по меньшей мере, один первый защитный слой из полимерного материала в позиции, радиально внешней по отношению к упомянутой оптической жиле;
по меньшей мере, один защитный слой из вспененного полимерного материала в позиции, радиально внешней по отношению к упомянутому, по меньшей мере, одному первому защитному слою, и по меньшей мере, один второй защитный слой из полимерного материала в позиции, радиально внешней по отношению к упомянутому, по меньшей мере, одному защитному слою из вспененного полимерного материала, причем вспененный полимерный материал имеет плотность от 0,3 до 0,7 кг/дм3 и модуль упругости на растяжение от 300 до 700 МПа при 20°С.
Согласно этому варианту осуществления, предпочтительно, защитный слой из вспененного полимерного материала находится в состоянии взаимного контакта с упомянутым, по меньшей мере, одним первым защитным слоем. Предпочтительно, защитный слой из вспененного полимерного материала находится в состоянии взаимного контакта с упомянутым, по меньшей мере, одним вторым защитным слоем.
Предпочтительно, оптический кабель, отвечающий настоящему изобретению, в позиции, радиально внешней по отношению к оптической жиле, содержащейся в кабеле, имеет, по меньшей мере, один армирующий слой, устойчивый к растяжению, например, арамидного типа, который способен обеспечивать надлежащую прочность на растяжение упомянутого кабеля.
Кроме того, заявитель обнаружил, что высокой прочности на удар и/или на сжатие можно добиться путем обеспечения многослойной защитной структуры, содержащей, по меньшей мере, один промежуточный защитный слой, расположенный посередине, по меньшей мере, одной пары дополнительных защитных слоев, соответственно, между слоем, радиально внутренним по отношению к промежуточному слою, и слоем, радиально внешним по отношению к промежуточному слою, причем модуль упругости на растяжение промежуточного слоя ниже, чем у пары дополнительных слоев.
Итак, второй аспект настоящего изобретения предусматривает многослойную защитную структуру для защиты, по меньшей мере, одного элемента для передачи оптических сигналов, причем многослойная структура располагается в позиции, радиально внешней по отношению к упомянутому, по меньшей мере, одному элементу, содержащую:
по меньшей мере, один первый защитный слой из полимерного материала в позиции, радиально внешней по отношению к упомянутому, по меньшей мере, одному элементу;
по меньшей мере, один защитный слой из вспененного полимерного материала в позиции, радиально внешней по отношению к упомянутому, по меньшей мере, одному первому слою оболочки, и
по меньшей мере, один второй защитный слой из полимерного материала в позиции, радиально внешней по отношению к упомянутому, по меньшей мере, одному защитному слою из вспененного полимерного материала,
причем модуль упругости на растяжение упомянутого вспененного полимерного материала ниже модуля упругости упомянутых, по меньшей мере, одного первого защитного слоя и, по меньшей мере, одного второго защитного слоя.
Предпочтительно, вспененный полимерный материал имеет плотность от 0,3 до 0,7 кг/дм3 и модуль упругости на растяжение от 300 до 700 МПа при 20°С.
Третий аспект настоящего изобретения предусматривает способ механической защиты, по меньшей мере, одного элемента для передачи оптических сигналов, причем способ содержит этап размещения многослойной структуры в позиции, радиально внешней по отношению к упомянутому, по меньшей мере, одному элементу, многослойная структура содержит, по меньшей мере, один защитный слой из вспененного полимерного материала, расположенный посередине, по меньшей мере, одной пары защитных слоев из полимерного материала, и модуль упругости на растяжение вспененного полимерного материала ниже модуля упругости на растяжение упомянутой, по меньшей мере, одной пары защитных слоев.
Предпочтительно, вспененный полимерный материал имеет плотность от 0,3 до 0,7 кг/дм3 и модуль упругости на растяжение от 300 до 700 МПа при 20°С.
Нижеследующее описание приведено со ссылкой на прилагаемые чертежи, обеспеченные исключительно для пояснения, а не в целях ограничения.
На фиг.1 представлен вид в перпендикулярном поперечном сечении первого варианта осуществления оптического кабеля согласно настоящему изобретению;
На фиг.2 и 3 представлен вид в перпендикулярном поперечном сечении двух вариантов осуществления оптической жилы;
На фиг.4 и 5 представлен вид в перпендикулярном поперечном сечении двух вариантов осуществления оптического кабеля согласно настоящему изобретению.
Для простоты описания на прилагаемых чертежах одинаковые позиции обозначают аналогичные или идентичные элементы.
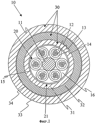
Оптический кабель 10 для телекоммуникаций и/или передачи данных по настоящему изобретению показан в перпендикулярном поперечном сечении на фиг.1.
Согласно показанному варианту осуществления упомянутый оптический кабель 10 содержит, в самой внутренней радиальной позиции, центральный армирующий элемент 11, вокруг которого обеспечены один или несколько трубчатых элементов 12, в каждом из которых заключено, по меньшей мере, одно оптическое волокно 13.
Предпочтительно, упомянутые трубчатые элементы 12 выполнены из полиэтилена (ПЭ), полипропилена (ПП) или полибутилентерефталата (ПБТФ).
Предпочтительно, упомянутый центральный армирующий элемент 11 выполнен из диэлектрического материала, например пластика, армированного стекловолокном, арамидными нитями (например, Кевлар) в сочетании со смолой, или из армирующих нитей, в общем случае, внедренных в обычное связующее вещество из термопластичного полимера или сшитого полимера.
Обычно, внутри упомянутых трубчатых элементов 12, оптические волокна 13 погружены в демпфирующий наполнитель (желеобразный материал) 14, который осуществляет функцию блокирования любого продольного распространения воды, вследствие случайного повреждения кабеля.
Материал, используемый в качестве демпфирующего наполнителя, обычно представляет собой состав на основе масла силиконового типа, минерального масла (нафтенового или парафинового) или синтетического масла, с добавлением агента коэффициента вязкости, например, эластомерного полимера, имеющего низкую температуру стеклования (например, полиизобутилена) и, при необходимости, загустителя или агента, придающего тиксотропность (например, пирогенного кварца), а также антиоксиданта. Предпочтительно использовать демпфирующие агенты на основе углеводородов или такие, которые в любом случае совместимы с полиолефиновыми материалами, образующими трубчатые элементы, когда такие материалы используются.
При необходимости, демпфирующий наполнитель также может осуществлять функцию поглотителя водорода. В этом случае, наполнитель является рассеянным в нем, например, углеродом, покрытым палладием, который способен поглощать водород.
Согласно варианту осуществления, показанному на фиг.1, узел, содержащий трубчатый элемент 12, в котором содержатся одно или несколько оптических волокон 13, образует вышеописанный элемент 20 для передачи оптических сигналов.
На фиг.1 показано шесть элементов 20 для передачи оптических сигналов, распределенных вокруг центрального армирующего элемента 11 и удерживаемых на месте с помощью ленточной обвязки 15 для ограничения.
Предпочтительно, ленточная обвязка 15 состоит из одного или нескольких витков лент, обычно на основе полиэфиров, осуществляющих как механические функции, так и функции теплоизоляции.
Предпочтительно, упомянутые ленты также являются гигроскопическими, т.е. они способны набухать при вступлении в контакт с водой, что препятствует продольному течению воды внутри кабеля.
В необязательном порядке, в позиции, радиально внешней по отношению к ленточной обвязке 15, располагается металлический экран, например, из алюминия. В общем случае, этот экран используется как барьер для распространения влаги в радиальном направлении и обычно имеет толщину от 0,15 до 0,2 мм.
В порядке альтернативы использованию гигроскопичных экранирующих лент, по аналогии с описанным наполнением трубчатых элементов, содержащих оптические волокна, вышеупомянутые трубчатые элементы 12 также можно погружать в подходящий демпфирующий наполнитель 16.
Предпочтительно, трубчатые элементы 12 скручены друг с другом вокруг центрального армирующего элемента 11 в соответствии со спиральной конфигурацией с заданным шагом, либо непрерывно, либо, предпочтительно, попеременно (тип S-Z).
Согласно варианту осуществления, показанному на фиг.1, узел, содержащий элементы 20 для передачи оптических сигналов, размещенный вокруг упомянутого центрального армирующего элемента 11 и удерживаемый на месте упомянутой ленточной обвязкой 15 ограничения, образует так называемую оптическую жилу 21 оптического кабеля 10, которая определена выше.
Другой тип оптической жилы 21′ показан, например, на фиг.2 и содержит центральный армирующий элемент 11, в радиально самом/внутреннем положении, вокруг которого экструдирован жесткий корпус 22, снабженный совокупностью канавок 23.
Упомянутые канавки 22 заполнены демпфирующим материалом 14 наподобие описанного выше, и предназначены для размещения, по меньшей мере, одного оптического волокна 13.
В положении, радиально внешнем по отношению к упомянутому жесткому корпусу 22, рифленая жила 21′ имеет, дополнительно, ленточную обвязку 15 ограничения наподобие описанного выше со ссылкой на фиг.1.
На фиг.3 показан, в перпендикулярном поперечном сечении, еще один тип оптической жилы 21″, содержащий один трубчатый элемент 12, в котором находится, по меньшей мере, одно оптическое волокно 13, предпочтительно, свободно погруженное в демпфирующий материал 14 вышеописанного типа.
Согласно варианту осуществления, показанному на фиг.1, оптический кабель 10, согласно настоящему изобретению содержит многослойную защитную структуру 30, расположенную в позиции, радиально внешней по отношению к оптической жиле 21.
В частности, в направлении по радиусу изнутри наружу, многослойная защитная структура 30 содержит: первый защитный слой 31 из полимерного материала, защитный слой 32 из вспененного полимерного материала и второй защитный слой 33 из полимерного материала.
Далее в настоящем описании и нижеследующей формуле изобретения, термин «вспененный полимерный материал» означает полимерный материал с заданным процентом «свободного» пространства в материале, т.е. пространства, занятого не полимерным материалом, а газом или воздухом.
В общем случае, этот процент свободного пространства во вспененном полимерном материале выражается так называемой «степенью расширения» (G), определенной следующим образом:

где d0 обозначает плотность нерасширенного полимера, a de обозначает видимую плотность, измеренную на расширенном полимере (конечную плотность).
Согласно настоящему изобретению расширяемый полимерный материал можно выбрать из группы, содержащей: полиолефины, сополимеры различных олефинов, сополимеры олефинов с ненасыщенными эфирами, полиэфиры, поликарбонаты, полисульфоны, фенолоальдегидные полимеры, мочевиновые полимеры и их смеси. Примерами предпочтительных полимеров являются: полиэтилен (ПЭ), в особенности ПЭ низкой плотности (НППЭ), ПЭ средней плотности (СППЭ), ПЭ высокой плотности (ВППЭ) и линейный ПЭ низкой плотности (ЛНППЭ); полипропилен (ПП); эластомерные сополимеры этилена и пропилена (ЭСЭП) или тройные сополимеры этилена, пропилена и диена (ЭСЭПД); натуральный каучук; бутилкаучук; сополимеры этилена и винилового эфира, например сополимер этилена и винилацетата (ЭВА); сополимеры этилена и акрилата, в особенности сополимер этилена и метилакрилата (ЭМА), сополимер этилена и этилакрилата (ЭЭА), сополимер этилена и бутилакрилата (ЭБА); термопластические сополимеры этилена и -олефина; полистирол; сополимеры акрилонитрила, бутадиена и стирола (АБС); галогенированные полимеры, в особенности поливинилхлорид (ПВХ); полиуретан (ПУР); полиамиды; ароматические полиэфиры, например полиэтилентерефталат (ПЭТФ) или полибутилентерефталат (ПБТФ); и их сополимеры или механические смеси.
Предпочтительно, полимерный материал представляет собой полиолефиновый полимер или сополимер на основе этилена или пропилена и, в частности, подлежит выбору из:
(a) сополимеров этилена с этиленически ненасыщенным эфиром, примером которых является винилацетат или бутилацетат, в котором количество ненасыщенного эфира составляет в целом от 5 до 80 вес.%, предпочтительно, от 10 до 50 вес.%;
(b) эластомерных сополимеров этилена с, по меньшей мере, одним С3-С12 -олефином и, в необязательном порядке, диеном, предпочтительно, сополимеров этилена и пропилена (ЭСЭП) или тройных сополимеров этилена, пропилена и диена (ЭСЭПД), предпочтительно, имеющих следующий состав: 35-90 мол.% этилена, 10-65 мол.% -олефина, 0-10 мол.% диена (например, 1,4-гексадиен или 5-этилиден-2-норборнен);
(c) сополимеров этилена с, по меньшей мере, одним C4-C12 -олефином, предпочтительно, 1-гексен, 1-октен и т.д., и, в необязательном порядке, диеном, обычно имеющих плотность от 0,86 до 0,90 г/см3 и следующий состав: 75-97 мол.% этилена, 3-25 мол.% -олефина, 0-5 мол.% диена;
(d) полипропилена, модифицированного сополимерами этилена и С3-С12 -олефина, где весовое отношение между пропиленом и сополимером этилена и С3-С12 -олефина составляет от 90/10 до 30/70, предпочтительно, от 50/50 до 30/70.
Например, класс (а) включает в себя коммерческие продукты Elvax® (Du Pont), Levapren® (Bayer), Lotryl® (Elf-Atochem); класс (b) включает в себя продукты Dutral® (Enichem) или Nordel® (Dow-Du Pont); класс (с) включает в себя продукты Engage® (Dow-Du Pont) или Exact® (Exxon), тогда как полипропилен, модифицированный сополимерами этилена и -олефина, коммерчески доступен под торговыми марками Moplen® или Hifax® (Basell), или Fina-Pro® (Fina) и т.п. В частности, в классе (d) предпочтительными являются термопластические эластомеры, содержащие непрерывный связующий материал термопластического полимера, например, полипропилен, и малые частицы (обычно диаметром порядка 1-10 мкм) вулканизированного эластомерного полимера, например, сшитого ЭСЭП или ЭСЭПД, рассеянные в термопластическом связующем веществе. Эластомерный полимер можно включить в термопластическое связующее вещество в невулканизированном состоянии, а затем динамически сшивать в процессе добавления надлежащего количества сшивающего агента. Альтернативно, эластомерный полимер можно вулканизировать отдельно, а затем рассеивать в термопластическом связующем веществе в виде малых частиц. Термопластические эластомеры этого типа описаны, например, в документах US 4104210 или ЕР 324430.
Среди полимерных материалов, тугоплавкий полипропилен, описанный, например, в патенте US 4916198, коммерчески доступный под торговой маркой Profax® (Basell), стал особенно предпочтительным. В упомянутом документе описан процесс изготовления упомянутого полипропилена на этапе облучения линейного полипропилена, осуществляемого с использованием высокоэнергичного ионизирующего излучения в течение периода времени, достаточного для обеспечения формирования большого количества длинных ответвлений цепи, причем за этим этапом следует обработка облученного материала для деактивации свободных радикалов, имеющихся в облученном материале.
Даже более предпочтительно, особенно привилегированным среди полимерных материалов является полимерный состав, содержащий вышеупомянутый полипропилен с высоким показателем разветвленности, в целом, в количестве от 30 до 70 вес.%, смешанный с вышеупомянутым термопластическим эластомером, относящимся к классу (d), в количестве от 30 до 70 вес.%, причем указанные проценты выражены относительно суммарного веса полимерного состава.
Согласно настоящему изобретению степень расширения полимерного материала упомянутого защитного слоя 32 из вспененного полимерного материала может варьироваться от 20 до 250% и, предпочтительно, от 50 до 150%.
Вспененный полимерный материал защитный слой 32 упомянутой многослойной защитной структуры 30, согласно настоящему изобретению для обеспечения гарантий оптимальных результатов в отношении прочности на удар и/или сжатие, должен обладать плотностью (т.е. конечной плотностью de в вышеприведенной формуле (1)) от 0,3 до 0,7 кг/дм, предпочтительно, от 0,4 до 0,6 кг/дм3.
Кроме того, предпочтительно, упомянутый вспененный полимерный материал защитного слоя 32 имеет модуль упругости на растяжение от 300 до 700 МПа при 20°С, предпочтительно, от 400 до 600 МПа.
Исходный расширяемый полимерный материал, выбранный из указанной выше группы, имеет плотность (т.е. плотность d0 в вышеприведенной формуле (1)) от 0,85 до 1,10 кг/дм3. Кроме того, исходный расширяемый полимерный материал имеет модуль упругости на растяжение от 700 до 1100 МПа при 20°С. В целом, вышеупомянутый первый защитный слой 31 и второй защитный слой 33 упомянутой многослойной защитной структуры 30 согласно изобретению выполнены из одного и того же полимерного материала.
Предпочтительно, упомянутый полимерный материал выбран из группы, содержащей: полиэтилен низкой плотности (НППЭ) (d=0,910-0,925 г/см3); полиэтилен средней плотности (СППЭ) (d=0,926-0,940 г/см3); полиэтилен высокой плотности (ВППЭ) (d=0,941-0,965 г/см3); сополимеры этилена с -олефинами; полипропилен (ПП); эластомерные сополимеры этилена и -олефина, в частности эластомерные сополимеры этилена и пропилена (ЭСЭП), эластомерные сополимеры этилена, полипропилена и диена (ЭСЭПД); натуральный каучук; бутилкаучуки; и их смеси. Сополимеры, получаемые сополимеризацией этилена с, по меньшей мере, одним -олефином, имеющим от 3 до 12 атомов углерода, и, возможно, с диеном в присутствии «одноместного» катализатора, в частности, металлоценового катализатора или «катализатора ограниченной геометрии», особенно предпочтительны. К вышеупомянутому полимерному материалу можно добавлять другие традиционные компоненты, например, антиоксиданты, коактиваторы, смазки, красители, другие наполнители и т.п. Традиционные антиоксиданты, пригодные для этих целей, представляют собой, например, полимеризованный триметилдигидрохинолин, 4,4′-тиобис(3-метил-6-терт-бутил)фенол; пентаэритрилтетра[3-(3,5-дитерт-бутил-4-гидроксифенил)пропионат], 2,2′-тиодиэтилен-бис[3-(3,5)-дитерт-бутил-4-гидроксифенил)пропионат] и т.п., или их смеси.
В конкретном варианте осуществления, упомянутые первый защитный слой 31 и второй защитный слой 33 многослойной защитной структуры 30 согласно изобретению выполнены из разных материалов.
Например, в конкретных областях применения, предпочтительно, чтобы второй защитный слой 33 состоял из огнеупорного материала.
Предпочтительно, второй защитный слой 33 толще первого защитного слоя 31.
Обычно, первый защитный слой 31, выполненный из полимерного материала, имеет толщину от 0,5 до 2,0 мм, предпочтительно, от 0,7 до 1,5 мм.
Обычно, второй защитный слой 33, выполненный из полимерного материала, имеет толщину от 0,5 до 3,0 мм, предпочтительно, от 0,9 до 2,0 мм.
Согласно варианту осуществления, показанному на фиг.1, оптический кабель 10, согласно настоящему изобретению, дополнительно содержит армирующий слой 34 диэлектрического типа, способный обеспечивать заданную прочность на растяжение кабеля, что особенно предпочтительно при укладке кабеля.
Предпочтительно, упомянутый армирующий слой 34 выполнен из арамидных нитей и/или стекловолоконных нитей. В необязательном порядке, упомянутый армирующий слой 34 выполнен из углеродно-волоконных нитей или нитей на основе полиэфира или полипропилена.
Предпочтительно, упомянутый армирующий слой 34 находится в позиции, радиально внешней по отношению к защитному слою 32 из вспененного полимерного материала, в состоянии взаимного контакта с последним.
Для приложений наземного типа, предпочтительно, чтобы армирующий слой 34 имел толщину от 0,2 до 0,6 мм, причем эта толщина зависит от количества используемых нитей. Однако следует обратить внимание на то, что в случае воздушных кабелей, эта толщина может быть и больше, поскольку обычно используется большее количество нитей.
На фиг.4 показан, в перпендикулярном поперечном сечении, еще один вариант осуществления оптического кабеля 40, содержащего многослойную защитную структуру 30, согласно настоящему изобретению.
Конкретно, согласно варианту осуществления, показанному на фиг.4, элемент 20 для передачи оптических сигналов, определенный выше, содержащийся в оптическом кабеле 40, представляет собой совокупность оптических волокон 13, погруженных в демпфирующий наполнитель 14.
Поэтому, согласно данному варианту осуществления, первый защитный слой 31 упомянутой многослойной защитной структуры 30 также образует структуру для удержания оптических волокон, погруженных в демпфирующий наполнитель.
На фиг.5, в перпендикулярном поперечном сечении, показан еще один вариант осуществления оптического кабеля 50, содержащего многослойную защитную структуру 30, согласно изобретению.
В частности, оптический кабель 50 содержит оптическую жилу рифленого типа (аналогичную показанной на фиг.2), в позиции, радиально внешней, по отношению к которой размещена упомянутая многослойная защитная структура 30.
Что касается процесса изготовления оптического кабеля, отвечающего настоящему изобретению, главные этапы, характеризующие вышеупомянутый процесс, в случае изготовления оптического кабеля наподобие показанного на фиг.1, описаны ниже. Оптическую жилу 21 оптического кабеля получают в соответствии с традиционными методами, поэтому этот вопрос не будет описан подробно.
Оптическую жилу 21, намотанную на бобину, подают на первую экструзионную линию для экструдирования на упомянутую оптическую жилу 21 первого защитного слоя 31 из полимерного материала многослойной защитной структуры 30 согласно изобретению.
После первой экструзии, оптическую жилу 21, покрытую первым защитным слоем 31, подвергают циклу охлаждения. Предпочтительно, охлаждение вызывают путем перемещения оптической жилы в совокупности с первым защитным слоем внутрь охлаждающего канала, где находится подходящая текучая среда, обычно вода при определенной температуре, обычно от 10 до 25°С, в зависимости от длины охлаждающего канала и линейной скорости самой линии.
После охлаждения, упомянутый узел собирают на подающей бобине.
Процесс изготовления оптического кабеля предусматривает второй этап экструзии для размещения защитного слоя 32 вспененного полимерного материала в позиции, радиально внешней по отношению к первому защитному полимерному слою 31. Согласно вышеупомянутому документу WO 98/52197, этап экструзии полимерного материала, образующего упомянутый защитный слой 32, осуществляется в ходе операции экструдирования.
Это расширение можно осуществлять либо химически, добавляя на этапе подготовки полимерного состава соответствующего расширяющего агента, способного создавать газ в подходящих условиях давления и температуры, либо физически, впрыскивая газ под высоким давлением непосредственно в корпус экструдера. Примерами подходящих расширяющих агентов могут служить: азодикарбамид, паратолуенсульфонилгидразид, смеси органических кислот (например, лимонной кислоты) с карбонатами и/или бикарбонатами (например, бикарбонатом натрия) и т.п. Примеры газов, которые можно впрыскивать под высоким давлением в корпус экструдера, представляют собой: азот, двуокись углерода, воздух, легкокипящие углеводороды (например, пропан или бутан), галогенированные углеводороды (например, метиленхлорид, трихлорфторметан, 1-хлоро-1,1-дифторэтан и т.п.) или их смеси.
Выяснилось, что в одинаковых условиях экструзии (например, скорости вращения винта, скорости экструзионной линии, диаметре экструзионной головки) одним из параметров процесса, оказывающих наибольшее влияние на степень расширения, является температура экструзии. В целом, для температур экструзии ниже 130°С трудно получить достаточную степень расширения; предпочтительно, чтобы температура экструзии составляла, по меньшей мере 140°С и, в особенности, около 180°С. В целом, повышение температуры экструзии соответствует повышению степени расширения.
Кроме того, можно в некоторой степени управлять степенью расширения полимера, регулируя скорость охлаждения. Таким образом, соответствующим образом замедляя или ускоряя охлаждение полимера, образующего расширенный слой оболочки на выходе экструдера, можно увеличивать или уменьшать степень расширения полимерного материала.
После второго этапа экструдирования, оптическую жилу совместно с оболочкой подвергают соответствующему циклу охлаждения, в соответствии с описанным выше, и наматывают на другую бобину хранения.
Затем, процесс изготовления оптического кабеля предусматривает, что в позиции, радиально внешней по отношению к защитному слою 32 из вспененного полимера, общеизвестным способом размещают армирующий слой 34 (если предусмотрен, например, кевларовые нити), после чего, на следующем этапе экструдирования, накладывают второй защитный слой 33 из полимерного материала упомянутой многослойной защитной структуры.
Предпочтительно, упомянутые армирующий слой 34 и второй защитный слой 33 накладывают на одной и той же линии.
После упомянутого следующего этапа экструдирования, сформированный оптический кабель опять же охлаждают и собирают на бобину.
Вышеописанный процесс изготовления предусматривает, как было отмечено, несколько последовательных этапов экструдирования. Предпочтительно выполнять этот процесс за один проход, например, «тандемным» методом, используя несколько отдельных экстру деров, установленных последовательно. В порядке еще одной альтернативы, процесс можно осуществлять посредством совместного экструдирования, с использованием одной экструзионной головки.
Если нужно изготовить оптический кабель, отличающийся от показанного на фиг.1, например, оптический кабель наподобие изображенного на фиг.4 и 5, то вышеописанный процесс изготовления можно видоизменить соответствующим образом в соответствии с подаваемыми командами или техническими знаниями, которыми обладает специалист в данной области.
В порядке дальнейшего описания изобретения, рассмотрим некоторые иллюстративные примеры, приведенные ниже.
ПРИМЕР 1
Изготовление оптического кабеля для телекоммуникаций и/или передачи данных осуществили в соответствии с конструкцией, изображенной на фиг.1.
Оптическая жила упомянутого кабеля содержала центральный армирующий элемент из пластика, усиленного стекловолокном, имеющий модуль упругости на растяжение, равный 50000 МПа при 20°С. Диаметр центрального элемента составлял 2,7 мм.
Кроме того, оптическая жила содержала 6 трубчатых элементов, каждый из которых вмещал 12 оптических волокон, погруженных в демпфирующий наполнитель на углеводородной основе (желе). Каждый трубчатый элемент имел внутренний диаметр 1,8 мм и наружный диаметр 2,5 мм. Трубчатые элементы были скручены друг с другом согласно открытой спиральной конфигурации, полученной путем выполнения, попеременно, 8 оборотов против часовой стрелки (т.е. тип S) и 8 оборотов по часовой стрелке (т.е. тип Z). Упомянутая спираль имела средний шаг 85 мм. В завершение скручивания использовали традиционную связывающую нить на полипропиленовой основе.
Изготовление жилы завершили путем ленточной обвязки вышеупомянутых трубчатых элементов, которую выполняли с использованием ленты на полиэфирной основе, содержащей гигроскопический порошок, способный блокировать, в результате набухания, любое проникновение воды внутрь кабеля. Толщина упомянутой ленточной обвязки составляла около 0,4 мм.
В позиции, радиально внешней по отношению к полученной таким образом оптической жиле, обеспечили многослойную защитную структуру, согласно изобретению содержащую, соответственно, в направлении к наружной поверхности кабеля: а) первый защитный слой из полиэтилена; b) защитный слой из вспененного полимерного материала; с) армирующий слой арамидного типа; d) второй защитный слой из полиэтилена.
В частности, первый защитный слой и второй защитный слой были выполнены из полиэтилена низкой плотности, имеющего модуль упругости на растяжение от 800 до 1400 МПа при 20°С. Толщина первого защитного слоя составляла 1 мм, а толщина второго защитного слоя составляла 1,5 мм.
Защитный слой из вспененного полимерного материала получили с использованием, в качестве полимерного материала основы, HIGRAN SD817® (тугоплавкого полипропилена, производимого Basell). Толщина защитного слоя из вспененного полимерного материала составляла 1,5 мм. Расширение упомянутого защитного слоя осуществляли химически, добавляя в загрузочную воронку экструдера 1,5 вес.% (относительно суммарного) расширяющего агента Hydrocerol® CF 70 (карбоксильная кислота/бикарбонат натрия), производства Boehringer Ingelheim.
Расширенный защитный слой имел конечную плотность 0,4 кг/дм3 и степень расширения около 130 мас.%.
Вышеупомянутый армирующий слой арамидного типа получили, обеспечив первый слой, содержащий пятнадцать нитей Twaron 2200®, скрученных согласно конфигурации S-типа, и второй слой, наложенный на первый слой, содержащий пятнадцать нитей Twaron 2200®, скрученных согласно конфигурации Z-типа. Упомянутые нити имели линейную плотность 1620 dTex (dTex обозначает вес в граммах 10000 м нити). Суммарное количество используемых арамидных нитей было равно 36, и толщина полученного слоя нитей была равна 0,15 мм.
В Таблице 1 приведены подробности конструкции вышеописанного кабеля, а также подробности конструкции кабелей, описанных в нижеследующих сравнительных примерах, совместно с результатами испытаний, произведенных над кабелями.
Полученные таким образом кабели были испытаны в отношении прочности на удар и прочности на растяжение, согласно описанному ниже со ссылкой на международный стандарт ШС 794-1 в отношении условий проведения испытаний.
Испытание для определения прочности на удар
Испытание на удар состояло в падении, с фиксированной высоты 1 м, ударника определенного веса и сферической формы с радиусом кривизны 10 мм. Использование уменьшенного радиуса кривизны ударной поверхности, фактически, дает возможность добиться переноса энергии удара в конкретно ограниченную область образца, что приводит к повышению суровости испытания. Для определения силы удара, провели совокупность последовательных ударных испытаний на образце кабеля, постепенно увеличивая вес ударника. Ударные испытания проводили на одном и том же образце, но в разных его точках, чтобы не производить удар два или более раз в одну точку.
В конце каждого удара, повреждение оценивали как посредством визуального наблюдения самого внешнего слоя оболочки (т.е. второго полимерного слоя оболочки многослойной защитной структуры, отвечающей изобретению) кабеля в точке удара, так и путем проверки пропускной способности оптических волокон, содержащихся в кабеле, сразу после удара.
Пропускную способность оптического кабеля оценивали, отслеживая все оптические волокна, соединенные в «петлю», т.е. соединяя волокна последовательно и проверяя наличие изменений в ослаблении передаваемого оптического сигнала вследствие удара.
Испытание останавливали при обнаружении повреждения наружного слоя оболочки кабеля и/или при обнаружении минимального временного ослабления оптического сигнала, передаваемого по упомянутому кабелю.
Что касается вышеописанного оптического кабеля, упомянутый кабель проявил значительную прочность на удар, выдерживая энергии порядка 40 Дж. Иными словами, вышеупомянутый оптический кабель не показал поверхностного повреждения и/или ослабления оптического сигнала, даже временного, при значениях энергии удара меньших или равных 40 Дж.
Испытание для определения прочности на сжатие
Это испытание на сжатие состояло в приложении на определенный период времени, около пятнадцати минут, силы сжатия в направлении, перпендикулярном внешней поверхности образца вышеупомянутого оптического кабеля.
В частности, упомянутую силу сжатия прикладывали к образцу кабеля косвенно, т.е. прокладывали стальной блок определенных размеров (длиной 100 мм) в соответствии со стандартом IEC 794-1.
Испытание состояло в проверке пропускной способности оптического кабеля в условиях действия силы сжатия в течение периода времени пятнадцать минут. Проверку пропускной способности осуществляли аналогично описанному для ударного испытания. Испытание повторяли несколько раз на образце кабеля, изменяя величину приложенной силы, и считали его завершенным, когда во время приложения упомянутой силы замеряли даже минимальное ослабление оптического сигнала, передаваемого по упомянутому кабелю.
Кроме того, испытание состояло в визуальном наблюдении повреждения самого внешнего слоя оболочки кабеля в точке приложения силы сжатия.
Что касается вышеописанного оптического кабеля, последний проявил значительную прочность на сжатие, выдерживая значения сжатия порядка 4 кН. Иными словами, вышеупомянутый оптический кабель не показал никакого ослабления, даже временного, под действием силы сжатия меньшей или равной 4 кН.
ПРИМЕР 2 (сравнительный)
Изготовили оптический кабель, снабженный такой же оптической жилой, как в Примере 1, в позиции, радиально внешней по отношению к которой, соответственно располагались следующие слои: а) слой вспененного полимерного материала; b) армирующий слой арамидного типа; с) наружный слой оболочки из полиэтилена.
В частности, слой вспененного полимерного материала получили с использованием того же состава, что в Примере 1, и расширение осуществили химически, добавляя в приемную воронку экструдера 1,3 вес.% (относительно суммарного) расширяющего агента Hydrocerol® BIH-40. Слой вспененного полимерного материала имел конечную плотность 0,5 кг/дм3, степень расширения около 85% и толщину 1 мм.
Армирующий слой арамидного типа был такой же, как в Примере 1, и полипропиленовый слой оболочки, идентичный описанному в Примере 1, имел толщину 1,5 мм.
Аналогично Примеру 1, полученный таким образом оптический кабель подвергли испытанию на удар и испытанию на сжатие.
В частности, оптический кабель был способен выдержать энергию удара порядка 20 Дж и силу сжатия порядка 2,5 кН, не показывая при этих значениях даже временных изменений ослабления.
ПРИМЕР 3 (сравнительный)
Изготовили такой же оптический кабель, как в Примере 2, с единственной разницей, что слой вспененного полимерного материала, полученный с использованием того же состава, что и в Примере 1, имел конечную плотность, равную 0,4 кг/дм3 (расширение осуществляли химически, добавляя в приемную воронку экструдера 1,7 вес.%, относительно суммарного, расширяющего агента Hydrocerol® BIH-40), степень расширения около 130% и толщину 1,9 мм.
Полученный таким образом оптический кабель имел возможность выдерживать энергию удара около 25 Дж и силу сжатия около 2,5 кН, не показывая при этих значениях даже временных изменений ослабления.
ПРИМЕР 4 (сравнительный)
Изготовили такой же оптический кабель, как в Примере 3, с единственной разницей, что слой вспененного полимерного материала имел конечную плотность 0,5 кг/дм3 и степень расширения 85%.
Полученный таким образом оптический кабель имел возможность выдерживать энергию удара около 30 Дж и силу сжатия около 3 кН.
ПРИМЕР 5 (сравнительный)
Изготовили такой же оптический кабель, как в Примере 4, с единственной разницей, что слой вспененного полимерного материала имел толщину 2,5 мм.
Полученный таким образом оптический кабель имел возможность выдерживать энергию удара около 35 Дж и силу сжатия около 3,25 кН.
ПРИМЕР 6 (сравнительный)
Изготовили оптический кабель, снабженный такой же оптической жилой, как в Примере 1. В позиции, радиально внешней по отношению к упомянутой оптической жиле, соответственно располагались следующие слои: а) защитный слой из полиэтилена и b) наружный слой вспененного полимерного материала.
В частности, слой вспененного полимерного материала имел такие же характеристики, как в Примере 1 (конечную плотность, равную 0,4 кг/дм3, степень расширения около 130%, толщину 1,5 мм), тогда как защитный слой из полиэтилена, такой же, как в Примере 1, имел толщину 1 мм.
Полученный таким образом оптический кабель выдерживал энергию удара около 10 Дж и силу сжатия около 3,25 кН.
ПРИМЕР 7 (сравнительный)
Изготовили оптический кабель, снабженный такой же оптической жилой, как в Примере 1, обеспечив, соответственно, следующие слои в позиции, радиально внешней к последней: а) первый защитный слой из полиэтилена; b) второй защитный слой из полиэтилена; с) армирующий слой арамидного типа; d) третий наружный защитный слой из полиэтилена.
В частности, вышеупомянутые защитные слои из полиэтилена получили с использованием материала, описанного в Примере 1, и они имели, соответственно, толщину 1 мм для первого защитного слоя, 1,5 мм для второго защитного слоя и 1,5 мм для третьего защитного слоя.
Армирующий слой арамидного типа был такой же, как в Примере 1.
Полученный таким образом оптический кабель выдерживал энергию удара около 30 Дж и силу сжатия около 4 кН.
ПРИМЕР 8 (сравнительный)
Изготовили оптический кабель, снабженный такой же оптической жилой, как в Примере 1, обеспечив, соответственно, следующие слои в позиции, радиально внешней к упомянутой оптической жиле: а) первый защитный слой из полиэтилена; b) армирующий слой из арамидных нитей; с) традиционную металлическую броню; d) второй наружный защитный слой из полиэтилена.
В частности, вышеупомянутые защитные слои из полиэтилена получили с использованием материала, описанного в Примере 1, и они имели, соответственно, толщину 1 мм для первого защитного слоя и 1,5 мм для второго защитного слоя.
Армирующий слой арамидного типа был такой же, как в Примере 1.
Металлическая броня состояла из стальной полоски с гальваническим покрытием на обеих сторонах, причем толщина стали была равна 0,15 мм, намотанной в виде трубки на кабель после предварительного гофрирования с последующей сваркой нагреванием в продольном направлении с перекрытием около 7 мм.
Полученный таким образом оптический кабель выдерживал энергию удара около 20 Дж и силу сжатия около 4,25 кН.
Для пояснения описания, результаты испытаний прочности на удар и прочности на сжатие, относящиеся к вышеприведенным примерам, представлены в нижеследующей Таблице 1.
| Таблица 1 |
| Пример |
Прочность на удар (Дж) |
Прочность на сжатие (кН) |
№1 (ПЭ: 1 мм; пена: 1,5 мм, 0,4 кг/дм3; Кевлар; ПЭ:1,5 мм) |
40 |
4 |
№2 (пена: 1 мм, 0,5 кг/дм3; Кевлар; ПЭ: 1,5 мм) |
20 |
2,5 |
№3 (пена: 1,9 мм, 0,4 кг/дм3; Кевлар; ПЭ: 1,5 мм) |
25 |
2,5 |
№4 (пена: 1,9 мм, 0,5 кг/дм3; Кевлар; ПЭ: 1,5 мм) |
30 |
3 |
№5 (пена: 2,5 мм, 0,5 кг/дм3; Кевлар; ПЭ: 1,5 мм) |
35 |
3,25 |
№6 (ПЭ: 1 мм; пена: 1,5 мм, 0,4 кг/дм3) |
10 |
3,25 |
№7 (ПЭ: 1 мм; ПЭ:1,5 мм; Кевлар; ПЭ:1,5 мм) |
30 |
4 |
№8 (ПЭ: 1 мм; сталь: 0,15 мм; Кевлар; ПЭ: 1,5 мм) |
20 |
4,25 |
Анализ вышеописанных испытаний, проведенных на кабелях, приводит к следующим выводам.
Во-первых, конфигурация кабеля, описанная в Примере 1, демонстрирует высокую прочность на удар, большую, чем у рассмотренных сравнительных кабелей, а также высокую прочность на сжатие, по существу, сравнимую с прочностью кабеля, снабженного броней металлического типа (Пример 8).
Кроме того, размещение слоя вспененного полимерного материала, т.е. с низким модулем упругости, в качестве самого внешнего слоя оболочки оптического кабеля (Пример 6) оказалось самым неоптимальным решением, поскольку оно не дает значительного вклада в прочность на удар упомянутого кабеля, и этот параметр сохраняет очень низкие значения (10 Дж в Примере 6).
Из конфигурации, описанной в Примере 2, можно сделать вывод, что при размещении слоя вспененного полимерного материала под самым внешним защитным слоем оптического кабеля, прочность на удар, придаваемая последнему, значительно возрастает (удваивается с 10 Дж в Примере 6 до 20 Дж в Примере 2). Это, в основном, объясняется тем, что в Примере 2 удар приходится на внешний слой (из полиэтилена) с более высоким модулем упругости по сравнению со слоем вспененного полимерного материала. Поэтому, поскольку внешний слой в меньшей степени поддается проникновению со стороны испытательного ударника, деформация, создаваемая последним, переносится на нижележащий слой вспененного полимерного материала по большей площади. Таким образом, это порождает более обширную деформацию нижележащего слоя, которая затем обеспечивает большее поглощение энергии удара, приводя к уменьшению переноса последней в нижележащую оптическую жилу.
Однако, несмотря на значительное увеличение прочности на удар, наличие слоя вспененного полимерного материала под наружным защитным слоем из полиэтилена (Пример 2) вызывает заметное снижение прочности на сжатие по сравнению с примером, когда слой вспененного полимерного материала является самым внешним защитным слоем (Пример 6). Заявитель считает, что причина в том, что слой вспененного полимерного материала в Примере 2 не способен обеспечивать достаточное противодействие силе сжатия, действующей на кабель, поскольку слой вспененного полимерного материала не поддерживается слоем, который имеет достаточную жесткость, чтобы поддерживать его.
Кроме того, сравнивая Примеры 2, 4 и 5, можно заметить, что при одинаковой конечной плотности расширенного материала, увеличение толщины слоя вспененного полимерного материала приводит к благоприятному увеличению как прочности на удар, так и прочности на сжатие, причем увеличение толщины обеспечивает большее поглощение энергии, действующей на кабель.
Сравнивая Примеры 1, 5 и 7, можно заметить, что при одинаковом диаметре (указанные примеры фактически предусматривают толщину 4 мм поверх той же оптической жилы), многослойная защитная структура согласно изобретению оказывается особенно предпочтительной. Фактически, упомянутая структура, содержащая защитный слой с низким модулем упругости (т.е. защитный слой из вспененного материала), расположенный между двумя защитными слоями с более высокими модулями упругости (т.е. слоями покрытия из полимерного материала, в примерах – полиэтилена), гарантирует высокую прочность на удар и прочность на сжатие в сравнении как с конфигурацией кабеля, в которой защитный слой из вспененного полимерного материала, несмотря на большую толщину (2,5 мм в Примере 5), находится в прямом контакте с оптической жилой, так и с конфигурацией кабеля, в которой многослойная структура, радиально внешняя по отношению к оптической жиле, содержит материалы с более высокими модулями упругости (Пример 7). Кроме того, последнее решение также оказывается неблагоприятным в отношении общего веса оптического кабеля.
Кроме того, сравнивая Примеры 3 и 4, можно сделать вывод о том, что, при одинаковой толщине, возрастание плотности (а следовательно, модуля упругости) защитного слоя из вспененного полимерного материала сопровождается повышением примерно на 20% прочности на удар (которая возрастает с 25 Дж до 30 Дж) и прочности на сжатие (которая возрастает с 2,5 до 3 кН). Однако, сравнивая примеры 7 и 8, можно заметить, что чрезмерное увеличение плотности (а значит и модуля упругости) промежуточного защитного слоя (который выполнен из полиэтилена в Примере 7 и из стали в Примере 8) приводит к значительному снижению прочности на удар кабеля (которая снижается с 30 Дж в Примере 7, значения, сравнимого со значением в Примере 4, до 20 Дж в Примере 8). Согласно вышеизложенному многослойная защитная структура согласно изобретению способна обеспечивать оптический кабель, снабженный упомянутой структурой, высокой прочностью на удар и высокой прочностью на сжатие, благодаря наличию защитного слоя из вспененного полимерного материала, расположенного посередине, по меньшей мере, одной пары защитных слоев из полимерного материала.
Таким образом, как отмечено выше, для обеспечения эффективной защитной структуры против удара и сжатия, промежуточный защитный слой должен иметь значения конечной плотности, а значит и модуля упругости, более низкими, чем у упомянутой пары защитных слоев.
Дополнительные преимущества оптического кабеля согласно настоящему изобретению включают в себя умеренный вес самого кабеля, а также повышенную гибкость кабеля.
Кроме того, наличие защитного слоя из вспененного материала, расположенного между двумя защитными слоями с более высокими модулями упругости на растяжение, чем у упомянутого защитного слоя из вспененного материала, гарантирует более безопасную эксплуатацию кабеля при низких эксплуатационных температурах, поскольку обеспечивает меньшую усадку кабеля.
Наконец, многослойная защитная структура, согласно настоящему изобретению, благодаря своей легкости, гибкости и механической прочности, также обладает особыми преимуществами для приложений воздушного типа.
В последнем случае, фактически, воздушные кабели могут иметь возможность выдерживать, например, удар дробинок, выпущенных охотниками, и многослойная структура согласно настоящему изобретению оказывается особенно пригодной для защиты оптической жилы от удара упомянутых дробинок.
Формула изобретения
1. Оптический кабель (10, 40, 50), содержащий,
по меньшей мере, один элемент (20) для передачи оптических сигналов и
структуру (30) для защиты, по меньшей мере, одного элемента (20), причем структура (30) располагается в позиции, радиально внешней по отношению к, по меньшей мере, одному элементу (20),
отличающийся тем, что указанная структура является многослойной структурой (30), содержащей,
по меньшей мере, один первый защитный слой (31) из полимерного материала в позиции, радиально внешней по отношению к, по меньшей мере, одному элементу (20),
по меньшей мере, один защитный слой (32) из вспененного полимерного материала в позиции, радиально внешней по отношению к, по меньшей мере, одному первому защитному слою (31), и,
по меньшей мере, один второй защитный слой (33) из полимерного материала в позиции, радиально внешней по отношению к, по меньшей мере, одному защитному слою (32) из вспененного полимерного материала,
причем вспененный полимерный материал имеет плотность от 0,3 до 0,7 кг/дм3 и модуль упругости на растяжение от 300 до 700 МПа при 20°С.
2. Оптический кабель (10, 40, 50) по п.1, отличающийся тем, что защитный слой (32) из вспененного полимерного материала находится в состоянии взаимного контакта с, по меньшей мере, одним первым защитным слоем (31).
3. Оптический кабель (10) по п.1, отличающийся тем, что содержит армирующий слой (34) в позиции, радиально внешней по отношению к защитному слою (32) из вспененного полимерного материала.
4. Оптический кабель (10, 40, 50), содержащий
оптическую жилу (21, 51), снабженную, по меньшей мере, одним оптическим волокном,
по меньшей мере, один первый защитный слой (31) из полимерного материала в позиции, радиально внешней по отношению к оптической жиле (21, 51),
по меньшей мере, один защитный слой (32) из вспененного полимерного материала в позиции, радиально внешней по отношению к, по меньшей мере, одному первому защитному слою (31), и,
по меньшей мере, один второй защитный слой (33) из полимерного материала в позиции, радиально внешней по отношению к, по меньшей мере, одному защитному слою (32) из вспененного полимерного материала,
причем вспененный полимерный материал имеет плотность от 0,3 до 0,7 кг/дм3 и модуль упругости на растяжение от 300 до 700 МПа при 20°С.
5. Оптический кабель (10, 40, 50) по п.4, отличающийся тем, что защитный слой (32) из вспененного полимерного материала находится в состоянии взаимного контакта с, по меньшей мере, одним первым защитным слоем (31).
6. Оптический кабель (10, 40, 50) по п.4, отличающийся тем, что защитный слой (32) из вспененного полимерного материала находится в состоянии взаимного контакта с, по меньшей мере, одним вторым защитным слоем (33).
7. Оптический кабель (10) по п.4, отличающийся тем, что содержит армирующий слой (34) в позиции, радиально внешней по отношению к защитному слою (32) из вспененного полимерного материала.
8. Оптический кабель (10) по п.7, отличающийся тем, что армирующий слой (34) содержит диэлектрические нити, выбранные из группы, содержащей арамидные нити, стекловолоконные нити, углеволоконные нити, нити на полиэфирной или полипропиленовой основе.
9. Оптический кабель (10, 40, 50) по п.4, отличающийся тем, что расширяемый полимерный материал, по меньшей мере, одного защитного слоя (32) из вспененного полимерного материала выбран из
(a) сополимеров этилена со сложным эфиром с ненасыщенной двойной связью, в котором количество сложного эфира с ненасыщенной двойной связью составляет от 5 до 80 мас.%;
(b) эластомерных сополимеров этилена с, по меньшей мере, одним С3-C12 -олефином и, в необязательном порядке, диеном, имеющих следующий состав: 35-90 мол.% этилена, 10-65 мол.% -олефина, 0-10 мол.% диена;
(c) сополимеров этилена с, по меньшей мере, одним C4-C12 -олефином и, в необязательном порядке, диеном, имеющих плотность от 0,86 до 0,90 г/см3;
(d) полипропилена, модифицированного сополимерами этилена и С3-С12 -олефина, где весовое отношение между пропиленом и сополимером этилена и С3-С12 -олефина составляет от 90/10 до 30/70.
10. Оптический кабель (10, 40, 50) по п.4, отличающийся тем, что степень расширения вспененного полимерного материала составляет от 20 до 250%.
11. Оптический кабель (10, 40, 50) по п.10, отличающийся тем, что степень расширения составляет от 50 до 150%.
12. Оптический кабель (10, 40, 50) по п.4, отличающийся тем, что толщина, по меньшей мере, одного защитного слоя (32) из вспененного полимерного материала составляет от 0,5 до 3,0 мм.
13. Оптический кабель (10, 40, 50) по п.12, отличающийся тем, что толщина составляет от 1,0 до 2,5 мм.
14. Оптический кабель (10, 40, 50) по п.4, отличающийся тем, что плотность вспененного полимерного материала составляет от 0,4 до 0,6 кг/дм3.
15. Оптический кабель (10, 40, 50) по п.4, отличающийся тем, что модуль упругости вспененного полимерного материала при 20°С составляет от 400 до 600 МПа.
16. Оптический кабель (10, 40, 50) по п.4, отличающийся тем, что плотность расширяемого полимерного материала составляет от 0,85 до 1,10 кг/дм3.
17. Оптический кабель (10, 40, 50) по п.4, отличающийся тем, что модуль упругости расширяемого полимерного материала при 20°С составляет от 700 до 1100 МПа.
18. Оптический кабель (10, 40, 50) по п.4, отличающийся тем, что толщина, по меньшей мере, одного первого защитного слоя (31) составляет от 0,5 до 2,0 мм.
19. Оптический кабель (10, 40, 50) по п.18, отличающийся тем, что толщина составляет от 0,7 до 1,5 мм.
20. Оптический кабель (10, 40, 50) по п.4, отличающийся тем, что толщина, по меньшей мере, одного второго защитного слоя (33) составляет от 0,5 до 3,0 мм.
21. Оптический кабель (10, 40, 50) по п.20, отличающийся тем, что толщина составляет от 0,9 до 2,0 мм.
22. Многослойная структура (30) для защиты, по меньшей мере, одного элемента (20) для передачи оптических сигналов, причем многослойная структура (30) располагается в позиции, радиально внешней по отношению к, по меньшей мере, одному элементу (20), содержащая,
по меньшей мере, один первый защитный слой (31) из полимерного материала в позиции, радиально внешней по отношению к, по меньшей мере, одному элементу (20),
по меньшей мере, один защитный слой (32) из вспененного полимерного материала в позиции, радиально внешней по отношению к, по меньшей мере, одному первому защитному слою (31), и,
по меньшей мере, один второй защитный слой (33) из полимерного материала в позиции, радиально внешней по отношению к, по меньшей мере, одному защитному слою (32) из вспененного полимерного материала,
причем модуль упругости на растяжение вспененного полимерного материала ниже модуля упругости, по меньшей мере, одного первого защитного слоя (31) и, по меньшей мере, одного второго защитного слоя (33).
23. Многослойная структура (30) по п.22, отличающаяся тем, что вспененный полимерный материал имеет плотность от 0,3 до 0,7 кг/дм3 и модуль упругости на растяжение от 300 до 700 МПа при 20°С.
24. Способ защиты, по меньшей мере, одного элемента (20) для передачи оптических сигналов, содержащий этап размещения многослойной структуры (30) в позиции, радиально внешней по отношению к, по меньшей мере, одному элементу (20), причем многослойная структура (30) содержит, по меньшей мере, один защитный слой (32) из вспененного полимерного материала, расположенный посередине, по меньшей мере, одной пары защитных слоев (31, 33) из полимерного материала, и модуль упругости на растяжение вспененного полимерного материала ниже модуля упругости на растяжение, по меньшей мере, одной пары защитных слоев (31, 33).
25. Способ по п.24, отличающийся тем, что вспененный полимерный материал имеет плотность от 0,3 до 0,7 кг/дм3 и модуль упругости на растяжение от 300 до 700 МПа при 20°С.
РИСУНКИ
PC4A – Регистрация договора об уступке патента СССР или патента Российской Федерации на изобретение
Прежний патентообладатель:
ПИРЕЛЛИ ЭНД К. С.п.А. (IT)
(73) Патентообладатель:
ПРИЗМИАН КАВИ Э СИСТЕМИ ЭНЕРГИА С.Р.Л. (IT)
Договор № РД0057963 зарегистрирован 09.12.2009
Извещение опубликовано: 20.01.2010 БИ: 02/2010
|
|