|
| На основании пункта 3 статьи 13 Патентного закона Российской Федерации от 23 сентября 1992 г. № 3517-I патентообладатель обязуется передать исключительное право на изобретение (уступить патент) на условиях, соответствующих установившейся практике, лицу, первому изъявившему такое желание и уведомившему об этом патентообладателя и федеральный орган исполнительной власти по интеллектуальной собственности, – гражданину РФ или российскому юридическому лицу. |
|
(21), (22) Заявка: 2005128842/06, 19.09.2005
(24) Дата начала отсчета срока действия патента:
19.09.2005
(46) Опубликовано: 10.03.2007
(56) Список документов, цитированных в отчете о поиске:
SU 89273 А, 07.02.1950. SU 80812 A, 01.03.1950. SU 866352 A, 23.09.1981. DE 19821504 A1, 19.11.1998. FR 2837115 A1, 19.09.2003.
Адрес для переписки:
123458, Москва, ул. Твардовского, 11, кв.92, О.С. Кочетову
|
(72) Автор(ы):
Кочетов Олег Савельевич (RU), Кочетова Мария Олеговна (RU), Львов Геннадий Васильевич (RU), Куличенко Александр Владимирович (RU)
(73) Патентообладатель(и):
Кочетов Олег Савельевич (RU)
|
(54) СИСТЕМА ДОУВЛАЖНЕНИЯ ВОЗДУХА В ПОМЕЩЕНИИ
(57) Реферат:
Система предназначена для создания комфортных условий микроклимата в производственных помещениях, в частности в качестве систем местного доувлажнения воздуха. Система состоит из пневматических форсунок, сетей трубопроводов, служащих для подачи к ним воды и сжатого воздуха, и блока управления работой пневматических форсунок, пневматическая форсунка содержит корпус, в котором выполнено отверстие для подачи сжатого воздуха из магистрали, причем в верхней части корпуса установлен направляющий элемент с клинообразным острием, выполненным, по крайней мере, в двух диаметральных направлениях, а с корпусом взаимодействует колпачок, имеющий верхнюю и нижнюю полости, соединенные, по крайней мере, с двумя парами диаметральных щелей, имеющих ширину «b» и высоты «h1» и «h2», где h1 и h2 – соответственно высота щелей для истечения воздуха и воды, b – ширина этих щелей. Технический результат – повышение эффективности и надежности процесса пневматического распыления воды. 2 з.п. ф-лы, 3 ил.
Изобретение относится к технике кондиционирования воздуха и может быть использовано для создания комфортных условий микроклимата в производственных помещениях, в частности в качестве систем местного доувлажнения воздуха.
Наиболее близким техническим решением к заявляемому объекту является система по патенту РФ №2067730, кл. F 24 F 3/06 от 10.10.96, содержащая распылитель и блок управления.
Недостатком его является сравнительно невысокая эффективность процесса пневматического распыления.
Технический результат – повышение эффективности и надежности процесса пневматического распыления воды.
Это достигается тем, что в системе доувлажнения воздуха, состоящей из пневматических форсунок, сетей трубопроводов, служащих для подачи к ним воды и сжатого воздуха, и блока управления работой пневматических форсунок, пневматическая форсунка содержит корпус, в котором выполнено отверстие для подачи сжатого воздуха из магистрали, причем в верхней части корпуса установлен направляющий элемент с клинообразным острием, выполненным по крайней мере в двух диаметральных направлениях, а с корпусом взаимодействует колпачок, имеющий верхнюю и нижнюю полости, соединенные по крайней мере с двумя парами диаметральных щелей, имеющих ширину «b» и высоты «h1» и «h2», причем верхняя полость связана со штуцером подачи воды, в котором выполнено калиброванное отверстие диаметром «d», а блок управления работой пневматических форсунок содержит волосяной регулятор влажности, мембранные клапаны, запорные вентили, игольчатый дроссель для регулирования давления сжатого воздуха перед мембранными клапанами, трансформатор напряжения, контрольные лампы, выключатель и электропневматическое реле, причем пневматическая форсунка выполнена со следующими соотношениями размеров ее основных элементов, которые находится в оптимальном интервале величин: Н/В=2,5; b/B=0,2…0,3; D1/D2=1,3…1,5; d/D2=0,5; h2/h1=1,2…2,5; D3/D1=5,0…7,0; где:
Н – высота корпуса форсунки в сборе, В – ширина клинообразного острия в сборе с двух сторон; d – диаметр калиброванного отверстия штуцера для подачи воды, D1 – диаметр отверстия в корпусе для подвода сжатого воздуха, D2 – диаметр отверстия в штуцере для подвода воды. D3 – диаметр верхней и нижней полостей, образованных корпусом и колпачком, h1 и h2 – соответственно высота щелей для истечения воздуха и воды, b – ширина этих щелей.
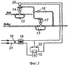
На фиг.1 представлен фронтальный разрез пневматической форсунки системы доувлажнения, на фиг.2 представлена профильная проекция пневматической форсунки системы доувлажнения, на фиг.3 – блок управления работой пневматических форсунок.
Пневматические системы доувлажнения состоят из форсунок (фиг.1, 2), сетей трубопроводов, служащих для подачи к ним воды и сжатого воздуха, и блока управления работой пневматических форсунок (фиг.3). Кроме того, имеются предохранительные устройства, исключающие возможность выливания воды из форсунок при прекращении подачи к ним сжатого воздуха.
Пневматическая форсунка (фиг.1 и 2) состоит из корпуса 1 высотой «Н», в котором выполнено отверстие 2 диаметром «D1» для подачи сжатого воздуха из магистрали. В верхней части корпуса установлен направляющий элемент 3 с клинообразным острием 5, выполненным по крайней мере в диаметральных направлениях. Ширина клинообразного острия 5 в сборе с двух сторон равна «В». С корпусом 1 взаимодействует колпачок 6, имеющий верхнюю 7 диаметром «D3» и нижнюю 8 также диаметром «D3» полости. Кроме того в нем выполнены по крайней мере две пары диаметральных щелей 4, имеющих ширину «b» и высоты «h1» и «h2», соединенные соответственно с полостями 7 и 8. Верхняя полость 7 связана со штуцером 9 подачи воды, в котором выполнены отверстие 10 диаметром «D2» и калиброванное отверстие 11 диаметром «d». Для крепления колпачка 6 на корпусе 2 и присоединения штуцера подвода воздуха из магистрали служат гайки 12.
На фиг.3 представлен блок управления работой пневматических форсунок. Он содержит волосяной регулятор влажности 15, мембранные клапаны 14 и 17, запорные вентили 13, игольчатый дроссель 16 для регулирования давления сжатого воздуха перед мембранными клапанами, трансформатор напряжения 18, контрольные лампы 19 и 22, выключатель 21 и электропневматическое реле 20.
Система доувлажнения работает следующим образом.
Пневматическая форсунка работает следующим образом.
Сжатый воздух из магистрали поступает в канал 2, проходит в нижнюю полость 8 колпачка 6 и по двум диаметрально противоположным щелям 4, имеющим ширину «b» и высоты «h1» и «h2» соответственно, выходит в помещение. Вода, пройдя калиброванное отверстие 11 диаметром «d» в штуцере 9, попадает в верхнюю полость 7 колпачка 6 и по двум щелям, высотой «h2», расположенным над щелями для выхода сжатого воздуха «h1», выходит из форсунки. При выходе из форсунки вода встречается со струей сжатого воздуха и распыляется на мельчайшие частицы. Вода и сжатый воздух по выходе из форсунки попадают на клинообразное острие 5, где сжатый воздух имеет максимальную скорость; благодаря чему энергия сжатого воздуха используется наиболее эффективно. Оптимальное давление сжатого воздуха перед форсункой составляет 0,9…1,1 ати, а давление воды должно быть в пределах 0,1…0,2 ати. В этих условиях производительность форсунки составляет около 5 л/ч при расходе воздуха приблизительно 3,5 м3/ч. Пневматические форсунки широко применяются как на новых текстильных комбинатах, так и на старых фабриках.
Для оптимальной работы и снижения энергозатрат пневматическая форсунка выполнена со следующими соотношениями размеров ее основных элементов, которые находятся в оптимальном интервале величин: Н/В=2,5; b/B=0,2…0,3; D1/D2=1,3…1,5; d/D2=0,5; h2/h1=1,2…2,5; D3/D1=5,0…7,0; где: Н – высота корпуса форсунки в сборе, В – ширина клинообразного острия в сборе с двух сторон; d – диаметр калиброванного отверстия штуцера для подачи воды, D1 – диаметр отверстия в корпусе для подвода сжатого воздуха, D2 – диаметр отверстия в штуцере для подвода воды, D3 – диаметр верхней и нижней полостей, образованных корпусом и колпачком; h1 и h2 – соответственно высота щелей для истечения воздуха и воды, b – ширина этих щелей.
Блок управления работой пневматических форсунок (фиг.3) работает следующим образом. При подводе сжатого воздуха в полости над мембранами клапанов 14 и 17 вначале открывается подача сжатого воздуха, а затем воды. После выключения подачи сжатого воздуха клапаны закрываются в обратном порядке; это предохраняет от опасности вытекания через форсунки остатка нераспыленной воды, находящейся в трубах. Описанное предохранительное устройство используется также и для автоматического управления работой форсунок, которое осуществляется с помощью регулятора влажности 15, воздействующего на электропневматическое реле (электромагнитный клапан) 20, установленное над мембранным клапаном 14, расположенным на линии подачи воды. Это реле в зависимости от включения или выключения электрического тока открывает или закрывает узкое отверстие в крышке клапана 14, открывая или закрывая выход в атмосферу воздуху, находящемуся под мембраной. Одновременно изменяется и давление на соответствующие мембраны, а следовательно, подача воды и сжатого воздуха к форсункам. В некоторых случаях к каждому мембранному клапану устанавливают свое электропневматическое реле, которое включается через самостоятельное реле времени. Электропневматические реле отрегулированы таким образом, чтобы подача воды выключалась на 10 сек раньше прекращения подачи сжатого воздуха, а включалась на 10 сек позже возобновления подачи воздуха.
Формула изобретения
1. Система доувлажнения воздуха, состоящая из пневматических форсунок, сетей трубопроводов, служащих для подачи к ним воды и сжатого воздуха, и блока управления работой пневматических форсунок, отличающаяся тем, что пневматическая форсунка содержит корпус, в котором выполнено отверстие для подачи сжатого воздуха из магистрали, причем в верхней части корпуса установлен направляющий элемент с клинообразным острием, выполненным по крайней мере в двух диаметральных направлениях, а с корпусом взаимодействует колпачок, имеющий верхнюю и нижнюю полости, соединенные по крайней мере с двумя парами диаметральных щелей, имеющих ширину «b» и высоты «h1» и «h2», причем верхняя полость связана со штуцером подачи воды, в котором выполнено калиброванное отверстие диаметром «d».
2. Система доувлажнения воздуха по п.1, отличающаяся тем, что блок управления работой пневматических форсунок содержит волосяной регулятор влажности, мембранные клапаны, запорные вентили, игольчатый дроссель для регулирования давления сжатого воздуха перед мембранными клапанами, трансформатор напряжения, контрольные лампы, выключатель и электропневматическое реле.
3. Система доувлажнения воздуха по п.1, отличающаяся тем, что пневматическая форсунка выполнена со следующими соотношениями размеров ее основных элементов, которые находятся в оптимальном интервале величин: H/B=2,5; b/B=0,2-0,3; D1/D2=1,3-1,5; d/D2=0,5; h2/h1=1,2-2,5; D3/D1=5,0-7,0, где H – высота корпуса форсунки в сборе; В – ширина клинообразного острия в сборе с двух сторон; d – диаметр калиброванного отверстия штуцера для подачи воды; D1 – диаметр отверстия в корпусе для подвода сжатого воздуха; D2 -диаметр отверстия в штуцере для подвода воды; D3 – диаметр верхней и нижней полостей, образованных корпусом и колпачком; h1 и h2 – соответственно высота щелей для истечения воздуха и воды; b – ширина этих щелей.
РИСУНКИ
|
|