|
|
(21), (22) Заявка: 2003128999/06, 25.02.2002
(24) Дата начала отсчета срока действия патента:
25.02.2002
(30) Конвенционный приоритет:
28.02.2001 US 09/795,964
(43) Дата публикации заявки: 10.03.2005
(46) Опубликовано: 10.03.2007
(56) Список документов, цитированных в отчете о поиске:
US 5558514 А, 24.09.1996. US 5645414 A, 08.07.1997. US 5437549 А, 01.08.1995. US 6039561 А, 21.03.2000. RU 2117873 C1, 20.08.1998. RU 2082063 С1, 20.06.1997.
(85) Дата перевода заявки PCT на национальную фазу:
29.09.2003
(86) Заявка PCT:
US 02/05666 (25.02.2002)
(87) Публикация PCT:
WO 02/068868 (06.09.2002)
Адрес для переписки:
129010, Москва, ул. Б.Спасская, 25, стр.3, ООО “Юридическая фирма Городисский и Партнеры”, пат.пов. С.А.Дорофееву
|
(72) Автор(ы):
АМОРОС Энрике Ноллас (ES), ДУСЕ Мишель (FR)
(73) Патентообладатель(и):
БИК КОРПОРЕЙШН (US)
|
(54) ЗАЖИГАЛКА С ЗАЩИТОЙ ОТ ДЕТЕЙ, ИМЕЮЩАЯ ГИБКУЮ ЗАЩЕЛКУ (ВАРИАНТЫ)
(57) Реферат:
Изобретение относится к одноразовым сигаретным зажигалкам. Зажигалка содержит корпус, имеющий источник горючего, зажигающий механизм для зажигания горючего, исполнительный механизм для выпуска горючего из источника горючего и приведения в действие зажигающего механизма, элемент защелки, имеющий верхний и нижний конец, и ограничивающий элемент, причем элемент защелки присоединен как неотъемлемая часть к исполнительному механизму и имеет возможность перемещения между блокирующим положением, в котором элемент защелки блокирует перемещение исполнительного механизма, и положением готовности, в котором элемент защелки не блокирует перемещение исполнительного механизма, при этом элемент защелки выполнен гибким так, что при воздействии смещающего усилия он возвращается в блокирующее положение, и фиксирующий механизм, подогнанный по размеру и форме для принятия элемента защелки и удержания его, когда элемент защелки перемещается из блокирующего положения в положение готовности, кроме того, имеет место другое смещающее усилие, которое прикладывается, по меньшей мере, к участку элемента защелки так, чтобы элемент защелки затем смещался к блокирующему положению. Изобретение позволяет улучшить защиту от случайного или непредусмотренного использования. 2 н. и 25 з.п. ф-лы, 26 ил.
Область техники
Настоящее изобретение касается одноразовых зажигалок, а более конкретно таких зажигалок, которые представляют повышенную сложность приведения в действие непредусмотренными пользователями.
Предшествующий уровень техники
Одноразовые зажигалки являются доступными в разнообразной форме. Обычно одним общим элементом одноразовых зажигалок является приводная кнопка, используемая, чтобы выпускать горючее из емкости в зажигалку. Приводная кнопка может использоваться в соединении с искропроизводящим механизмом так, что горючее воспламеняется сразу после его выпуска. Например, зажигалки, использующие традиционные искровые колеса, требуют вращения пользователем зубчатого искрового колеса относительно кремня для того, чтобы высекать искру. Затем пользователь нажимает приводную кнопку, чтобы выпустить и воспламенить горючее.
Вместо использования искровых колес некоторые одноразовые зажигалки для высекания искры используют пьезоэлектрические механизмы. В этом типе зажигающего механизма пьезоэлектрический элемент, такой как кварц, ударяется молоточком для того, чтобы произвести электрическую искру в месте выпуска горючего из зажигалки. Пример такого пьезоэлектрического зажигающего механизма раскрыт в патенте US 5262697, озаглавленном “Пьезоэлектрический механизм для газовых зажигалок”. Обычно приводные кнопки для одноразовых зажигалок, использующих пьезоэлектрические элементы, образованы и подогнаны по размеру для выпуска горючего и высекания искры так, что пользователь будет должен только нажать приводную кнопку, чтобы привести зажигалку в действие.
Были разработаны зажигалки, предназначенные для того, чтобы препятствовать нежелательному приведению в действие непредусмотренными пользователями. Типовым решением является обеспечение защелки, которая препятствует случайной активации приводной кнопки и делает приведение в действие зажигалки более сложным для непредусмотренного пользователя. Примеры таких защелок раскрываются в патентах US 6077070; US 6022211; US 5885069 и US 5228849. Защелки в патентах US 6022211; US 5885069 и US 5228849 изготовлены из пластикового материала сформированного заодно с приводной кнопкой так, что она сцепляется с корпусом зажигалки, блокируй приводную кнопку от нажатия, а также позволяет защелке перемещаться в позицию отсутствия препятствия, в которой допускается нажатие приводной кнопки. Фиг.1а-1с показывает такую защелку на различных стадиях работы в исходном блокирующем положении (фиг.1а), положении готовности или разблокирования (фиг.1b) и положении активирования (фиг.1с).
Как показано на фиг.1а, когда зажигалка не используется и защелка находится в своем исходном положении, то ограничитель на внешней части защелки расположен в препятствующей или блокирующей взаимосвязи с корпусом зажигалки, чтобы уменьшить вероятность случайного приведения в действие зажигалки. В этом отношении защелка может быть вмонтирована в зажигалку с возможностью предварительного нагружения и смещения в положение блокировки. Таким образом, приведение зажигалки в действие требует, чтобы пользователь сначала вывел ограничитель на защелке из сцепления с корпусом за счет нажатия элемента защелки внутрь. (См. фиг.1b). Элемент защелки отгибается в контакте с приводной кнопкой до тех пор, пока элемент защелки не входит в контакт с фиксирующим механизмом, который удерживает элемент защелки, чтобы предохранить ограничитель от сцепления с корпусом. Как только элемент защелки будет захвачен фиксирующим механизмом, пользователю более не требуется нажимать защелку для удержания ее от сцепления с корпусом. Таким образом, пользователь легко приводит в действие зажигалку, воздействуя на приводную кнопку (см. фиг.1с). Элемент защелки освобождается из фиксирующего механизма во время перемещения приводной кнопки так, что при возвращении приводной кнопки в свое исходное положение элемент защелки возвращается в свое исходное блокирующее положение. Через некоторое время способность элемента защелки возвращаться в свое исходное блокирующее положение может ослабляться, как показано на фиг.1d. Для элемента защелки желательно, чтобы он возвращался в свое блокирующее положение постоянно в течение срока службы зажигалки и с надлежащим усилием защелки.
Краткое описание изобретения
В соответствии с настоящим изобретением, раскрывается зажигалка, имеющая улучшенную защиту от случайного или непредусмотренного использования. Первый аспект заявленной зажигалки направлен на приложение усилия к элементу защелки так, что элемент защелки изгибается или отгибается для улучшения его способности возвращаться в сцепление с корпусом зажигалки после завершенного использования зажигалки. Компонент, узел или механизм может прикладывать усилие к элементу защелки так, что элемент защелки возвращается в свое блокирующее положение более быстро или так, что усилие для разблокирования элемента защелки не уменьшится до вышеупомянутой степени с течением времени и при использовании зажигалки.
В одном варианте осуществления зажигалка согласно изобретению содержит корпус, имеющий источник горючего; зажигающий механизм для зажигания горючего; исполнительный механизм для выпуска горючего из источника горючего и приведения в действие зажигающего механизма; элемент защелки, имеющий верхний и нижний конец и ограничивающий элемент, причем элемент защелки присоединен как неотъемлемая часть к исполнительному механизму и имеет возможность перемещения между блокирующим положением, в котором элемент защелки блокирует перемещение исполнительного механизма, и положением готовности, в котором элемент защелки не блокирует перемещение исполнительного механизма, при этом элемент защелки выполнен гибким так, что при воздействии смещающего усилия он возвращается в блокирующее положение; и фиксирующий механизм, подогнанный по размеру и форме для принятия элемента защелки и удержания его, когда элемент защелки перемещается из блокирующего положения в положение готовности; кроме того, имеет место другое смещающее усилие, которое прикладывается, по меньшей мере, к участку элемента защелки так, чтобы элемент защелки затем смещался к блокирующему положению.
Предпочтительно зажигалка дополнительно содержит спусковой механизм для освобождения элемента защелки из фиксирующего механизма. Причем спусковой механизм имеет, по меньшей мере, одну наклонную боковую поверхность для раздвигания и освобождения элемента защелки. Кроме того, спусковой механизм имеет наклонную поверхность для освобождения элемента защелки из фиксирующего механизма, когда пользователь нажимает на исполнительный механизм, чтобы привести в действие зажигалку.
В зажигалке согласно изобретению после того, как элемент защелки освобожден из фиксирующего механизма, элемент защелки перемещается вдоль внешней поверхности фиксирующего механизма, пока элемент защелки не вернется в свое блокирующее положение.
При этом другое смещающее усилие прикладывается при помощи пружины или другое смещающее усилие представляет собой дополнительный отгибающий момент, приложенный к элементу защелки. Элемент защелки приспособлен по размерам и форме так, что часть элемента защелки изгибается или подвергается изгибающему моменту. Причем часть зажигающего механизма прикладывает другое смещающее усилие к элементу защелки.
Когда пользователь нажимает на исполнительный механизм, нижняя часть элемента защелки входит в контакт с частью зажигающего механизма, прикладывая усилие к элементу защелки, чтобы перемещать его в направлении наружу, пока исполнительный механизм не возвратится в свое неактивированное положение.
Зажигалка может дополнительно содержать спусковой механизм для освобождения элемента защелки из фиксирующего механизма, причем спусковой механизм приспособлен по размерам и форме так, чтобы прикладывать другое смещающее усилие к элементу защелки для изгибания элемента защелки. Причем другое смещающее усилие вызывает изгибание части элемента защелки.
Зажигалка может дополнительно содержать спусковой механизм для освобождения элемента защелки из фиксирующего механизма, причем элемент защелки и спусковой механизм приспособлены по размерам и форме так, чтобы после отделения элемента защелки от фиксирующего механизма элемент защелки входил в контакт с внешней поверхностью фиксирующего механизма, по мере того как элемент защелки перемещается обратно в блокирующее положение.
Ограничивающий элемент делает перемещение исполнительного механизма более трудным, если элемент защелки находится в блокирующем положении. Фиксирующий механизм содержит, по меньшей мере, одну боковую юбку, выступающую вниз от исполнительного механизма.
В другом аспекте изобретения зажигалка содержит корпус, имеющий источник горючего; зажигающий механизм для зажигания горючего; исполнительный механизм для выпуска горючего из источника горючего и приведения в действие зажигающего механизма; элемент защелки, имеющий верхний и нижний конец и ограничивающий элемент, причем элемент защелки присоединен как неотъемлемая часть к исполнительному механизму и имеет возможность перемещения между блокирующим положением, в котором элемент защелки блокирует перемещение исполнительного механизма, и положением готовности, в котором элемент защелки не блокирует перемещение исполнительного механизма, при этом элемент защелки выполнен гибким так, что при воздействии смещающего усилия он возвращается в блокирующее положение; фиксирующий механизм, подогнанный по размеру и форме для принятия элемента защелки и удержания его, когда элемент защелки перемещается из блокирующего положения в положении готовности; и кулачок для освобождения элемента защелки из фиксирующего механизма; причем другое смещающее усилие прикладывается, по меньшей мере, к участку элемента защелки так, чтобы элемент защелки затем смещался к блокирующему положению.
При этом кулачок имеет, по меньшей мере, одну наклонную поверхность для раздвигания и освобождения элемента защелки, и после того, как элемент защелки освобожден из фиксирующего механизма, элемент защелки перемещается вдоль внешней поверхности фиксирующего механизма, пока элемент защелки не вернется в свое блокирующее положение. Другое смещающее усилие может прикладываться при помощи пружины или другое смещающее усилие может представлять собой дополнительный отгибающий момент, приложенный к элементу защелки. Причем элемент защелки приспособлен по размерам и форме так, что часть элемента защелки изгибается или подвергается изгибающему моменту. Часть зажигающего механизма прикладывает другое смещающее усилие к элементу защелки. Причем когда пользователь нажимает на исполнительный механизм, нижняя часть элемента защелки входит в контакт с частью зажигающего механизма, прикладывая усилие к элементу защелки, чтобы перемещать его в направлении наружу, пока исполнительный механизм не возвратится в свое неактивированное положение. Кулачок прикладывает усилие к нижней поверхности элемента защелки для изгибания элемента защелки. Причем элемент защелки и кулачок приспособлены по размерам и форме так, чтобы после отделения элемента защелки от фиксирующего механизма элемент защелки входит в контакт с внешней поверхностью фиксирующего механизма, по мере того как элемент защелки перемещается обратно в блокирующее положение.
Ограничивающий элемент делает перемещение исполнительного механизма более трудным, если элемент защелки находится в блокирующем положении, а фиксирующий механизм содержит, по меньшей мере, одну боковую юбку, выступающую вниз от исполнительного механизма.
Как указано выше, зажигалка согласно изобретению выполнена с возможностью приложения изгибающего или отгибающего усилия к элементу защелки, который вызывает изгибание или отгибание защелки для улучшения ее способности возвращаться в исходное положение или положение покоя, где элемент защелки блокирует перемещение исполнительного механизма, или таким образом, чтобы усилие для разблокировки элемента защелки не уменьшалось значительно с течением времени. Это изгибающее или отгибающее усилие может быть приложено корпусом зажигалки или другими компонентами зажигалки вблизи элемента защелки такими, как зажигающий механизм, кулачковая поверхность, фиксирующий механизм или тому подобное, которые образованы и приспособлены для изгибания или отгибания элемента защелки. В одном варианте осуществления это изгибающее или отгибающее усилие прикладывается, когда элемент защелки удерживается в положении готовности. Альтернативно или дополнительно, изгибающее или отгибающее усилие прикладывается, когда элемент защелки возвращается из положения активации обратно в свое исходное положение. В другом варианте осуществления смещающее усилие, например, от пружины прикладывается к элементу защелки для перемещения в его исходное сцепленное положение после завершения использования зажигалки.
Исполнительный механизм предпочтительно смонтирован для перемещения относительно корпуса зажигалки и подвижен от исходного положения до положения активации. Исполнительный механизм может включать в себя регулятор клапана и приводную кнопку. Регулятор клапана может совершать поворотное перемещение для приведения в действие клапана. В одном варианте осуществления исполнительный механизм подвижен вдоль продольной оси зажигалки. Зажигающий механизм предпочтительно соединен с исполнительным механизмом так, что приведение в действие исполнительного механизма приводит зажигающий механизм.
Как указано выше, элемент защелки имеет возможность перемещения из исходного блокирующего положения, в котором ограничитель на элементе защелки сцепляется с корпусом, чтобы сделать существенное перемещение исполнительного механизма более трудным, в положение готовности, в котором элемент защелки и ограничитель удерживаются посредством фиксирующего механизма так, что они не сцепляются с корпусом. Элемент защелки может быть связан с исполнительным механизмом как неотъемлемая часть. Элемент защелки может быть сформирован заодно с исполнительным механизмом.
Зажигалка дополнительно образована и приспособлена для того, чтобы сообщать части элемента защелки усилие, которое изгибает или отгибает элемент защелки, чтобы содействовать возвращению защелки в положение, в котором она блокирует активирование зажигалки. Предпочтительно, изгибающий или отгибающий момент прикладывается к элементу защелки, чтобы способствовать возвращению защелки в ее исходное блокирующее положение. Изгибающий или отгибающий момент прикладывается к элементу защелки, способствуя возвращению элемента защелки в блокирующее положение на протяжении всего срока службы зажигалки.
В распоряжении имеется большое количество механизмов для приложения такого изгибающего или отгибающего перемещения к элементу защелки, чтобы смещать или способствовать смещению элемента защелки в блокирующее положение после приведения в действие зажигалки. Например, элемент защелки может быть подогнан по размеру и сформирован так, чтобы взаимодействовать с корпусом или компонентами зажигалки таким образом, чтобы изгибать элемент защелки, вызывая его возвращение в положение готовности. Например, усилие может быть приложено к нижней части элемента защелки зажигающим механизмом, кулачковой поверхностью или другим компонентом зажигалки для прижатия элемента защелки к корпусу, причем корпус оказывает уравновешивающее или противодействующее усилие, которое изгибает или отгибает элемент защелки. Выступающий или ограничивающий элемент может быть сформирован на элементе защелки, который выполняет функции опоры, которая опирается торцом на корпус и прикладывает уравновешивающее усилие, которое отгибает элемент защелки. Когда исполнительный механизм возвращается (двигается вверх) и выступающий или ограничивающий элемент больше не выполняет функции опоры, усилие, прикладываемое к кнопке элемента защелки, возвращает его в блокирующее положение. Альтернативно или дополнительно, спусковой механизм и в особенности в виде кулачка может быть выполнен с элементом защелки, чтобы прикладывать отгибающий момент к элементу защелки или изгибать элемент защелки для возврата в блокирующее положение. Фиксирующий механизм также может быть сформирован и приспособлен для приложения отгибающего момента или изгиба элемента защелки, чтобы вернуть элемент защелки в блокирующее положение. В другом варианте осуществления, усилие, способствующее возврату элемента защелки в его исходное блокирующее положение, обеспечивается пружиной.
Краткое описание чертежей
Для облегчения понимания особенностей, структуры и работы изобретения, нижеследующие чертежи, иллюстрирующие предпочтительные особенности, представляют:
Фиг.1а – увеличенный частичный вид поперечного сечения зажигалки согласно предшествующему уровню техники, которая имеет элемент защелки, сцепленный с приводной кнопкой, причем элемент защелки находится в исходном блокирующем положении;
Фиг.1b – увеличенный частичный вид поперечного сечения зажигалки согласно предшествующему уровню техники, которая имеет элемент защелки, сцепленный с приводной кнопкой, причем элемент защелки находится в положении готовности;
Фиг.1с – увеличенный частичный вид поперечного сечения зажигалки согласно предшествующему уровню техники, которая имеет элемент защелки, сцепленный с приводной кнопкой, причем приводная кнопка была активирована для зажигания зажигалки;
Фиг.1d – увеличенный частичный вид поперечного сечения зажигалки согласно предшествующему уровню техники, которая имеет элемент защелки, сцепленный с приводной кнопкой, причем соединение было ослаблено по отношению к исходному состоянию;
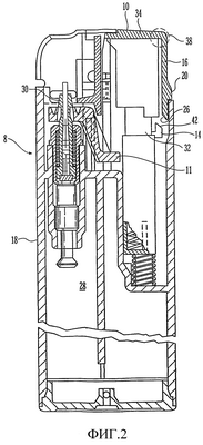
Фиг.2 – вид поперечного сечения зажигалки в соответствии с одним вариантом осуществления настоящего изобретения, с удаленными для ясности частями;
Фиг.3 – увеличенный вид исполнительного механизма, фиксирующего механизма и элемента защелки в соответствии с вариантом осуществления настоящего изобретения;
Фиг.4а – увеличенный частичный вид поперечного сечения зажигалки, изготовленной в соответствии с вариантом осуществления настоящего изобретения, с элементом защелки в блокирующем положении;
Фиг.4b – увеличенный частичный вид сбоку зажигалки по фиг.4а;
Фиг.5а – увеличенный частичный вид поперечного сечения зажигалки по фиг.4а-4b, причем элемент защелки находится в положении готовности;
Фиг.5b – увеличенный частичный вид сбоку зажигалки по фиг.5а;
Фиг.6а – увеличенный частичный вид поперечного сечения зажигалки по фиг.4а-4b с элементом защелки в положении активизации;
Фиг.6b – частичный вид сбоку зажигалки по фиг.6а;
Фиг.7а – увеличенный частичный вид поперечного сечения зажигалки по фиг.4а-4b с элементом защелки, когда он перемещается вверх обратно в свое исходное положение блокировки;
Фиг.7b – частичный вид сбоку зажигалки по фиг.7а;
Фиг.8а – увеличенный частичный вид поперечного сечения зажигалки, которая имеет исполнительный механизм и элемент защелки, имеющей форму в соответствии с другим вариантом осуществления настоящего изобретения, причем элемент защелки находится в положении готовности;
Фиг.8b – увеличенный частичный вид поперечного сечения зажигалки по фиг.8а, причем исполнительный механизм был активирован для зажигания зажигалки;
Фиг.8с – увеличенный частичный вид поперечного сечения зажигалки по фиг.8а, причем исполнительный механизм и элемент защелки возвращены в исходное блокирующее положение;
Фиг.9 – увеличенный частичный вид поперечного сечения зажигалки в соответствии с другим вариантом осуществления настоящего изобретения с пружиной, смещающей элемент защелки в блокирующее положение;
Фиг.10а – увеличенный частичный вид поперечного сечения другого варианта осуществления зажигалки в соответствии с настоящим изобретением с фиксирующим механизмом, неподвижным относительно корпуса;
Фиг.10b – увеличенный частичный вид сбоку исполнительного механизма, элемента защелки и кулачка в сборе по фиг.10а;
Фиг.10с – увеличенный частичный вид поперечного сечения зажигалки по фиг.10а с элементом защелки в положении готовности;
Фиг.10d – увеличенный частичный вид сбоку по фиг.10с;
Фиг.10е – увеличенный частичный вид поперечного сечения зажигалки по фиг.10а с нажатым исполнительным механизмом;
Фиг.10f – увеличенный частичный вид сбоку по фиг.10е;
Фиг.10g – увеличенный частичный вид поперечного сечения зажигалки по фиг.10а с элементом защелки, когда он перемещается вверх обратно в свое исходное положение; и
Фиг.10h – увеличенный частичный вид сбоку по фиг.10g.
Описание предпочтительных вариантов осуществления изобретения
Настоящее изобретение касается зажигалки, имеющей усовершенствованную защиту от случайного или непредусмотренного приведения в действие. Как показано на фиг.2, зажигалка 8 содержит корпус 18 или основную часть, которая содержит источник 28 горючего, клапан 30, связанный с источником 28 горючего для дозированного выпуска горючего из него, избирательно нажимаемый исполнительный механизм 10 для приведения в действие зажигалки, зажигающий механизм 32 для зажигания горючего, элемент 16 защелки для обеспечения более сложного случайного или непредусмотренного приведения в действие зажигалки, при необходимости фиксирующий механизм 22 (не показан) для временного удержания элемента 16 защелки и спусковой механизм 14 (при необходимости) для освобождения элемента защелки из фиксирующего механизма 22.
Зажигающий механизм 32 зажигалки 8 предпочтительно содержит пьезоэлектрический зажигающий механизм, хотя настоящее изобретение не ограничивается конкретным типом зажигающего механизма. Подходящий для применения пьезоэлектрический механизм для зажигалки 8 раскрыт в патенте US 5262697, озаглавленном “Пьезоэлектрический механизм для газовой зажигалки”, который включен в настоящее описание посредством ссылки в полном объеме. Другой применяемый тип зажигающего механизма, который может быть использован с настоящим изобретением, раскрыт в патенте US 5468144 на имя Iwahori. Иные зажигающие механизмы могут включать в себя типы, раскрытые и описанные в патентах US 5228849 и US 6022211. Так как зажигающие механизмы и подобные компоненты для зажигалок известны из уровня техники, то любому специалисту в данной области техники должен быть очевиден способ выбора пригодных материалов для различных компонентов зажигательной системы зажигалки.
Источник 28 горючего зажигалки 8 предпочтительно управляется клапаном 30, который позволяет пользователю осуществить дозированный выпуск горючего из источника 28 горючего. Предпочтительно, клапан 30 управляется приводимым в действие исполнительным механизмом 10. Фиг.3, 4, 5a-b, 6a-b и 7a-b показывают увеличенный вид одного или нескольких элементов из перечня: исполнительный механизм 10, элемент 16 защелки, фиксирующий механизм 22 и спусковой механизм 14 одного варианта осуществления настоящего изобретения. Предпочтительно, зажигающий механизм 32 и клапан 30 образованы и приспособлены для того, чтобы пользователь, нажимая приводную кнопку 34 исполнительного механизма 10, и выпускал, и зажигал горючий газ. В действии, когда исполнительный механизм 10 нажат, он перемещает верхнюю часть зажигающего механизма 32 и входит в контакт с регулятором 11 клапана, чтобы переместить клапан 30 для выпуска горючего. Альтернативно, чтобы выпустить горючее, часть зажигающего механизма может входить в контакт и перемещать регулятор 11.
В варианте осуществления, показанном на фиг.2, 3 и 4a-4b, исполнительный механизм 10 образован с проходящей вниз юбкой 36, которая размещена в корпусе 18 зажигалки. Элемент 16 защелки предпочтительно образован как выступающий продольно вниз язычок, который присоединен как неотъемлемая часть к исполнительному механизму 10. Предпочтительно, чтобы элемент 16 защелки формировался заодно с исполнительным механизмом 10 для образования отгибающего соединения 38. Альтернативно, элемент защелки может быть образован отдельно от исполнительного механизма и может быть соединен с исполнительным механизмом практически любым типом соединения, например, таким как шарнирное соединение.
Предпочтительно, элемент 16 защелки подогнан по размеру и образован так, чтобы дополнительно содержать ограничивающий элемент 20, который блокирует активацию исполнительного механизма 10, когда элемент 16 защелки находится в сцеплении с корпусом зажигалки. Ограничивающий элемент 20 может быть образован как выпуклый или ступенчатый профиль на внешней поверхности элемента 16 защелки, расположенной выше корпуса 18 зажигалки так, что перемещение вниз исполнительного механизма 10 блокируется ограничивающим элементом 20, опирающимся на корпус 18 зажигалки и сцепляющимся с ним. Любому специалисту в данной области техники очевидно, что возможны различные варианты выполнения ограничивающего элемента 20 без изменения сущности и объема настоящего изобретения. Например, элемент 16 защелки может быть выполнен с полостью, соответствующей выступу или ступеньке, сформированной на внутренней поверхности корпуса 18. Фиг.2 и фиг.4а-b показывают элемент защелки и корпус зажигалки, когда элемент защелки находится в своем исходном положении, в котором он блокирует перемещение исполнительного механизма 10. Элемент 16 защелки может предварительно нагружаться, если он монтируется внутри корпуса зажигалки так, что гибкость элемента защелки смещает его в сцепляющееся исходное положение, показанное на фиг.2 и 4а-4b.
Зажигалка 8 предпочтительно содержит фиксирующий механизм 22, который зацепляется с элементом 16 защелки и удерживается им в положении готовности, в котором он не препятствует значительным образом перемещению исполнительного механизма 10. Как показано на фиг.4а-b и 5а-b, исполнительный механизм 10 может быть сформирован с проходящей вниз юбкой 36, части которой могут формировать фиксирующий механизм 22. В предпочтительном варианте осуществления фиксирующий механизм 22 формируется, по меньшей мере, из одного проходящего вниз язычка 6, предпочтительно двух язычков 6, вблизи элемента 16 защелки так, что когда элемент 16 защелки перемещается пользователем из положения блокировки к положению готовности (то есть элемент 16 защелки более не располагается так, чтобы блокировать перемещение исполнительного механизма 10) фиксирующий механизм 22 зацепляется с элементом 16 защелки и удерживается им в положении готовности, как показано на фиг.5а-5b.
В варианте осуществления, показанном на фиг.4-7, по меньшей мере, один гибкий, имеющий форму выступа элемент(ы) 40 проходит наружу от бокового края элемента 16 защелки, как показано, например, на фиг.4b и 5b, так что когда элемент 16 защелки нажимается пользователем, выступы 40 контактируют с кромкой 12 юбки 36, которая формирует фиксирующий механизм 22. Приложение пользователем достаточного усилия к элементу 16 защелки изгибает фиксирующий механизм 22 и/или выступы 40 до тех пор, пока выступы 40 не пройдут от внешней поверхности 46 юбки 36 до внутренней поверхности 44. (См. фиг.4а-5b). Наряду с тем, что выступы 40 и/или юбка 36 достаточно гибкие, чтобы позволить пользователю протолкнуть элемент 16 защелки и выступы 40 сквозь юбку 36. Выступы 40 и юбка 36 предпочтительно достаточно жесткие, чтобы противодействовать любому усилию, например, от элемента 16 защелки или других компонентов или механизмов, с тем, чтобы удерживать выступы 40 в положении позади юбки 36 после освобождения элемента 16 защелки пользователем. Как только элемент 16 защелки надежно зафиксируется в положении фиксирующим механизмом 22, как показано на фиг.5а-b, зажигалка находится в положении готовности, в котором защелка более не сцепляется с корпусом, и тогда пользователь может приводить в действие зажигалку 8, нажимая вниз исполнительный механизм 10. Специалисту в данной области техники очевидно, что элемент 16 защелки и фиксирующий механизм 22 могут быть подобраны по размеру и сформированы различными способами так, что фиксирующий механизм 22 зацепляется с элементом 16 защелки и удерживается в положении готовности. Например, гибкие выступы могут проходить от кромки 12 боковых юбок 36, чтобы удерживать элемент 16 защелки на месте.
Кроме того, зажигалка 8 предпочтительно содержит спусковой механизм 14, который позволяет освобождать элемент 16 защелки из фиксирующего механизма 22. Спусковой механизм 14 может быть выполнен в виде кулачка для вытеснения элемента 16 защелки из фиксирующего механизма. Как показано на фиг.6а и 6b, например, фиксирующий механизм 22 и элемент 16 защелки входит в контакт с кулачком, по мере того как пользователь нажимает на исполнительный механизм 10 так, что кулачок отделяет или вытесняет элемент 16 защелки из фиксирующего механизма 22. Как показано на фиг.4а, 5а, 6а и 7а, кулачок предпочтительно имеет наклонную поверхность 42. Наклонная поверхность и положение кулачка могут быть конфигурированы для приложения достаточного усилия для освобождения элемента 16 защелки из фиксирующего механизма 22, когда пользователь нажимает на исполнительный механизм 10, чтобы привести в действие зажигалку 8. Альтернативно или дополнительно, кулачок также может иметь наклонные боковые поверхности 24, как показано на фиг.5b и 6b, которые вызывают раздвигание боковых юбок 36 в разные стороны и освобождение элемента 16 защелки. Когда кулачковая поверхность 24 раздвигает боковые юбки 36 в стороны, кулачковая поверхность 42 может перемещать нижний конец элемента 16 защелки так, что выступы позиционируются на наружной поверхности 46 боковых юбок 36.
Кулачок подогнан по размерам и позиционирован так, чтобы усилия, передаваемые на элемент 16 защелки и фиксирующий механизм 22, были достаточны для освобождения выступов 40 из внутренней поверхности 44 фиксирующего механизма 22. Как изложено выше и показано на фиг.6а-6b, нижняя поверхность 26 элемента 16 защелки может быть подогнана по размеру и образована так, чтобы способствовать освобождению элемента 16 защелки из фиксирующего механизма 22, когда элемент 16 защелки перемещается поперек кулачка. Предпочтительно, поверхности 26 и 42 элемента 16 защелки и кулачка, которые контактируют друг с другом, образованы и приспособлены так, чтобы допускать скольжение относительно друг друга. Например, как показано на фиг.9, нижняя поверхность 26 элемента 16 защелки может иметь угол а приблизительно соответствующий, а предпочтительно равный углу и кулачковой поверхности 42, с которой она входит в контакт, когда пользователь нажимает исполнительный механизм 10.
Дополнительно, другие компоненты, нежели кулачок, могут быть использованы в качестве спускового механизма, например, части зажигающего механизма или корпуса. Элемент 16 защелки может иметь наклонную нижнюю поверхность 26, которая сформирована для содействия в ее освобождении из фиксирующего механизма. Специалисту в данной области техники должно быть очевидно, что спусковой механизм 14 может быть подогнан по размеру, приспособлен и образован так, чтобы прикладывать различные усилия или комбинации усилий к элементу 16 защелки и фиксирующему механизму 22. Например, спусковой механизм 14 может передавать усилие к одному компоненту последовательно от другого или спусковой механизм 14 может прикладывать усилие только к элементу 16 защелки, но не к фиксирующему механизму, и наоборот. Более того, специалисту в данной области техники должно быть очевидно, что усилия, которые передаются к фиксирующему механизму 22 и элементу 16 защелки за счет спускового механизма 14, могут возникать в местоположениях, отличных от показанных на чертежах, или могут возникать либо одновременно, либо в разное время, вновь в зависимости от размера, формы и конфигурации спускового механизма 14, элемента 16 защелки (содержащего выступы 40) и фиксирующего механизма 22. Кроме того, наряду с тем, что спусковой механизм по фиг.4, 5, 6 и 7 остается неподвижным относительно корпуса 18 зажигалки в течение приведения в действие зажигалки 8, специалисту в данной области техники очевидно, что спусковой механизм может перемещаться относительно элемента защелки и корпуса зажигалки.
Специалисту в данной области техники должно быть очевидно, что соединение 38 не должно передавать смещающее усилие для возврата элемента защелки в исходное положение блокировки. Однако элемент защелки может быть предварительно нагружен, если монтируется в зажигалке, так что он изогнут в соединении 38 для смещения его в положение, в котором он блокирует или препятствует перемещению исполнительного механизма, как показано на фиг.4а-b.
Предпочтительно, чтобы зажигалка обеспечивала дополнительно или альтернативно усилия на элемент защелки для улучшения способности элемента защелки возвращаться в положение блокировки в течение всего срока эксплуатации зажигалки. В нескольких вариантах осуществления настоящего изобретения это дополнительное или альтернативное усилие обеспечивается дополнительным изгибающим или отгибающим моментом, передающимся элементу защелки. Например, усилие или усилия могут прикладываться к элементу защелки так, чтобы весь элемент защелки или, по меньшей мере, его часть подвергается изгибу или изгибающему моменту. Изгиб или изгибающий момент, прикладываемый к элементу 16 защелки для его изгиба, может обеспечиваться, например, конфигурацией спускового механизма и/или фиксирующего механизма, чтобы прикладывать соответствующие усилия к элементу 16 защелки для улучшения способности элемента защелки возвращаться в положение блокировки в течение всего срока эксплуатации зажигалки.
Когда исполнительный механизм нажимается, как показано на фиг.6а-6b, то кулачок или спусковой механизм 14 прикладывает усилие к нижней поверхности 26 элемента 16 защелки, чтобы изгибать нижнюю часть элемента 16 защелки наружу, по мере того как кулачок 14 раздвигает боковые юбки 36 для освобождения выступов 40. По мере перемещения исполнительного механизма 10 вверх к своему исходному положению, как показано на фиг.7а-7b, спусковой механизм 14 расцепляется с элементом 16 защелки и боковыми юбками 36. Так как в этом примере кулачок расцепляется с боковыми юбками 36, то зазор между боковыми юбками и элементом 16 защелки закрывается. Так как боковые юбки смыкаются, то выступы 40 элемента 16 защелки располагаются на внешней поверхности 46 фиксирующего механизма, когда кулачковая поверхность 42 расцепляется с нижней поверхностью 26 элемента 16 защелки, так что выступы 40 входят в контакт и нажимают на внешнюю поверхность 46 фиксирующего механизма 22, по мере того как элемент 16 защелки перемещается обратно вверх в свое исходное положение. Нажатие выступов 40 на фиксирующий механизм 22 продолжает оказывать отгибающее или изгибающее усилие на нижнюю часть элемента 16 защелки, чтобы изогнуть или отогнуть элемент защелки. Элемент защелки изгибается или отгибается до тех пор, пока элемент 16 защелки не вернется в свое блокирующее положение.
Элемент защелки и фиксирующий механизм предпочтительно образованы так, чтобы элемент защелки не мог вновь сцепляться с фиксирующим механизмом без помощи пользователя, как результата усилий, прикладываемых к выступам элемента защелки внешней поверхностью фиксирующего механизма для того, чтобы изогнуть элемент защелки. Другими словами, элемент 16 защелки предпочтительно образован и приспособлен для того, чтобы усилия, прикладываемые за счет его изгибания, не вызывали повторного сцепления элемента 16 защелки с фиксирующим механизмом 22 без помощи пользователя.
В этом варианте осуществления, ограничивающий элемент 20 может действовать как опора 50, которая контактирует с корпусом и оказывает противоположное усилие, прикладываемое к выступам 40 защелки фиксирующим механизмом 22. Однако специалисту в данной области техники должно быть очевидно, что части элемента защелки, иные, нежели ограничивающий элемент 20, могут контактировать с корпусом или подобной конструкцией для того, чтобы обеспечивать противодействующее усилие до тех пор, пока элемент защелки не освободится для перемещения в блокирующее положение. Например, верхняя сторона корпуса 18 могла бы действовать как опора и прикладывать противодействующее усилие к элементу 16 защелки, пока ограничивающий элемент 20 не переместится выше корпуса. В каждом варианте осуществления используется опора, опора может быть позиционирована на любом участке вдоль элемента 16 защелки, хотя предпочтительно, чтобы опора была позиционирована между соединением 38 и местом приложения усилия к элементу 16 защелки для его изгибания.
По мере возврата исполнительного механизма 10 в свое исходное положение, элемент защелки перемещается вверх в свое изогнутое положение, пока ограничивающий элемент не освободится для возврата в свое блокирующее положение. Как только ограничивающий элемент окажется выше корпуса, усилия, прикладываемые фиксирующим механизмом, более не уравновешиваются, и элемент защелки перемещается в свое блокирующее положение, в котором он может или не может далее входить в контакт с фиксирующим механизмом. В варианте осуществления, показанном на фиг.4, 5, 6 и 7, промежуток или зазор 52 между выступами 40 и фиксирующим механизмом 22 (язычки 6), когда элемент защелки находится в исходном положении по фиг.4а-b, может быть порядка 0,1-0,2 мм, хотя эти значения приведены только для примера и не накладывают ограничений.
В то время как на фиг.7а-b показан элемент 16 защелки, изгибающийся вдоль всей своей длины, элемент защелки и компоненты зажигалки могут быть подогнаны по размеру, приспособлены и сформированы для изгибания элемента защелки только на участке его длины или для изгибания элемента 16 защелки на нескольких участках по его длине. Например, участок между механическим ограничивающим элементом 20 и нижней поверхностью 26 элемента защелки или между механическим ограничивающим элементом 20 и соединением 38 или другими местами и участками могут быть приспособлены и образованы для изгибания.
Альтернативно, другие части зажигалки помимо фиксирующего механизма могут быть использованы для приложения отгибающего или изгибающего усилия к элементу защелки. Отгибающее или изгибающее усилие может прикладываться к элементу защелки, когда он освобождается или принуждается к выходу из фиксирующего механизма, или может прикладываться к защелке при ее перемещении вверх в свое блокирующее положение. Например, спусковой механизм 14 может быть образован и приспособлен так, чтобы продолжать прикладывать направленное наружу усилие на нижнюю поверхность 26 элемента 16 защелки, которое освобождает его из фиксирующего механизма, пока исполнительный механизм 10 возвращается в свое исходное положение. Специалист в данной области техники мог бы представить множество изменений размера и конфигурации элемента 16 защелки, выступов 40, боковых юбок 36, кулачка и различных других устройств для приложения усилия к элементу защелки, чтобы изгибать или отгибать элемент защелки без изменения сущности и объема настоящего изобретения.
Например, в варианте осуществления по фиг.8а элемент защелки перемещается в положение готовности и удерживается в положении фиксирующим механизмом, который не показан. Когда пользователь нажимает на исполнительный механизм 110, как показано на фиг.8b, нижняя поверхность 126 элемента 116 защелки входит в контакт с частью 158 пьезоэлектрического зажигающего механизма 132 и перемещает элемент 116 защелки из его положения готовности приложением направленного наружу усилия к нижней поверхности 126 для перемещения выступов 140 (не показаны) из фиксирующего механизма (не показан). Как только элемент защелки перемещается из своего положения готовности, пьезоэлектрический зажигающий механизм продолжает прикладывать усилие к элементу 116 защелки, чтобы перемещать его в направлении наружу, пока исполнительный механизм не возвратится почти полностью в свое неактивированное или исходное положение.
Усилиям, прикладываемым к элементу 116 защелки пьезоэлектрическим зажигающим механизмом, противодействует ограничивающий элемент 120, действующий как опора 150, когда он продвигается в корпус 118 зажигалки. Элемент 116 защелки изгибается или отгибается, что способствует его возврату в блокирующее положение, после того как пользователь завершил использование зажигалки. Поскольку исполнительный механизм и элемент защелки перемещается вверх, то ограничивающий элемент 120 в итоге окажется выше корпуса 118 зажигалки, а элемент 116 защелки перемещается к своему исходному положению (фиг.8с) за счет усилий, которые прикладываются к элементу 116 защелки пьезоэлектрическим зажигающим механизмом. Другими словами, изгибание элемента защелки создает реактивное усилие для возврата элемента защелки в блокированное положение после того, как исполнительный механизм возвращается в свое исходное, неподвижное, положение.
Как очевидно специалисту в данной области техники, усилия, приложенные к элементу 116 защелки, могут быть приложены к любому участку вдоль элемента защелки, например, такому как участок ниже ограничивающего элемента 120, как показано на фиг.8b. Предпочтительно, однако, чтобы усилия прикладывались к участку близкому к нижней поверхности 126 элемента 116 защелки. Кроме того, другие компоненты зажигалки или дополнительное устройство также может быть образовано и приспособлено для изгибания элемента защелки в блокирующее положение вместо пьезоэлектрического зажигающего механизма.
Дополнительные смещающие усилия для возврата элемента 16 защелки в ее исходное блокирующее положение могут также быть обеспечены пружиной 45, как показано на фиг.9. Как будет легко понятно специалисту в данной области техники, пружина 45 может быть образована и приспособлена для обеспечения усилия, достаточного для смещения элемента 16 защелки в его блокирующее положение, без сообщения достаточного усилия для преждевременного освобождения элемента 16 защелки из фиксирующего механизма 22. Примеры типов пружин, которые могут быть использованы, включают в себя пластинчатую пружину, торсионную пружину или винтовую пружину, хотя никакой особый тип пружины не является предпочтительным другому. Пружина 45 также может работать в комбинации с дополнительными устройствами для смещения элемента 16 защелки в свое блокирующее положение, такое, как в любом из описанных здесь вариантов осуществления. Например, пружина 45 может быть использована в комбинации с кулачком или фиксирующим механизмом 22 для приложения усилия к элементу защелки, как в вышеописанном варианте осуществления.
Взаимодействие между спусковым механизмом 14, фиксирующим механизмом 22 и элементом 16 защелки для освобождения элемента 16 защелки из фиксирующего механизма 22 может быть произведено различными способами без изменения сущности и объема изобретения. Например, спусковой механизм 14 может быть образован и приспособлен для приложения освобождающего усилия всегда к элементу 16 защелки, даже когда элемент 16 защелки находится в блокирующем положении и зажигалка 8 не используется. В таком варианте осуществления, спусковой механизм 14 может быть образован и приспособлен так, что усилия, прикладываемые к элементу 16 защелки, не достаточны для преждевременного освобождения элемента 16 защелки из фиксирующего механизма 22, но могут быть увеличены, когда пользователь нажимает на исполнительный механизм 10.
Однако в другом варианте осуществления, показанном на фиг.10а-10b, фиксирующий механизм 222 остается неподвижным относительно корпуса 218 зажигалки. На фиг.10а-b элемент 216 защелки показан в своем исходном блокирующем положении, когда ограничивающий элемент 220 сцеплен с корпусом 218 и выступами 240, которые находятся на внешней поверхности 246 фиксирующего механизма 222. В этом варианте осуществления фиксирующий механизм 222 имеет продолговатый паз 248, сквозь который вставляется элемент 216 защелки при нажатии внутрь пользователем. Как показано на фиг.10с-d, элемент 216 защелки, в частности выступы 240, сцеплен с фиксирующим механизмом 222, более конкретно с выступающими удерживающими элементами 243, в верхнем конце паза 248 так, что элемент 216 защелки удерживается в положении готовности. Когда пользователь нажимает исполнительный механизм 210, элемент 216 защелки перемещается вдоль внутренней поверхности фиксирующего механизма 222, пока элемент 216 защелки не войдет в контакт со спусковым механизмом 214, как показано на фиг.10е-f. Так как исполнительный механизм продолжает нажиматься пользователем, спусковой механизм 214 прикладывает усилие, которое освобождает элемент 216 защелки из фиксирующего механизма 222 и изгибает элемент защелки.
По мере перемещения исполнительного механизма 210 вверх к своему исходному положению элемент 216 защелки и, в частности, выступы 240 перемещаются вдоль внешней поверхности 246 фиксирующего механизма 222, изгибая элемент 216 защелки, как наглядно показано на фиг.10g-h, пока элемент 216 защелки не вернется в свое блокирующее положение. В этом варианте осуществления, паз 248 фиксирующего механизма 222 может быть образован и приспособлен для того, чтобы быть более гибким или податливым на участке паза 248, где элемент 216 защелки входит в паз 248, и/или на участке, где элемент защелки выходит из паза, наряду с тем, что имеются более жесткие участки, препятствующие повторному зацеплению элемента 216 защелки с фиксирующим механизмом 222, когда элемент 216 защелки возвращается в свое исходное блокирующее положение. Любому специалисту в данной области техники должно быть очевидно, что форма, размер, конфигурация, материалы и размеры выступов, элемента защелки и фиксирующего механизма могут быть спроектированы и приспособлены так, что усилия для сцепления, удержания и освобождения элемента защелки могут соответствовать конкретным критериям конструирования и потребностям с тем, чтобы компоненты взаимодействовали друг с другом и освобождались при необходимых усилиях в заданное время и в заданном месте при перемещении приводной кнопки.
Настоящее изобретение не ограничивается конструкцией, описанной выше; скорее все разумные изменения предназначены для включения в объем формулы изобретения. Например, специалисту в данной области техники должно быть очевидно, что фиксирующий механизм и элемент защелки могут быть подогнаны по размеру и образованы во многих отношениях так, чтобы удерживать элемент защелки в положении готовности, которое требуется пользователем, наряду с тем, что также допускается освобождение элемента защелки из фиксирующего механизма, как только исполнительный механизм активируется. Дополнительно другие механизмы, иные, чем показанные и описанные здесь, могут прикладывать изгибающий или отгибающий момент к элементу защелки, чтобы способствовать возвращению элемента защелки в его блокирующее положение в течение всего срока службы зажигалки, и должны быть охвачены сущностью и объемом изобретения. Кроме того, вышеупомянутые варианты осуществления могут быть модифицированы так, что некоторые функции одного варианта осуществления могут быть использованы с функциями другого варианта осуществления. Например, пружина может быть использована в комбинации с гибким элементом защелки для дополнительного содействия возврату элемента защелки в блокирующее положение после освобождения пользователем исполнительного механизма. Предполагается, что настоящее изобретение охватывает все такие модификации и варианты осуществления, как соответствующие его действительной сущности и входящие в его объем.
Формула изобретения
1. Зажигалка, содержащая корпус, имеющий источник горючего, зажигающий механизм для зажигания горючего, исполнительный механизм для выпуска горючего из источника горючего и приведения в действие зажигающего механизма, элемент защелки, имеющий верхний и нижний концы и ограничивающий элемент, причем элемент защелки присоединен как неотъемлемая часть к исполнительному механизму и имеет возможность перемещения между блокирующим положением, в котором элемент защелки блокирует перемещение исполнительного механизма, и положением готовности, в котором элемент защелки не блокирует перемещение исполнительного механизма, при этом элемент защелки выполнен гибким так, что при воздействии смещающего усилия он возвращается в блокирующее положение, и фиксирующий механизм, подогнанный по размеру и форме для принятия элемента защелки и удержания его, когда элемент защелки перемещается из блокирующего положения в положение готовности, кроме того, имеет место другое смещающее усилие, которое прикладывается, по меньшей мере, к участку элемента защелки так, чтобы элемент защелки затем смещался к блокирующему положению.
2. Зажигалка по п.1, в которой зажигалка дополнительно содержит спусковой механизм для освобождения элемента защелки из фиксирующего механизма.
3. Зажигалка по п.2, в которой спусковой механизм имеет, по меньшей мере, одну наклонную боковую поверхность для раздвигания и освобождения элемента защелки.
4. Зажигалка по п.2, в которой спусковой механизм имеет наклонную поверхность для освобождения элемента защелки из фиксирующего механизма, когда пользователь нажимает на исполнительный механизм, чтобы привести в действие зажигалку.
5. Зажигалка по п.2, в которой после того как элемент защелки освобожден из фиксирующего механизма, элемент защелки перемещается вдоль внешней поверхности фиксирующего механизма, пока элемент защелки не вернется в свое блокирующее положение.
6. Зажигалка по п.1, в которой другое смещающее усилие прикладывается при помощи пружины.
7. Зажигалка по п.1, в которой другое смещающее усилие представляет собой дополнительный отгибающий момент, приложенный к элементу защелки.
8. Зажигалка по п.1, в которой элемент защелки приспособлен по размерам и форме так, что часть элемента защелки изгибается или подвергается изгибающему моменту.
9. Зажигалка по п.1, в которой часть зажигающего механизма прикладывает другое смещающее усилие к элементу защелки.
10. Зажигалка по п.1, в которой, когда пользователь нажимает на исполнительный механизм, нижняя часть элемента защелки входит в контакт с частью зажигающего механизма, прикладывая усилие к элементу защелки, чтобы перемещать его в направлении наружу, пока исполнительный механизм не возвратится в свое не-активированное положение.
11. Зажигалка по п.1, в которой зажигалка дополнительно содержит спусковой механизм для освобождения элемента защелки из фиксирующего механизма, причем спусковой механизм приспособлен по размерам и форме так, чтобы прикладывать другое смещающее усилие к элементу защелки для изгибания элемента защелки.
12. Зажигалка по п.1, в которой другое смещающее усилие вызывает изгибание части элемента защелки.
13. Зажигалка по п.1, в которой зажигалка дополнительно содержит спусковой механизм для освобождения элемента защелки из фиксирующего механизма, причем элемент защелки и спусковой механизм приспособлены по размерам и форме так, чтобы после отделения элемента защелки от фиксирующего механизма элемент защелки входил в контакт с внешней поверхностью фиксирующего механизма по мере того, как элемент защелки перемещается обратно в блокирующее положение.
14. Зажигалка по п.1, в которой ограничивающий элемент делает перемещение исполнительного механизма более трудным, если элемент защелки находится в блокирующем положении.
15. Зажигалка по п.1, в которой фиксирующий механизм содержит, по меньшей мере, одну боковую юбку, выступающую вниз от исполнительного механизма.
16. Зажигалка, содержащая корпус, имеющий источник горючего, зажигающий механизм для зажигания горючего, исполнительный механизм для выпуска горючего из источника горючего и приведения в действие зажигающего механизма, элемент защелки, имеющий верхний и нижний концы и ограничивающий элемент, причем элемент защелки присоединен как неотъемлемая часть к исполнительному механизму и имеет возможность перемещения между блокирующим положением, в котором элемент защелки блокирует перемещение исполнительного механизма, и положением готовности, в котором элемент защелки не блокирует перемещение исполнительного механизма, при этом элемент защелки выполнен гибким так, что при воздействии смещающего усилия он возвращается в блокирующее положение, фиксирующий механизм, подогнанный по размеру и форме для принятия элемента защелки и удержания его, когда элемент защелки перемещается из блокирующего положения в положение готовности, и кулачок для освобождения элемента защелки из фиксирующего механизма, причем другое смещающее усилие прикладывается, по меньшей мере, к участку элемента защелки так, чтобы элемент защелки затем смещался к блокирующему положению.
17. Зажигалка по п.16, в которой кулачок имеет, по меньшей мере, одну наклонную поверхность для раздвигания и освобождения элемента защелки.
18. Зажигалка по п.16, в которой после того как элемент защелки освобожден из фиксирующего механизма, элемент защелки перемещается вдоль внешней поверхности фиксирующего механизма, пока элемент защелки не вернется в свое блокирующее положение.
19. Зажигалка по п.16, в которой другое смещающее усилие прикладывается при помощи пружины.
20. Зажигалка по п.16, в которой другое смещающее усилие представляет собой дополнительный отгибающий момент, приложенный к элементу защелки.
21. Зажигалка по п.16, в которой элемент защелки приспособлен по размерам и форме так, что часть элемента защелки изгибается или подвергается изгибающему моменту.
22. Зажигалка по п.16, в которой часть зажигающего механизма прикладывает другое смещающее усилие к элементу защелки.
23. Зажигалка по п.16, в которой, когда пользователь нажимает на исполнительный механизм, нижняя часть элемента защелки входит в контакт с частью зажигающего механизма, прикладывая усилие к элементу защелки, чтобы перемещать его в направлении наружу, пока исполнительный механизм не возвратится в свое не-активированное положение.
24. Зажигалка по п.16, в которой кулачок прикладывает усилие к нижней поверхности элемента защелки для изгибания элемента защелки.
25. Зажигалка по п.16, в которой элемент защелки и кулачок приспособлены по размерам и форме так, чтобы после отделения элемента защелки от фиксирующего механизма элемент защелки входит в контакт с внешней поверхностью фиксирующего механизма по мере того, как элемент защелки перемещается обратно в блокирующее положение.
26. Зажигалка по п.16, в которой ограничивающий элемент делает перемещение исполнительного механизма более трудным, если элемент защелки находится в блокирующем положении.
27. Зажигалка по п.16, в которой фиксирующий механизм содержит, по меньшей мере, одну боковую юбку, выступающую вниз от исполнительного механизма.
РИСУНКИ
|
|