|
|
(21), (22) Заявка: 2003112763/03, 29.04.2003
(24) Дата начала отсчета срока действия патента:
29.04.2003
(43) Дата публикации заявки: 27.11.2004
(46) Опубликовано: 10.03.2007
(56) Список документов, цитированных в отчете о поиске:
SU 1548601 A1, 07.03.1990. RU 2100702 C1, 27.12.1997. RU 2097402 С1, 27.11.1997. US 5253596 А, 19.10.1993.
Адрес для переписки:
410086, г.Саратов, ул. Пионерская, 1, оф.1, Г.П. Кузнецову
|
(72) Автор(ы):
Кузнецов Геннадий Петрович (RU)
(73) Патентообладатель(и):
Кузнецов Геннадий Петрович (RU)
|
(54) СПОСОБ ВЫСОКОТЕМПЕРАТУРНОЙ ПЕРЕРАБОТКИ ОТХОДОВ ЖИЗНЕДЕЯТЕЛЬНОСТИ МЕГАПОЛИСА БЕЗ ВЫБРОСА ОКИСИ УГЛЕРОДА И УГЛЕКИСЛОГО ГАЗА В АТМОСФЕРУ
(57) Реферат:
Изобретение может быть использовано в системах утилизации отходов, образующихся в местах сосредоточения объектов, загрязняющих атмосферу Земли. Способ высокотемпературной переработки отходов жизнедеятельности мегаполиса без выброса окиси углерода и углекислого газа в атмосферу включает нагревание массы отходов в печи без доступа атмосферного воздуха и раздельный вывод продуктов переработки из печи. Для нагревания массы отходов используют подаваемый по трубам из прочного жаростойкого металла, размещенным в придонной части печи, теплоноситель углекислый газ с температурой около 2300°С, получаемый при термическом разложении кальцита с температурой около 1000°С и дополнительно нагреваемый до температуры 2300°С продуктами сжигания водорода в кислороде, обтекающими трубу с перемещаемым внутри нее углекислым газом. В нагретую до 2000°С массу отходов вводят через форсунки в придонной части печи многократными порциями углекислый газ до получения стехиометрической смеси его с имеющимся в составе отходов углеродом для обеспечения протекания химической реакции восстановления углекислого газа углеродом до окиси углерода, которую смешивают за пределами печного объема с водяным паром при температуре не менее 500°С в соотношении 60,78 мас.% окиси углерода к 39,13 мас.% водяного пара для создания условий химического взаимодействия полученной смеси с окисью кальция, в результате чего получают газообразный водород, в осадке накапливают кальцит, который используют в качестве сырья для производства окиси кальция и углекислого газа, а твердые и жидкие продукты переработки отходов выводят из печи в виде расплава железа, шлаков и шлама. Технический результат: полная своевременная утилизация образующихся в течение суток отходов при исключении выброса вредных веществ в атмосферу. 4 з.п. ф-лы, 1 ил.
Известно, что с ростом населения Земли и расширением производственной базы цивилизации неизбежно увеличивается объем отходов, а следовательно, и общее количество загрязнителей природной среды. Например, типичный город с населением в 1 миллион человек потребляет в день 625000 тонн воды, 2000 тонн пищи, 4000 тонн угля, 2800 тонн нефти, 2700 тонн природного газа, 1000 тонн топлива для автомобилей. Одновременно такой город выбрасывает в окружающую среду 500000 тонн сточных вод, 2000 тонн твердых отходов, 150 тонн сернистого газа, 100 тонн окислов азота, 100 тонн углеводородов, 450 тонн окиси углерода. С каждым годом все острее становится проблема утилизации промышленных и бытовых отходов, особенно отходов из полимерных материалов, так как их ежегодно образуется более 100 миллионов тонн. Особенно угрожающая ситуация с загрязнением воздуха складывается в мегаполисах с высокой концентрацией производств – загрязнителей атмосферы. Даже при размещении этих производств на окраинах в безветренную погоду воздушные массы, содержащие вредные выбросы, устремляются на жилые районы из-за того, что более теплый городской воздух поднимается вверх и замещается более холодным и тяжелым воздухом с периферии мегаполиса (1).
Известные исследования специалистов в области разработки методов защиты атмосферы городов от загрязнения ее выбросами вредных для здоровья людей веществами свидетельствуют, что наиболее предпочтительным способом переработки твердых бытовых отходов является сжигание их в специальных печах. Например, при переработке твердых бытовых отходов в США в 1975 году на муниципальных мусоросжигательных заводах образовалось 0,21 миллиона тонн моноксида углерода, а при открытом сжигании – 1,31 миллиона тонн (2).
Специалисты характеризуют экологическую ситуацию в Европе как критическую. Повсеместно накапливаются твердые отходы, которые захватывают обширные площади в городах и пригородных зонах. Страны Европейского экономического сообщества “производят” в год 2 миллиарда тонн таких отходов, из них 150 миллионов тонн – отходы промышленности и в их числе от 20 до 30 миллионов тонн особо опасны и высоко токсичны. Из общей массы отходов 60 процентов отправляются на свалки, 33 процента сжигаются и 7 процентов компостируются.
По оценке природоохранных органов России в стране ежегодно образуется до 20 миллионов тонн токсичных промышленных отходов, они хранятся на территориях предприятий, затем вывозятся на городские свалки или в овраги. Из года в год увеличиваются площади сельскохозяйственных угодий, используемых для утилизации отходов в Калмыкии, в Татарии, в Смоленской, в Томской и в других областях. По состоянию на 1992 год в России по нормам ЮНЕСКО в списке городов, в которых выброс вредных веществ в атмосферу превысил 200 тысяч тонн в год, значилось 50 городов. В тройке “лидеров” значатся: Норильск – 2368 тысяч тонн в год, Москва – 1113 тысяч тонн в год, Новокузнецк – 889 тысяч тонн в год. Далее идут Магнитогорск, Липецк, Череповец, нижний Тагил (3).
В известных конструкциях печей для сжигания отходов (4) в качестве высокотемпературного источника тепла используются газовые горелки, топливные форсунки, требующие ввода в зону горения больших количеств воздуха для обеспечения процесса окисления сжигаемых углеводородов кислородом, в результате чего неизбежно происходит бесполезный нагрев и выброс в атмосферу массы азота, превышающей массу требующегося кислорода в 3,7 раза. Даже в печах с плазмотермической переработкой твердых отходов (5) с использованием энергии электрической дуги для разогрева футеровки печи и расплавления шлаковой ванны из-за высокой температуры плазмы и наличия окислительной атмосферы газы, образующиеся на стадиях плавления и сжигания, содержат большое количество оксидов азота, для эффективного подавления которых требуется обеспечить постоянное выделение продуктов газификации, для чего интервал времени между загрузками отходов должен быть менее семи минут. Вероятно, что такие жесткие требования к составу перерабатываемых отходов и к технологии ввода их в печь препятствуют внедрению предложенного способа (5).
Целью настоящего изобретения является разработка способа переработки отходов жизнедеятельности мегаполиса такой производительности, которая обеспечивала бы своевременную утилизацию всего объема образующихся в течение суток отходов, а также исключала бы выброс вредных веществ в атмосферу.
Поставленная цель достигается высокотемпературной переработкой отходов без доступа воздуха с последующей утилизацией образующихся продуктов.
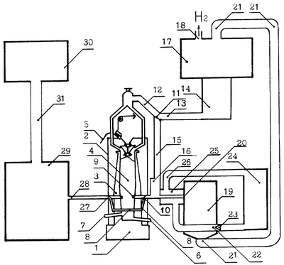
Для иллюстрации предложенного способа переработки отходов на чертеже изображена блок-схема сооружений и основного оборудования. Печь 1, имеющая внутри корпуса 2 футеровку 3, предназначенную для размещения перерабатываемых отходов 4, имеет загрузочное устройство известной конструкции 5, выпуск для расплавленного железа 6, выпуск для расплавленного шлака 7, трубы 8, предназначенные для обеспечения циркуляции теплоносителя, за счет чего происходит нагрев массы отходов, а также введенные в придонную область трубы с форсунками 9, предназначенные для барботажа нагретой массы отходов углекислым газом. Шиберные заслонки 10 предназначены для изменения направления потока углекислого газа: либо к трубам 8, как это изображено на фиг.1, либо к форсункам 9 при перекрытии канала 8. Шиберные заслонки 11 предназначены для изменения направления потока газов, выходящих из печи 1 по каналам 12: либо через канал 13 к смесителю 14, как это изображено на фиг.1, либо по каналу 15 к газодувной машине 16 при перекрытии канала 13, когда в режиме нагревания отходов из печи необходимо транспортировать образующиеся газы в устройства известных конструкций, предназначенные для выделения из этих газов соединений углерода с целью возврата их в печь, а также для нейтрализации остальных газов. Смеситель 14, предназначенный для смешивания окиси углерода с водяным паром, непосредственно сблокирован с реактором 17, в котором образуется водород, удаляемый по трубе 18 к потребителям, а в осадок выпадает кальцит. Во избежание затемнения на чертеже не показаны устройства, предназначенные для транспортирования выпавшего в осадок кальцита из реактора 17 в разлагатель 19, в котором осуществляется термическое разложение кальцита на окись кальция и углекислый газ, выводимый из разлагателя по трубам 20. Для транспортирования окиси кальция из разлагателя 19 в реактор 17 предназначены трубы 21. Для нагрева кальцита в разлагателе 19 предназначены трубы 22, внутри которых находится теплоноситель – продукты сгорания водорода в кислороде, образующиеся при вводе в горелку 23 водорода и кислорода, получаемых в электролизере 24. Непосредственно с разлагателем 19 сблокирован подогреватель 25, предназначенный для увеличения температуры углекислого газа в трубах 20 за счет обтекания их высокотемпературными продуктами сгорания водорода в кислороде, поступающими из труб 22. Для отвода продуктов сгорания водорода в кислороде из подогревателя 25 в электролизер 24 предназначены трубы 26. Шиберные заслонки 27 предназначены для изменения направления потока углекислого газа, выходящего из труб 8: либо в трубы 28, как это изображено на фиг.1, либо к трубам с форсунками 9. Трубы 28 предназначены для транспортирования углекислого газа в комплекс по производству карбамида 29. Хранилище 30 предназначено для размещения запасов аммиака, а трубы 31 – для транспортирования аммиака в комплекс по производству карбамида 29.
Осуществление предлагаемого способа переработки отходов иллюстрируется на примере суточного поступления 2000 тонн отходов, в составе которых 25 процентов массы приходится на углерод, 5 процентов – на железо, 3 процента – на цветные металлы, 30 процентов – на связанный в различных химических соединениях кислород, 3 процента – на связанный в химических соединениях водород и остальные 34 процента массы отходов приходятся в основном на кремний и кальций в составе их окислов (2).
После изъятия из поступивших в переработку отходов цветных металлов, а также разделки крупногабаритных конструкций из черных металлов на мелкие фрагменты и дробления кусков железобетонных изделий производят загрузку подготовленных к переработке отходов в печь 1 через загрузочное устройство 5 и осуществляют герметизацию объема печи известными способами. Для нагрева отходов в печи 1 по трубам 8 пропускают теплоноситель – углекислый газ, постоянно поступающий из разлагателя 19. В связи с тем, что термическое разложение кальцита в разлагателе 19 осуществляется при температуре около 1000 градусов по Цельсию, такую же температуру имеет на выходе из разлагателя 19 углекислый газ. Для увеличения температуры углекислого газа до 2300 градусов по Цельсию его пропускают по трубам 20 подогревателя 25, которые обтекаются продуктами сжигания водорода в кислороде, имеющими температуру около 2600 градусов по Цельсию. По мере нагрева отходов без доступа воздуха за счет контакта их с трубами 8, внутри которых движется углекислый газ, имеющий температуру около 2300 градусов по Цельсию, происходят изменения состояния фрагментов отходов: при температуре около 900 градусов по Цельсию органические вещества графитизируются, многие сложные химические соединения разлагаются на простые вещества, например резина шин разлагается на горючий газ, жидкое горючее, сталь и сажу (3). При температуре свыше 1400 градусов по Цельсию разрушаются ядовитые соединения (2). При температуре около 1500 градусов по Цельсию расплавляются окислы кремния, из которых состоит основная масса стекла, бетона, асфальта, песка. При температуре 1600 градусов по Цельсию расплавляются фрагменты из черных металлов и т.д. К моменту завершения прогрева всей массы отходов, загруженных в печь, до 2000 градусов по Цельсию происходит разделение ее на слои: в придонной части печи накапливаются тяжелые шламы и науглероженное железо в расплавленном состоянии, поверх этого слоя плавают шлаки, имеющие плотность менее 7,8 грамма в одном кубическом сантиметре, и остальную часть объема занимают углерод и газы, образовавшиеся при разложении нагреваемой массы отходов. Переводом шиберных заслонок 10 и 27 в положение, обеспечивающее перекрытие канала 8, создают условия для ввода в прогретую массу отходов через трубы с форсунками 9 порций подводимого по трубам 20 углекислого газа, который в ходе химической реакции восстановления углеродом, имеющимся в печи 1, преобразуется в окись углерода в соответствии с уравнением СО2+С=2СО.
Для утилизации 500 тонн углерода, содержащегося в 2000 тоннах ежесуточных отходов жизнедеятельности города с населением в 1 миллион жителей, необходимо ввести в печь 1 множеством порций около 2340 тонн углекислого газа. Всего при восстановлении 2340 тонн углекислого газа 500 тоннами углерода образуется 2840 тонн окиси углерода, которую выводят из печи 1 по каналам 12 и 13 в смеситель 14, где производят смешивание окиси углерода с водяным паром при температуре не менее 500 градусов по Цельсию в соотношении по массе, как 60,87 процента окиси углерода и 39,13 процента водяного пара от общей массы смеси. Полученную смесь окиси углерода и водяного пара общей массой 4166 тонн вводят в реактор 17, предварительно загруженный окисью кальция массой 5680 тонн для обеспечения стехиометрического состава компонентов химической реакции при соотношении массы окиси кальция и смеси окиси углерода с водяным паром как 54,9 процента окиси кальция и 45,1 процента смеси окиси углерода с водяным паром от общей массы введенных в реактор компонентов. В результате протекания в реакторе 17 химической реакции связывания окисью кальция атомов углерода и кислорода из смеси окиси углерода с водяным паром в осадок выпадает кальцит, а остальной объем реактора занимает водород.
Соотношение образующихся масс кальцита и водорода соответствует как 98,04 процента кальцита и 1,96 процента водорода от общей массы компонентов, участвующих в химической реакции. Например, при ежесуточной переработке 2000 тонн отходов жизнедеятельности города с населением 1 миллион жителей масса получаемого водорода составит 202 тонны и в осадок выпадет 10144 тонны кальцита. Выпавший в осадок кальцит удаляют из реактора 17 и хранят до момента возникновения необходимости в выработке углекислого газа для нагрева новых порций отходов в печи 1. В связи с тем, что при термическом разложении кальцита в разлагателе 44 процента его массы приходится на углекислый газ, а 56 процентов – на окись кальция, для получения 2340 углекислого газа, требующегося в ходе осуществления реакций восстановления его 500 тоннами углерода, достаточно разложить 5320 тонн кальцита. При этом в разлагателе 19 останется 2980 тонн окиси кальция. Оставшийся кальцит массой 4824 тонны подвергают термическому разложению в период нагревания отходов в печи 1, получая при этом 2122 тонны углекислого газа и 2702 тонны окиси кальция. Общее количество получаемой окиси кальция массой 5682 тонны достаточно для загрузки в реактор 17 при осуществлении реакции связывания окисью кальция атомов углерода и кислорода из смеси окиси углерода с водяным паром, когда будут перерабатываться отходы следующих суток. Весь избыток образующегося при разложении кальцита углекислого газа сверх его потребности в осуществлении восстановительной реакции по получению окиси углерода в печи 1 используют в качестве теплоносителя в период прогрева отходов путем пропуска по трубам 8, после чего направляют по трубам 28 в комплекс по производству карбамида 29. Здесь на первом этапе обеспечивают условия для осуществления химической реакции присоединения аммиака к углекислому газу в соответствии с уравнением C O2+2NH3=CO(NH2)ONH4. Для 2122 тонн углекислого газа в реакции должно участвовать 1640 тонн аммиака, так как их массы соотносятся как 56,41 процента углекислого газа и 43,59 процента аммиака от общей массы получаемого полупродукта – карбаминовокислого аммония. Полученный карбаминовокислый аммоний массой 3762 тонны нагревают до 190 градусов по Цельсию под давлением около 200 бар, в результате чего он переходит в карбамид в соответствии с уравнением CO(NH2)ONH4=H2О+CO(NH2)2. На выделяемую воду приходится 23,08 процента массы карбаминовокислого аммония, то есть 868 тонн, а на образующийся карбамид – 76,92 процента, то есть 2894 тонны.
В варианте использования образующегося в реакторах 17 водорода в качестве одного из компонентов для синтеза аммиака по уравнению 3H2+2N=2NH3 из 202 тонн водорода и 942 тонн азота получают 1144 тонны аммиака. Для синтеза недостающего количества аммиака (в нашем примере дефицит аммиака составляет 496 тонн) необходимо обеспечить дополнительную выработку 86 тонн водорода, так как массовая доля водорода составляет 17,65 процента, а азота – 82,35 процента в общей массе аммиака. Общая потребность в азоте составляет 1352 тонны. Азот получают известными способами, например, путем выделения из сжиженного атмосферного воздуха. Для выработки 86 тонн водорода потребуется затратить не более 5,75 миллиона киловатт-часов электроэнергии (6). Такое количество электроэнергии за 8 ночных часов, когда потребность в ней существенно уменьшается, могут выработать генераторы общей мощностью около 720 тысяч киловатт. Кроме 86 тонн водорода за 8 ночных часов будет произведено 688 тонн кислорода, который может быть использован в разных областях обеспечения жизнедеятельности мегаполиса. Например, из полученного кислорода можно произвести известными способами 688 тонн озона по уравнению 3О2=2О3. При охлаждении озона до минус 12 градусов по Цельсию и под давлением около 55 бар он сжижается. При плотности сжиженного озона 1,46 грамма в одном кубическом сантиметре для размещения 688 тонн озона необходимо иметь баллоны из сплава железа с 25 процентами хрома общим объемом не более 472 кубометров. Озон может быть использован для стерилизации питьевой воды, для кондиционирования воздуха, так как под его действием погибают не только бактерии, но и грибковые образования, и вирусы. Озонированным воздухом можно дезинфицировать помещения для хранения и переработки продуктов питания, киноконцертные залы, театры, вокзалы, аэропорты и т.п.
Таким образом, при переработке за 8 ночных часов 2000 тонн доставленных из города отходов по описываемому способу возможно, кроме предотвращения загрязнения атмосферы вредными выбросами, получение 2894 тонн карбамида и 202 тонн водорода.
Годовая выработка около одного миллиона тонн карбамида позволяет обеспечить потребности в этом ценнейшем азотном удобрении производителей сельскохозяйственной продукции в регионе, прилегающем к мегаполису.
Вырабатываемый водород может использоваться для производства собственного аммиака либо в качестве одного из компонентов для питания топливных элементов, с помощью которых можно уменьшить дефицит в электроэнергии в часы ее максимального потребления.
Немаловажным обстоятельством в пользу широкого использования во многих странах предложенного способа переработки отходов жизнедеятельности мегаполиса является его безотходность, так как выпускаемые из печи шлаки можно использовать в дорожном строительстве, а расплавленное науглероженное железо (чугун) после разливки в формы превращается в полезные для городского хозяйства изделия.
Особенно привлекательно в предложенном способе переработки отходов также то, что кроме затрат электроэнергии в ночные часы, когда спрос на нее падает, расходуются всего два вида природных ресурсов: вода и свободный азот из атмосферного воздуха.
Источники информации
1. “Каталитические реакции и охрана окружающей среды” Кишинев: Штиинца, 1983 г., с.16-19.
2. “Защита атмосферы от промышленных загрязнений”. Справочное издание: в двух частях, часть первая. Перевод с английского языка. М.; Металлургия, 1988 г., страницы 151, 672-700, 710-725.
3. А. Н. Павлов, В. М. Кириллов “Безопасность жизнедеятельности и перспективы экоразвития”. – М.: Гелиос АРВ, 2002 г., страницы 52-154.
4. Патент RU 2196935, класс F 23 G 5/16, опубликован 20.01.2003 г.
5. Патент RU 2183794, класс F 23 G 5/00, 5/16, опубликован 20.06.2002 г.
6. Патент RU 2142066 C1, 6 F 03 В 13/00, С 01 В 3/08, опубликован 27.11.99 г. в Бюллетене №33 за 1999 г.
Формула изобретения
1. Способ высокотемпературной переработки отходов жизнедеятельности мегаполиса без выброса окиси углерода и углекислого газа в атмосферу, включающий нагревание массы отходов в печи без доступа атмосферного воздуха и раздельный вывод продуктов переработки из печи, отличающийся тем, что для нагревания массы отходов используют подаваемый по трубам из прочного жаростойкого металла, размещенным в придонной части печи, теплоноситель углекислый газ с температурой около 2300°С, получаемый при термическом разложении кальцита с температурой около 1000°С и дополнительно нагреваемый до температуры 2300°С продуктами сжигания водорода в кислороде, обтекающими трубу с перемещаемым внутри нее углекислым газом, в нагретую до 2000°С массу отходов вводят через форсунки в придонной части печи многократными порциями углекислый газ до получения стехиометрической смеси его с имеющимся в составе отходов углеродом для обеспечения протекания химической реакции восстановления углекислого газа углеродом до окиси углерода, которую смешивают за пределами печного объема с водяным паром при температуре не менее 500°С в соотношении 60,78 мас.% окиси углерода к 39,13 мас.% водяного пара для создания условий химического взаимодействия полученной смеси с окисью кальция, в результате чего получают газообразный водород, в осадке накапливают кальцит, который используют в качестве сырья для производства окиси кальция и углекислого газа, а твердые и жидкие продукты переработки отходов выводят из печи в виде расплава железа, шлаков и шлама.
2. Способ высокотемпературной переработки отходов по п.1, отличающийся тем, что в качестве прочного жаростойкого металла для труб используют тантал.
3. Способ высокотемпературной переработки отходов по п.1, отличающийся тем, что для дополнительного нагрева теплоносителя углекислого газа, образующегося при термическом разложении кальцита в печи-разлагателе, в кольцевой зазор между стенками внутренней трубы, предназначенной для транспортирования углекислого газа в печь для переработки отходов, и стенками внешней трубы, по которой транспортируют в высокотемпературные электролизеры продукты полного окисления водорода кислородом после вывода их из нагревательных труб печи для термического разложения кальцита, вводят водородный факел с температурой около 2600°С.
4. Способ высокотемпературной переработки отходов по п.1, отличающийся тем, что после использования углекислого газа в качестве теплоносителя в печи с отходами, нагреваемыми до температуры 2000°С, его транспортируют за пределы печи с отходами для осуществления химической реакции присоединения к нему аммиака, с целью получения карбаминовокислого аммония пригодного для преобразования в карбамид при температуре 200°С под давлением около 20 МПа.
5. Способ высокотемпературной переработки отходов по п.1, отличающийся тем, что в случае прекращения поступления углекислого газа из процесса термического разложения кальцита использованный в качестве теплоносителя углекислый газ подают на вход газодувной машины, предназначенной для создания скоростного потока углекислого газа, циркулирующего в замкнутом контуре через двухтрубный нагреватель, в котором температуру углекислого газа повышают до 2300°С, и танталовые трубы в придонной части печи.
РИСУНКИ
|
|