|
|
(21), (22) Заявка: 2005122454/06, 15.07.2005
(24) Дата начала отсчета срока действия патента:
15.07.2005
(30) Конвенционный приоритет:
30.07.2004 ES U 200401863
(46) Опубликовано: 10.03.2007
(56) Список документов, цитированных в отчете о поиске:
ЕР 0607099 А2, 20.07.1994. GB 2249383 А, 06.05.1992. ЕР 1215473 A1, 19.06.2002. ЕР 0552135 А2, 21.07.1993. SU 1059357 А, 07.12.1983. SU 1249269 A1, 07.08.1986.
Адрес для переписки:
115114, Москва, Шлюзовая наб., 6, стр.4-5, ООО “Патент-Гарант”, пат.пов. Н.О.Гершановой, рег. № 187
|
(72) Автор(ы):
ГУИРАДО ТРИСТАН Хосе А. (ES), ХЕРЦОГ ДЕЛГАДО Хуан (ES)
(73) Патентообладатель(и):
ОРКЛИ, С. Цооп. (ES)
|
(54) ВЗРЫВОБЕЗОПАСНАЯ ТЕРМОПАРА И КОРПУС ТЕРМОПАРЫ
(57) Реферат:
Взрывобезопасная термопара предназначена для газовой горелки плиты. Термопара содержит в себе рабочий спай на верхней конечной части маленькой массы и часть в виде усеченного конуса, которая имеет принимающую пламя стенку заданной осевой длины и угол отклонения, приспособленный к форме меленького пламени для уменьшения температурного градиента между вышеуказанной принимающей пламя стенкой и рабочим спаем. Внешняя гильза соединяется с трубчатым основанием большего диаметра для свободного спая посредством вышеуказанного трубчатого основания. Изобретение позволяет обеспечить быстрое выключение привода после погасания пламени. 6 з.п. ф-лы, 5 ил.
Область применения
Настоящее изобретение относится к безопасной термопаре для обнаружения погасания пламени, где конструкция трубчатого корпуса термопары предназначена для газовой горелки плиты для быстрого включения клапана.
Уровень техники
Предохранительные термопары используются для обнаружения наличия или отсутствия пламени при установке в непосредственной близости от газовой горелки плиты, снабженной конфоркой с радиально расположенными выходами пламени. Данный тип термопар оснащается температурным датчиком. Один из языков пламени сталкивается с поверхностью датчика, генерируя электродвижущую силу (э.д.с.), которая питает привод предохранительного клапана, удерживая его открытым. После погасания пламени электромагнитный клапан закрывается под действием силы пружины, когда э.д.с. в результате охлаждения генерирует перепады ниже порогового значения, специфичного для значения электромагнитного клапана. Значения времени отклика и порога э.д.с. клапана, полученные для блокировки и разблокировки привода, зависят от типа используемого клапана и разброса значений производительности. Положение термопары по отношению к пламени выбирается для поддержания баланса между двумя необходимыми значениями времени блокировки и разблокировки, так как более быстрый отклик на нагревание вызывает увеличение времени разблокировки при остывании. ЕР-597157-А, ЕР-552135-А, GB-2249383-A и FR-2062094-А содержат примеры термопар известной конструкции, устанавливаемых на конфорке плиты.
На фиг.2 представлена термопара конструкции, которая соответствует прототипу, приспособленному для конфорки плиты “BU”. Термопара 20 располагается своей вертикальной осью “А” на опоре “SP” в горелке. Пламя, испускаемое горелкой BU, регулируется между пламенем двух размеров различной теплотворной способности: большое пламя максимальной мощности “F1” и маленькое пламя минимальной мощности “F2”. Датчик термопары 21-22 располагается на определенном расстоянии по горизонтали “Е” от горелки “BU” и на определенной высоте по вертикали “Н” от опоры “SP”, регулируемой по отношению к выходу пламени таким образом, чтобы, как только пламя погаснет, термопара 20 прекращала нагреваться остаточным теплом корпусом горелки.
В соответствии с прототипом (фиг.2) термопара 20 выполнена из внешней трубчатой гильзы 21-23 из термоэлектрического сплава, например Ni-Cr, низкого проводника тепла, которая служит в качестве внешнего проводника термопары. Жесткий проводник 25 из другого сплава, служащий внутренним проводником термопары, направлен в гильзу 21-23 передающего корпуса. Датчик термопары 21-22 содержит верхнюю конечную часть 21 меньшего диаметра, запрессовано-отштампованную на одном конце термоэлектрического стержня 25 и затем приваренную к его верхней части. Выполненный подобным образом рабочий спай “НJ1” находится в термическом контакте с металлической поверхностью датчика 21-22, нагреваемого пламенем. В результате штампования гильзы 23 принимающая пламя головка на конце гильзы 23 также содержит переходную часть в виде усеченного конуса 22 промежуточного диаметра.
Основание 24 передающего корпуса (фиг.2) содержит трубку бóльшего диаметра, чем гильза 23 из латуни, хорошего электро- и теплопроводника, и телескопически соединяется с гильзой 23 и приваривается к ней, образуя “свободный спай” CJ2. Трубчатое основание 23-24 имеет постоянный внутренний диаметр, плотно прилегающий к внутренней изолирующей гильзе 26 внутреннего проводника 25. Изолирующая гильза начинается за конической частью 22 и продолжается ниже опоры “SP”. В трубчатом основании 24 конец внутреннего стрежня 25 приварен к другому полужесткому медному стержню 25′ для электрического соединения свободного спая “CJ1” термопары. Свободный спай CJ1-CJ2 располагается на высоте опорного устройства “SP” термопары на конце, снабженном опорным устройством 27. На нижнем конце трубчатый корпус 23-24 снабжен опорной кромкой или выступом 27 для фиксации термопары и ее вертикального позиционирования на опоре “SP”, соединенной с горелкой.
Примеры термопары описанной выше конструкции приведены в US-3332803, US-3556864, US-4021268, FR-2696531-A3, ЕР-1215473 и JP 07031087, Rinnai Corp (дата выхода 03.09.96), которые имеют переходник или соединитель для крепления термопары к опоре для регулировки положения Е, Н датчика по отношению к пламени F1. Датчик 21-22 охватывается большим пламенем “F1”, и спай HJ1 нагревается примерно до температуры 500°С для генерирования номинального значения э.д.с., когда пользователь изменяет мощность горелки BU, маленькое пламя F2 не достигает поверхности датчика 21-22.
В прототипе (фиг.2) конструкция термопары 20 имеет два “рабочих спая”, которые отделены друг от друга в осевом направлении, как описывается в ЕР-607099-А2, где э.д.с., генерируемая вторичным спаем HJ2, электрически противопоставлена э.д.с., генерируемой первичным спаем HJ1, для увеличения скорости отклика во время остывания и снижения интервала разблокировки. Конечная часть 21 датчика термопары 20 имеет диаметр примерно 2 мм, внешняя гильза 23 корпуса – диаметр примерно 3,3 мм и трубчатое основание 24 корпуса – диаметр примерно 6 мм. Длина конечной части 21 датчика составляет примерно 4.5 мм, угол наклона alpha-1 ( 1) области усеченного конуса 22 по отношению к вертикальной оси “А” термопары составляет примерно 13 градусов или меньше.
Вследствие небольшого диаметра и длины датчика 21-22 последний представляет собой почти вертикальную стенку приема пламени вдали от отверстия пламени. Приближение положения “Е” термопары 20 для приспособления к пламени двух размеров F1 и F2 вызвало бы избыточный нагрев датчика 21-22, негативно влияющий на срок службы термопары или накаливающий стенку датчика 21-22 до температуры выше 650°С. Изменение положения “Н” датчика 21-22 для приспособления поверхности усеченного конуса 22 датчика к маленькому пламени может вызвать падение температуры на спае HJ1, в частности при начальном нагреве, удлиняя впоследствии временной интервал разблокировки клапана.
Когда пламя горелки F1 гаснет, время остывания до порогового значения разблокировки Vde зависит не только от скорости рассеяния тепла от датчика 21-22 через корпус 23-24, но также от значения температуры, достигнутой в металлической стенке датчика 21-22 благодаря отражению пламени F1.
На фиг.4 и 5 пунктирные линии используются для изображения типичных кривых 28L и 28S э.д.с. (мВ) / t (с), соответствующих отклику термопары 20 прототипа (Фиг.2), нагреваемой большим пламенем F1 или маленьким пламенем F2, соответственно, и типичной кривой остывания 28С после погасания племени. Максимальное пороговое значение “разблокировки арматуры” Ve приводов некоторых предохранительных клапанов SV в общем объеме составляет примерно 2,5 мВ под нагрузкой, поэтому начальное время “t1′-t0” нагрева пламенем F1 составляет примерно 4 секунды (фиг.4), а пороговое значение Vde в том же приводном устройстве для “разблокировки арматуры” и выключения клапана составляет 2,2 мВ, немногим менее вследствие гистерезиса “ Vde”, так что после погасания большого пламени F1 в момент времени “te” (фиг.5) отключение и закрытие клапана “SV” происходит после временного интервала “t3′-te” примерно в 20 секунд. Тем не менее, вследствие разброса результатов производительности электромагнитного привода клапана SV некоторые устройства имеют пороговое значение разблокировки Vde-min примерно в 1 мВ под нагрузкой. В результате этого интервал остывания “t3′-te” для разблокировки привода SV, минимальное значение которого Vde увеличивается до 40 секунд (фиг.4).
Следующая проблема возникает, когда термопара 20 прототипа (фиг.2) нагревается большим пламенем F1, которое генерирует высокое значение э.д.с. (мВ), как на кривой 28L на фиг.4, и пользователь изменяет расход газа горелки BU на минимальный, продолжая готовить на мельком пламени F2. Часть датчика в виде усеченного конуса 22 не достигается маленьким пламенем F2 вследствие маленького угла alpha-1 ( 1) = 10-13 градусов теплоприемной стенки 22, а также вследствие значительной длины верхней конечной части 21, которая, преимущественно, и образует теплоприемную поверхность датчика. По этой причине, в случае привода клапана SV, который имеет высокое пороговое значение разблокировки Vde, например Vde=2,2 мВ, термопара 20 не генерирует достаточное для поддержания э.д.с. вышеуказанное значение Vde, и процесс приготовления пищи непроизвольно прерывается. На Фиг.4 отклик э.д.с.(мВ) термопары 20 от текущего момента времени “ts” переключения от большого пламени F1 к маленькому F2 представлен кривой 28S. Теперь температура спая HJ1 падает, э.д.с. (мВ) после интервала остывания постепенно генерирует падение “ts-t2” ниже максимального порогового значения Vde=2,2 мВ, и привод клапана SV отключается, прекращая процесс приготовления пищи, когда это не требуется пользователем.
Описание изобретения
Объектом изобретения является конструкция термопары, питающей предохранительный электромагнитный клапан и предназначенной для газовой горелки для приготовления пищи, вышеуказанная конструкция термопары, содержащая термочувствительную головку, снабженную наклонной металлической стенкой, подвергающейся воздействию пламени горелки, и трубчатое основание, снабженное средством позиционирования на горелке с целью обеспечения быстрого отклика при нагревании и при охлаждении термопары, включая нагрев головки термопары маленьким пламенем, соответствующим минимальной выходной мощности горелки.
По сравнению с известной термопарой конструкция термопары в соответствии с изобретением обеспечивает более быстрое время отклика при генерации высокого значения э.д.с. (мВ) Ve от воспламенения без металлической стенки головки, предохраняющей рабочий спай от перегрева. Это достигается посредством увеличения площади металлической стенки датчика, охватываемой как большим, так и маленьким пламенем грелки. Во время остывания термопара изобретения также обеспечивает более короткое время отклика отключения клапана благодаря минимальной длине и массе датчика и, как следствие, низкому термическому сопротивлению от рабочего спая к трубчатому основанию для охлаждения рабочего спая, когда пламя гаснет.
Посредством модернизации конструкции принимающей пламя головки конструкция термопары изобретения также обеспечивает надежность при генерации высокого значения э.д.с. (мВ) в условиях, когда пользователь уменьшает пламя для продолжения процесса приготовления пищи с меньшей мощностью. Сгенерированная термопарой э.д.с. (мВ) превышает пороговое значение Vde для разблокировки электромагнитного привода, предотвращая тем самым нежелательное прерывание процесса приготовления пищи с любыми приводными устройствами.
Датчик термопары изобретения сконструирован с рабочим спаем, заключенным в конечную часть головки большого и маленького диаметра с целью снижения его термической массы без ущерба для срока службы термопары, тогда как часть головки в виде усеченного конуса сконструирована с конической металлической стенкой, имеющей такой угол наклона 1, который более открыт в направлении пламени, чем в ранее известных термопарах, чтобы обеспечить более обширную площадь охвата пламенем, в то время как вышеуказанная коническая поверхность стенки также приближается к концу пламени таким образом, в частности, что она достигается, по крайней мере, верхней частью маленького пламени горелки.
Технической задачей изобретения является снижение температурного градиента между металлической стенкой в виде усеченного конуса и спаем HJ1, вследствие чего на рабочем спае достигается температура примерно в 500°С без принимающей пламя металлической стенки красного цвета, сопровождающего перегрев, посредством снижения термического сопротивления между стенкой в виде усеченного конуса и трубчатым основанием из хорошо проводящего материала, образующим свободный спай, который рассеивает тепло, передаваемое нагретой стенкой головки. Данная цель достигается нахлестом трубчатого теплоотводящего основания на гильзе из термоэлектрического материала, сегментом большей длины, чем сегмент гильзы, открытый и подверженный воздействию воздуха.
Дополнительным преимуществом данной конструкции датчика является то, что внутренний стержень рабочего спая вставлен в часть головки в виде усеченного конуса с достаточным зазором для предотвращения опасности короткого замыкания между обоими термоэлектрическими проводниками.
Описание чертежей
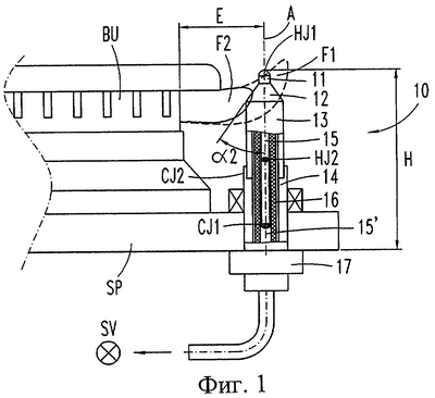
Фиг.1 – вид термопары в соответствии с изобретением, установленной на конфорку для приготовления пищи.
Фиг.2 – вид термопары-прототипа.
Фиг.3 – продольный вид термопары в соответствии с изобретением на фиг.1.
Фиг.4 – график э.д.с. (мВ) / время, генерируемой термопарой на фиг.3 при ее нагревании.
Фиг.5 – график э.д.с. (мВ) / время, генерируемой термопарой на фиг.1, 3 при ее остывании.
Подробное описание конструктивного исполнения изобретения
Согласно фиг.1 и 3 конструкция взрывобезопасной термопары 10 предназначена для горелки плиты “BU” с радиально расположенными выходами пламени в направлении, обратном центральной оси “А” трубчатого корпуса термопары 11-14. Термопара 10 устанавливается на опоре горелки “SP” в вертикальном положении по отношению к оси А, расположенной на заданном расстоянии “Е” от выхода пламени горелки, и на высоте “Н” от кольцеобразного выступа опоры 17 в горелке. Зазор “Е” определяется достаточным удалением от горелки для того, чтобы термопара больше не нагревалась ее остаточным теплом. Высота “Н” или общая длина термопары, около 30 мм, определяется таким образом, чтобы датчик был обращен к выходному отверстию пламени F1 и F2.
Термопара 10 приспособлена для нагрева спая HJ1 большим пламенем F1 или маленьким пламенем F2 от горелки (фиг.1), которое отражается поверхностью или охватывает поверхность головки 11-12 термопары, вызывая генерирование э.д.с. (мВ) (фиг.4) с момента времени t0 воспламенения (фиг.4). Предохранительный клапан “SV” питается э.д.с. (мВ), генерируемой термопарой, поддерживая электромагнитный привод клапана SV включенным.
В соответствии с фиг.1 и фиг.3 теплоприемная головка 11-12 содержит верхний конец 11 и часть в виде усеченного конуса 12 с поверхностью, подверженной воздействию маленького пламени F2, и обращена к выходу пламени. Часть в виде усеченного конуса 12 с углом alpha-2 ( 2) относительно оси “А” подвергает всю свою поверхность воздействию маленького пламени F2 в соответствии с формой маленького пламени F2, конечная часть которого обычно восходящая.
Чувствительная конечная часть 11 головки термопары имеет небольшую длину L1 и маленький диаметр “d” для того, чтобы снизить ее массу до минимально возможной. Внутренний стержень термоэлектрического проводника 15 выбран как можно более тонким, чтобы снизить массу верхнего конца 11 термопары без ущерба для срока службы. Соединение двух термоэлектрических “проводников” 11 и 15 пары образует первичный рабочий спай HJ1.
В варианте конструкции термопары 10 (фиг.3) длина L1 конечной части 11 составляет менее 2 мм, предпочтительно между 1 мм и 1,5 мм, что необходимо для прессовой посадки внутреннего стержня 15. Диаметр “d” конечной части 11 менее 2 мм, предпочтительно менее 1,5 мм. Угол alpha-2 ( 2) отклонения от конической стенки 12 между 15-30 градусами, предпочтительно 20 градусов. Стенка W1 имеет толщину около 0,25 мм, наименее возможную для сопротивления износу и растрескиванию под действием термических напряжений. Длина L2 части в виде усеченного конуса определяется типичным размером конечной части маленького пламени F2, где L2 = от 2,5 мм до 3,5 мм. Диаметр D1 гильзы определяется, начиная от диаметра “d” конечной части 11 головки и после прилаживания части головки 12 в виде усеченного конуса с помощью вышеуказанного угла отклонения alpha-2 ( 2) и вышеуказанной длины L2, предназначенной для конечной части пламени F2.
Передающий корпус 13-14 термопары 10 содержит цилиндрическую гильзу 13 из термоэлектрического сплава, имеющую диаметр D1 и длину “L3+L3′”, и трубчатое основание 14, являющееся хорошим проводником тепла, длиной L4 около 20 мм. Он телескопически соединен с гильзой 13 и затем приварен к ней для образования второго свободного спая CJ2, его диаметр D2 составляет примерно 6 мм, толщина его стенки W2 – примерно 1,5 мм, достаточная для рассеяния тепла, передаваемого от головки 11-12. Трубчатый корпус 13-14 имеет постоянный внутренний диаметр, подходящий для внутренней изолирующей втулки 16 для внутреннего проводника 15.
Часть гильзы 13 с длиной L3 около 6 мм остается подверженной воздействию воздуха, в то время как вторая часть с длиной L3′, бóльшей L3, перекрывается трубчатым основанием 14. Термическое сопротивление между головкой 11-12 и трубчатым основанием проводника 14, таким образом, снижается. С помощью этого успешно достигается быстрое охлаждение рабочего спая HJ1 термопары после погасания пламени посредством увеличения рассеяния тепла от горячей головки 11, 12 с помощью большой площади термического контакта между гильзой 13 и трубчатым основанием 14. Данное минимальное термическое сопротивление в канале рассеяния тепла способствует в дальнейшем снижению температурного градиента между принимающей пламя (F1, F2) стенкой 12 и генерирующим э.д.с. спаем HJ1, посредством чего на рабочем спае HJ1 достигается достаточно высокая температура, около 500°С, без необходимости избыточного нагрева стенки 12.
Малая термическая масса конечной части 11, огораживающей спай HJ1, после воспламенения грелки сначала быстро нагревается посредством теплопроводности стенки в виде усеченного конуса 12, которая принимает пламя, в частности маленькое пламя F2. Вследствие этого быстро достигается кривая э.д.с. 18L, представленная на фиг.4, необходимая для включения привода клапана SV, выше порогового значения блокировки “Ve” его арматуры.
В соответствии с фиг.4 и 5 термопара 10, представленная на фиг.1, является примером двух рабочих спаев, первичного HJ1 и вторичного HJ2, разнесенных в осевом направлении, которые имеют значения э.д.с., противоположные друг другу. Вторичный рабочий спай HJ2 помещается под подвергающийся воздействию сегмент L3 термоэлектрической гильзы и, таким образом, генерируемая им э.д.с. значительно ниже, чем первичного спая HJ1. Разница в э.д.с. между ними представляет собой результирующую выходную э.д.с. термопары 10, представленную кривыми 18L, 18S и 18С на фиг.4. Изображенная пунктирной линией кривая 28S известной термопары 20 (фиг.2) представлена на том же самом графике на фиг.4. Часть ее головки в виде усеченного конуса 22 не достигается маленьким пламенем F2 вследствие значительной длины конечной части 21 и маленького угла alpha-1 ( 1) = 10-13 градусов подвергаемой воздействию стенки 22.
Первичный спай HJ1 должен быстро нагреваться племенем F1 и также быстро охлаждаться после погасания (фиг.4). Нагрев вторичного спая HJ2 должен задерживаться по отношению к первичному спаю HJ1 во время начального периода “t1-t0” до блокировки электромагнитного привода для достижения быстрого роста результирующей э.д.с. 18L выше максимального порогового значения Ve=2,5 мВ. Охлаждение спая HJ2 также должно задерживаться по отношению к спаю HJ1 во время конечного периода разблокировки привода “t3-te” для быстрого падения кривой 18S результирующей э.д.с. ниже минимального порогового значения разблокировки привода Vde=1 мВ.
Для этого вторичный спай HJ2 располагается на удалении, например 14 мм, от спая HJ1. Кабель внутреннего проводника 15′ приваривается к термоэлектрическому проводу 19 вторичного спая HJ2, образуя свободный спай СJ1, на большом расстоянии, например 13 мм в высоту, от вторичного спая HJ2. Следуя кривой нагрева 18L на фиг.4, начальный промежуток времени “t1-t0” для нагрева пламенем F1 составляет лишь 2,5 секунды для максимального значения “блокировки” привода Ve, Ve=2,5 мВ под нагрузкой. Следуя кривой охлаждения 18С на фиг.5, промежуток времени “t3-te” после погасания большого пламени F1 составляет лишь 10-17 секунд согласно пороговому значению “разблокировки” Vde между Vde=2,2 мВ и Vde=1 мВ, что значительно ниже, чем у ранее известной термопары 20, где, следуя кривой 28С на фиг.5, “t3′-te=20-40 секунд.
Далее термопара 10 нагревается в ходе приготовления пищи маленьким пламени F2 с момента времени “ts” изменения пламени, кривая 18S на фиг.4, представляющая генерируемую э.д.с. (мВ). Предохранительный клапан SV остается включенным и процесс приготовления пищи не прерывается, так как, несмотря на уменьшения пламени F2, значение 18S генерируемой э.д.с. остается выше, чем весь интервал разброса “RVde” (фиг.5) при генерировании значения разблокировки между 2,2 мВ и 1 мВ.
Конструктивные особенности термопары 10, предназначенной как для пламени F1, так и для пламени F2 горелки плиты, в соответствии с изобретением могут также применяться к термопаре с одним рабочим спаем НJ1, расположенным на конце 11 головки, вместо конструкции с двумя противоположными рабочими спаями НJ1 и HJ2, что и изображается на чертежах.
Формула изобретения
1. Взрывобезопасная термопара, предназначенная для газовой горелки плиты (BU) с радиально расположенными выходами, дающей как большое пламя (F1), так и маленькое пламя (F2), с датчиком (11, 12) и цилиндрическим передающим корпусом (13, 14), выполненная, по крайне мере, с металлической гильзой (11-14) общей длины (Н) и внутренним термоэлектрическим стержнем (15) и содержащая, по крайне мере, один рабочий спай (НJ1, HJ2), приваренный к верхней конечной части (11) датчика, где большое (F1) и маленькое (F2) пламя направлены к датчику (11, 12) в направлении, обратном оси (А) термопары, для генерации э.д.с. (мВ) (18L, 18S, 18С), необходимой для питания предохранительного газового клапана (SV), снабженного электромагнитным приводом, который имеет определенное пороговое значение Ve для блокировки арматуры во время нагрева термопары и определенное пороговое значение Vde для разблокировки и выключения клапана во время охлаждения, причем термопара (10) содержит трубчатое основание (14) из проводящего сплава, приваренное к гильзе (13) корпуса, образуя свободный спай (CJ2), и средство (17) поддержки и позиционирования термопары на горелке (BU) таким образом, чтобы датчик (11-12) находился на определенном расстоянии (Е) от выхода пламени (F1, F2) на горелке, характеризующаяся тем, что датчик (11, 12), принимающий пламя (F1, F2) горелки, выполнен с помощью вышеуказанной конечной части (11), содержащей в себе рабочий спай (НJ1) в форме наконечника данной длины “L1” и диаметра “d”, значительно меньшего, чем диаметр “D1” вышеуказанной термоэлектрической гильзы (13), и части в виде усеченного конуса (12), находящегося в термической связи с рабочим спаем (HJ1), имеющего стенку для приема пламени (F1, F2), отклоненного в сторону последнего, с данным углом наклона alpha-2 ( 2) по отношению к оси (А) термопары, данной длиной L2 в осевом направлении и таким же диаметром D1, как у термоэлектрической гильзы (13), причем вышеуказанные геометрические размеры L1, L2, d, D1 и alpha-2 ( 2) датчика (11, 12) приспособлены к форме маленького пламени (F2) для охвата площади наклонной стенки (12), а длина L2 и диаметр D1 значительно больше, чем эти же размеры верхней конечной части (11), содержащей в себе рабочий спай (HJ1), вследствие чего температурный градиент между вышеуказанной стенкой (12), принимающей пламя, и рабочим спаем (HJ1) низкий.
2. Термопара по п.1, отличающаяся тем, что вышеуказанная часть в виде усеченного конуса (12) образована стенкой с углом отклонения alpha-2 ( 2) более 15°, а длина L1 конечной части (11) головки менее 2 мм.
3. Термопара по п.1, отличающаяся тем, что вышеуказанная часть в виде усеченного конуса (12) образована стенкой с углом отклонения alpha-2 ( 2) между 15-30° и осевой длиной между 2,5 и 3,5 мм.
4. Термопара по п.1, отличающаяся тем, что вышеуказанная часть в виде усеченного конуса (12) образована вышеуказанным углом отклонения alpha-2 ( 2) между 15-30°, диаметр термоэлектрической гильзы около 4 мм и диаметр “d” конечной части (1) головки менее 2,5 мм.
5. Термопара по п.1, отличающаяся тем, что передающий корпус (13, 14) термопары выполнен с помощью внешней гильзы (13) из термоэлектрического сплава и трубчатого основания (14) из хорошо проводящего тепло сплава, соединенного с гильзой (13) с образованием свободного спая (CJ2), и средства поддержки и позиционирования (17) термопары на горелке (SP), отрегулированного таким образом, чтобы датчик (11, 12) был обращен к выходу пламени (F1, F2) и располагался на заданном расстоянии (Е) от него, вследствие чего маленькое пламя (F2) достигает вышеуказанной приемной стенки (12), частично выполненной в виде усеченного конуса, отклоняющуюся на угол alpha-2 ( 2) между 15 и 30° для нагрева вышеуказанного рабочего спая (НJ1).
6. Термопара по п.1, отличающаяся тем, что передающий корпус (13, 14) термопары выполнен с помощью внешней гильзы (13), общей с датчиком, из термоэлектрического сплава данного постоянного диаметра D1, с которой телескопически соединено трубчатое основание (14) из хорошо проводящего тепло сплава, образуя свободный спай (CJ2) с термоэлектрической гильзой (13) таким образом, что первый сегмент гильзы (13) определенной длины L3 после датчика (11-12) открыт и подвержен воздействию окружающего воздуха, а второй сегмент гильзы (13) той же или большей длины L3′, чем открытый сегмент L3, перекрывается вышеуказанным трубчатым основанием (14) для достижения низкого термического сопротивления для рассеяния тепла от датчика (11, 12) через трубчатое основание (14), вследствие чего отключение привода клапана (SV) после погасания пламени горелки (F1, F2) происходит через короткий временной промежуток (t3-te).
7. Термопара по п.1, отличающаяся тем, что диаметр “d” конечной части (11) датчика, где содержится вышеуказанный рабочий спай (НJ1), выполнен размером менее 2,5 мм, вышеуказанный угол alpha-2 ( 2) усеченного конуса (12) выбран в диапазоне 15-30°, передающий корпус (13, 14) термопары выполнен с помощью внешней гильзы (13), общей с датчиком, из термоэлектрического сплава постоянного диаметра D1 около 4 мм, с которым телескопически соединено трубчатое основание (14) из хорошо проводящего тепло сплава, образуя свободный спай (CJ2) с гильзой (13) таким образом, что первый открытый сегмент гильзы (13) длиной L3 после датчика (11, 12) подвергается воздействию окружающего воздуха, а второй сегмент гильзы (13) той же или большей длины L3′, чем открытый сегмент L3, перекрывается вышеуказанным трубчатым основанием (14) для достижения низкого термического сопротивления для рассеяния тепла от датчика (11, 12) через трубчатое основание (14), вторичный рабочий спай (HJ2) приварен к вышеуказанному внутреннему термоэлектрическому стержню (15) со вторым внутренним сегментом проводника (19) из другого сплава и располагается под вышеуказанным открытым сегментом L3 термоэлектрической гильзы (13) и имеет электрическую полярность, противоположную первичному рабочему спаю (НJ1), а результирующее значение э.д.с. (18L, 18S) между обоими рабочими спаями (НJ1, HJ2) больше порогового значения Vde для того, чтобы поддерживать привод клапана (SV) включенным при наличии пламени (F1, F2), вследствие чего отключение привода клапана (SV) после погасания пламени (F1, F2) происходит через короткий промежуток времени (t3-te).
РИСУНКИ
|
|