|
|
(21), (22) Заявка: 2005113319/06, 03.05.2005
(24) Дата начала отсчета срока действия патента:
03.05.2005
(43) Дата публикации заявки: 20.11.2006
(46) Опубликовано: 10.03.2007
(56) Список документов, цитированных в отчете о поиске:
RU 2221951 С2, 27.06.2003. RU 2174633 C1, 10.10.2001. US 4872477 A, 10.10.1989. US 3498322 A, 03.03.1970. US 5794655 A, 18.08.1998.
Адрес для переписки:
640646, г.Курган, ул. Бурова-Петрова, 20, ОАО “АК “Корвет”, гл. инженеру В.Н.Рослякову
|
(72) Автор(ы):
Чернов Анатолий Васильевич (RU), Белокрылов Владимир Николаевич (RU), Лизюра Анатолий Федотович (RU)
(73) Патентообладатель(и):
Открытое акционерное общество “Акционерная компания “Корвет” (ОАО “АК “Корвет”) (RU)
|
(54) ЗАТВОР ОБРАТНЫЙ ПОВОРОТНЫЙ (ВАРИАНТЫ)
(57) Реферат:
Группа изобретений относится к арматуростроению и предназначена для перекрытия обратного потока среды в трубопроводах. Затвор обратный поворотный содержит корпус, седло, установленную на подвижном соединении с осью тарелку, разделяющую проточную часть на входную и выходную полости. Тарелка зафиксирована непосредственно на седле между проушинами последнего при помощи оси и образует с ним единый узел. Седло с проходным отверстием зафиксировано в корпусе при помощи резьбовой втулки. Между седлом и корпусом установлена герметизирующая прокладка. Корпус состоит из двух частей с центральными проходными отверстиями, соосными между собой. Части корпуса соединены между собой посредством резьбы. Между частями корпуса установлена уплотняющая прокладка. Резьбовое соединение зафиксировано штифтом. Продольная ось проходного отверстия седла расположена под углом к продольной оси частей корпуса. Имеется вариант выполнения затвора обратного поворотного. В этом варианте корпус выполнен цельным и при помощи шпилек и гаек соединен с входным и выходным фланцами. Между корпусом и фланцами установлены уплотняющие прокладки. Продольные оси отверстий корпуса и фланцев совпадают. Продольная ось проходного отверстия седла расположена под углом к продольной оси корпуса и фланцев. Группа изобретений направлена на повышение герметичности между седлом и тарелкой, а также на повышение ремонтопригодности затвора, для чего сделаны доступными поверхности седла и тарелки для механической обработки и притирки. 2 н.п. ф-лы, 3 ил.
Изобретение относится к арматуростроению и может быть использовано для перекрытия обратного потока среды в трубопроводах.
Известен обратный затвор для восходящего потока, содержащий корпус с входным и выходными патрубками, оси которых составляют прямой угол, и седлом, закрепленную на корпусе оси поворотную тарелку, ось вращения тарелки наклонена к плоскости, в которой расположены оси патрубков, и к оси выходного патрубка одновременно (Патент 2055260 РФ, опубл. 1996.02.27).
Однако данная конструкция обратного затвора имеет существенный недостаток – установка посредством сварки в корпус окончательно механически обработанного и притертого седла и вилки, которая фиксирует ось поворота рычага и тарелки. Это делает весьма затруднительным ремонт затвора в случае выхода его из строя, так как седло необходимо вырезать механическим образом и вставлять на то же самое место новое седло. Тарелку с восстановленной уплотнительной поверхностью придется совмещать с уплотнительной поверхностью седла, чему будет препятствовать стационарно установленная вилка.
Известен обратный поворотный клапан, содержащий корпус, установленный на подвижном соединении с осью подвижный затвор, разделяющий проточную часть на входную и выходную полости, на затворе со стороны входной полости под углом к его уплотнительной поверхности и параллельно оси расположены с зазором друг относительно друга и затвора пластины, связанные друг с другом и с затвором посредством ребер жесткости, расположенных параллельно друг другу, перпендикулярно пластинам и оси подвижного шарнира (Патент 2221951 РФ, опубл. 2003.06.27).
К недостаткам данной конструкции относится неремонтопригодность и нетехнологичность при изготовлении. Все внимание в конструкции обращено на динамику потока, тогда как предназначение затвора – это герметичность запорного органа при обратном потоке среды, что в данной конструкции реализовано недостаточно.
Герметичность запорного органа достигается притиркой уплотнительных поверхностей седла и затвора по определенной траектории, например восьмерке , и их установкой при сборке. В данной конструкции посадочные места седла и затвора выполнены в разных деталях. Седло устанавливается в корпус посредством сварки, что часто ведет к перекосам, и нет никаких элементов, компенсирующих неточность изготовления посадочного места затвора.
При ремонте седло необходимо механическим образом вырезать из корпуса, и восстановление уплотнительной поверхности притиркой или наплавкой невозможно. Притереть уплотнительную поверхность затвора или механически обработать после наплавки также невозможно из-за ребер жесткости, находящихся в зоне уплотнительной поверхности.
Задачей настоящего изобретения является разработка конструкции затвора обратного поворотного (варианты), позволяющей решить главные задачи в конструкции обратного затвора – полную герметичность между седлом и тарелкой. А также обеспечить ремонтопригодность затвора, для чего необходимо сделать доступными поверхности седла и тарелки для механической обработки и притирки.
Эта задача решается тем, что затвор обратный поворотный содержит корпус, седло, установленную на подвижном соединении с осью тарелку, разделяющую проточную часть на входную и выходную полости. Тарелка зафиксирована непосредственно на седле между проушинами последнего при помощи оси и образует с ним единый узел. Седло, снабженное проходным отверстием, зафиксировано в корпусе при помощи резьбовой втулки, и между седлом и корпусом установлена герметизирующая прокладка. Корпус состоит из двух частей, снабженных соосными между собой центральными проходными отверстиями, и части корпуса соединены между собой посредством резьбы. Между частями корпуса установлена уплотняющая прокладка. Резьбовое соединение частей корпуса зафиксировано штифтом. Продольная ось проходного отверстия седла расположена под углом к продольной оси частей корпуса.
Вариант. Затвор обратный поворотный содержит корпус, седло, установленную на подвижном соединении с осью тарелку, разделяющую проточную часть на входную и выходную полости. Тарелка зафиксирована непосредственно на седле между проушинами последнего при помощи оси и образует с ним единый узел. Седло, снабженное проходным отверстием, зафиксировано в корпусе при помощи резьбовой втулки, и между седлом и корпусом установлена герметизирующая прокладка. Корпус при помощи шпилек и гаек соединен с входным и выходным фланцами. Между корпусом и фланцами установлены уплотняющие прокладки. Продольные оси отверстий корпуса и фланцев совпадают. Продольная ось проходного отверстия седла расположена под углом к продольной оси корпуса и фланцев.
Патентуемый затвор обратный поворотный (варианты) поясняют подробным описанием, конкретными примерами, чертежами, на которых:
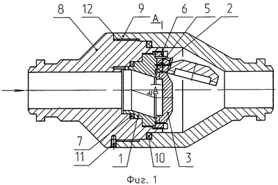
Фиг.1 изображает общий вид затвора обратного поворотного,
Фиг.2 изображает вид А-А затвора обратного поворотного (варианты),
Фиг.3 изображает вариант затвора обратного поворотного.
Затвор обратный поворотный включает в себя седло 1 (Фиг.1, 3) с проушинами 2 (Фиг.1, 2), тарелку 3 (Фиг.1, 3) с ушком 4 (Фиг.2), корпус, состоящий из двух частей 8 и 9 (Фиг.1, 3). Части корпуса 8 и 9 снабжены соосными между собой центральными проходными отверстиями. Ушко 4 (Фиг.2) тарелки 3 зафиксировано между проушинами 2 седла 1 при помощи оси 5. Седло 1 (Фиг.1, 3) зафиксировано в расточках части корпуса 8 при помощи резьбовой втулки 6, между корпусом и седлом установлена герметизирующая прокладка 7 из упругого материала, например терморасширенного графита. Продольная ось проходного отверстия седла 1 расположена под углом (Фиг.1, 3) к продольной оси частей корпуса. Части корпуса 8, 9 соединены между собой посредством резьбы 12, между ними установлена уплотняющая прокладка 10 из упругого материала, например терморасширенного графита. Резьбовое соединение частей корпуса зафиксировано посредством штифта 11.
Вариант. Затвор обратный поворотный включает в себя седло 1 (Фиг.1, 3) с проушинами 2 (Фиг.1, 2), тарелку 3 (Фиг.1, 3) с ушком 4 (Фиг.2), корпус, состоящий из двух частей 8 и 9 (Фиг.1, 3). Части корпуса 8 и 9 снабжены соосными между собой центральными проходными отверстиями. Ушко 4 (Фиг.2) тарелки 3 зафиксировано между проушинами 2 седла 1 при помощи оси 5. Седло 1 (Фиг.1, 3) зафиксировано в расточках части корпуса 8 при помощи резьбовой втулки 6, между корпусом и седлом установлена герметизирующая прокладка 7 из упругого материала, например терморасширенного графита. Продольная ось проходного отверстия седла 1 расположена под углом (Фиг.1, 3) к продольной оси частей корпуса. Корпус 8 (Фиг. 3) затвора обратного поворотного может быть выполнен цельным и снабжен входным 9а и выходным 9 фланцами. Между корпусом 8 и фланцами 9 и 9а установлены уплотняющие прокладки 16 и 16а. Корпус и фланцы соединены между собой при помощи гаек 14 и шпилек 15.
Монтаж затвора обратного поворотного (варианты) осуществляется в следующей последовательности.
Установить ушко 4 тарелки 3 (Фиг.1, 3) в проушинах 2 (Фиг.2) седла 1 (Фиг.1, 3) при этом уплотнительные поверхности седла и тарелки расположить соосно. Затем уплотнительные поверхности соединить и произвести совместную обработку отверстия под ось 5 (Фиг.2) и установить последнюю. Установить седло 1 (Фиг.1, 3) в сборе с тарелкой 3 и осью 5 в часть корпуса 8, установив между ними герметизирующую прокладку 7 из упругого материала, например из терморасширенного графита. Закрепить резьбовой втулкой 6 седло 1 в части корпуса 8. Соединить части корпуса 8 и 9 между собой при помощи резьбы 12, установив между их торцами уплотняющую прокладку 10 из упругого материала, например из терморасширенного графита. Зафиксировать резьбу 12 при помощи штифта 11.
Вариант. Установить ушко 4 тарелки 3 (Фиг.1, 3) в проушинах 2 (Фиг.2) седла 1 (Фиг.1, 3) при этом уплотнительные поверхности седла и тарелки расположить соосно. Затем уплотнительные поверхности соединить и произвести совместную обработку отверстия под ось 5 (Фиг.2) и установить последнюю. Установить седло 1 (Фиг.1, 3) в сборе с тарелкой 3 и осью 5 в часть корпуса 8, установив между ними герметизирующую прокладку 7 из упругого материала, например из терморасширенного графита. Закрепить резьбовой втулкой 6 седло 1 в части корпуса 8. Соединить корпус 8 с фланцами 9 и 9а при помощи гаек 14 и шпилек 15, установив между ними уплотняющие прокладки 16 и 16а.
При установке в трубопровод затвор установить в соответствии с маркировкой направления потока среды, выполненной на корпусе. Произвести опрессовку рабочим давлением, убедиться в отсутствии протечек в местах уплотнений.
Затвор обратный поворотный (варианты) работает следующим образом. Проводимая среда транспортируется по направлению, указанному стрелкой. Проушины 2 седла 1 выполнены таким образом, что при повороте тарелки являются упором, а также являются для тарелки крайним положением при повороте вверх, и рассчитаны таким образом, чтобы тарелка 3 не ударялась в корпус затвора. Проушины 2 седла 1 выполнены таким образом, что при повороте тарелки 3 в верхнее положение увеличивается зона контакта между внутренними плоскостями ушек и проушиной тарелки, тем самым уменьшая колебания тарелки относительно седла, и, как следствие, уменьшение износа соединения – ушко, ось, проушины. Выполнение проходного отверстия седла 1 с продольной осью, расположенной под углом к осям частей корпуса (Фиг.1) или корпуса и фланцев (Фиг.3), позволяет снизить динамическое сопротивление тарелки 3 (Фиг.1, 3) потоку проводимой среды при открытии, а так же позволяет стабилизировать поток проводимой среды, что снижает колебания тарелки.
При падении давления перед тарелкой последняя закрывается, предотвращая перемещение проводимой среды в обратную сторону.
Затвор работает в автоматическом режиме без участия обслуживающего персонала.
Предлагаемая конструкция затвора обратного поворотного (варианты) обеспечивает полную герметичность запорного органа затвора и ремонтопригодность, а также повышает его надежность.
Формула изобретения
1. Затвор обратный поворотный, содержащий корпус, седло, установленную на подвижном соединении с осью тарелку, разделяющую проточную часть на входную и выходную полости, отличающийся тем, что тарелка зафиксирована непосредственно на седле между проушинами последнего при помощи оси и образует с ним единый узел, при этом седло, снабженное проходным отверстием, зафиксировано в корпусе при помощи резьбовой втулки, и между седлом и корпусом установлена герметизирующая прокладка, кроме того, корпус состоит из двух частей, снабженных соосными между собой центральными проходными отверстиями, части корпуса соединены между собой посредством резьбы, между частями корпуса установлена уплотняющая прокладка, при этом резьбовое соединение зафиксировано штифтом, кроме того, продольная ось проходного отверстия седла расположена под углом к продольной оси частей корпуса.
2. Затвор обратный поворотный, содержащий корпус, седло, установленную на подвижном соединении с осью тарелку, разделяющую проточную часть на входную и выходную полости, отличающийся тем, что тарелка зафиксирована непосредственно на седле между проушинами последнего при помощи оси и образует с ним единый узел, при этом седло, снабженное проходным отверстием, зафиксировано в корпусе при помощи резьбовой втулки, и между седлом и корпусом установлена герметизирующая прокладка, кроме того, корпус при помощи шпилек и гаек соединен с входным и выходным фланцами, при этом между корпусом и фланцами установлены уплотняющие прокладки, кроме того, продольные оси отверстий корпуса и фланцев совпадают, а продольная ось проходного отверстия седла расположена под углом к продольной оси корпуса и фланцев.
РИСУНКИ
|
|