|
| На основании пункта 3 статьи 13 Патентного закона Российской Федерации от 23 сентября 1992 г. № 3517-I патентообладатель обязуется передать исключительное право на изобретение (уступить патент) на условиях, соответствующих установившейся практике, лицу, первому изъявившему такое желание и уведомившему об этом патентообладателя и федеральный орган исполнительной власти по интеллектуальной собственности, – гражданину РФ или российскому юридическому лицу. |
|
(21), (22) Заявка: 2005128851/11, 19.09.2005
(24) Дата начала отсчета срока действия патента:
19.09.2005
(46) Опубликовано: 10.03.2007
(56) Список документов, цитированных в отчете о поиске:
RU 2082038 C1, 20.06.1997. SU 1000626 A, 05.03.1983 г. «МАШИНОСТРОЕНИЕ», ТЕРМИНОЛОГИЧЕСКИЙ СЛОВАРЬ, МАШИНОСТРОЕНИЕ, МОСКВА, 1995 г.; стр.127, 537. SU 191280 A, 06.03.1967. US 5897093 А, 27.04.1999.
Адрес для переписки:
123458, Москва, ул. Твардовского, 11, кв.92, О.С. Кочетову
|
(72) Автор(ы):
Кочетов Олег Савельевич (RU), Кочетова Мария Олеговна (RU), Ходакова Татьяна Дмитриевна (RU), Шестернинов Александр Владимирович (RU), Стареев Михаил Евгеньевич (RU)
(73) Патентообладатель(и):
Кочетов Олег Савельевич (RU)
|
(54) ВИБРОИЗОЛЯТОР С ЛИСТОВЫМИ ПРУЖИНАМИ
(57) Реферат:
Изобретение относится к машиностроению и может быть использовано для защиты технологического оборудования, аппаратуры и приборов, а также человека-оператора от воздействия вибрационных и ударных нагрузок. Виброизолятор с плоскими пружинами содержит демпфирующие элементы и упругие элементы в виде пакета упругих элементов арочного типа в виде набора чередующихся во взаимно перпендикулярных направлениях плоских пружин. Каждая из плоских пружин состоит из горизонтальной полки и двух боковых полок, отогнутых на угол 135° к горизонтальной полке и имеющих опорные участки на концах. Демпфирующий элемент виброизолятора выполнен фрикционным в виде расположенных параллельно оси виброизолятора заклепок, выполненных из фрикционного материала и соединяющих плоские пружины, взаимодействующие с основанием. Соосно с крепежными элементами виброизолятора размещена цилиндрическая винтовая пружина, которая контактирует с основанием и крепежными элементами. Изобретение повышает эффективность виброизоляции. 1 ил.
Изобретение относится к машиностроению и может быть использовано для защиты технологического оборудования, аппаратуры и приборов, а также человека-оператора от воздействия вибрационных и ударных нагрузок.
Наиболее близким техническим решением к заявляемому объекту является виброизолятор рессорного типа, содержащий основание, стойку, упругие элементы рессорного типа и опорные узлы по а.с. СССР №191280, F 16 F 3/08, 1967 г. (прототип).
Недостатком работы известного устройства является сравнительно невысокая эффективность виброизоляции из-за сравнительно большой жесткости рессор, состоящих из двух частей.
Технический результат изобретения – повышение эффективности виброизоляции.
Это достигается тем, что в виброизоляторе с листовыми пружинами, содержащем упругий и демпфирующий элементы, упругий элемент выполнен комбинированным и состоит из пакета упругих элементов арочного типа в виде набора чередующихся во взаимно перпендикулярных направлениях плоских пружин, опирающихся на основание, причем каждая из плоских пружин состоит из горизонтальной полки и двух боковых полок, отогнутых на угол 135° к горизонтальной полке и имеющих опорные участки на концах, и цилиндрической винтовой пружины, размещенной соосно с крепежными элементами виброизолятора, и контактирующей с основанием и крепежными элементами, а демпфирующий элемент виброизолятора выполнен фрикционным в виде расположенных параллельно оси виброизолятора заклепок, выполненных из фрикционного материала и соединяющих плоские пружины, взаимодействующие с основанием.
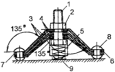
На чертеже изображен фронтальный разрез предлагаемого виброизолятора.
Виброизолятор содержит плоские упругие элементы, которые выполнены в виде пакета упругих элементов арочного типа в виде набора чередующихся во взаимно перпендикулярных направлениях плоских пружин 3 и 4, опирающихся на основание 9, причем каждая из плоских пружин состоит из горизонтальной полки и двух боковых полок, отогнутых на угол 135° к горизонтальной полке и имеющих опорные участки 6 и 7 на концах, а демпфирующий элемент виброизолятора выполнен фрикционным в виде расположенных параллельно оси виброизолятора заклепок 8, выполненных из фрикционного материала и соединяющих плоские пружины 3 и 4, взаимодействующие с основанием 9. Упругий элемент выполнен комбинированным и включает в себя цилиндрическую винтовую пружину 5, размещенную соосно с крепежными элементами 1 и 2 виброизолятора, и контактирующей с основанием 9 и крепежным элементом 1 (болтом), а демпфирующий элемент виброизолятора выполнен фрикционным в виде расположенных параллельно оси виброизолятора заклепок 8, выполненных из фрикционного материала и соединяющих плоские пружины, взаимодействующие с основанием. Крепление виброизолируемого объекта (на чертеже не показан) к виброизолятору осуществляется с помощью болта 1 с гайкой 2.
Виброизолятор работает следующим образом.
При воздействии внешней нагрузки упругие элементы 3 и 4 деформируются в осевом и радиальном направлениях. Радиальная деформация упругих элементов сопровождается изменением величины диаметра центров заклепок 8 и взаимного трения между заклепками из фрикционного материала и основанием 9, которое также может быть выполнено из фрикционного материала. Часть нагрузки приходится на цилиндрическую винтовую пружину 5, размещенную соосно с крепежными элементами 1 и 2 виброизолятора, и контактирующую с основанием 9 и крепежным элементом 1. Чередование взаимного расположения плоских пружин 3 и 4, составляющих упругие элементы арочного типа, во взаимно перпендикулярных направлениях обеспечивает наличие зазора между плоскими пружинами, что исключает их взаимное трение при деформациях упругого элемента. Благодаря функциональному разделению конструктивных узлов на упругие и демпфирующие элементы, а также простоте их сборки, обеспечивается оперативный подбор упругодемпфирующих характеристик виброизолятора для конкретных условий эксплуатации.
Предлагаемое техническое решение обеспечивает оперативность подбора упругодемпфирующих характеристик для конкретных условий эксплуатации, а также возможность повышения виброзащитных качеств на резонансе.
Формула изобретения
Виброизолятор с плоскими пружинами, содержащий упругие элементы в виде пакета упругих элементов арочного типа в виде набора чередующихся во взаимно перпендикулярных направлениях плоских пружин, причем каждая из плоских пружин состоит из горизонтальной полки и двух боковых полок, отогнутых на угол 135° к горизонтальной полке и имеющих опорные участки на концах, и демпфирующие элементы, отличающийся тем, что демпфирующий элемент виброизолятора выполнен фрикционным в виде расположенных параллельно оси виброизолятора заклепок, выполненных из фрикционного материала и соединяющих плоские пружины, взаимодействующие с основанием, а соосно с крепежными элементами виброизолятора размещена цилиндрическая винтовая пружина, которая контактирует с основанием и крепежными элементами
РИСУНКИ
|
|