|
| На основании пункта 3 статьи 13 Патентного закона Российской Федерации от 23 сентября 1992 г. № 3517-I патентообладатель обязуется передать исключительное право на изобретение (уступить патент) на условиях, соответствующих установившейся практике, лицу, первому изъявившему такое желание и уведомившему об этом патентообладателя и федеральный орган исполнительной власти по интеллектуальной собственности, – гражданину РФ или российскому юридическому лицу. |
|
(21), (22) Заявка: 2005128850/11, 19.09.2005
(24) Дата начала отсчета срока действия патента:
19.09.2005
(46) Опубликовано: 10.03.2007
(56) Список документов, цитированных в отчете о поиске:
SU 191280 A, 06.03.1967. RU 2082038 C1, 20.06.1997. US 5897093 А, 27.04.1999. ЕР 0083903 A1, 20.07.1983.
Адрес для переписки:
123458, Москва, ул. Твардовского, 11, кв.92, О.С. Кочетову
|
(72) Автор(ы):
Кочетов Олег Савельевич (RU), Кочетова Мария Олеговна (RU), Ходакова Татьяна Дмитриевна (RU)
(73) Патентообладатель(и):
Кочетов Олег Савельевич (RU)
|
(54) ВИБРОИЗОЛЯТОР С ПЛОСКИМИ ПРУЖИНАМИ
(57) Реферат:
Изобретение относится к машиностроению и может быть использовано для защиты технологического оборудования, аппаратуры и приборов, а также человека-оператора от воздействия вибрационных и ударных нагрузок. Виброизолятор с плоскими пружинами содержит демпфирующие элементы и упругие элементы в виде пакета упругих элементов арочного типа в виде набора чередующихся во взаимно перпендикулярных направлениях плоских пружин. Каждая из плоских пружин состоит из горизонтальной полки и двух боковых полок, отогнутых на угол 135° к горизонтальной полке и имеющих опорные участки на концах. Демпфирующий элемент виброизолятора выполнен фрикционным в виде расположенных параллельно оси виброизолятора заклепок, выполненных из фрикционного материала и соединяющих плоские пружины, взаимодействующие с основанием. Изобретение повышает эффективность виброизоляции. 1 ил.
Изобретение относится к машиностроению и может быть использовано для защиты технологического оборудования, аппаратуры и приборов, а также человека-оператора от воздействия вибрационных и ударных нагрузок.
Наиболее близким техническим решением к заявляемому объекту является виброизолятор рессорного типа, содержащий основание, стойку, упругие элементы рессорного типа и опорные узлы по а.с. СССР №191280, F 16 F 3/08, 1967 г. (прототип).
Недостатком работы известного устройства является сравнительно невысокая эффективность виброизоляции из-за сравнительно большой жесткости рессор, состоящих из двух частей.
Технический результат изобретения – повышение эффективности виброизоляции.
Это достигается тем, что в виброизоляторе, содержащим плоские пружины и демпфирующие элементы, плоские упругие элементы выполнены в виде пакета упругих элементов арочного типа в виде набора чередующихся во взаимно перпендикулярных направлениях плоских пружин, опирающихся на основание, причем каждая из плоских пружин состоит из горизонтальной полки и двух боковых полок, отогнутых на угол 135° к горизонтальной полке и имеющих опорные участки на концах, а демпфирующий элемент виброизолятора выполнен фрикционным в виде расположенных параллельно оси виброизолятора заклепок, выполненных из фрикционного материала и соединяющих плоские пружины, взаимодействующие с основанием.
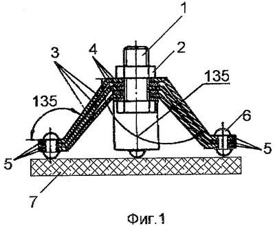
На фиг.1 изображен фронтальный разрез предлагаемого виброизолятора, на фиг.2 – вид сверху.
Виброизолятор с плоскими пружинами содержит плоские упругие элементы, которые выполнены в виде пакета упругих элементов арочного типа в виде набора чередующихся во взаимно перпендикулярных направлениях плоских пружин 3 и 4, опирающихся на основание 7, причем каждая из плоских пружин состоит из горизонтальной полки и двух боковых полок, отогнутых на угол 135° к горизонтальной полке и имеющих опорные участки 5 на концах, а демпфирующий элемент виброизолятора выполнен фрикционным в виде расположенных параллельно оси виброизолятора заклепок 6, выполненных из фрикционного материала и соединяющих плоские пружины 3 и 4, взаимодействующие с основанием 7. Крепление виброизолируемого объекта (не показан) к виброизолятору осуществляется с помощью болта 1 с гайкой 2.
Виброизолятор работает следующим образом.
При воздействии внешней нагрузки упругие элементы 3 и 4 деформируются в осевом и радиальном направлениях. Радиальная деформация упругих элементов сопровождается изменением величины диаметра центров заклепок 6 и взаимного трения между заклепками из фрикционного материала и основанием 7, которое также может быть выполнено из фрикционного материала. Чередование взаимного расположения плоских пружин 3 и 4, составляющих упругие элементы арочного типа, во взаимно перпендикулярных направлениях обеспечивает наличие зазора между плоскими пружинами, что исключает их взаимное трение при деформациях упругого элемента. Благодаря функциональному разделению конструктивных узлов на упругие и демпфирующие элементы, а также простоте их сборки, обеспечивается оперативный подбор упругодемпфирующих характеристик виброизолятора для конкретных условий эксплуатации.
Предлагаемое техническое решение обеспечивает оперативность подбора упругодемпфирующих характеристик для конкретных условий эксплуатации, а также возможность повышения виброзащитных качеств на резонансе.
Формула изобретения
Виброизолятор с плоскими пружинами, содержащий упругие элементы в виде пакета упругих элементов арочного типа в виде набора чередующихся во взаимно перпендикулярных направлениях плоских пружин, причем каждая из плоских пружин состоит из горизонтальной полки и двух боковых полок, отогнутых на угол 135° к горизонтальной полке и имеющих опорные участки на концах, и демпфирующие элементы, отличающийся тем, что демпфирующий элемент виброизолятора выполнен фрикционным в виде расположенных параллельно оси виброизолятора заклепок, выполненных из фрикционного материала и соединяющих плоские пружины, взаимодействующие с основанием.
РИСУНКИ
|
|