|
|
(21), (22) Заявка: 2005137465/11, 01.12.2005
(24) Дата начала отсчета срока действия патента:
01.12.2005
(46) Опубликовано: 10.03.2007
(56) Список документов, цитированных в отчете о поиске:
RU 2170696 C1, 20.07.2001. SU 1384484 A1, 30.03.1988. RU 2258658 C1, 20.08.2005. SE 524826 C2, 12.10.2004.
Адрес для переписки:
199106, Санкт-Петербург, В.О., 21 линия, 2, СПГГИ (ТУ), патентный отдел
|
(72) Автор(ы):
Тарасов Юрий Дмитриевич (RU)
(73) Патентообладатель(и):
Государственное образовательное учреждение высшего профессионального образования “Санкт-Петербургский государственный горный институт им. Г.В. Плеханова (технический университет)” (RU)
|
(54) ЛЕНТОЧНЫЙ КОНВЕЙЕР С ПОДВЕСНОЙ ЛЕНТОЙ
(57) Реферат:
Изобретение относится к конвейеростроению, а именно к ленточным конвейерам с подвесной лентой для транспортирования кусковых и сыпучих грузов. Конвейер содержит стойки, бесконечно замкнутую на барабанах ленту с образованием грузонесущей и нерабочей ветвей, установленные на стойках опорные элементы с возможностью опирания на них бортов обеих ветвей ленты. Грузонесущая и нерабочая ветви ленты размещены эквидистантно относительно друг друга. К бортам ленты с одинаковым шагом по ее длине с наружной стороны прикреплены жесткие скобы криволинейного профиля с возможностью их взаимодействия с шинами круглого поперечного сечения, размещенными со стороны продольной оси ленты. Между бортами грузонесущей и нерабочей ветвей ленты размещены плоские направляющие с возможностью их взаимодействия с бортами ленты на ее грузонесущей и нерабочей ветвях. Шины и плоские направляющие ориентированы вдоль конвейера. Скобы и плоские направляющие выполнены из антифрикционного материала по отношению соответственно к шинам и ленте. Технический результат – упрощение и удешевление конструкции. 2 ил.
Изобретение относится к конвейеростроению, а именно к ленточным конвейерам с подвесной лентой для транспортирования кусковых и сыпучих грузов.
Известны ленточные конвейеры с подвесной лентой, включающие бесконечно замкнутую в вертикальной плоскости на барабанах конвейерную ленту, два бесконечно замкнутых на приводных, натяжных и отклоняющих шкивах гибких элемента в виде тягово-несущих канатов с возможностью опирания на них бортов конвейерной ленты, дисковые ролики с возможностью опирания на них канатов, раму (Спиваковский А.О., Дьячков В.К. Транспортирующие машины. М., Машиностроение, 1983, с.158-159, рис.4.47).
Однако недостатками известных конвейеров являются сложность конструкции, ограничение площади поперечного сечения лотка конвейерной ленты, снижающая производительность конвейера, невозможность улавливания оборвавшейся ленты наклонного конвейера.
Известен ленточный конвейер с подвесной лентой (прототип), содержащий стойки, бесконечно замкнутую на барабанах ленту с образованием грузонесущей и нерабочей ветвей и опирающуюся своими бортами на ремни Т-образного профиля в поперечном сечении, при этом ремни размещены с возможностью опирания их полок на рабочей и нерабочей ветвях на два дисковых ролика с закругленными ободами, которые установлены перпендикулярно друг другу и размещены симметрично относительно ремня, а борта ленты с ремнями связаны посредством скоб, соединенных между собой с помощью пальцев (пат. РФ №2170696, Кл. В 65 G 15/08, 2001 г.).
Недостатками известного конвейера являются сложность конструкции и невозможность улавливания оборвавшейся ленты наклонного конвейера.
Техническим результатом изобретения является упрощение и удешевление конструкции конвейера за счет уменьшения количества конструктивных элементов и перехода от вращающихся опорных элементов к опорам скольжения для снижения трудозатрат при эксплуатации конвейера.
Технический результат достигается тем, что в ленточном конвейере с подвесной лентой, содержащем стойки, бесконечно замкнутую на барабанах ленту с образованием грузонесущей и нерабочей ветвей, установленные на стойках опорные элементы с возможностью опирания на них бортов обеих ветвей ленты, согласно изобретению грузонесущая и нерабочая ветви ленты размещены эквидистантно относительно друг друга, а к бортам ленты с одинаковым шагом по ее длине с наружной стороны прикреплены жесткие скобы криволинейного профиля с возможностью их взаимодействия с шинами круглого поперечного сечения, размещенными со стороны продольной оси ленты, а между бортами грузонесущей и нерабочей ветвей ленты размещены плоские направляющие с возможностью их взаимодействия с бортами ленты на ее грузонесущей и нерабочей ветвях, при этом шины и плоские направляющие ориентированы вдоль конвейера, причем скобы и плоские направляющие выполнены из антифрикционного материала по отношению соответственно к шинам и ленте.
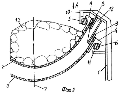
Ленточный конвейер с подвесной лентой показан на фиг.1 – поперечный разрез, на фиг.2 – вид А по фиг.1.
Ленточный конвейер с подвесной лентой содержит стойки 1, бесконечно замкнутую на барабанах (не показаны) ленту с образованием грузонесущей 2 и нерабочей 3 ветвей. Грузонесущая 2 и нерабочая 3 ветви ленты размещены эквидистантно относительно друг друга. К бортам ленты с одинаковым шагом по ее длине с наружной стороны прикреплены жесткие скобы 4 криволинейного профиля с возможностью их взаимодействия с шинами 5 и 6 круглого поперечного сечения для грузонесущей 2 и нерабочей 3 ветвей ленты. Шины 5 и 6 размещены со стороны продольной оси 7 ленты. Между бортами грузонесущей 2 и нерабочей 3 ветвей ленты размещены плоские направляющие 8 и 9 с возможностью их взаимодействия с бортами ленты на ее грузонесущей 2 и нерабочей 3 ветвях. При этом шины 5, 6 и плоские направляющие 8, 9 ориентированы вдоль оси 7 конвейера. Скобы 4 и плоские направляющие 8 и 9 выполнены из антифрикционного материала по отношению соответственно к шинам 5, 6 и ленте (2, 3). Шины 5 и 6 на стойках 1 закреплены с помощью съемных кронштейнов 10 и 11, а плоские направляющие 8 и 9 – с помощью кронштейнов 12, 13 – транспортируемый груз.
Ленточный конвейер с подвесной лентой действует следующим образом. Тяговое усилие от приводного барабана передается грузонесущей ветви 2 ленты с находящимся на ней транспортируемым грузом 13. Поперечное натяжение от веса грузонесущей ветви 2 ленты и веса груза 13 передается через скобы 4, прикрепленные к бортам ленты, на шины 5, на нерабочей ветви 3 от ее веса – на шины 6, а также на плоские направляющие 8 и 9. Поскольку дисковые шины 5, 6 и плоские направляющие 8, 9 со стороны каждого борта ленты размещены в одной плоскости, друг под другом, обеспечивается надежная фиксация бортов ленты в поперечном направлении при движении обеих ее ветвей 2 и 3. За счет использования материалов с антифрикционными свойствами в парах трения шины 5, 6 и скобы 4, лента (2, 3) плоские направляющие 8, 9 ограничивают сопротивление движению ленты на ее грузонесущей 2 и нерабочей 3 ветвях. При этом с увеличением угла наклона конвейера сопротивление движению ленты будут уменьшаться за счет соответствующего уменьшения нормальных составляющих, действующих в опорных элементах.
Отличительные признаки изобретения обеспечивают упрощение и удешевление конструкции конвейера за счет уменьшения количества конструктивных элементов и перехода от вращающихся опорных элементов к опорам скольжения для снижения трудозатрат при эксплуатации конвейера.
Формула изобретения
Ленточный конвейер с подвесной лентой, содержащий стойки, бесконечно замкнутую на барабанах ленту с образованием грузонесущей и нерабочей ветвей, установленные на стойках опорные элементы с возможностью опирания на них бортов обеих ветвей ленты, отличающийся тем, что грузонесущая и нерабочая ветви ленты размещены эквидистантно относительно друг друга, а к бортам ленты с одинаковым шагом по ее длине с наружной стороны прикреплены жесткие скобы криволинейного профиля с возможностью их взаимодействия с шинами круглого поперечного сечения, размещенными со стороны продольной оси ленты, а между бортами грузонесущей и нерабочей ветвей ленты размещены плоские направляющие с возможностью их взаимодействия с бортами ленты на ее грузонесущей и нерабочей ветвях, при этом шины и плоские направляющие ориентированы вдоль конвейера, причем скобы и плоские направляющие выполнены из антифрикционного материала по отношению соответственно к шинам и ленте.
РИСУНКИ
MM4A – Досрочное прекращение действия патента СССР или патента Российской Федерации на изобретение из-за неуплаты в установленный срок пошлины за поддержание патента в силе
Дата прекращения действия патента: 02.12.2007
Извещение опубликовано: 20.11.2009 БИ: 32/2009
|
|