|
|
(21), (22) Заявка: 2005136620/11, 24.11.2005
(24) Дата начала отсчета срока действия патента:
24.11.2005
(46) Опубликовано: 10.03.2007
(56) Список документов, цитированных в отчете о поиске:
RU 2170696 C1, 20.07.2001. SU 1384484 A1, 30.03.1988. RU 2258658 C1, 20.08.2005. SE 524826 C2, 12.10.2004.
Адрес для переписки:
199106, Санкт-Петербург, В.О., 21 линия, 2, СПГГИ(ТУ), патентный отдел, пат. пов. А.П. Яковлеву, рег.№ 314
|
(72) Автор(ы):
Тарасов Юрий Дмитриевич (RU)
(73) Патентообладатель(и):
Государственное образовательное учреждение высшего профессионального образования “Санкт-Петербургский государственный горный институт им. Г.В. Плеханова (технический университет)” (RU)
|
(54) КОНВЕЙЕР С ПОДВЕСНОЙ ЛЕНТОЙ
(57) Реферат:
Изобретение относится к конвейеростроению, а именно к ленточным конвейерам с подвесной лентой для транспортирования кусковых и сыпучих грузов. Конвейер, содержит стойки, бесконечно замкнутую на барабанах ленту с образованием грузонесущей и нерабочей ветвей, размещенные на стойках опорные элементы с возможностью поддержания ими обеих ветвей ленты. Борта ленты выполнены с обращенными наружу ее контура закругленными выступами с их плавными сопряжениями со средней равнотолщинной частью ленты. Грузонесущая и нерабочая ветви ленты размещены эквидистантно друг относительно друга. Опорные элементы выполнены в виде шин круглого поперечного сечения с возможностью их взаимодействия с выступами ленты на ее грузонесущей и нерабочей ветвях со стороны продольной оси ленты и плоских направляющих, размещенных между бортами грузонесущей и нерабочей ветвей ленты и с возможностью взаимодействия с ними. Шины и плоские направляющие размещены в продольном относительно конвейера направлении, а их рабочие поверхности покрыты слоем антифрикционного материала. Технический результат – упрощение и удешевление конструкции конвейера за счет отказа от вращающихся опорных элементов ленты. 1 з.п. ф-лы, 1 ил.
Изобретение относится к конвейеростроению, а именно к ленточным конвейерам с подвесной лентой для транспортирования кусковых и сыпучих грузов.
Известны конвейеры с подвесной лентой, включающие бесконечно замкнутую в вертикальной плоскости на барабанах конвейерную ленту, два бесконечно замкнутых на приводных, натяжных и отклоняющих шкивах гибких элемента в виде тягово-несущих канатов с возможностью опирания на них бортов конвейерной ленты, дисковые ролики с возможностью опирания на них канатов, раму (Спиваковский А.О., Дьячков В.К. Транспортирующие машины. М.: Машиностроение, 1983, с.158-159, рис.4.47).
Однако недостатками известных конвейеров являются сложность конструкции, ограничение площади поперечного сечения лотка конвейерной ленты.
Известен конвейер с подвесной лентой (прототип), содержащий стойки, бесконечно замкнутую на барабанах ленту с образованием грузонесущей и нерабочей ветвей и опирающуюся своими бортами на ремни Т-образного профиля в поперечном сечении, при этом ремни размещены с возможностью опирания их полок на рабочей и нерабочей ветвях на два дисковых ролика с закругленными ободами, которые установлены перпендикулярно друг другу и размещены симметрично относительно ремня, а борта ленты с ремнями связаны посредством скоб, соединенных между собой с помощью пальцев (Пат. РФ №2170696, кл. В 65 G 15/08, 2001 г.).
Недостатком известного конвейера является сложность конструкции.
Техническим результатом изобретения является упрощение и удешевление конструкции конвейера с ликвидацией вращающихся опорных элементов для ленты.
Технический результат достигается тем, что в конвейере с подвесной лентой, содержащем стойки, бесконечно замкнутую на барабанах ленту с образованием грузонесущей и нерабочей ветвей, размещенные на стойках опорные элементы с возможностью поддержания ими обеих ветвей ленты, согласно изобретению борта ленты выполнены с обращенными наружу ее контура закругленными выступами с их плавными сопряжениями со средней равнотолщинной частью ленты, грузонесущая и нерабочая ветви ленты размещены эквидистантно друг относительно друга, а опорные элементы выполнены в виде шин круглого поперечного сечения с возможностью их взаимодействия с выступами ленты на ее грузонесущей и нерабочей ветвях со стороны продольной оси ленты и плоских направляющих, размещенных между бортами грузонесущей и нерабочей ветвями ленты и с возможностью взаимодействия с ними, при этом шины и плоские направляющие размещены в продольном относительно конвейера направлении, а их рабочие поверхности покрыты слоем антифрикционного материала. Опорные элементы могут быть выполнены съемными.
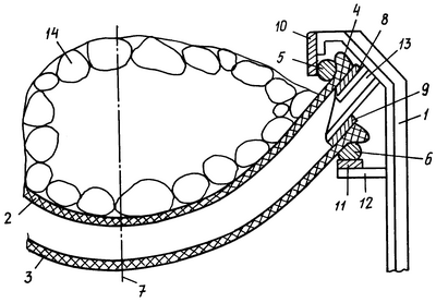
Конвейер с подвесной лентой показан на чертеже – поперечный разрез.
Конвейер с подвесной лентой содержит стойки 1, бесконечно замкнутую на барабанах (не показаны) ленту с образованием грузонесущей 2 и нерабочей 3 ветвей. При этом борта ленты (2, 3) выполнены с обращенными наружу ее контура закругленными выступами 4 с их плавными сопряжениями со средней равнотолщинной частью ленты, а грузонесущая 2 и нерабочая 3 ветви ленты размещены эквидистантно друг относительно друга. На стойках 1 на грузонесущей и нерабочей ветвях размещены опорные элементы, выполненные в виде шин 5 и 6 круглого поперечного сечения с возможностью их взаимодействия с выступами 4 ленты на ее грузонесущей и нерабочей ветвях со стороны продольной оси 7 ленты и плоских направляющих 8 и 9, размещенных между бортами грузонесущей 2 и нерабочей 3 ветвей ленты и с возможностью взаимодействия с ними. При этом шины 5, 6 и плоские направляющие 8, 9 размещены в продольном относительно конвейера направлении, а их рабочие поверхности покрыты слоем антифрикционного материала. Опорные элементы, выполненные в виде шин 5, 6 и плоских направляющих 8, 9, выполнены съемными, для чего они снабжены кронштейнами 10, 11 12 и 13 для крепления к стойкам 1. 14 – транспортируемый груз.
Конвейер с подвесной лентой действует следующим образом. Тяговое усилие от приводного барабана передается грузонесущей ветви 2 ленты с находящимся на ней грузом 14. Поперечное натяжение от веса грузонесущей ветви 2 ленты и веса груза 14 передается через выступы 4 бортов грузонесущей ветви 2 ленты на шины 5 и плоские направляющие 8, размещенные симметрично относительно продольной оси 7 ленты. Поперечное натяжение от веса нерабочей ветви 3 ленты передается на шины 6 и плоские направляющие 9. Поскольку шины 5, 6 и плоские направляющие 8, 9 со стороны каждого борта ленты размещены друг под другом, обеспечивается надежная фиксация бортов ленты в поперечном направлении при движении обеих ее ветвей 2 и 3.
Подбором антифрикционного материала (например, из фторопластовой композиции или электролитического хрома) для покрытия рабочих поверхностей шин 5, 6 и плоских направляющих 8, 9 можно добиться коэффициента трения между лентой и опорными элементами порядка 0,09-0,1, что соизмеримо с величиной коэффициента сопротивления движению ленты по роликовым опорам.
Отличительные признаки изобретения обеспечивают упрощение и удешевление конструкции конвейера за счет ликвидации вращающихся опорных элементов для ленты с их заменой на опоры скольжения.
Формула изобретения
1. Конвейер с подвесной лентой, содержащий стойки, бесконечно замкнутую на барабанах ленту с образованием грузонесущей и нерабочей ветвей, размещенные на стойках опорные элементы с возможностью поддержания ими обеих ветвей ленты, отличающийся тем, что борта ленты выполнены с обращенными наружу ее контура закругленными выступами с их плавными сопряжениями со средней равнотолщинной частью ленты, грузонесущая и нерабочая ветви ленты размещены эквидистантно относительно друг друга, а опорные элементы выполнены в виде шин круглого поперечного сечения с возможностью их взаимодействия с выступами ленты на ее грузонесущей и нерабочей ветвях со стороны продольной оси ленты, и плоских направляющих, размещенных между бортами грузонесущей и нерабочей ветвей ленты и с возможностью взаимодействия с ними, при этом шины и плоские направляющие размещены в продольном относительно конвейера направлении, а их рабочие поверхности покрыты слоем антифрикционного материала.
2. Конвейер по п.1, отличающийся тем, что опорные элементы выполнены съемными.
РИСУНКИ
MM4A – Досрочное прекращение действия патента СССР или патента Российской Федерации на изобретение из-за неуплаты в установленный срок пошлины за поддержание патента в силе
Дата прекращения действия патента: 25.11.2007
Извещение опубликовано: 20.11.2009 БИ: 32/2009
|
|