|
|
(21), (22) Заявка: 2005138647/11, 12.12.2005
(24) Дата начала отсчета срока действия патента:
12.12.2005
(46) Опубликовано: 10.03.2007
(56) Список документов, цитированных в отчете о поиске:
Краткий автомобильный справочник. 10-е изд. – М.: Транспорт, 1983, с.81 и с.91. SU 1458251 А1, 15.02.1989. RU 2076807 C1, 10.04.1997. DE 4429986 А, 18.05.1995.
Адрес для переписки:
399770, Липецкая обл., г. Елец, ул. Коммунаров, 28, Елецкий государственный университет им. И.А. Бунина
|
(72) Автор(ы):
Сливинский Евгений Васильевич (RU), Мелихов Максим Николаевич (RU)
(73) Патентообладатель(и):
Государственное образовательное учреждение высшего профессионального образования “Елецкий государственный университет им. И.А. Бунина” (RU)
|
(54) ОПОРНО-СЦЕПНОЕ УСТРОЙСТВО АВТОПОЕЗДА
(57) Реферат:
Изобретение относится к области безрельсовых транспортных средств и может быть использовано в конструкциях различных автопоездов. Опорно-сцепное устройство автопоезда состоит из седла с вертикально расположенным отверстием, шарнирно установленного на раме автомобиля-тягача и взаимосвязанного со шкворнем полуприцепа, закрепленного на опорном листе уступа его рамы и несущего опорные стойки с механизмом их привода. Отверстие седла выполнено овальным и в нем с возможностью углового поворота размещена овальной формы разрезная упругая втулка с вертикально расположенным пазом, размер которого по ширине больше, чем наибольший диаметр шкворня, и снабженная на своем верхнем торце зубцами треугольной формы. Шкворень на опорном листе уступа рамы полуприцепа установлен с возможностью вращения относительно продольной оси его симметрии, причем с одной стороны на нем жестко закреплена упорная шайба, на торцевой поверхности которой также нарезаны упомянутой формы зубцы, а с другой имеется коническая шестерня, взаимосвязанная с ответной, установленной на валу, снабженном цилиндрической шестерней, взаимодействующей с зубчатой рейкой, жестко присоединенной к одной из опорных стоек полуприцепа. Технический результат – автоматизация процесса сцепа и расцепа звеньев автопоезда с обеспечением надежного соединения автомобиля-тягача и полуприцепа в эксплуатационных условиях. 3 ил.
Предлагаемое изобретение относится к области безрельсовых транспортных средств и может быть использовано в конструкциях различных автопоездов.
Известны конструкции опорно-сцепных устройств автомобильных поездов, состоящих из автомобилей-тягачей и полуприцепов. Так, например, в книге М.М.Щукин. Сцепные устройства автомобилей и тягачей. Конструкция, теория и расчет. – М.-Л.: Машгиз, 1961, на стр.49-51, фиг.43 и 42 показано и описано опорно-сцепное устройство с фиксацией сцепки шкворнем, используемое на автомобилях-тягачах отечественного производства, таких как ГА3-51П, ЗИЛ-164Н, МАЗ-200В и других. Конструкция такого устройства представляет собой (см. фиг.43 этой же книги) опорную плиту, которая с помощью болтов закреплена на раме автомобиля-тягача. Связь опорной плиты с седлом осуществлена с использованием механизма гибкости, который состоит из двух шарниров. В самом седле выполнено отверстие, сопрягаемое с продольным пазом, предназначенным для прохода шкворня полуприцепа при сцепе или расцепе звеньев автопоезда. В седле размещен разъемно-сцепной механизм, состоящий из захватов, контактирующих со шкворнем, и фиксирующего их замка. Шкворень жестко закреплен на опорном листе уступа рамы полуприцепа (см. фиг.42 этой же книги), который снабжен опорными стойками с механизмом их привода, предназначенными для установки полуприцепа в такое положение, как это показано на фиг.42. Существенным недостатком такого устройства является, во-первых, необходимость использования ручного труда при приводе замкового устройства, что весьма небезопасно, так как человек, находящийся в зоне сцепа или расцепа звеньев автопоезда, находится в опасной зоне, и, во-вторых, отказ замка в движении автопоезда может привести к саморасцепу его с тяжелыми последствиями и даже гибелью людей, находящихся в это время на дороге.
Известно также опорно-сцепное устройство автопоезда, состоящего из седельного автомобиля-тягача МАЗ-5429 и полуприцепа МАЗ-9389, показанных на рисунках книги Краткий автомобильный справочник. – 10-е изд., перераб. и доп. – М.: Транспорт, 1983 на стр.81 и 91. Конструкция опорно-сцепного устройства такого автопоезда в целом аналогична вышеописанной, и поэтому недостатки их подобны.
Поэтому целью предлагаемого изобретения является исключение ручного труда при сцепе и расцепе автомобильных поездов, состоящих из автомобилей-тягачей и полуприцепов.
Поставленная цель достигается тем, что отверстие седла выполнено овальным и в нем, с возможностью углового поворота, размещена овальной формы разрезная упругая втулка с вертикально расположенным пазом, размер которого по ширине больше, чем наибольший диаметр шкворня, и снабженная на своем верхнем торце зубцами треугольной формы, при этом шкворень на опорном листе уступа рамы полуприцепа установлен с возможностью вращения относительно продольной оси его симметрии, причем с одной стороны на нем жестко закреплена упорная шайба, на торцевой поверхности которой также нарезаны упомянутой формы зубцы, а с другой имеется коническая шестерня, взаимосвязанная с ответной, установленной на валу, снабженном цилиндрической шестерней, взаимодействующей с зубчатой рейкой, жестко присоединенной к одной из опорных стоек полуприцепа.
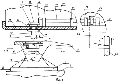
На фиг.1 показан общий вид сбоку опорно-сцепного устройства, на фиг.2 – вид сверху на седло седельного устройства с вырывом части его деталей и на фиг.3 – упругая втулка седла в аксонометрии.
Опорно-сцепное устройство автопоезда представляет собой опорную плиту 1, жестко закрепленную на раме 2 автомобиля-тягача (последний на чертежах не показан). Опорная плита 1 с помощью шарнира 3 соединена с седлом 4, в котором выполнено овальное отверстие 5 с установленной в нем овальной разрезной упругой втулки 6, снабженной зубцами 7. В овальной упругой втулке 7 располагается шкворень 8, снабженный буртом 9 и цилиндрической частью 10, и на ней жестко закреплена упорная шайба 11, также снабженная зубцами 7. Шкворень 8 с возможностью вращения установлен в подшипнике 12, размещенном в опорном листе 13 рамы 14 полуприцепа (полуприцеп на чертежах не показан) и снабжен коническим колесом 15, взаимосвязанным с конической шестерней 16, закрепленной на валу 17, установленном в подшипниковых опорах 18. На валу 17 также закреплена цилиндрическая шестерня 19, взаимодействующая с зубчатой рейкой 20, которая при помощи кронштейна 21 жестко закреплена на опорной стойке 22 опорного устройства полуприцепа (опорное устройство полуприцепа также в целом на чертежах не показано).
Работает опорно-сцепное устройство автопоезда следующим образом. Для производства сцепа автомобиля-тягача и полуприцепа (на чертежах они не показаны), когда полуприцеп установлен на опорном устройстве и его опорные колеса расположены на грунте (такое положение полуприцепа широко известно в данной области техники, и его можно видеть на рисунках, представленных в аналоге и прототипе), его шкворень 8 может занимать различные положения по высоте относительно седла 4, например, такое, как это показано на фиг.1. Причем это достигается тем, что автомобиль-тягач подают задним ходом под полуприцеп по стрелке В. После этого с помощью механизма подъема опорных стоек 22 (на чертежах он не показан), который может быть механическим, гидравлическим и т.д., перемещают их по стрелке С, обеспечивая тем самым осадку полуприцепа по стрелке Д на седло 4. Так как опорная стойка 22 движется по стрелке С относительно рамы 14 полуприцепа, то зубчатая рейка 20 вращает цилиндрическую шестерню 19, а вместе с ней вращающийся момент передается валу 17, который через коническую шестерню 16 и коническое колесо 15 вращает шкворень 8, например, по стрелке Е. Такое вращение происходит постоянно до тех пор, пока упорная шайба 11 своими зубцами 7 не войдет в контакт с ответными, выполненными на разрезной овальной упругой втулке 6. Под действием вращающего момента, создаваемого шкворнем 8, разрезная овальная упругая втулка 6 также получает угловой поворот по стрелке Е, а так как она проворачивается в овальном отверстии 5 седла 4, то зазор , выполненный в ней, уменьшается и последняя охватывает цилиндрическую часть 10 шкворня 8, фиксируя тем самым бурт 9 в седле 4 и исключая тем самым, при возможных вертикальных перемещениях прицепа от неровностей дорог, расцеп звеньев автопоезда. После этого перемещение по стрелке С опорной стойки 22 прекращают, и автопоезд готов к движению. При отцепе полуприцепа в необходимом месте, предусмотренном для его выгрузки или хранения, опорные стойки 22 перемещают в направлении, обратном стрелке С. Такое их движение обеспечит, подобно тому как это описано выше, угловой поворот шкворня 8 в направлении, обратном стрелке Е, и тогда разрезная овальная упругая втулка 6 поворачивается в направлении, обратном стрелке Е, и как только она займет положение, показанное на фиг.2, цилиндрическая часть 10 и бурт 9 шкворня 8 освобождаются и полуприцеп своим опорным листом 13 отходит от седла 4, перемещаясь в направлении, обратном стрелке Д. Далее описанные процессы по расцепу и сцепу звеньев автопоезда могут повторяться неоднократно.
Технико-экономическое преимущество предложенного технического решения в сравнении с известным очевидно, так как оно направлено на автоматизацию процесса сцепа и расцепа звеньев автопоезда с обеспечением надежного соединения автомобиля-тягача и полуприцепа в эксплуатационных условиях.
Формула изобретения
Опорно-сцепное устройство автопоезда, состоящее из седла с вертикально расположенным отверстием, шарнирно установленного на раме автомобиля-тягача и взаимосвязанного со шкворнем полуприцепа, закрепленного на опорном листе уступа его рамы и несущего опорные стойки с механизмом их привода, отличающееся тем, что отверстие седла выполнено овальным и в нем с возможностью углового поворота размещена овальной формы разрезная упругая втулка с вертикально расположенным пазом, размер которого по ширине больше, чем наибольший диаметр шкворня, и снабженная на своем верхнем торце зубцами треугольной формы, при этом шкворень на опорном листе уступа рамы полуприцепа установлен с возможностью вращения относительно продольной оси его симметрии, причем с одной стороны на нем жестко закреплена упорная шайба, на торцевой поверхности которой также нарезаны упомянутой формы зубцы, а с другой имеется коническая шестерня, взаимосвязанная с ответной, установленной на валу, снабженном цилиндрической шестерней, взаимодействующей с зубчатой рейкой, жестко присоединенной к одной из опорных стоек полуприцепа.
РИСУНКИ
|
|