|
|
(21), (22) Заявка: 2004101059/12, 07.06.2002
(24) Дата начала отсчета срока действия патента:
07.06.2002
(30) Конвенционный приоритет:
08.06.2001 (пп.1-9) FR 0107514
(43) Дата публикации заявки: 27.12.2004
(46) Опубликовано: 10.03.2007
(56) Список документов, цитированных в отчете о поиске:
FR 2793722 A1, 24.11.2000. GB 1343846 A, 16.01.1974. FR 2059446 A, 28.05.1971. US 3690441 A, 12.09.1972. FR 2170075 A, 14.09.1973. FR 2653058 A1, 19.04.1991. SU 289560 A1, 18.02.1971.
(85) Дата перевода заявки PCT на национальную фазу:
08.01.2004
(86) Заявка PCT:
FR 02/01957 (07.06.2002)
(87) Публикация PCT:
WO 02/100622 (19.12.2002)
Адрес для переписки:
191036, Санкт-Петербург, а/я 24, НЕВИНПАТ, пат.пов. А.В.Поликарпову
|
(72) Автор(ы):
МЮ Клод (FR), ТРАССАР Патрик (FR), ДОРЕН Люк (FR)
(73) Патентообладатель(и):
ЭйДиЭс (FR)
|
(54) ПРИВОДНОЕ УСТРОЙСТВО ДЛЯ ПРЕСС-ФОРМЫ, СОСТОЯЩЕЙ ИЗ ДВУХ ШАРНИРНО СОЕДИНЕННЫХ ПОЛУФОРМ
(57) Реферат:
Данное изобретение относится к конструкции пресс-форм, в частности для литьевых машин для литья под давлением и формования раздувом. Оно является приводным устройством для пресс-формы, состоящей из двух полуформ, которые шарнирно соединены друг с другом осью. Эти полуформы перемещаются из открытого положения в закрытое при помощи подвижных салазок, перемещающихся возвратно-поступательно в прямом и обратном направлении. Каждая из полуформ шарнирно соединена также с поворотным элементом, который установлен на оси. Она приводится в движение по крайней мере одной управляющей тягой, шарнирно соединенной одним концом с поворотным элементом, а другим концом – с подвижными салазками. Данное изобретение может представлять собой группу пресс-форм, каждая из которых состоит из двух шарнирно соединенных полуформ, выполненных по данному изобретению. Технический результат, достигаемый при использовании данного изобретения, заключается в легком смыкании и удержании в закрытом положении полуформ без всяких дополнительных средств. 2 н. и 7 з.п. ф-лы, 5 ил.
Изобретение относится к приводным устройствам для пресс-форм, состоящих из двух частей, которые представляют собой две полуформы, имеющие возможность поворачиваться вокруг общей оси, образуя шарнирное соединение.
Известны конструкции пресс-форм, состоящих из двух частей, или же полуформ, в частности, для литьевых машин для литья под давлением и формования раздувом.
Каждая из двух таких полуформ обычно устанавливается на салазках, и они могут перемещаться навстречу друг другу, оставаясь взаимно параллельными.
Также давно известны устройства, в которых такие полуформы соединены общей осью, образуя шарнирное соединение, и перемещаются из открытого положения в закрытое при помощи каретки, которая может перемещаться поступательно в прямом и обратном направлении, как описано в патентах Франции 2059446 и 2088523 и заявке на патент Франции 2793722.
Данное изобретение относится к устройствам для привода пресс-форм, состоящих из двух частей, которые представляют собой две полуформы, имеющие конструкцию, описанную выше. Устройство по данному изобретению отличается тем, что каждая полуформа также шарнирно соединена элементом, который может поворачиваться вокруг оси и приводится в движение при помощи по крайней мере одной управляющей тяги, шарнирно соединенной одним концом с упомянутым поворотным элементом, а другим с упомянутыми салазками, которые могут свободно перемещаться поступательно.
По одному из возможных исполнений каждая полуформа шарнирно соединена с поворотным элементом по крайней мере одним промежуточным звеном, тогда как управляющие тяги поворотных элементов полуформ шарнирно соединены с общими подвижными салазками. И более конкретно в последнем случае конструкция данных подвижных салазок может представлять собой траверсу, которая устанавливается с возможностью скольжения по крайней мере на две направляющие, и с которыми шарнирно соединены управляющие тяги.
В предпочтительном варианте исполнения данные подвижные салазки перемещаются в прямом и обратном направлении под действием по крайней мере одного ролика, который взаимодействует с кулачком. Ролик может быть размещен, например, на толкателе, установленном с возможностью свободного поворота вокруг оси, неподвижной по отношению к осям поворотных элементов, которые приводят в движение полуформы.
Когда данные полуформы находятся в закрытом положении, предпочтительно, чтобы продольные оси промежуточных звеньев, установленных между упомянутыми полуформами и поворотными элементами, находились приблизительно на одной линии относительно друг друга вдоль линии, которая соединяет оси поворота упомянутых поворотных элементов.
Благодаря такой схеме указанные полуформы легко смыкаются и удерживаются в закрытом положении без всяких дополнительных средств.
Предметом данного изобретения является также группа пресс-форм, каждая из которых состоит из двух полуформ, шарнирно соединенных между собой посредством оси, причем каждая из полуформ снабжена приводным устройством, описанным выше. Такое устройство отличается тем, что пресс-формы расположены по окружности или по дуге окружности, а подвижные салазки приводятся в движение роликами, которые взаимодействуют с общим кулачком. В результате, упомянутые пресс-формы перемещаются в соответствии с движением этого кулачка.
В одном из исполнений пресс-формы закреплены на элементе, который вращается вокруг общего кулачка, который закреплен неподвижно. Однако возможно также исполнение с неподвижными пресс-формами и вращающимся кулачком.
Изобретение будет более понятно из нижеприведенного описания со ссылками на прилагаемые чертежи, где:
– на фиг.1 и фиг.2 показана аксонометрическая проекция устройства но данному изобретению: пресс-форма показана в открытом и закрытом положениях соответственно;
– на фиг.3 и фиг.4 показан вид сверху устройства, изображенного соответственно на фиг.1 и фиг.2, а также частично показан приводной кулачок;
– на фиг.5 показан вид сверху группы из нескольких пресс-форм, каждая из которых снабжена приводным устройством, управляемым от общего кулачка.
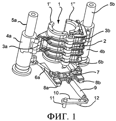
Как показано на фигурах, устройство по данному изобретению приводит в движение пресс-форму 1, состоящую из двух частей, представляющих собой полуформы 1′, 1”, которые соединены друг с другом посредством оси 2, образуя шарнирное соединение.
Каждая из таких полуформ 1′, 1” шарнирно соединена при помощи промежуточных звеньев 3а, 3b с элементами 4а, 4b, которые установлены с возможностью поворота на осях 5а, 5b.
Каждый из этих поворотных элементов 4а, 4b приводится в движение управляющими тягами 6а, 6b, шарнирно присоединенными одним из концов к упомянутым поворотным элементам 4а, 4b соответственно, а другим к подвижным салазкам 7.
Данные салазки 7 снабжены траверсой, которая установлена с возможностью скольжения по двум направляющим 8а, 8b и на которой шарнирно закреплен один из концов каждой из управляющих тяг 6а, 6b.
Таким образом, понятно, что при движении салазок 7 в прямом и обратном направлении устройство переводится из открытого положения, показанного на фиг.1 и фиг.3, в закрытое положение, показанное соответственно на фиг.2 и фиг.4, и обратно.
Поступательное перемещение салазок 7 вызывает поворот элементов 4а, 4b при посредстве управляющих тяг 6а, 6b, что приводит к открытию или закрытию пресс-формы под воздействием промежуточных звеньев 3а, 3b на полуформы 1′, 1”. Оси 2, 5а и 5b являются неподвижными, тогда как салазки 7 являются подвижными.
Тяга 9 шарнирно соединена одним концом с упомянутыми салазками, а другим концом с толкателем 10, который может свободно поворачиваться вокруг оси 11 и снабжен роликом 12 для приведения в движение салазок 7. Ось 11 является неподвижной относительно осей 5а, 5b, на которых поворачиваются элементы 4а, 4b.
Ролик 12 взаимодействует с кулачком 13, который частично показан на фиг.3 и фиг.4.
Очевидно, что в зависимости от положения ролика 12 на кулачке 13 данная пресс-форма может быть открыта (фиг.3) или же закрыта (фиг.4) при отслеживании роликом поверхности 14, показанной на фиг.3 и фиг.4.
Для этого ролик 12 и кулачок 13 должны совершать движение друг относительно друга. Например, кулачок 13 должен двигаться относительно опоры пресс-формы 1, образованной осями 5а, 5b и 2, которые при этом являются неподвижными, или более конкретно вся пресс-форма и ее приводное устройство должны двигаться относительно кулачка 13, который в этом случае будет неподвижен.
Как показано, в частности, на фиг.2 и фиг.4, в закрытом положении продольные оси промежуточных звеньев 3а, 3b находятся приблизительно на одной линии друг относительно друга вдоль линии, соединяющей оси 5а, 5b поворотных элементов 4а, 4b, то есть упомянутые оси 5а, 5b находятся приблизительно в той же плоскости, что и оси шарниров промежуточных звеньев 3а, 3b.
В таком положении оси шарнирных соединений промежуточных звеньев 3а, 3b с поворотными элементами 4а, 4b могут незначительно не совпадать с линией, соединяющей оси шарниров 5а, 5b.
Таким образом, пресс-форма удерживается в закрытом положении не только за счет усилия, создаваемого салазками, но и за счет кинематической схемы устройства, которая препятствует открытию пресс-формы без преднамеренного обратного перемещения салазок 7.
На фиг.5 показана группа из двенадцати пресс-форм 1а-1l, каждая из которых снабжена приводным устройством в соответствии с описанием и фиг.1-4. Такое устройство может использоваться, например, для раздувания пустотелых объектов, таких как бутылки, из изготовленных из термопластического материала преформ (предварительно отформованных заготовок).
Как показано на фиг.5, пресс-формы 1а-11 установлены по окружности, в центре которой находится общий кулачок 13, который в данном случае неподвижен.
Упомянутые ранее оси шарниров 2, 5а, 5b и оси 11 толкателей 10, а также направляющие 8а, 8b, по которым могут двигаться салазки 7, закреплены неподвижно на плите (не показана). Эта плита может осуществлять вращательное движение по отношению к кулачку 13, однако возможно и исполнение с подвижным кулачком и неподвижными пресс-формами.
Профиль данного кулачка выбирается при проектировании таким образом, что по мере необходимости одна или несколько пресс-форм открываются (1a, 1b) или закрываются (1с-1l), как показано на упомянутой фиг.5, в зависимости от углового положения кулачка 13.
Формула изобретения
1. Приводное устройство пресс-формы (1), состоящей из двух частей, которые представляют собой две полуформы (1′, 1”), шарнирно соединенные между собой посредством оси (2) и которые перемещаются из открытого положения в закрытое и обратно под действием перемещения салазок (7) в прямом и обратном направлениях, отличающийся тем, что каждая из полуформ (1′, 1”) шарнирно соединена также с элементом (4а, 4b), который может поворачиваться вокруг оси (5а, 5b), и приводится в движение при помощи по крайней мере одной управляющей тяги (6а, 6b), шарнирно соединенной своими концами соответственно с упомянутым поворотным элементом (4а, 4b) и упомянутыми подвижными салазками (7).
2. Приводное устройство по п.1, отличающееся тем, что каждая из полуформ (1′, 1”) шарнирно соединяется с поворотным элементом (4а, 4b) при помощи по крайней мере одного промежуточного звена (3а, 3b).
3. Приводное устройство по одному из пп.1 и 2, отличающееся тем, что управляющие тяги (6а, 6b) поворотных элементов (4а, 4b) полуформ (1′, 1”) шарнирно соединены с общими подвижными салазками (7).
4. Приводное устройство по п.3, отличающееся тем, что подвижные салазки (7) имеют траверсу, которая установлена с возможностью скольжения на по крайней мере две направляющие (8а, 8b) и с которой шарнирно соединены управляющие тяги (6а, 6b).
5. Приводное устройство по п.1, отличающееся тем, что подвижные салазки (7) передвигаются в прямом и обратном направлениях под воздействием по крайней мере одного ролика (12), взаимодействующего с кулачком (13).
6. Приводное устройство по п.5, отличающееся тем, что ролик (12) размещен на толкателе (10), установленном с возможностью свободного поворота вокруг оси (11), которая неподвижна относительно осей (5а, 5b) поворотных элементов (4а, 4b), приводящих в движение полуформы (1′, 1”).
7. Приводное устройство по п.2, отличающееся тем, что в закрытом положении полуформ (1′, 1”) продольные оси промежуточных звеньев (3а, 3b), установленных между упомянутыми полуформами (1′, 1”) и поворотными элементами (4а, 4b), находятся приблизительно на одной линии друг с другом вдоль линии, соединяющей оси (5а, 5b) упомянутых поворотных элементов (4а, 4b).
8. Группа пресс-форм (1а – 1l), каждая из которых состоит из двух полуформ, шарнирно соединенных между собой посредством оси, причем каждая из полуформ снабжена приводным устройством по одному из пп.1-7, отличающаяся тем, что отдельные пресс-формы (1а – 1l) установлены по окружности или по дуге окружности, а подвижные салазки приводятся в движение при помощи роликов, взаимодействующих с общим кулачком (13), причем упомянутые пресс-формы передвигаются относительно кулачка (13).
9. Группа пресс-форм по п.8, отличающаяся тем, что пресс-формы (1а – 1l) закрепляются на элементе, вращающемся относительно общего кулачка (13), который закреплен неподвижно.
РИСУНКИ
MM4A – Досрочное прекращение действия патента СССР или патента Российской Федерации на изобретение из-за неуплаты в установленный срок пошлины за поддержание патента в силе
Дата прекращения действия патента: 08.06.2008
Извещение опубликовано: 27.11.2010 БИ: 33/2010
|
|