|
|
(21), (22) Заявка: 2005108656/03, 30.09.2002
(24) Дата начала отсчета срока действия патента:
30.09.2002
(43) Дата публикации заявки: 10.11.2005
(46) Опубликовано: 10.03.2007
(56) Список документов, цитированных в отчете о поиске:
ЕР 1162047, 12.12.2001. ЕР 1063068, 27.12.2000. US 4753163, 28.06.1988. SU 897527 А1, 15.01.1982. SU 1209451 А1, 07.02.1986.
(85) Дата перевода заявки PCT на национальную фазу:
03.05.2005
(86) Заявка PCT:
IT 02/00621 (30.09.2002)
(87) Публикация PCT:
WO 2004/028767 (08.04.2004)
Адрес для переписки:
191036, Санкт-Петербург, а/я 24, НЕВИНПАТ, пат.пов. А.В.Поликарпову
|
(72) Автор(ы):
СТЕФАНИ Франко (IT)
(73) Патентообладатель(и):
Систем С.п.А. (IT)
|
(54) УСТРОЙСТВО ДЛЯ РАСПРЕДЕЛЕНИЯ ПОРОШКОВ НА ПОДЛОЖКЕ В СООТВЕТСТВИИ С ЗАДАННЫМ РИСУНКОМ
(57) Реферат:
Изобретение относится к устройству для распределения порошков на подложке в соответствии с заданным рисунком. Технический результат заключается в том, что конструкция не создает теоретического ограничения на длину перфорированной ленты, количество порошков, проходящих через перфорированные отверстия и откладывающихся на лежащих ниже подложках, может дозироваться чрезвычайно простым способом. Устройство для распределения порошков на подложке в соответствии с заданным рисунком содержит ленточный конвейер для транспортировки подложки; головку для нанесения порошков, расположенную над конвейером и содержащую замкнутую непрерывную кольцеобразную ленту, имеющую перфорированные отверстия, расположенные в соответствии с заданным рисунком и имеющие размер, который обеспечивает прохождение заданного количества порошков; средства управления подачей и доставкой порошков через перфорированные отверстия и поддержания чистоты непрерывной ленты. Головка также содержит средство управления движением непрерывной ленты синхронно с движением конвейера. 5 з.п. ф-лы, 2 ил.
Область техники
Изобретение относится к устройству для распределения порошков на подложке в соответствии с заданным рисунком.
Уровень техники
Изобретение полезно для использования, в частности, но не исключительно, при производстве керамических плиток или пластин.
В частности, изобретение полезно использовать в линии сухого декорирования, т.е. в такой линии, где порошки накладываются на подложки (плитки или пластины), которые уже были отформованы посредством прессования, или на подложки, которые еще являются мягкими, прежде чем они подвергнутся прессованию.
Сухое декорирование, использующее порошки, известно в плоских машинах шелкотрафаретной печати, подобных тем, которые используются с жидкими глазурями, или во вращающихся машинах, которые используют цилиндрические трафаретные сетки из шелковых нитей, подобные тем, которые используются с жидкими глазурями.
На эти применения накладываются несколько ограничений. В частности, вращающиеся машины, использующие цилиндрические трафаретные сетки из шелковых нитей, конструктивно ограничены, потому что они не допускают операций за пределами определенного размера (соответствующего размеру цилиндрической сетки), поскольку диаметр сетки не может быть увеличен свыше определенных пределов.
Эта проблема преодолевается, например, посредством изобретения, описанного в публикации ЕР 1162047, в котором описано устройство для распределения порошков на подложке в соответствии с заданным рисунком, содержащее ленточный конвейер для транспортировки подложек; головку для нанесения порошков, расположенную над ленточным конвейером и содержащую непрерывную кольцеобразную ленту, имеющую перфорированные отверстия, расположенные в соответствии с заданным рисунком и имеющие размер, позволяющий проходить через них только заданному количеству порошка. Кольцеобразная лента с отверстиями находится целиком под натяжением и поддерживается чистой за счет непрерывного действия пневматических средств, использующих всасывающие отверстия, расположенные в барабане, на который лента наматывается с натягом. Специальные распределительные элементы транспортируют порошки на внутренней стороне перфорированной ленты, осуществляя распределение порошков на подложках через перфорированные отверстия, имеющиеся на ленте.
Устройство этого типа имеет недостаток, состоящий в том, что на ленту воздействуют чрезмерные и опасные напряжения. Все распределительные элементы работают на растянутой ленте. Кроме того, ленту в растянутом состоянии с силой натягивают на барабан, на котором выполняется операция очистки посредством пневматического всасывания. Все это, плюс высокие абразивные свойства порошков, может создавать серьезные недостатки в отношении ленты и может помешать нормальной работе устройства. Дополнительное ограничение создается низкой точностью, которую система предлагает во время прохождения лентой критической зоны, где работают распределительные элементы.
В данном изобретении предлагается устранение недостатков и ограничений известных устройств.
Преимущество данного изобретения состоит в том, что конструкция не создает теоретического ограничения на длину перфорированной ленты.
Дополнительное преимущество изобретения состоит в том, что количество порошков, проходящих через перфорированные отверстия и откладывающихся на лежащих ниже подложках, может дозироваться чрезвычайно простым способом.
Еще одно преимущество изобретения состоит в том, что оно позволяет использовать очень широкие перфорированные ленты, так что порошки могут без труда быть распределены на широких керамических подложках.
Эти и многие другие цели достигаются изобретением, характеризуемым формулой изобретения.
Описание изобретения
Дополнительные свойства и преимущества изобретения будут лучше видны из подробного описания представленного далее предпочтительного, но не ограничивающего варианта, приведенного только в качестве примера, с сопровождающими чертежами, на которых:
фиг.1 является схематическим видом спереди;
фиг.2 является видом в увеличенном масштабе фрагмента, показанного на фиг.1.
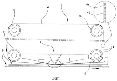
На чертежах схематически представлено устройство для распределения порошков на подложках 3 в соответствии с заданным рисунком.
Устройство, по существу, содержит ленточный конвейер 2 для транспортировки подложки 3 и головку 1 для нанесения порошков на подложку при ее прохождении под головкой 1, которая расположена над конвейером 2 и содержит замкнутую кольцеобразную ленту 4, имеющую множество перфорированных отверстий, расположенных согласно заранее заданному рисунку, причем отверстия имеют размеры, которые позволяют проходить через них заданному количеству порошка.
Головка 1 имеет средства управления подачей и/или доставкой порошков через перфорированные отверстия в ленте 4, а также средствами поддержания чистоты ленты 4.
Также имеются средства управления движением кольцеобразной ленты 4 синхронно с движением конвейера 2, на котором транспортируются подложки 3. Подложки 3 могут быть плитками, пластинами больших размеров или могут быть слоями порошков, пока еще мягкими, и которые еще будут подвергаться прессованию.
Кольцеобразная лента 4 выполнена из нетканого материала и имеет постоянную толщину. В предпочтительном случае лента 4 образована пленкой требуемой длины из милара (Mylar) или поликарбоната. Лента замкнута в кольцо посредством термосоединения под давлением, так что равномерность толщины ленты не нарушается.
Лента может быть совсем тонкой и перфорация рисунка на ней может быть легко выполнена с помощью лазера.
Кроме того, лента 4 на своих сторонах имеет щели 40, используемые для перемещения ленты 4 и расположенные продольными рядами параллельно продольной оси самой ленты 4.
Во время работы замкнутая кольцеобразная лента 4 обвивает (частично) несколько валков (10, 11, 12 и 13) с параллельными осями, которые расположены поперечно направлению продвижения ленты 4 и конвейера 2.
Валок 10, входящий в число нескольких валков с параллельными осями, является приводным валком, который движет ленту 4. Для этого он снабжен выступающими радиальными штырьками 14, которые входят в щели 40.
Приводной валок 10 по отношению к направлению движения ленты 4 и конвейера 2 расположен за средствами управления подачей и/или доставкой порошков через перфорации и поддержания чистоты ленты 4.
Средства управления подачей и/или доставкой порошков через перфорации и поддержания чистоты ленты 4 содержат бункер 5, расположенный на небольшом расстоянии над лентой 4. Порошки, которые нужно распределять, содержатся в бункере 5.
Бункер 5 имеет выходное отверстие, которое расположено перпендикулярно направлению движения ленты 4 и конвейера 2; выходное отверстие ограничено в направлении, перпендикулярном направлению движения ленты 4 и конвейера 2, передним краем 50 и задним краем 51.
На переднем крае 50 работает неподвижный верхний скребок 6, который прижимается к верхней поверхности непрерывного конвейера 4 упругим элементом (опорой) 9.
Существует также нижний неподвижный скребок 8, который при работе прижимается к нижней поверхности ленты 4, вызывая действие, противодействующее действию, вызванному верхним скребком 6.
Предусмотрен регулируемый скребок 7 для работы на переднем крае 50, который прижат к верхней поверхности ленты 4 и расположен со стороны, противоположной неподвижному скребку 6, противодействуя ему.
Положение регулируемого скребка 7 можно регулировать, так как его можно смещать посредством перемещения в направлении, перпендикулярном заднему краю 51 и переднему краю 50, чтобы регулировать, подобно ловушке, выпускное отверстие бункера 5.
По меньшей мере верхний неподвижный скребок 6 и нижний неподвижный скребок 8 могут упруго деформироваться. Они выполнены из тонких листов, предпочтительно из пластика, и их способность к деформации изгиба используется для того, чтобы они могли сжимать ленту 4 между своими относительно свободными концами, соскабливая, таким образом, и очищая ленту 4 с обеих сторон.
Лента 4 протягивается приводным валком 10 с помощью штырьков, которые сцепляются с щелями 40.
Таким образом, только часть ленты 4, представленная отрезком, содержащимся между отверстием бункера 5 и приводным валком 10, подвергается натяжению. Это обеспечивает правильное позиционирование ленты 4 по отношению к расположенному ниже конвейеру 2 и подложкам 3, которые он несет; кроме того, на ленту 4 передается минимальное усилие.
Кроме того, нижний неподвижный скребок 8 выполняет важную функцию предотвращения падения остатков порошков, задерживающихся на растянутой части ленты 4 (заключенной между местом, где лента 4 растянута между свободными концами двух неподвижных скребков 6 и 8 и приводным валком 10), на порошки, которые уже правильно распределены согласно заданному рисунку (посредством перфораций в ленте 4) на лежащей ниже подложке 3.
Присутствие регулируемого скребка 7, который может регулироваться перемещением в направлении, перпендикулярном заднему краю 51 и переднему краю 50 выходного отверстия бункера 5, означает, что регулировка раскрыва отверстия бункера 5 выполняется очень легко. Это означает, что количество порошков, откладывающихся при свободном падении на лежащую ниже подложку, дозируется должным образом.
Формула изобретения
1. Устройство для распределения порошков на подложке в соответствии с заданным рисунком, содержащее ленточный конвейер (2) для транспортировки подложки (3); головку для нанесения порошков (1), расположенную над конвейером (2) и содержащую замкнутую непрерывную кольцеобразную ленту (4), имеющую перфорированные отверстия, расположенные в соответствии с заданным рисунком и имеющие размер, который обеспечивает прохождение заданного количества порошков; средства управления подачей и доставкой порошков через перфорированные отверстия и поддержания чистоты непрерывной ленты (4) и средства управления движением непрерывной ленты (4) синхронно с движением конвейера (2), отличающееся тем, что средства управления подачей и доставкой порошков через перфорированные отверстия и поддержания чистоты непрерывной ленты (4) содержат бункер (5), расположенный на небольшом расстоянии над непрерывной лентой (4) и имеющий выходное отверстие, которое расположено поперечно по отношению к направлению продвижения непрерывной ленты (4) и конвейера (2) и ограничено в направлении, перпендикулярном направлению продвижения непрерывной ленты (4) и конвейера (2), передним краем (50) и задним краем (51); неподвижный верхний скребок (6), который работает у переднего края (50) и прижат к верхней поверхности непрерывной ленты (4) упругим элементом (9); неподвижный нижний скребок (8), который прижат к нижней поверхности непрерывной ленты (4) и вызывает действие, противодействующее действию, вызванному неподвижным верхним скребком (6); регулируемый скребок (7), который работает у переднего края (51), прижат к верхней стороне непрерывной ленты (4) и расположен напротив неподвижного верхнего скребка (6) и противодействует ему; причем регулируемый скребок (7) выполнен с возможностью регулировки посредством скольжения в направлении, перпендикулярном указанным заднему краю (51) и переднему краю (50), для регулирования раскрыва выходного отверстия бункера (5).
2. Устройство по п.1, отличающееся тем, что непрерывная лента (4) выполнена не из текстильного материала и не имеет неоднородности по толщине.
3. Устройство по п.1 или 2, отличающееся тем, что непрерывная лента (4) имеет по сторонам щели (40) для протяжки ленты, расположенные продольными рядами, параллельными продольной оси непрерывной ленты (4).
4. Устройство по п.3, отличающееся тем, что непрерывная лента (4) частично обвивает несколько валков (10, 11, 12, 13), имеющих параллельные оси, которые расположены поперечно направлению движения непрерывной ленты (4) и конвейера (2).
5. Устройство по п.4, отличающееся тем, что один валок (10) из нескольких валков (10, 11, 12, 13) является приводным валком, приводящим непрерывную ленту (4) в движение и имеющим радиально выступающие штырьки (14), которые сцепляются с щелями (40), причем по отношению к направлению движения непрерывной ленты (4) и конвейера (2) приводной валок расположен за средствами управления подачей и доставкой порошков через перфорации и поддержания чистоты непрерывной ленты (4).
6. Устройство по п.5, отличающееся тем, что по меньшей мере неподвижный верхний скребок (7) и неподвижный нижний скребок (8) являются упругодеформируемыми.
РИСУНКИ
MM4A – Досрочное прекращение действия патента СССР или патента Российской Федерации на изобретение из-за неуплаты в установленный срок пошлины за поддержание патента в силе
Дата прекращения действия патента: 01.10.2009
Извещение опубликовано: 27.11.2010 БИ: 33/2010
|
|