|
|
(21), (22) Заявка: 2004109151/02, 13.08.2002
(24) Дата начала отсчета срока действия патента:
13.08.2002
(30) Конвенционный приоритет:
27.08.2001 DE 20114136.1
(43) Дата публикации заявки: 20.05.2005
(46) Опубликовано: 10.03.2007
(56) Список документов, цитированных в отчете о поиске:
FR 1151450 А, 30.01.1958. SU 1773552 A1, 07.11.1992. SU 476733 A, 05.07.1975. US 3995684 A, 07.12.1976. GB 606036 A, 05.08.1948.
(85) Дата перевода заявки PCT на национальную фазу:
29.03.2004
(86) Заявка PCT:
EP 02/09039 (13.08.2002)
(87) Публикация PCT:
WO 03/018232 (06.03.2003)
Адрес для переписки:
129010, Москва, ул. Б. Спасская, 25, стр.3, ООО “Юридическая фирма Городисский и Партнеры”, пат.пов. Ю.Д.Кузнецову, рег.№ 595
|
(72) Автор(ы):
КЮН Фридхельм (DE), ЛАИКУДДИН Сахибзада Саидуррахман (DE)
(73) Патентообладатель(и):
ЛОИ ТЕРМПРОЦЕСС ГМБХ (DE)
|
(54) УСТРОЙСТВО ДЛЯ ОХЛАЖДЕНИЯ МАТЕРИАЛА ПУТЕМ СОЗДАНИЯ ПЛОСКОЙ СТРУИ
(57) Реферат:
Изобретение относится к сталелитейной промышленности, а именно к устройствам для охлаждения слябов или листов материала, и может быть использовано для управляемого охлаждения толстых листов и полос, а также при производстве пластмасс. Корпус устройства состоит из первого корпусного элемента и второго корпусного элемента, изготовленных из литой стали, соединенных друг с другом и удерживающих распределительную пластину, установленную между ними. Причем ширина первого корпусного элемента соответствует ширине сопла для плоской струи, при этом к первой стенке первого корпусного элемента прикреплена планка, образующая вместе с его второй стенкой упомянутое сопло для плоской струи. Изобретение позволяет создать устройство, имеющее большую ширину рабочей зоны, которое обеспечивает достаточно равномерное охлаждение и гарантирует высокое качество обрабатываемой поверхности. 9 з.п. ф-лы, 1 ил.
Данное изобретение относится к устройству для охлаждения слябов или листов материала путем создания плоской струи, которую направляют на охлаждаемый материал, причем упомянутое устройство содержит корпус, снабженный, по меньшей мере, одним соединительным патрубком, который служит впускным каналом для охлаждающей среды, и образующий сопло для плоской струи, и этот корпус содержит распределительную пластину, снабженную отверстием, через которое в сопло для плоской струи подают упомянутую охлаждающую среду.
Подобные устройства используют, главным образом, для управляемого охлаждения толстых листов и полос в сталелитейной промышленности. Другой областью применения является производство пластмасс.
Устройство вышеупомянутого типа известно из документа FR-A1 151450. Две стенки корпуса образуют сопло для плоской струи. Для достижения равномерного распределения выходящей охлаждающей среды в упомянутом корпусе размещены одна за другой две распределительные пластины с отверстиями.
Существующий уровень техники в данной области характеризуется наличием следующей проблемы: сварные конструкции не могут обеспечить достаточно равномерное охлаждение, по крайней мере, тогда, когда используются очень широкие плоские струи, шириной приблизительно пять метров. Даже после мягкого отжига, при котором не возникает напряжений, термические напряжения вызывают деформацию сварной конструкции. Кроме всего прочего, сопло устанавливают на небольшом расстоянии от охлаждаемого материала выше или ниже его и, следовательно, оно подвергается значительному воздействию теплового излучения. Деформации сварной конструкции оказывают особенно неблагоприятное влияние на конфигурацию сопла. Сопло может изгибаться как в направлении перемещения, так и перпендикулярно ему. Оно может также деформироваться. Кроме того, деформация может вызывать изменение толщины плоской струи по ее ширине. Отрицательным результатом всех этих деформаций является неравномерное охлаждение материала по его ширине. Это снижает качество.
Таким образом, задачей настоящего изобретения является создание устройства указанного типа, которое имеет большую ширину рабочей зоны, но при этом устанавливается в положение, обеспечивающее достаточно равномерное охлаждение, и, следовательно, гарантирует высокое качество обработки. Для решения этой задачи в настоящем изобретении предложено устройство, характеризующееся тем, что упомянутый корпус состоит из первого корпусного элемента и второго корпусного элемента, изготовленных из литой стали, соединенных друг с другом и удерживающих распределительную пластину, установленную между ними, при этом ширина первого корпусного элемента соответствует ширине сопла для плоской струи, и к первой стенке упомянутого первого корпусного элемента прикреплена планка, образующая вместе с его второй стенкой упомянутое сопло для плоской струи.
В данном изобретении используются два корпусных элемента, которые изготовлены из литой стали, соединены друг с другом и удерживают распределительную пластину, установленную между ними. Это создает жесткую, свободную от деформации конструкцию, которая даже при очень большой ширине плоской струи противостоит высокому термическому напряжению без деформирования сопла. Следовательно, охлаждение является достаточно равномерным, в результате чего можно изготавливать толстые листы высокого качества.
Второй корпусной элемент, предпочтительно имеющий ту же ширину, что и плоская струя, имеет место или места подвода охлаждающей среды и пропускает эту охлаждающую среду равномерно во внутреннее пространство первого корпусного элемента через распределительную пластину. Таким образом, сопло равномерно снабжается охлаждающей средой по всей ширине плоской струи.
Этот эффект дополнительно может быть усилен путем размещения множества соединительных патрубков во втором корпусном элементе для впуска охлаждающей среды и обеспечением того, чтобы площадь их полезного сечения была, по меньшей мере, равна площади отверстий в распределительной пластине.
Кроме того, прочность конструкции может быть дополнительно увеличена путем установки во внутреннем пространстве первого и/или второго корпусного элемента литых перегородок, проходящих в направлении потока. В итоге образуется относительно плоский, вертикальный узел, который, благодаря тому, что оба корпусных элемента изготовлены из литой стали и тому, что распределительная пластина закреплена между ними, который может противостоять высоким температурам и не деформируется, даже если имеет очень большую длину.
Литые перегородки первого корпусного элемента расположены на расстоянии от сопла, предпочтительно, по меньшей мере, равном 1,5 длины сопла. Это гарантирует, что возмущения потока, создаваемые литыми перегородками, затухают до того, как охлаждающая среда поступает в сопло.
Сопло предпочтительно имеет длину 10-40 мм для предотвращения расширения струи после выхода из сопла.
Следующим вариантом реализации настоящего изобретения предлагается, чтобы упомянутая планка устанавливалась с внешней стороны первой стенки первого корпусного элемента. В результате эта планка не может ослабить конструкцию корпуса. Кроме того, не могут возникнуть проблемы герметичности. Появление течей снизило бы равномерность плоской струи и качество продукции.
С этой точки зрения особенно выгодно, чтобы упомянутая планка создавала металлическое уплотнение с внешней стороны первой стенки первого корпусного элемента.
Планка предпочтительно упирается в выступ на первой стенке первого корпусного элемента. Это повышает жесткость всей конструкции.
Еще одним вариантом реализации настоящего изобретения предлагается, чтобы толщина плоской струи, составляющая предпочтительно 1-4 мм, могла задаваться при помощи регулировочной прокладки, устанавливаемой между упомянутыми планкой и выступом. Известно, что регулировочные прокладки наилучшим образом подходят для точного и надежного задания размеров сопла, даже если сопло имеет очень большую ширину.
Первая стенка первого корпусного элемента предпочтительно имеет такой наклон, чтобы быть перпендикулярной ко второй стенке в области сопла.
Сопло образовано плоскопараллельными поверхностями, одна из которых является поверхностью планки, а другая – поверхностью второй стенки первого корпусного элемента. Может подбираться такая конструкция, чтобы два корпусных элемента создавали вертикальный узел, установленный перпендикулярно по отношению к охлаждаемому материалу, при этом первая стенка первого корпусного элемента наклонена под углом 40-50°, в результате чего плоская струя также ударяет в охлаждаемый материал под углом 40-50°.
Далее изобретение будет описано более подробно при помощи предпочтительного варианта его реализации и сопровождающего чертежа, который представляет собой вертикальное сечение устройства, соответствующего настоящему изобретению.
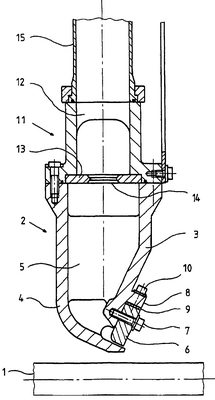
Данное устройство предназначено для создания плоской струи, направляемой на толстый стальной лист 1. Толстый стальной лист 1 перемещается в направлении слева направо. Ширина плоской струи составляет пять метров в направлении, перпендикулярном плоскости изображения.
Устройство содержит первый корпусной элемент 2, изготовленный из литой стали, и ширина которого соответствует ширине плоской струи. По существу он образован первой стенкой 3 и второй стенкой 4, которые соединены друг с другом при помощи литых перегородок 5 и через торцевые поверхности, которые не показаны.
Планка 6, образующая сопло для плоской струи со второй стенкой 4, установлена с внешней стороны первой стенки 3. Первая стенка 3 имеет наклонный участок, а вторая стенка 4 расположена таким образом, что она образует прямой угол с первой стенкой 3 в области сопла. Эта конфигурация определяет угол, под которым плоская струя ударяет в толстый стальной лист 1.
Длина сопла в данном случае составляет 20 мм, и это гарантирует, что плоская струя минимально расширяется после выхода из сопла.
Литые перегородки 5 расположены от сопла на расстоянии, в несколько раз превышающем длину сопла. Возмущения в потоке охлаждающей среды, созданные литыми перегородками 5, уже затухают, когда охлаждающая среда поступает в сопло. Таким образом, плоская струя является фактически равномерной.
Размещение планки 6 с внешней стороны первой стенки 3 первого корпусного элемента 2 повышает его прочность. Планка 6 установлена таким образом, что она лежит на внешней стороне первой стенки 3, образуя металлическое уплотнение. Таким образом, предотвращается возникновение течей, которые могли бы создавать возмущение в плоской струе.
Планка 6 прикреплена к внешней стороне первой стенки 3 при помощи винта 7. Кроме того, планка 6 упирается в выступ 8, выполненный на первой стенке 3 первого корпусного элемента 2. Высота щели сопла, то есть толщина плоской струи, задается регулировочной прокладкой 9, размещенной между планкой 6 и выступом 8 и зафиксированной дополнительным винтом 10. Чтобы изменить размеры сопла, регулировочную прокладку 9 заменяют.
Первый корпусной элемент 2 прикреплен с помощью винтов ко второму корпусному элементу 11 на некотором расстоянии от планки 6. Второй корпусной элемент 11 также изготовлен единой деталью из литой стали и, подобно первому корпусному элементу 2, его ширина соответствует ширине плоской струи. Во внутреннем пространстве второго корпусного элемента 11 также размещены литые перегородки 12.
Распределительная пластина 13 закреплена между двумя корпусными элементами 2 и 11. Она имеет отверстия 14 для подачи охлаждающей среды. Два стальных корпусных элемента 2 и 11 вместе с установленной между ними распределительной пластиной 13 образуют жесткий узел, который не деформируется даже при воздействии температуры. К тому же плоская струя может ударять в толстый стальной лист 1 без возникновения возмущений, сохраняя заданную форму. В результате могут быть достигнуты оптимальное охлаждение и высокое качество материала.
Второй корпусной элемент 11 снабжен множеством патрубков 15 для подвода охлаждающей среды. Охлаждающая среда поступает во внутреннее пространство второго корпусного элемента 11 и распределяется равномерно по ширине струи при помощи распределительной пластины 13. Затем охлаждающая среда поступает во внутреннее пространство первого корпусного элемента 2 через отверстия 14, а затем – в сопло для формирования плоской струи, расположенное в конце первого корпусного элемента 2. Конструкция устройства такова, что патрубки 15 вместе задают площадь полезного сечения, которая, по меньшей мере, равна сумме площадей отверстий 14, при этом распределение охлаждающей среды улучшается по мере увеличения данного соотношения.
В пределах объема данного изобретения, разумеется, возможны модификации. Это относится, например, к углу, под которым плоская струя ударяет в заготовку. Не обязательно, чтобы ширина второго корпусного элемента в направлении ширины плоской струи была равной ширине первого корпусного элемента, хотя и предпочтительно, чтобы они имели одинаковые размеры с точки зрения прочности всей конструкции. Если необходимо, можно обойтись без литых перегородок в первом и/или втором корпусном элементе. При этом литые перегородки также повышают прочность устройства, особенно в случае плоских струй большой ширины. Кроме того, литые перегородки не только повышают прочность, но и работают как направляющие потока. Последнее также относится к распределительной пластине. Металлическое уплотнение, возникающее между планкой и первым корпусным элементом, может быть заменено или дополнено уплотняющим элементом.
Формула изобретения
1. Устройство для охлаждения слябов или листов материала путем создания плоской струи, направляемой на охлаждаемый материал, содержащее корпус, соединенный с по меньшей мере одним соединительным патрубком для подвода охлаждающей среды, и в котором образовано сопло для плоской струи, и распределительную пластину с отверстиями (14), через которые в сопло для плоской струи подают охлаждающую среду, отличающееся тем, что упомянутый корпус состоит из первого корпусного элемента (2) и второго корпусного элемента (11), изготовленных из литой стали, соединенных друг с другом и удерживающих распределительную пластину (13), установленную между ними, причем ширина упомянутого первого корпусного элемента (2) соответствует ширине сопла для плоской струи, и к первой стенке (3) упомянутого первого корпусного элемента (2) прикреплена планка (6), образующая вместе с его второй стенкой (4) упомянутое сопло для плоской струи.
2. Устройство по п.1, отличающееся тем, что упомянутый второй корпусной элемент (11) снабжен множеством патрубков (15) для подвода охлаждающей среды и площадь их полезного сечения, по существу, равна или больше площади отверстий (14) в распределительной пластине (13).
3. Устройство по п.1, отличающееся тем, что во внутреннем пространстве упомянутых первого и/или второго корпусных элементов (2, 11) установлены литые перегородки (5, 12), проходящие в направлении потока.
4. Устройство по п.3, отличающееся тем, что литые перегородки (5) первого корпусного элемента (2) расположены на расстоянии от упомянутого сопла, равном, по меньшей мере, 1,5 длины сопла.
5. Устройство по п.1, отличающееся тем, что сопло имеет глубину 10-40 мм.
6. Устройство по п.1, отличающееся тем, что с внешней стороны первой стенки (3) первого корпусного элемента (2) установлена планка (6).
7. Устройство по п.6, отличающееся тем, что упомянутая планка (6) лежит на внешней стороне первой стенки (3) первого корпусного элемента (2), образуя металлическое уплотнение.
8. Устройство по п.1, отличающееся тем, что планка (6) уперта в выступ (8) на первой стенке (3) первого корпусного элемента (2).
9. Устройство по п.8, отличающееся тем, что толщину плоской струи можно задавать, используя регулировочную прокладку (9), установленную между планкой (6) и выступом (8).
10. Устройство по любому из пп.1-9, отличающееся тем, что упомянутая первая стенка (3) первого корпусного элемента (2) имеет наклон и выполнена перпендикулярной к второй стенке (4) в области сопла.
РИСУНКИ
|
|