|
|
(21), (22) Заявка: 2005124693/03, 03.08.2005
(24) Дата начала отсчета срока действия патента:
03.08.2005
(46) Опубликовано: 10.03.2007
(56) Список документов, цитированных в отчете о поиске:
RU 2211730 C1, 10.09.2003. RU 2165794 С2, 27.04.2001. RU 2215584 С2, 10.11.2003. RU 2123891 C1, 27.12.1998. RU 2051749 C1, 10.01.1996. DE 19713898 A, 08.10.1998. US 4975182 A, 04.12.1990. ХАБИРОВ В.В. и др. Прогрессивные технологии добычи и переработки золотосодержащего сырья. – М.: Недра, 1994, с.36-38, 68-82.
Адрес для переписки:
101000, Москва, Старосадский пер., 8, стр. 1а, ИРЭ РАН, пат.пов. М.А.Земляницину
|
(72) Автор(ы):
АМОСОВ Роман Африканович (RU), КАНЦЕЛЬ Алексей Викторович (RU)
(73) Патентообладатель(и):
ИНТЕГРА ГРУП, ЛЛС (US)
|
(54) СПОСОБ ОБОГАЩЕНИЯ БЕДНЫХ ЗОЛОТО-КВАРЦЕВЫХ И ЗОЛОТО-СУЛЬФИДНО-КВАРЦЕВЫХ РУД, ЛОКАЛИЗОВАННЫХ В ЧЕРНОСЛАНЦЕВЫХ ПОРОДАХ
(57) Реферат:
Изобретение относится к комплексной переработке и обогащению полезных ископаемых и может быть использовано для получения концентрата золотосодержащих руд, локализованных в черносланцевых породах, например, месторождений Мурунтау и Сухой Лог. Способ обогащения золото-кварцевых и золото-сульфидно-кварцевых руд, локализованных в черносланцевых породах, включает дробление руды в щековой дробилке, первое грохочение, додрабливание, второе грохочение, классификацию подрешетного продукта в гидроциклонах, третье грохочение и центробежную концентрацию. В процессе первого грохочения выделяют материал крупностью -200+100, -100+50, -50+25 и -25 мм. Классы -200+100, -100+50, -50+25 мм подвергают раздельной оптической сортировке с выделением в концентрат кусков, имеющих кварцевые включения по типу птигматитовых жилок и/или оторочек магнезиально-железистого карбоната с линейным размером, превышающим 2 мм. Полученный концентрат оптической сортировки додрабливают и подвергают второму грохочению последовательно на грохотах с размером сит 5 мм и 1,5 мм, при этом надрешетный продукт крупностью +5 мм подвергают додрабливанию в замкнутом цикле в роторной дробилке, а подрешетный продукт – обогащению в центробежных концентраторах Нельсона. Причем материал крупностью -1,5 мм обогащают в первом концентраторе, хвосты которого подвергают третьему грохочению на грохоте с размером сита 0,5 мм, а подрешетный продукт -0,5 мм подают на вход второго концентратора. Хвосты второго концентратора классифицируют в гидроциклонах, пески которых обогащают в третьем концентраторе, хвосты которого объединяют с надрешетными продуктами второго +1,5 мм и третьего +0,5 мм грохочения, подвергают селективному измельчению и подают на вход первого концентратора. При этом концентрат первого, второго и третьего концентраторов объединяют для последующего цианирования. Технический результат – повышение извлечения золота и повышение эффективности обогащения бедных, забалансовых золото-кварцевых и золото-сульфидно-кварцевых руд, локализованных в черносланцевых породах, расширение сырьевой базы действующих и проектируемых горнодобывающих предприятий. 4 з.п. ф-лы, 1 ил.
Изобретение относится к комплексной переработке и обогащению полезных ископаемых и может быть использовано для получения концентрата из золотосодержащих руд, локализованных в черносланцевых породах, например, месторождений Мурунтау и Сухой Лог.
Известно, что в золото-кварцевых и золото-сульфидно-кварцевых рудах золото представлено самородной формой и концентрируется в интерстициях кварцевых агрегатов и в сульфидах. Суммарное содержание сульфидов в форме преимущественно пирита и арсенопирита не превышает 2-3% (см., Шаров Г.Н. и др. Технология извлечения благородных металлов из руд месторождений основных геолого-промышленных типов. Книга 2. Москва-Кемерово, 2002). Мощность кварцевых прожилков, с которыми ассоциированы сульфиды и самородное золото, составляет от 2 до 20 мм. Коренные породы, как правило, имеют темный цвет, что дает возможность проводить фотометрическое обогащение очень убогих руд (содержание золота 0,5-0,95 г/т) (см., например, Мокроусов В.А., Лилеев В.А. Радиометрическое обогащение нерадиоактивных руд. М.: Недра. 1979, с.119-121). Описаны средства для сортировки золотосодержащих руд не только по признаку «светлый-темный», но и по ореолу рассеяния света от кварцевого включения (SU 939085, Енин, 30.06.1982; US 4600105, Van Zyl et al., 15.07.1986), а также по цветовым характеристикам локальных зон (RU 2215585, ИНТЕГРА ГРУП, 10.11.2003). Однако из-за малой мощности и низкой плотности кварцевых прожилков с сульфидами и золотом оптическая сортировка не позволяет получить концентрат, в котором содержание золота достаточно для гравитационного обогащения.
Технология извлечения золота обычно включает гравитационное выделение наиболее крупного золота и цианирование хвостов гравитационного обогащения с последующим извлечением золота из цианистого раствора цементацией на цинковой пыли или сорбцией на активированном угле (см., например, Хабиров В.В. и др., Прогрессивные технологии добычи и переработки золотосодержащего сырья. – М.: Недра, 1994, с.36-37, с.55, 68-70, 77). Недостатком такой технологии является высокая токсичность цианидов, требующая специальных мер при их транспортировке и хранении, а также значительных затрат на природоохранную деятельность.
Известен способ обогащения золотосодержащих руд, включающий дробление руды, грохочение дробленой руды, классификацию подрешетного продукта в гидроциклонах с получением песков и слива, подрешетный продукт перед классификацией в гидроциклонах додрабливают до крупности -1 мм. Перед центробежным обогащением выделяют материал крупностью +0,8 мм, перед сгущением слива из него предварительным разделением в гидроциклонах выделяют пески, которые подвергают дополнительному центробежному обогащению, причем на измельчение направляют хвосты центробежного обогащения песков и хвосты дополнительного центробежного обогащения, выделив из них дополнительной классификацией в гидроциклонах слив, направляемый на сгущение совместно со сливом предварительного разделения в гидроциклонах, при этом измельчение ведут совместно с материалом крупностью +0,8 мм, а измельченный продукт возвращают на классификацию подрешетного продукта в гидроциклонах (RU 2211730, Федотов и др., 10.09.2003 – ближайший аналог). Недостатком известного способа является необходимость измельчения всей обогащаемой горной массы, что для бедных руд, включая переработку концентрата и аффинаж, вызывает непроизводительные затраты, которые перекрывают рыночную стоимость извлекаемого металла.
Цель изобретения – повышение эффективности обогащения бедных, забалансовых золото-кварцевых и золото-кварцево-сульфидных руд, локализованных в черносланцевых породах, расширение сырьевой базы действующих и проектируемых горнодобывающих предприятий.
Техническим результатом изобретения является снижение объемов измельчаемой горной массы бедных золото-кварцевых и золото-кварцево-сульфидных руд, локализованных в черносланцевых породах, путем исключения значительной части бедного золотом сланцевого компонента на стадии крупного дробления и повышение извлечения золота на стадии гравитационного обогащения.
Технический результат достигается тем, что способ обогащения золото-кварцевых и золото-сульфидно-кварцевых руд, локализованных в черносланцевых породах, включает дробление руды в щековой дробилке, первое грохочение, додрабливание, второе грохочение, классификацию подрешетного продукта в гидроциклонах, третье грохочение и центробежную концентрацию. В процессе первого грохочения выделяют материал крупностью -200+100, -100+50, -50+25 и -25 мм. Классы -200+100, -100+50, -50+25 мм подвергают раздельной оптической сортировке с выделением в концентрат кусков, имеющих кварцевые включения по типу птигматитовых жилок и/или оторочек магнезиально-железистого карбоната с линейным размером, превышающим 2 мм. Полученный концентрат оптической сортировки подвергают мелкому додрабливанию и второму грохочению последовательно на грохотах с размером сит 5 мм и 1,5 мм, при этом надрешетный продукт крупностью +5 мм подвергают додрабливанию в замкнутом цикле в роторной дробилке, а подрешетный продукт – обогащению в центробежных концентраторах Нельсона. Причем материал крупностью -1,5 мм обогащают в первом концентраторе, хвосты которого подвергают третьему грохочению на грохоте с размером сита 0,5 мм, а подрешетный продукт -0,5 мм подают на вход второго концентратора. Хвосты второго концентратора классифицируют в гидроциклонах, пески которых обогащают в третьем концентраторе, хвосты которого объединяют с надрешетными продуктами второго +1,5 мм и третьего +0,5 мм грохочения, подвергают селективному измельчению и подают на вход первого концентратора, при этом концентрат первого, второго и третьего концентраторов объединяют для последующего цианирования.
Способ может характеризоваться тем, что полученный в процессе первого грохочения материал крупностью -25 мм подается на додрабливание в роторную дробилку.
Способ может характеризоваться и тем, что пульпу слива гидроциклонов направляют на винтовые сепараторы, а выделенный концентрат объединяют с концентратом первого, второго и третьего концентраторов.
Способ может характеризоваться также тем, что пульпу слива гидроциклонов подвергают обработке ультразвуковыми колебаниями в роторно-пульсационном аппарате в режиме однократной загрузки, а также тем, что селективное измельчение проводят на мельницах центробежно-ударного действия.
В основе способа лежат экспериментальные данные, установленные заявителем. Для бедных золотокварцевых и сульфидно-кварцевых руд, локализованных в черносланцевых породах, кварцевые включения имеют размер порядка нескольких миллиметров (от 2 до 20-25 мм), а форма их может быть криволинейной («птигматитовые» жилки), нередко развиты оторочки магнезиально-железистого карбоната по контакту кварцевых прожилков со сланцами. Эти признаки уверенно диагностируются оптическими средствами, поскольку черный и его градации с серым фоном удобны для построения схем анализа поверхности кусков руды с выделением кварцевых включений. Тем самым из процесса измельчения исключается материал, практически не имеющий полезного компонента: в хвосты сепарации удаляется половина «мягкого» сланцевого компонента, мешающего измельчению твердого кварцевого компонента, в котором сосредоточено золото. Кроме того, использование специального оборудования для измельчения концентрата оптической сортировки позволяет реализовать селективное дробление руд, что, как известно (см., например, Селективное разрушение минералов. – М.: Недра, 1988, с.191-194, 244), позволяет повысить степень извлечения золота из золотосодержащих руд, поскольку кварц раскалывается по границам зерен, к которым приурочены выделения золота. Для такой цели могут быть использованы центробежно-ударные дробилки (RU 2069097, Биленко и др., 20.11.1996) или другие способы разрушения (RU 2191631, Кудрявцева и др., 27.10.2002).
Другой важный момент состоит в том, что во всех гравитационных аппаратах селекция материала производится не по удельному весу, а по гидравлической крупности. Нельзя удержать золотину размером 0,1 мм и одновременно удалить в хвосты, например, кварц размером 5 мм, хотя удельный вес кварца в 7 раз меньше, чем у золота. Поэтому важным условием эффективного разделения является предварительная классификация материала.
С учетом изложенных особенностей поведения золота в цикле селективного измельчения в гравитационной части патентуемого способа предусмотрены последовательное извлечение крупного, мелкого и тонкого золота в три стадии с предварительной классификацией обогащаемого материала и использование винтовых сепараторов на последней стадии гравитации, поскольку винтовые сепараторы извлекают пластинчатые частицы благородных металлов лучше, чем изометричные, и конструкция их известна (Иванов В.Д., Прокопьев С.А. Винтовые аппараты для обогащения руд и песков в России. Изд «Дакси». М., 2000, с.146-147). Слив гидроциклона перед подачей на винтовые сепараторы для лучшего раскрытия тонкого золота целесообразно обрабатывать в роторно-пульсационном аппарате (см., например, RU 2015730, Богушевский и др., 15. 07.1994).
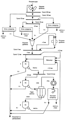
Сущность изобретения поясняется на чертеже, где представлена схема процесса обогащения.
Исходная руда подвергается дроблению в щековой дробилке и на виброгрохоте делится на классы -200+100; -100+50; -50+25 и -25 мм. Класс +200 мм возвращается в дробилку. Классы -200+100; -100+50; -50+25 мм поступают на оптическую сепарацию. Класс -25 мм опробуется на стадии полупромышленных испытаний конкретной руды и, в зависимости от содержания золота, либо объединяется с хвостами оптической сортировки, либо подается на додрабливание в роторную дробилку (показано пунктиром на схеме) и далее на гравитационное обогащение.
Оптическая сепарация проводится с учетом идентификационного признака – наличия кварцевых включений по типу птигматитовых жилок и/или оторочек магнезиально-железистого карбоната с линейным размером, превышающим 2 мм (обычно в диапазоне 2-25 мм). Эти признаки достаточно надежно определяются оптическими средствами радиометрической сепарации.
Концентрат оптической сепарации после мелкого дробления в конусной дробилке поступает на виброгрохот с размером ячеек 5 мм. Надрешетный продукт грохочения +5 мм подвергается селективному разрушению в замкнутом цикле посредством, например, роторной дробилки и затем вновь возвращается на грохочение по классу 5 мм. Подрешетный продукт поступает на грохочение по классу 1,5 мм, надрешетный продукт доизмельчается в мельнице селективного дробления, например, центробежно-ударного действия. Подрешетный продукт -1,5 мм объединяется с разгрузкой мельницы, образуя питание первого 30-дюймового концентратора Нельсона (КС) (первая стадия концентрирования), что позволяет предотвратить переизмельчение крупного золота.
Хвосты концентратора Нельсона перекачиваются на грохочение по классу +0,5-0,5 мм, которое замыкает цикл измельчения в комбинации с классифицирующими гидроциклонами. Подрешетный продукт -0,5 мм направляется на вторую стадию гравитационного концентрирования, для которой используется также 30-дюймовый концентратор Нельсона (КС), надрешетный продукт возвращается в мельницу для доизмельчения.
Хвосты вторичного концентрирования классифицируются в гидроциклонах, например, типа g-MAX фирмы Krebs, производящих слив мельче 0,1 мм, что соответствует примерно 15 мкм для самородного золота. Пески гидроциклонов направляются в 30-дюймовый концентратор Нельсона (КС) для извлечения мелкого золота (третья стадия концентрирования). Хвосты концентратора возвращаются в мельницу на доизмельчение. Слив гидроциклона обрабатывается ультразвуковыми колебаниями для лучшего раскрытия золота в роторно-пульсационном аппарате (РПА) в режиме однократной загрузки (для недопущения его переизмельчения) и поступает на винтовой сепаратор для извлечения тонкого пластинчатого золота. Хвосты винтового сепаратора являются отвальными хвостами процесса. Концентраты всех стадий концентрирования объединяются и поступают на цианирование.
Совокупность описанных операций способа позволяет рентабельно перерабатывать бедные руды с содержанием золота 0,7-0,8 г/т и получать хвосты, содержащие 0,1-0,2 г/т – не выше, чем при чановом цианировании. Извлечение золота на стадии гравитации повышается на 5-10% в сравнении с соответствующими показателями, достигаемыми при использовании известного способа. В сравнении: извлечение золота по технологии, описанной в ближайшем аналоге RU 2211730, составляет 75%, а извлекаемое содержание – 0,75 г/т. Патентуемый способ позволяет рентабельно перерабатывать бедные руды, которые при использовании известного способа попадают в категорию забалансовых (некондиционных, непромышленных), и, таким образом, существенно расширить сырьевую базу действующих и проектируемых горнодобывающих предприятий, в частности, месторождений Мурунтау и Сухой Лог.
Формула изобретения
1. Способ обогащения золотокварцевых и золото-сульфидно-кварцевых руд, локализованных в черносланцевых породах, включающий дробление руды в щековой дробилке, первое грохочение, додрабливание, второе грохочение, классификацию подрешетного продукта в гидроциклонах, третье грохочение и центробежную концентрацию, отличающийся тем, что в процессе первого грохочения выделяют материал крупностью -200+100, -100+50, -50+25 и -25 мм, классы -200+100, -100+50, -50+25 мм подвергают раздельной оптической сортировке с выделением в концентрат кусков, имеющих кварцевые включения по типу птигматитовых жилок и/или оторочек магнезиально-железистого карбоната с линейным размером, превышающим 2 мм, полученный концентрат оптической сортировки додрабливают и подвергают второму грохочению последовательно на грохотах с размером сит 5 мм и 1,5 мм, при этом надрешетный продукт крупностью +5 мм подвергают додрабливанию в замкнутом цикле в роторной дробилке, а подрешетный продукт – обогащению в центробежных концентраторах Нельсона, причем материал крупностью -1,5 мм обогащают в первом концентраторе, хвосты которого подвергают третьему грохочению на грохоте с размером сита 0,5 мм, а подрешетный продукт -0,5 мм подают на вход второго концентратора, хвосты второго концентратора классифицируют в гидроциклонах, пески которых обогащают в третьем концентраторе, хвосты которого объединяют с надрешетными продуктами второго +1,5 мм и третьего +0,5 мм грохочения, подвергают селективному измельчению и подают на вход первого концентратора, при этом концентрат первого, второго и третьего концентраторов объединяют для последующего цианирования.
2. Способ по п.1, отличающийся тем, что полученный в процессе первого грохочения материал крупностью – 25 мм подается на додрабливание в роторную дробилку.
3. Способ по п.1, отличающийся тем, что пульпу слива гидроциклонов направляют на винтовые сепараторы, а выделенный концентрат объединяют с концентратом первого, второго и третьего концентраторов.
4. Способ по п.3, отличающийся тем, что пульпу слива гидроциклонов подвергают обработке ультразвуковыми колебаниями в роторно-пульсационном аппарате в режиме однократной загрузки.
5. Способ по любому из пп.1-4, отличающийся тем, что селективное измельчение проводят на мельницах центробежно-ударного действия.
РИСУНКИ
|
|