|
|
(21), (22) Заявка: 2005122302/12, 14.07.2005
(24) Дата начала отсчета срока действия патента:
14.07.2005
(46) Опубликовано: 10.03.2007
(56) Список документов, цитированных в отчете о поиске:
RU 2251438 C1, 10.05.2005. SU 674749 A1, 25.07.1979. US 4432437 A, 21.02.1984. SU 1005798 A, 23.03.1983. WO 0204075 A2, 17.02.2002.
Адрес для переписки:
141800, Московская обл., г. Дмитров, пос. ДЗФС, 6, кв.34, Е.А.Сеноедову
|
(72) Автор(ы):
Сеноедов Евгений Антонович (RU)
(73) Патентообладатель(и):
Сеноедов Евгений Антонович (RU)
|
(54) АВАРИЙНЫЙ ЭВАКУАТОР
(57) Реферат:
Аварийный эвакуатор относится к области спасения жизни людей, терпящих бедствие, например, при пожаре в высотных зданиях. Реализация данного эвакуатора позволяет повысить надежность спуска. Аварийный эвакуатор включает корпус с крышкой, с установленной внутри корпуса на неподвижной оси катушкой с гибким элементом с карабином. Эвакуатор включает ручной привод вращения катушки для намотки гибкого элемента, гидравлический тормоз заданной скорости опускания, имеющий два цилиндра, соосно вмонтированные и закрепленные в отверстиях корпуса, внутренние ступени которых выполнены в виде подшипников для вращения катушки, опирающейся на них. Эвакуатор выполнен с возможностью создания тормозного момента в зависимости от веса, указанного на лимбе. Эвакуатор содержит петлю, второй карабин и бандаж для эвакуируемого. 2 з.п. ф-лы, 5 ил.
Изобретение относится к области спасения жизни людей, терпящих бедствие, например, при пожаре в высотных зданиях.
Известны подъемные устройства для проведения спасательных работ в высотных зданиях, содержащие телескопическую стрелу с опорным приспособлением, закрепленную на передвижном шасси. Известны также ручные лебедки, состоящие из двух полукорпусов, соединенных болтами, барабана, передаточного механизма, тормоза и привода.
Недостатками известных конструкций являются неоперативность доставки, большие габариты, низкая мобильность, большая металлоемкость и трудоемкость в изготовлении.
Одним из аналогов представленного варианта является устройство для аварийного спуска людей, терпящих бедствие в высотных зданиях, имеющее тормозную рукоятку, соединенную с кулачками, и переставной упор, установленный на корпусе и фиксирующий тормозную рукоятку, при этом рабочие поверхности каждого из кулачков удалены на разные расстояния от опорных поверхностей тормозных колодок (SU 674749 А1, 25.07.1979).
Наиболее близким к предложенному устройству является аварийный эвакуатор для спасения людей, терпящих бедствие в высотных зданиях, включающий корпус с крышкой, с установленной внутри корпуса на неподвижной оси катушкой с намотанным на ней и одним концом закрепленным гибким элементом (RU 2251438 С1, 10.05.2005).
Недостатком данных устройств является их низкая надежность в эксплуатации, необходимость регулирования тормозного момента вращения катушки при эвакуации и негарантируемость получения необходимой скорости спускания.
Задачей, на решение которой направлено данное изобретение, является создание простого по конструкции, надежного и безопасного в использовании, небольшого, транспортабельного эвакуатора в чрезвычайных ситуациях, обеспечивающего заданную скорость опускания независимо от веса спасающегося.
Технический результат, достигаемый при реализации данного изобретения, заключается в повышении надежности работы эвакуатора.
Указанный технический результат достигается тем, что в аварийном эвакуаторе для спасения людей, терпящих бедствие в высотных зданиях, включающем корпус с крышкой, с установленной внутри корпуса на неподвижной оси катушкой с намотанным на ней и одним концом закрепленным гибким элементом, согласно изобретению, гибкий элемент имеет на другом конце карабин, эвакуатор включает ручной привод вращения катушки для намотки гибкого элемента, гидравлический тормоз заданной скорости опускания, который включает два цилиндра, соосно вмонтированные и закрепленные в отверстиях корпуса, внутренние ступени которых выполнены в виде подшипников для вращения катушки, опирающейся на них, в центральных отверстиях цилиндров неподвижно установлен золотник, на котором сцентрированы взаимодействующие с ним с помощью штифтов, проходящих сквозь пазы, поршни, один из которых подпружинен, кулачок со скошенными сторонами выполнен с возможностью взаимодействия с поршнями через храповик для перегона масла между цилиндрами через дроссель с фиксируемым тарированным лимбом по трубопроводу с заправочным и дренажным отверстиями и создания тормозного момента в зависимости от веса, указанного на лимбе, кулачок с помощью храповика взаимодействует с подпружиненной собачкой, расположенной в кольцевой выточке катушки, при этом эвакуатор содержит петлю, второй карабин и бандаж для эвакуируемого. Эвакуатор может быть оснащен пружиной прижима троса для укладки его рядами. Гибкий элемент может быть выполнен в виде троса.
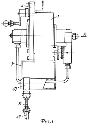
Сущность изобретения поясняется чертежами, где на фиг.1 изображен аварийный эвакуатор, общий вид; на фиг.2 – то же, вид К; на фиг.3 – разрез А-А на фиг.2; на фиг.4 – разрез Б-Б на фиг.3; на фиг.5 вид N на фиг.3.
Аварийный эвакуатор содержит корпус 1 (фиг.1) с крышкой 2, соединенной с ним винтами и приварной ручкой 3, цилиндры 4, 5 (фиг.3, разрез А-А), установленные соосно в отверстиях корпуса 1 и крышки 2, катушку 6, на которой намотан и одним концом закреплен гибкий элемент, имеющий на другом конце карабин 8 (фиг.2), в качестве подшипников при вращении катушки 6 используются внутренние ступени цилиндров 4, 5, привод вращения катушки 6 с шестернями 9,10, валиком 11, фиксатором 12 и рукояткой 13, золотник 14, жестко закрепленный в отверстиях цилиндров с помощью скобы 15 и гайки 16, поршни 17, 18, удерживаемые на золотнике от вращения штифтами 19, проходящими сквозь его пазы, кулачок 20, оснащенный храповиком, и пружина 21, с помощью храповика кулачок 20 взаимодействует с подпружиненной собачкой 22, расположенной к кольцевой выточке катушки 6, пружину 23, прижимающую гибкий элемент, например трос, и взаимодействующую с корпусом 1, трубопровод 24, соединяющий рабочие полости цилиндров 4, 5, дроссель 25 с тарированным лимбом 26, фиксатором лимба 27, заправочным 28 и дренажным 29 отверстиями, петлю 30, второй карабин 31, бандаж 32.
Эвакуатор работает следующим образом.
Подготовка эвакуатора к работе.
Перемещением валика 11 привода катушки вдоль оси шестерня 10 зацепляется с шестерней 9, при этом фиксатор 12 входит во вторую от шестерни 10 кольцевую канавку, удерживая валик в этом положении, вращением рукоятки 13 привода по часовой стрелке трос наматывается на катушку 6, при этом собачка 22 проскальзывает по зубьям храповика кулачка 20, позволяя катушке 6 вращаться свободно, кулачок 20, поршни 17, 18 в это время неподвижны, пружина 23 прижимает витки троса, укладывая их ряд на ряд. По окончании намотки троса валик 11 за рукоятку 13 перемещается вдоль оси до входа фиксатора 12 в первую от шестерни 10 кольцевую канавку, расцепляя тем самым шестерни 9, 10. В таком состоянии эвакуатор должен храниться вплоть до его применения.
Применение эвакуатора
Самостоятельная эвакуация
Поворотом тарированного лимба 27 и путем совмещения риски с указанием веса на лимбе со стрелкой на корпусе дросселя эвакуатора устанавливается вес эвакуирующегося, с помощью карабина 8 трос закрепляется к прочным, неподвижным элементам помещения или балкона, откуда происходит эвакуация, эвакуирующийся одевает бандаж, прикрепленный к корпусу 1 эвакуатора, и, держась за ручку 3, эвакуируется. При сходе троса катушка 6 вращается относительно цилиндров 4, 5, зацепляясь собачкой 22 с храповиком кулачка 20, который начинает вращаться вместе с ней без осевого перемещения, скошенные стороны кулачка 20 поочередно взаимодействуют с поршнями 17, 18, которые перегоняют масло из цилиндра 4 в цилиндр 5 и наоборот, через дроссель 25, создавая соответствующий тормозной момент от веса, указанного на лимбе 26, соответствующий весу эвакуирующегося, обеспечивая заданную скорость опускания.
Эвакуация другим лицом
Эвакуирующий устанавливает с помощью лимба 26 вес каждого эвакуируемого, ориентировочно, поочередно, с помощью карабина 31 закрепляет эвакуатор к прочным, неподвижным элементам помещения или балкона, бандаж пристегивает к карабину 8 троса, эвакуируемый, одев его, держась за лямку бандажа, и с помощью эвакуирующего начинает эвакуацию. При этом необходимо исключить контакт сходящего с катушки троса с твердыми конструкциями здания во избежание его повреждения. Остальные элементы эвакуатора работают как и в первом случае.
Предложенная конструкция аварийного эвакуатора позволяет оперативно провести эвакуацию людей из высотных зданий в чрезвычайных ситуациях.
Формула изобретения
1. Аварийный эвакуатор для спасения людей, терпящих бедствие в высотных зданиях, включающий корпус с крышкой, с установленной внутри корпуса на неподвижной оси катушкой с намотанным на ней и одним концом закрепленным гибким элементом, отличающийся тем, что гибкий элемент имеет на другом конце карабин, эвакуатор включает ручной привод вращения катушки для намотки гибкого элемента, гидравлический тормоз заданной скорости опускания, который включает два цилиндра, соосно вмонтированные и закрепленные в отверстиях корпуса, внутренние ступени которых выполнены в виде подшипников для вращения катушки, опирающейся на них, в центральных отверстиях цилиндров неподвижно установлен золотник, на котором сцентрированы взаимодействующие с ним с помощью штифтов, проходящих сквозь пазы, поршни, один из которых подпружинен, кулачок со скошенными сторонами выполнен с возможностью взаимодействия с поршнями через храповик для перегона масла между цилиндрами через дроссель с фиксируемым тарированным лимбом по трубопроводу с заправочным и дренажным отверстиями и создания тормозного момента в зависимости от веса, указанного на лимбе, кулачок с помощью храповика взаимодействует с подпружиненной собачкой, расположенной в кольцевой выточке катушки, при этом эвакуатор содержит петлю, второй карабин и бандаж для эвакуируемого.
2. Эвакуатор по п.1, отличающийся тем, что оснащен пружиной прижима троса для укладки его рядами.
3. Эвакуатор по любому из пп.1 и 2, отличающийся тем, что гибкий элемент выполнен в виде троса.
РИСУНКИ
|
|