|
|
(21), (22) Заявка: 2005130842/06, 06.10.2005
(24) Дата начала отсчета срока действия патента:
06.10.2005
(46) Опубликовано: 27.02.2007
(56) Список документов, цитированных в отчете о поиске:
RU 2250392 С2, 10.09.2003. RU 35392 U1, 10.01.2004. RU 2075875 C1, 20.03.1997. US 3730641 A, 01.05.1973. US 3269324 A, 30.08.1966.
Адрес для переписки:
105264, Москва, ул. 11-я Парковая, 29, кв.105, А.А. Иванову
|
(72) Автор(ы):
Иванов Александр Александрович (RU), Черемисинов Евгений Модестович (RU), Девликанов Валентин Мустафьевич (RU), Вавилов Сергей Васильевич (RU), Оводков Олег Александрович (RU)
(73) Патентообладатель(и):
Иванов Александр Александрович (RU), Черемисинов Евгений Модестович (RU)
|
(54) ПОГРУЖНОЙ МНОГОСТУПЕНЧАТЫЙ ЦЕНТРОБЕЖНЫЙ НАСОС (ВАРИАНТЫ)
(57) Реферат:
Изобретение относится к погружным многоступенчатым центробежным скважинным насосам для откачки пластовой жидкости. Насос содержит набор ступеней, собранных на валу в цилиндрическом корпусе. Ступени включают рабочие колеса (РК) с горловинами, ведущими и ведомыми дисками, соединенными лопатками, неподвижные направляющие аппараты с элементами, формирующими направляющие каналы (НК). Насос снабжен перегородками, установленными на дне НК с пазами и радиально-опорными подшипниками, выполненными с кольцами, установленными на кольцевых корпусных элементах направляющих аппаратов и на ведомых дисках РК. Элементы крепления РК выполнены в виде пар шпоночных канавок (ШК) и установленных в них шпонок индивидуально для каждого РК. ШК расположены на ведущих дисках и на валу насоса, пары ШК, соответствующие двум соседним РК, смещены по внешней поверхности вала таким образом, что их сечения не перекрываются плоскостями, включающими ось вала насоса. В варианте выполнения перегородки дополнительно установлены на дне пазов НК. 2 н. и 2 з.п. ф-лы, 8 ил.
Изобретение относится к нефтяному машиностроению, в частности к погружным многоступенчатым центробежным скважинным насосам для откачки пластовой жидкости.
Известен направляющий аппарат центробежного скважинного многоступенчатого насоса (Свидетельство на полезную модель РФ № 35392, опубл. 10.01.2004), который содержит верхний и нижний диски со сквозным отверстием в каждом, ребра, формирующие направляющие каналы, кольцевой корпусной элемент и торцевой вкладыш, верхний диск с ребрами, кольцевой корпусной элемент с верхним диском и торцевой вкладыш выполнены в виде трех отдельных деталей, торцевой вкладыш прилегает к нижней поверхности верхнего диска, каждое ребро выполнено непрерывно переходящим с верхней на боковую и далее на нижнюю части нижнего диска.
Недостатком данного устройства является недостаточная стабилизация потока в направляющих каналах и появление вторичных вихрей, что снижает гидравлический КПД насоса.
Известен многоступенчатый скважинный центробежный насос (В.Н.Ивановский, В.И.Дарищев, А.А.Сабиров и др. Оборудование для добычи нефти и газа в 2-х частях, ч.1, Москва, 2002. с.356-359), каждая ступень которого включает рабочие колеса с камерами для подвода жидкости, направляющий аппарат, подводящие и направляющие камеры (каналы), защитные втулки, опорные элементы для фиксации рабочих колес.
Недостатком известного насоса является то, что в силу большой длины он не может быть применен в скважинах со значительной кривизной.
Наиболее близким аналогом заявленного изобретения является погружной многоступенчатый центробежный насос с радиально-опорными подшипниками по патенту РФ № 2250392, опубл. 20.04.2005, который содержит набор ступеней, состоящих из рабочих колес и направляющих аппаратов, собранных на валу в цилиндрическом корпусе. Рабочие колеса выполнены с горловинами, ведущими дисками, соединенными лопатками с ведомыми дисками, и установлены на валу на общей шпонке, неподвижные направляющие аппараты выполнены с кольцевыми корпусными элементами и ребрами, формирующими направляющие каналы, защитные втулки установлены в расточках, выполненных в ступицах неподвижных направляющих аппаратов и образующих с защитными втулками опоры скольжения. Между рабочими колесами и направляющим аппаратом установлены радиально-опорные подшипники скольжения.
Недостатком данного насоса является то, что использованный в прототипе способ фиксации рабочих колес и защитных втулок на валу насоса (шпонка, расположенная в сплошной продольной канавке вала и канавках рабочих колес и защитных втулок) не предотвращает осевых перетоков рабочей жидкости между ступенями насоса. Напор ступени насоса пропорционален квадрату частоты вращения и, следовательно, с ростом частоты вращения вала отмеченные перетоки значительно увеличатся. Наличие перетоков обуславливает снижение объемного КПД погружного насоса и приводит к тому, что в области малых подач напорно-расходная характеристика не является крутопадающей. Кроме того, в аналоге достаточно большая длина вихревых дорожек между лопатками рабочего колеса и ребрами направляющего аппарата, что существенно снижает устойчивость потока перекачиваемой жидкости из-за образования вторичных вихрей и снижает гидравлический КПД насоса.
В основу изобретения положена задача разработать конструкцию погружного многоступенчатого центробежного насоса, позволяющую уменьшить длину вихревых дорожек между лопатками рабочего колеса и ребрами направляющего аппарата, повысить его объемный и гидравлический КПД, повысить напор ступени, увеличить ресурсные характеристики насоса и существенно снизить массогабаритные характеристики его погружной части.
Задача решается тем, что погружной многоступенчатый центробежный насос содержит набор ступеней, собранных на валу в цилиндрическом корпусе, включающих рабочие колеса с горловинами, ведущими дисками, соединенными лопатками с ведомыми дисками, неподвижные направляющие аппараты с кольцевыми корпусными элементами, расточками и ребрами, формирующими направляющие каналы, элементы крепления рабочих колес и направляющих аппаратов, защитные втулки, соединенные с валом и входящие в расточки направляющих аппаратов, радиально-опорные подшипники и опорные элементы для фиксации рабочих колес, причем насос снабжен перегородками, установленными на дне направляющих каналов с пазами, при этом радиально-опорные подшипники выполнены с кольцами, установленными на кольцевых корпусных элементах направляющих аппаратов и на ведомых дисках рабочих колес, элементы крепления рабочих колес выполнены в виде пар шпоночных канавок и установленных в них шпонок индивидуально для каждого рабочего колеса, шпоночные канавки расположены на ведущих дисках и на валу насоса, пары шпоночных канавок, соответствующие двум соседним рабочим колесам, смещены по внешней поверхности вала таким образом, что их сечения не перекрываются плоскостями, включающими ось вала насоса.
По второму варианту погружной многоступенчатый центробежный насос характеризуется тем, что он содержит набор ступеней, собранных на валу в цилиндрическом корпусе, включающих рабочие колеса с горловинами, ведущими дисками, соединенными лопатками с ведомыми дисками, неподвижные направляющие аппараты с кольцевыми корпусными элементами, расточками и ребрами, формирующими направляющие каналы, элементы крепления рабочих колес и направляющих аппаратов, защитные втулки, соединенные с валом и входящие в расточки направляющих аппаратов, радиально-опорные подшипники и опорные элементы для фиксации рабочих колес, причем насос снабжен перегородками, установленными на дне направляющих каналов, выполненных с пазами, и на дне этих пазов, при этом радиально-опорные подшипники выполнены с кольцами, установленными на кольцевых корпусных элементах направляющих аппаратов и на ведомых дисках рабочих колес, элементы крепления рабочих колес выполнены в виде пар шпоночных канавок и установленных в них шпонок индивидуально для каждого рабочего колеса, шпоночные канавки расположены на ведущих дисках и на валу насоса, одновременно пары шпоночных канавок, соответствующие двум соседним рабочим колесам, смещены по внешней поверхности вала таким образом, что их сечения не перекрываются плоскостями, включающими ось вала насоса.
При этом защитные втулки погружного многоступенчатого центробежного насоса выполнены из твердосплавного материала, например вольфрамо-никелевых сплавов.
Отличительной особенностью насоса является установка перегородок на дне направляющих каналов с пазами и на дне этих пазов в дополнение к ребрам направляющих каналов, что способствует стабилизации потока в этих каналах, устранению вторичных вихрей и повышению гидравлического КПД насоса за счет уменьшения длины вихревых дорожек между лопатками рабочего колеса и ребрами направляющего аппарата.
Другой отличительной особенностью насоса является индивидуальное крепление каждого рабочего колеса парами шпонок, установленных в шпоночных канавках на ведущих дисках и на валу насоса (в отличие от общего шпоночного паза в аналогах), что позволяет устранить перетечки рабочей жидкости между соседними ступенями насоса, тем самым повысить объемный КПД насоса и обеспечить напорно-расходной характеристике насоса крутопадающий характер в области малых подач (повысить напор ступени).
Отличием от аналогов также являются признаки, касающиеся выполнения радиально-опорных подшипников с кольцами, установленными на кольцевых корпусных элементах направляющих аппаратов и на ведомых дисках рабочих колес, а также размещения пары шпоночных канавок на валу. Такое конструктивное выполнение дополнительно предотвращает осевые перетоки рабочей жидкости между ступенями насоса.
Отличительный признак, касающийся выполнения защитных втулок погружного многоступенчатого центробежного насоса из твердосплавного материала (вольфрамо-никелевых твердых сплавов) в совокупности с другими существенными признаками позволяет увеличить ресурсные характеристики насоса, т.к. увеличение частоты вращения вала насоса влечет за собой повышенный износ трущихся поверхностей.
В первом варианте конструктивного выполнения насоса он снабжен перегородками, установленными на дне направляющих каналов с пазами для уменьшения длины вихревых дорожек между лопатками рабочего колеса и ребрами направляющего аппарата.
Во втором варианте конструктивного выполнения насоса он снабжен перегородками, установленными на дне направляющих каналов, выполненных с пазами и на дне этих пазов, дополнительно уменьшая длину вихревых дорожек между лопатками рабочего колеса и ребрами направляющего аппарата, что необходимо для повышения напора ступени на малых расходах перекачиваемой жидкости.
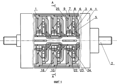
Сущность изобретения поясняется чертежами, на фиг.1 которых изображены три последовательно установленные ступени погружного многоступенчатого центробежного насоса, на фиг.2 дано сечение по А-А на фиг.1, на фиг.3 изображен направляющий аппарат, в котором перегородки установлены на дне направляющих каналов, на фиг.4 изображен направляющий аппарат, в котором перегородки установлены на дне направляющих каналов и на дне их пазов, на фиг.5 изображен направляющий аппарат со стороны рабочего колеса, на фиг.6 изображены рабочие колеса в сборе, на фиг.7 показан вариант смещения по внешней поверхности вала пар шпонок, соответствующих двум соседним рабочим колесам, на фиг.8 дано сечение по В-В на фиг.7.
Погружной многоступенчатый центробежный насос содержит набор ступеней, собранных в цилиндрическом корпусе 1 на валу 2. Ступени включают в себя рабочие колеса 3 с горловинами 4, ведущими 5 дисками, соединенным лопатками 6 с ведомыми 7 дисками. Ведущие 5 и ведомые 7 диски, а также лопатки 6 образуют каналы рабочих колес 3. Каналы рабочих колес, с одной стороны, соединены с горловинами 4 ведомых 7 дисков, а с другой – направлены к направляющим аппаратам 8. Ступени насоса также включают неподвижные направляющие аппараты 8 с кольцевыми корпусными элементами 9, расточками 10 и ребрами 11, формирующими направляющие каналы 12. Рабочие колеса 3 закреплены на валу 2 парами шпонок 13, установленных в шпоночных канавках 14 и 15 индивидуально для каждого рабочего колеса 3. Шпоночные канавки 14 расположены на ведущих 5 дисках, а шпоночные канавки 15 расположены на валу 2 насоса. Каждая пара шпонок 14 и 15 передает вращающий момент от вала 2 к рабочим колесам 3 и защитным втулкам 16. В расточки 10 направляющих аппаратов 8 входят защитные втулки 16, соединенные с валом 2. Расточки 10 неподвижных направляющих аппаратов 8 с защитными втулками 16 образуют опоры скольжения (радиальные подшипники скольжения), которые фиксируют продольное положение рабочих колес 3. На дне 17 направляющих каналов 12 направляющих аппаратов 8 установлены перегородки 18. Направляющие каналы 12 выполнены с пазами 19, на дне 20 которых установлены перегородки 21. На кольцевых корпусных элементах 9 направляющих аппаратов 8 и на ведомых 7 дисках рабочих колес 3 установлены кольца 22 и 23 радиально-опорных подшипников 24. Кольца 22 установлены на кольцевых корпусных элементах 9, например, при помощи опорных дисков 25.
Погружной многоступенчатый центробежный насос работает следующим образом.
Поток пластовой жидкости создается действием вращающихся лопаток рабочего колеса ступени, приводимого в движение валом насоса. Пластовая жидкость через подводящие каналы и горловину рабочего колеса поступает в пространство между ведущим и ведомым дисками. По мере радиального перемещения в пространстве, ограниченном дисками и лопатками рабочего колеса, энергия жидкости увеличивается за счет работы, совершаемой центробежными силами, и увеличения тангенциальной составляющей скорости жидкости. Далее жидкость поступает в направляющие каналы направляющего аппарата, в которых часть кинетической энергии потока трансформируется в потенциальную, т.е. осуществляется создание дополнительного напора и направление потока на следующее рабочее колесо. Через направляющие каналы, ребра и перегородки направляющего аппарата рабочая жидкость поступает на входную горловину следующей ступени.
При вращении вала ротора насоса на него действуют радиальные силы, которые воспринимаются радиальными подшипниками скольжения, образованными защитными втулками и расточками направляющих аппаратов. Одновременно подшипниками скольжения выполняют роль уплотнений, отделяющих полость высокого давления от полости более низкого давления в предыдущей ступени. Радиально-опорные подшипники воспринимают осевые силы, действующие на рабочие колеса, и одновременно воспринимают радиальные силы, действующие от дисбаланса ротора и других факторов. Радиально-опорный подшипник за счет конструктивного выполнения колец – установки на кольцевых корпусных элементах направляющих аппаратов и на ведомых дисках рабочих колес – разгружает радиальные опоры вала насоса и одновременно предотвращает осевые перетоки рабочей жидкости между ступенями насоса.
Реализованный цикл позволяет увеличить удельную энергию пластовой жидкости (напор) за счет стабилизации потока в каналах направляющих аппаратов и предотвращения осевых перетоков рабочей жидкости между ступенями насоса.
Формула изобретения
1. Погружной многоступенчатый центробежный насос, характеризующийся тем, что он содержит набор ступеней, собранных на валу в цилиндрическом корпусе, включающих рабочие колеса с горловинами, ведущими дисками, соединенными лопатками с ведомыми дисками, неподвижные направляющие аппараты с кольцевыми корпусными элементами, расточками и ребрами, формирующими направляющие каналы, элементы крепления рабочих колес и направляющих аппаратов, защитные втулки, соединенные с валом и входящие в расточки направляющих аппаратов, радиально-опорные подшипники и опорные элементы для фиксации рабочих колес, причем насос снабжен перегородками, установленными на дне направляющих каналов с пазами, при этом радиально-опорные подшипники выполнены с кольцами, установленными на кольцевых корпусных элементах направляющих аппаратов и на ведомых дисках рабочих колес, элементы крепления рабочих колес выполнены в виде пар шпоночных канавок и установленных в них шпонок индивидуально для каждого рабочего колеса, шпоночные канавки расположены на ведущих дисках и на валу насоса, пары шпоночных канавок, соответствующие двум соседним рабочим колесам, смещены по внешней поверхности вала таким образом, что их сечения не перекрываются плоскостями, включающими ось вала насоса.
2. Насос по п.1, отличающийся тем, что в нем защитные втулки погружного многоступенчатого центробежного насоса выполнены из твердосплавных материалов, например, вольфрамо-никелевых сплавов.
3. Погружной многоступенчатый центробежный насос, характеризующийся тем, что он содержит набор ступеней, собранных на валу в цилиндрическом корпусе, включающих рабочие колеса с горловинами, ведущими дисками, соединенными лопатками с ведомыми дисками, неподвижные направляющие аппараты с кольцевыми корпусными элементами, расточками и ребрами, формирующими направляющие каналы, элементы крепления рабочих колес и направляющих аппаратов, защитные втулки, соединенные с валом и входящие в расточки направляющих аппаратов, радиально-опорные подшипники и опорные элементы для фиксации рабочих колес, причем насос снабжен перегородками, установленными на дне направляющих каналов, выполненных с пазами, и на дне этих пазов, при этом радиально-опорные подшипники выполнены с кольцами, установленными на кольцевых корпусных элементах направляющих аппаратов и на ведомых дисках рабочих колес, элементы крепления рабочих колес выполнены в виде пар шпоночных канавок и установленных в них шпонок индивидуально для каждого рабочего колеса, шпоночные канавки расположены на ведущих дисках и на валу насоса одновременно, пары шпоночных канавок, соответствующие двум соседним рабочим колесам, смещены по внешней поверхности вала таким образом, что их сечения не перекрываются плоскостями, включающими ось вала насоса.
4. Насос по п.3, отличающийся тем, что в нем защитные втулки погружного многоступенчатого центробежного насоса выполнены из твердосплавных материалов, например, вольфрамо-никелевых сплавов.
РИСУНКИ
PC4A – Регистрация договора об уступке патента СССР или патента Российской Федерации на изобретение
Прежний патентообладатель:
Иванов Александр Александрович, Черемисинов Евгений Модестович
(73) Патентообладатель:
МЕЧАТРОНИКАЛ ОЙЛ ЭКУИПМЕНТ ПРОДАКШЕН ЛТД. (GB)
Договор № РД0047788 зарегистрирован 10.03.2009
Извещение опубликовано: 20.04.2009 БИ: 11/2009
|
|