|
|
(21), (22) Заявка: 2005134902/06, 11.11.2005
(24) Дата начала отсчета срока действия патента:
11.11.2005
(46) Опубликовано: 27.02.2007
(56) Список документов, цитированных в отчете о поиске:
SU 436415 А, 15.07.1974. RU 42864 U1, 20.12.2004. SU 237968 A, 20.02.1969. SU 267734 A, 02.04.1970. GB 2336946 A, 03.11.1999. US 4487299 A, 11.12.1984.
Адрес для переписки:
125424, Москва, а/я 31, ООО “Лифт Ойл”, Д.Б. Полякову
|
(72) Автор(ы):
Поляков Дмитрий Борисович (RU), Пономарев Анатолий Константинович (RU), Шаймарданов Рамиль Фаритович (RU), Антонников Александр Николаевич (RU)
(73) Патентообладатель(и):
Общество с ограниченной ответственностью “Лифт Ойл” (RU)
|
(54) СКВАЖИННЫЙ ЭЛЕКТРОПРИВОДНОЙ НАСОСНЫЙ АГРЕГАТ
(57) Реферат:
Изобретение относится к скважинным насосам для добычи нефти. Агрегат содержит погружной центробежный насос, протектор, погружной электродвигатель (ЭД) и расположенный ниже него компенсатор (К) объемного расширения масла. К выполнен в виде цилиндрического корпуса с соединительной головкой (Г) со стороны его верхнего торца и крышкой со стороны нижнего торца и расположенного внутри корпуса поршня. Надпоршневая полость К через канал в соединительной Г сообщена с маслозаполненной полостью ЭД, а подпоршневая полость – через отверстие в крышке – с окружающей средой. Протектор снабжен корпусом, верхним и нижним ниппелями, между которыми размещена торцевая опора, валом, закрепленным на опорах с уплотнениями, верхней и нижней Г с фланцами для соединения с насосом и ЭД. Валы ЭД, протектора и насоса кинематически связаны. Корпус протектора выполнен цилиндрическим, и в нем между нижней Г и нижним ниппелем выполнена полость с размещенным в ней поршнем. Надпоршневая полость заполнена маслом и сообщена через канал в нижнем ниппеле и трубопровод с маслозаполненной полостью ЭД, а подпоршневая полость через канал в нижней Г – с окружающей средой. В результате достигается повышение надежности работы. 3 ил.
Изобретение относится к области машиностроения, в частности к скважинным насосным агрегатам для добычи нефти.
Известен скважинный электроприводной диафрагменный насос для добычи нефти (см. патент RU №2062906, кл. F 04 В 47/06, 27.06.1996 г.).
Недостатком известной конструкции является низкий КПД, а также низкий ресурс плоской эластичной диафрагмы из-за высокой частоты ходов, низкая напорная характеристика насосного агрегата, невозможность добычи нефти с низким уровнем обводненности из-за малой пропускной способности всасывающих клапанов.
Наиболее близким техническим решением является скважинный электроприводной насосный агрегат, содержащий установленные на колонне труб в скважине последовательно сверху вниз погружной центробежный насос, протектор, погружной электродвигатель и расположенный ниже него компенсатор объемного расширения масла, (авторское свидетельство SU №436415, кл. Н 02 К 5/12, 15.07.1974).
Недостатком данной конструкции является низкий ресурс диафрагм протектора и компенсатора объемного расширения масла из-за разрыва в местах закрепления на корпусе, загазованности и плохого теплоотвода от масла электродвигателя, приводящих к отключению электродвигателя при разгерметизации.
Задачей, на решение которой направлено изобретение, является исключение возможности разгерметизации заполненных маслом полостей протектора и компенсатора объемного расширения масла.
Техническим результатом, который достигается в результате решения указанной выше задачи, является повышение надежности работы скважинного электроприводного насосного агрегата.
Поставленная задача решается, а технический результат достигается за счет того, что скважинный электроприводной насосный агрегат содержит установленные на колонне труб в скважине последовательно сверху вниз погружной центробежный насос, протектор, погружной электродвигатель и расположенный ниже него компенсатор объемного расширения масла, последний выполнен в виде цилиндрического корпуса с соединительной головкой со стороны его верхнего торца и крышкой со стороны нижнего торца и расположенного внутри цилиндрического корпуса поршня, причем надпоршневая полость компенсатора через канал в соединительной головке сообщена с маслозаполненной полостью электродвигателя, а подпоршневая полость через отверстие в крышке сообщена с окружающей насосный агрегат средой, протектор снабжен корпусом, верхним и нижним ниппелями, между которыми размещена торцевая опора, установленным соосно корпусу валом, закрепленным на опорах с нижним и верхним торцевыми уплотнениями, причем посредством вала протектора вал электродвигателя кинематически связан с валом погружного насоса, а также верхней и нижней головками с фланцами для соединения соответственно с погружным насосом и электродвигателем, причем корпус протектора выполнен цилиндрическим и в последнем между нижней головкой и нижним ниппелем выполнена полость с размещенным в ней коаксиально валу поршнем, при этом надпоршневая полость заполнена маслом и сообщена через канал в нижнем ниппеле и трубопровод с маслозаполненной полостью электродвигателя, а подпоршневая полость через канал в нижней головке сообщена с окружающей насосный агрегат средой.
Выполнение компенсатора объемного расширения масла и протектора с поршнями позволяет исключить разгерметизацию заполненных маслом полостей, поскольку изменение объема маслозаполненных полостей не связано с механической деформацией поршней, аналогичной деформациям, которые испытывают диафрагмы. В зависимости от используемого материала для изготовления поршней можно также увеличить теплоотвод от нагретого в процессе работы агрегата масла, поскольку поршни могут быть выполнены из материала с высокой теплопроводностью.
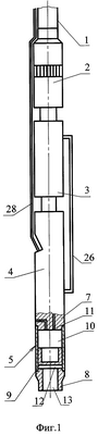
На фиг.1 схематически представлен скважинный электроприводной насосный агрегат. На фиг.2 представлен продольный разрез протектора. На фиг.3 представлен продольный разрез компенсатора.
Скважинный электроприводной насосный агрегат содержит установленные на колонне труб 1 в скважине последовательно сверху вниз погружной центробежный насос 2, протектор 3, погружной электродвигатель 4 и расположенный ниже него компенсатор 5 объемного расширения масла. Компенсатор 5 объемного расширения масла выполнен в виде цилиндрического корпуса 6 с соединительной головкой 7 со стороны его верхнего торца и крышкой 8 со стороны нижнего торца и расположенного внутри цилиндрического корпуса 6 поршня 9, причем надпоршневая полость 10 компенсатора 5 через канал 11 в соединительной головке 7 сообщена с маслозаполненной полостью электродвигателя 4, а подпоршневая полость 12 через отверстие 13 в крышке 8 сообщена с окружающей насосный агрегат средой. Протектор 3 снабжен корпусом 14, верхним 15 и нижним 16 ниппелями, между которыми размещена торцевая опора 17 (пята), установленным соосно корпусу 14 протектора 3 валом 18, закрепленным на опорах с нижним 19 и верхним 20 торцевыми уплотнениями, причем посредством вала 18 протектора 3 вал электродвигателя 4 кинематически связан с валом погружного центробежного насоса 2, а также верхней 21 и нижней 22 головками с фланцами для соединения соответственно с погружным центробежным насосом 2 и электродвигателем 4, причем корпус 14 протектора 3 выполнен цилиндрическим и в последнем между нижней головкой 22 и нижним ниппелем 16 выполнена полость с размещенным в ней коаксиально валу 18 поршнем 23, при этом надпоршневая полость 24 заполнена маслом и сообщена через канал 25 в нижнем ниппеле 16 и трубопровод 26 с маслозаполненной полостью электродвигателя 4, а подпоршневая полость через канал 27 в нижней головке 22 сообщена с окружающей насосный агрегат средой. Вдоль насосного агрегата и колонны труб 1 пропущен электрический кабель 28 для подачи электрической энергии к электродвигателю 4.
Скважинный электроприводной насосный агрегат работает следующим образом.
Перед погружением насосного агрегата в скважину полость электродвигателя 4 надпоршневая полость 24 протектора 3 и надпоршневая полость 10 компенсатора 5 заполняются очищенным маслом соответствующим рабочему температурному режиму.
Поршень 9 компенсатора 5 установлен выше крышки 8 на расстоянии, соответствующем его перемещению при расширении общего объема масла при нагреве его до рабочей температуры. При спуске электродвигателя 4 в скважину запорный клапан в головке 7 компенсатора 5 открывается, и полость 24 протектора 3, а также полость 10 компенсатора 5 соединяются с полостью электродвигателя 4. В случае утечки масла через верхнее торцовое уплотнение 19 и при уменьшении его объема вследствие охлаждения поршни 9 и 23 перемещаются, соответственно, в цилиндрах 6 и 14 вверх до выравнивания давления в масляном объеме с давлением со стороны среды. В процессе работы агрегата электродвигатель 4 приводит во вращение через вал 18 протектора 3 вал центробежного насоса 2 и последний откачивает из скважины и подает по колонне труб 1 на поверхность добываемую жидкую среду.
Настоящее изобретение может быть использована нефтедобывающей промышленности и других отраслях промышленности, где производят добычу жидких сред из скважин.
Формула изобретения
Скважинный электроприводной насосный агрегат, содержащий установленные на колонне труб в скважине последовательно сверху вниз погружной центробежный насос, протектор, погружной электродвигатель и расположенный ниже него компенсатор объемного расширения масла, отличающийся тем, что компенсатор объемного расширения масла выполнен в виде цилиндрического корпуса с соединительной головкой со стороны его верхнего торца и крышкой со стороны нижнего торца и расположенного внутри цилиндрического корпуса поршня, причем надпоршневая полость компенсатора через канал в соединительной головке сообщена с маслозаполненной полостью электродвигателя, а подпоршневая полость – через отверстие в крышке сообщена с окружающей насосный агрегат средой, протектор снабжен корпусом, верхним и нижним ниппелями, между которыми размещена торцевая опора, установленным соосно корпусу валом, закрепленным на опорах с нижним и верхним торцевыми уплотнениями, причем посредством вала протектора вал электродвигателя кинематически связан с валом погружного насоса, а также верхней и нижней головками с фланцами для соединения соответственно с погружным насосом и электродвигателем, причем корпус протектора выполнен цилиндрическим и в последнем между нижней головкой и нижним ниппелем выполнена полость с размещенным в ней коаксиально валу поршнем, при этом надпоршневая полость заполнена маслом и сообщена через канал в нижнем ниппеле и трубопровод с маслозаполненной полостью электродвигателя, а подпоршневая полость через канал в нижней головке сообщена с окружающей насосный агрегат средой.
РИСУНКИ
|
|