|
|
(21), (22) Заявка: 2005128229/06, 09.09.2005
(24) Дата начала отсчета срока действия патента:
09.09.2005
(46) Опубликовано: 27.02.2007
(56) Список документов, цитированных в отчете о поиске:
RU 2195578 С2, 27.12.2002. RU 2120549 C1, 20.10.1998. RU 2243412 C1, 27.12.2004. SU 1434876 A1, 20.05.1996. SU 907286 А, 23.02.1982. WO 2004053331 А, 24.06.2004.
Адрес для переписки:
423224, Республика Татарстан, г. Бугульма, ул. М. Джалиля, 65, ОАО “БЭНЗ”
|
(72) Автор(ы):
Мясников Николай Степанович (RU), Александров Анатолий Валентинович (RU), Куклина Лидия Геннадьевна (RU), Закиров Искра Абрарович (RU)
(73) Патентообладатель(и):
Открытое акционерное общество “Бугульминский электронасосный завод” (ОАО “БЭНЗ”) (RU)
|
(54) НАСОС ПЛУНЖЕРНЫЙ ДЛЯ ПЕРЕКАЧИВАНИЯ ЖИДКОСТЕЙ
(57) Реферат:
Устройство предназначено для использования в различных отраслях промышленности, в том числе и нефтедобывающей для перекачивания жидких вязких продуктов, содержащих механические примеси. Насос содержит привод с устройством возвратно-поступательного и вращательного движения и связанного с ним плунжера. Гидравлическая часть состоит из цилиндра, плунжера, комплекта уплотнений плунжера, каналов линии всасывания и линии нагнетания перекачиваемой жидкости. Каналы линий всасывания и нагнетания выполнены в боковых стенках цилиндра, разнесены по длине цилиндра и постоянно перекрыты плунжером. Плунжер оснащен центральным каналом, открытым со стороны, противоположной приводу. На наружной поверхности плунжера выполнены герметично отделенные всасывающая и нагнетательная выборки, которые сообщаются с центральным каналом при помощи соответствующих всасывающего и нагнетательного отверстий. Всасывающее и нагнетательные отверстия разнесены по длине плунжера. Всасывающая и нагнетательная выборки выполнены с возможностью поочередного сообщения соответственно с каналами линии всасывания при вытягивании плунжера из цилиндра и линии нагнетания при входе плунжера в цилиндр. Упрощается конструкция и повышается надежность из-за малого количества сопрягаемых элементов, что в результате снижает стоимость изготовления и обслуживания. 1 ил.
Предложение относится к машиностроительной промышленности, в частности к насосостроению, и может быть использовано в различных отраслях, в том числе и нефтедобывающей, для перекачивания жидких вязких продуктов, содержащих механические примеси.
Известен скважинный плунжерный насос (патент RU № 2243412 от 10.07.2003 г., МПК F 04 B 47/00, 53/14, опубл. БИ № 36 за 2004 г.), содержащий заглушенный снизу цилиндр с расположенными сбоку всасывающим и нагнетательным клапанами, плунжер, при этом плунжер имеет кольцевые проточки, подплунжерная область сообщается с надплунжерной областью всасывающими и нагнетательными клапанами через дополнительный клапан, расположенный между всасывающим и нагнетательным клапанами, при этом дополнительный клапан образован взаимодействием кольцевых проточек плунжера с боковыми каналами цилиндра, образованными всасывающими и нагнетательными клапанами, а всасывающий и нагнетательный клапаны образованы взаимодействием боковых отверстий цилиндра с плунжером, причем всасывающие и нагнетательные каналы выполнены с возможностью перекрытия в верхней и нижней точках хода плунжера.
Насос позволяет перекачивать продукцию скважины независимо от содержания в ней газа.
Недостатками данной конструкции являются большие металлоемкость, габариты и, как следствие, высокая стоимость, так как для обеспечения нормальной работы и высокого коэффициента полезного действия (КПД) необходимо наличие длинного плунжера с большим количеством кольцевых проточек, что требует длинного корпуса, как минимум, в два раза большей длины, чем длины плунжера, а также использование длиноходного привода, обеспечивающего ход плунжера в пределах корпуса.
Известен также плунжерный насос (патент RU № 2202050 от 18.08.2000 г., F 04 B 15/02, опубл. 10.04.2003 г.), содержащий корпус с окнами для всасывания и нагнетания, поворотный затвор в виде полого цилиндра с боковым окном, расположенный в корпусе с возможностью периодического совмещения своего бокового окна с окном всасывания корпуса, и вытеснительный элемент, установленный в затворе, причем окно для всасывания в корпусе и боковое окно в затворе имеют длину, соизмеримую длине рабочего хода вытеснительного элемента, причем вытеснительный элемент выполнен в виде гидроцилиндра, шток которого соединен с корпусом, а цилиндр установлен соосно с поворотным затвором с возможностью совершать возвратно-поступательные движения, окно нагнетания выполнено в боковой поверхности корпуса под углом от окна всасывания не менее угла поворота поворотного затвора, при котором его боковое окно перекрывает окно нагнетания в корпусе, а боковая поверхность закрывает окно всасывания в корпусе, и наоборот, а в корпусе над окном для всасывания установлен ворошитель, выполненный в виде гребенки, с возможностью синхронного вращения с вращением затвора.
Недостатками данной конструкции являются низкая надежность, сложность в изготовлении и применении, так как это устройство выполнено из большого количества точно и герметично сопрягаемых деталей, при этом возвратно-поступательного перемещения привода, длина хода которого в два раза больше рабочего хода вытеснительного элемента, должны быть точно согласованы с вращательным движением поворотного затвора, которое обеспечивается отдельным приводом поворота, для чего требуется точная настройка и постоянный приборный или визуальный контроль.
Наиболее близким по технической сущности и достигаемому результату к предлагаемому является насос дозировочный плунжерный для перекачивания жидкости (патент RU № 2195578 от 08.08.2000 г., МПК F 04 B 13/00, опубл. БИ № 36 за 2002 г.), содержащий привод с устройством возвратно-поступательного и вращательного движения ползуна и связанного с ним плунжера, гидравлическую часть, состоящую из цилиндра, плунжера, комплекта уплотнений плунжера, каналов линии всасывания и линии нагнетания перекачиваемой жидкости, при этом плунжер насоса соединен с возможностью относительного перемещения вдоль общей оси и совместного вращения с шибером цилиндрической формы, имеющим основания различного диаметра, большее из которых своей плоскостью примыкает к плоскости головки насоса, перпендикулярной оси плунжера, имеющей каналы, расположенные симметрично относительно оси, соединенные с линиями всасывания и нагнетания жидкости, имеющим канал, один конец которого постоянно соединен с камерой насоса, а второй в начале такта всасывания соединяется с каналом линии всасывания, а в конце такта всасывания, после поворота плунжера с шибером вокруг оси, с каналом линии нагнетания, имеющим уплотнение меньшего диаметра, размещенное в цилиндре с образованием кольцеобразной камеры между головкой насоса, цилиндром и шибером, соединенной открытым каналом с линией нагнетания.
Недостатками данной конструкции являются низкая надежность, сложность в изготовлении, так как это устройство выполнено из большого количества точно и герметично сопрягаемых деталей.
Технической задачей предлагаемого изобретения является упрощение конструкции, повышение надежности и снижение материальных затрат за счет малого числа сопрягаемых элементов конструкции.
Техническая задача решается насосом плунжерным для перекачивания жидкостей, содержащим привод с устройством возвратно-поступательного и вращательного движения и связанного с ним плунжера, гидравлическую часть, состоящую из цилиндра, плунжера, комплекта уплотнений плунжера, каналов линии всасывания и линии нагнетания перекачиваемой жидкости.
Новым является то, что каналы линий всасывания и нагнетания выполнены в боковых стенках цилиндра, разнесены по длине цилиндра и постоянно перекрыты плунжером, а плунжер оснащен центральным каналом, открытым со стороны, противоположной приводу, и на наружной поверхности герметично отделенными всасывающей и нагнетательной выборками, которые сообщены с центральным каналом плунжера при помощи соответствующих всасывающего и нагнетательного отверстий, которые в свою очередь разнесены по длине плунжера, при этом всасывающая и нагнетательная выборки выполнены с возможностью поочередного сообщения соответственно с каналами линии всасывания при вытягивании плунжера из цилиндра и линии нагнетания при входе плунжера в цилиндр.
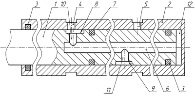
На чертеже показана схема предлагаемого устройства с осевым разрезом.
Насос плунжерный для перекачивания жидкостей содержит привод (на чертеже не показан) с устройством возвратно-поступательного и вращательного движения и связанного с ним плунжера 1, гидравлическую часть, состоящую из цилиндра 2, плунжера 1, комплекта уплотнений плунжера 3, каналов линии всасывания 4 и линии нагнетания 5 перекачиваемой жидкости (полностью линии всасывания и нагнетания на чертеже не показаны). Каналы линий всасывания 4 и нагнетания 5 выполнены в боковых стенках цилиндра 2, разнесены по длине цилиндра 2 и постоянно перекрыты плунжером 1. Плунжер 1 оснащен центральным каналом 6, открытым со стороны, противоположной приводу, и на наружной поверхности герметично отделенными уплотнением 7 всасывающей 8 и нагнетательной 9 выборками. Всасывающая 8 и нагнетательная 9 выборки сообщаются с центральным каналом 6 плунжера 1 при помощи соответствующих всасывающего 10 и нагнетательного 11 отверстий, которые разнесены по длине плунжера 1. Всасывающая 8 и нагнетательная 9 выборки выполнены с возможностью поочередного сообщения соответственно с каналами линии всасывания 4 при вытягивании плунжера 1 из цилиндра 2 и линии нагнетания 5 при входе плунжера 1 в цилиндр 2. Цилиндром 2 и плунжером 1 со стороны, обратной приводу плунжера 1, образована подплунжерная полость 12.
Принцип работы устройства разделяется на два постоянно чередующихся во время работы цикла:
во-первых, цикл всасывания;
во-вторых, цикл нагнетания.
Цикл всасывания.
При полном входе плунжера 1 в цилиндр 2 за счет вращения плунжера нагнетательная выборка 9 выходит из сообщения с каналом линии нагнетания 5, а всасывающая выборка 8 начинает сообщаться с каналом линии всасывания 4. При вращении и выдвижении плунжера 1 из цилиндра 2 всасывающая выборка 8 сообщается с каналом линии всасывания 4, из которой жидкость через всасывающую выборку 8, всасывающее отверстие 10 и центральный канал 6 поступает в подплунжерную полость 12 цилиндра 2.
Цикл нагнетания.
При максимальном выдвижении плунжера 1 из цилиндра 2 за счет вращения плунжера 1 всасывающая выборка 8 выходит из сообщения с каналом линии всасывания 4, а нагнетательная выборка 9 начинает сообщаться с каналом линии нагнетания 5. При входе плунжера 1 в цилиндр 2 жидкость из подплунжерной полости 12 цилиндра 2 через центральный канал 6, нагнетательное отверстие 11 и нагнетательную выборку 9 выталкивается в канал нагнетательной линии 5.
Далее циклы всасывания и нагнетания повторяются, а несанкционированные перетоки жидкости исключаются благодаря уплотнениям 3 и 7. Так как ход плунжера 1 остается постоянным во время работы предлагаемого устройства, то и объем жидкости, закачиваемой и выталкиваемой из подплунжерной полости 12 цилиндра 2, постоянен, поэтому данный насос можно использовать для дозированной подачи жидкости.
Использование предлагаемой конструкции насоса плунжерного для перекачивания жидкостей упрощает конструкцию и повышает надежность из-за малого количества сопрягаемых элементов, что в результате снижает стоимость изготовления и обслуживания.
Формула изобретения
Насос плунжерный для перекачивания жидкостей, содержащий привод с устройством возвратно-поступательного и вращательного движения и связанного с ним плунжера, гидравлическую часть, состоящую из цилиндра, плунжера, комплекта уплотнений плунжера, каналов линии всасывания и линии нагнетания перекачиваемой жидкости, отличающийся тем, что каналы линий всасывания и нагнетания выполнены в боковых стенках цилиндра, разнесены по длине цилиндра и постоянно перекрыты плунжером, а плунжер оснащен центральным каналом, открытым со стороны, противоположной приводу, и на наружной поверхности герметично отделенными всасывающей и нагнетательной выборками, которые сообщены с центральным каналом плунжера при помощи соответствующих всасывающего и нагнетательного отверстий, которые разнесены по длине плунжера, при этом всасывающая и нагнетательная выборки выполнены с возможностью поочередного сообщения соответственно с каналами линии всасывания при вытягивании плунжера из цилиндра и линии нагнетания при входе плунжера в цилиндр.
РИСУНКИ
MM4A – Досрочное прекращение действия патента СССР или патента Российской Федерации на изобретение из-за неуплаты в установленный срок пошлины за поддержание патента в силе
Дата прекращения действия патента: 10.09.2008
Извещение опубликовано: 27.07.2010 БИ: 21/2010
|
|