|
|
(21), (22) Заявка: 2005129563/06, 26.09.2005
(24) Дата начала отсчета срока действия патента:
26.09.2005
(46) Опубликовано: 27.02.2007
(56) Список документов, цитированных в отчете о поиске:
ГРИГОРЬЕВ М.А. Очистка масла и топлива в автотракторных двигателях. – М.: Машиностроение, 1970, с.159-160. US 3837495 A, 24.09.1974. US 4773998 A, 27.09.1988. ЕР 0362554 А1, 11.04.1990. US 5217606 А, 08.06.1993. SU 971434 А, 07.11.1982. SU 1337536 А1, 15.09.1987.
Адрес для переписки:
111395, Москва, ул. Молдагуловой, 10, корп.1, кв.72, Е.В. Морозову
|
(72) Автор(ы):
Морозов Евгений Владимирович (RU)
(73) Патентообладатель(и):
Морозов Евгений Владимирович (RU)
|
(54) ДВУХСЕКЦИОННЫЙ ФИЛЬТРУЮЩИЙ ЭЛЕМЕНТ МАСЛЯНОГО ФИЛЬТРА
(57) Реферат:
Изобретение предназначено для очистки масла и может быть использовано в масляных фильтрах ДВС, компрессорах, различного рода гидросистемах. Фильтрующий элемент (ФЭ) масляного фильтра содержит две секции. Первая секция (ПС) состоит из синтетической текстурированной нити, намотанной с переменным усилием на участок единой центральной трубы, ограниченный верхней торцевой и разделительной крышками так, что образует объемно-капиллярную фильтрующую штору. Вторая секция (ВС) состоит из синтетической текстурированной нити, намотанной с переменным усилием на участок единой центральной трубы, ограниченный нижней торцевой и разделительной крышками так, что образует объемно-капиллярную фильтрующую штору с более низкой тонкостью отсева и повышенным гидравлическим сопротивлением, чем у ПС. Труба выполнена перфорированной или имеет каналы на наружной стороне. ФЭ расположен в корпусе фильтра, который может оснащаться перепускным клапаном. Корпус фильтра может быть разборным или неразборным. ФЭ дешев и технологичен в производстве. 2 з.п. ф-лы, 3 ил.
Изобретение относится к области двигателестроения и может быть использовано в масляных фильтрах двигателей внутреннего сгорания, компрессорах, различного рода гидросистемах.
Известен двухсекционный фильтрующий элемент масляного фильтра, содержащий две секции с разной плотностью набивки хлопчатобумажных волокон. В этом фильтре в верхней плотной секции элемента осуществляется тонкая очистка масла, в нижней менее плотной – грубая очистка масла (Григорьев М.А. Очистка масла и топлива в автотранспортных двигателях. Москва, Машиностроение, 1970, с.159-160).
Известный фильтр с фильтрующим элементом имеет сложную конструкцию, обладает высокой себестоимостью.
Заявляемое изобретение ставит задачу создания элемента фильтрующего, обладающего высокой грязеемкостью, низкой тонкостью отсева, низкой себестоимостью, увеличенным сроком эксплуатации, высокой технологичностью, экологичностью.
Поставленная задача достигается тем, что двухсекционный фильтрующий элемент масляного фильтра содержит две секции, первая секция состоит из синтетической текстурированной нити, намотанной с переменным усилием на участок единой центральной трубы, ограниченный верхней торцевой и разделительной крышками так, что образует объемно-капиллярную фильтрующую штору, вторая секция состоит из синтетической текстурированной нити, намотанной с переменным усилием на участок единой центральной трубы, ограниченный нижней торцевой и разделительной крышками так, что образует объемно-капиллярную фильтрующую штору с более низкой тонкостью отсева и повышенным гидравлическим сопротивлением, чем у шторы первой секции.
Центральная труба может иметь наружные каналы.
Центральная труба может быть выполнена перфорированной.
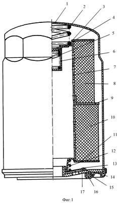
Изобретение поясняется чертежами, где на фиг.1 показан масляный фильтр (неразборный) с двухсекционным фильтрующим элементом;
на фиг.2 показан двухсекционный фильтрующий элемент в сборе, содержащий центральную трубу с каналами на наружной стороне, две торцевые крышки, разделительную крышку, фильтрующую штору первой секции, фильтрующую штору второй секции (общий вид, разрез);
на фиг.3 показан комбинированный фильтрующий элемент в сборе, содержащий центральную перфорированную трубу, две торцевые крышки, разделительную крышку, фильтрующую штору первой секции, фильтрующую штору второй секции (общий вид, разрез).
Фильтр очистки масла (фиг.1) содержит корпус 1, пружину витую установочную 2, верхнюю торцевую крышку 3 первой секции фильтроэлемента, перепускной клапан 4, пружину 5 перепускного клапана, корпус 6 перепускного клапана, перфорированную центральную трубу 7 фильтроэлемента, фильтрующую штору 8 первой секции, разделительную крышку 9 фильтроэлемента, фильтрующую штору 10 второй секции, нижнюю торцевую крышку 11 второй секции, витую пружину 12, пружину штампованную 13 противодренажного клапана, противодренажный клапан 14, усилительную пластину 15, резиновую прокладку 16, крышку 17 корпуса фильтра.
Элемент фильтрующий указанной конструкции в составе неразборного фильтра (фиг.1) работает следующим образом.
Масло от насоса двигателя через отверстия крышки 17, имеющей резиновую прокладку 16 для уплотнения соединения крышки с блоком двигателя, отжав противодренажный клапан 14, поступает в фильтр между внутренней стенкой корпуса 1 и наружной поверхностью двухсекционного фильтрующего элемента. При холодном двигателе (в момент пуска) масло, обладая высокой вязкостью, проходит частью через объемно-капиллярную фильтрующую штору в первой секции, частью через перепускной клапан 4 и далее в главную магистраль двигателя. В этом случае объемно-капиллярная фильтрующая штора 10 второй секции в работе не участвует, поскольку ее высокое гидравлическое сопротивление препятствует прохождению вязкого масла. В процессе работы происходит разогрев масла, вязкость его понижается на столько, что перепускной клапан 4 закрывается, большая часть масла проходит через фильтрующую штору 8 первой секции, оставшаяся же часть проходит через фильтрующую штору 10 второй секции, обеспечивающую более низкую по сравнению со шторой первой секции тонкость отсева и более высокую грязеемкость или способность задерживать внутри шторы отфильтрованные частицы, что исключает их повторное попадание в систему, а также увеличивает рабочий ресурс шторы первой секции и всего фильтра в целом.
Предлагаемый двухсекционный фильтрующий элемент масляного фильтра объединяет в себе две секции, имеющие фильтрующие шторы, изготовленные из одного материала, но с различными техническими характеристиками, что способствует значительному уменьшению тонкости отсева, повышению грязеемкости, увеличению срока эксплуатации масла и самого фильтра, снижению абразивного износа трущихся деталей, увеличению рабочего ресурса двигателя.
Предлагаемый фильтроэлемент дешев и технологичен в производстве, так как фильтрующие шторы изготавливаются из одного материала и на одном оборудовании.
Формула изобретения
1. Двухсекционный фильтрующий элемент масляного фильтра, характеризующийся тем, что он содержит две секции, первая секция состоит из синтетической текстурированной нити, намотанной с переменным усилием на участок единой центральной трубы, ограниченный верхней торцевой и разделительной крышками так, что образует объемно-капиллярную фильтрующую штору, вторая секция состоит из синтетической текстурированной нити, намотанной с переменным усилием на участок единой центральной трубы, ограниченный нижней торцевой и разделительной крышками так, что образует объемно-капиллярную фильтрующую штору с более низкой тонкостью отсева и повышенным гидравлическим сопротивлением, чем у шторы первой секции.
2. Двухсекционный фильтрующий элемент по п.1, отличающийся тем, что центральная труба имеет наружные каналы.
3. Двухсекционный фильтрующий элемент по п.1, отличающийся тем, что центральная труба выполнена перфорированной.
РИСУНКИ
PC4A – Регистрация договора об уступке патента СССР или патента Российской Федерации на изобретение
Прежний патентообладатель:
Морозов Евгений Владимирович
(73) Патентообладатель:
Пиликин Виталий Евгеньевич
(73) Патентообладатель:
Морозов Евгений Владимирович
(73) Патентообладатель:
Анимица Анатолий Антонович (UA)
Договор № РД0040431 зарегистрирован 04.09.2008
Извещение опубликовано: 20.10.2008 БИ: 29/2008
|
|