|
|
(21), (22) Заявка: 2005126592/03, 22.08.2005
(24) Дата начала отсчета срока действия патента:
22.08.2005
(46) Опубликовано: 27.02.2007
(56) Список документов, цитированных в отчете о поиске:
RU 36700 U1, 20.03.2004. SU 994678 A, 07.02.1983. RU 13057 U1, 20.03.2000. RU 34614 U1, 10.12.2003. RU 35649 U1, 27.01.2004. WO 0102694 A1, 11.01.2001.
Адрес для переписки:
454010, г.Челябинск, ул.Южный Бульвар, 2, кв.257, Н.Ф.Кисленко
|
(72) Автор(ы):
Кисленко Николай Федорович (RU)
(73) Патентообладатель(и):
Кисленко Николай Федорович (RU)
|
(54) УСТРОЙСТВО ДЛЯ КРЕПЛЕНИЯ КАБЕЛЯ К КОЛОННЕ НАСОСНО-КОМПРЕССОРНЫХ ТРУБ
(57) Реферат:
Изобретение относится к предохранительным устройствам кабельных линий питания электродвигателей погружных насосов при добыче нефти и других пластовых жидкостей. Обеспечивает упрощение конструкции устройства, повышение надежности закрепления устройства на колонне насосно-компрессорных труб, ликвидацию возможности провисания кабеля в зазоре между дном продольного паза корпуса и соединительной муфтой. Устройство содержит корпус с продольным пазом для укладки кабеля, верхнюю и нижнюю зажимные скобы, шарниры для крепления скоб на корпусе, выступы, выполненные на верхних и нижних цилиндрических частях корпуса. Между петлями шарниров предусмотрены зазоры, позволяющие продвигать скобы вдоль корпуса. В верхней и нижней зажимных скобах на сторонах, противоположных шарнирам, выполнено по одному фигурному окну. Каждое окно частично ограничено поверхностью, наклонной к контурным линиям скобы. Верхние кромки наклонных поверхностей контактируют с внутренними поверхностями выступов, выполненных на корпусе. В окнах зажимных скоб со стороны шарниров выполнено по одному контрящему язычку. Каждый из них примыкает к выступам на корпусе со стороны муфты, соединяющей трубы колонны. Контрящие язычки параллельны выступам. В перемычках, образованных между продольными торцами зажимных скоб, на сторонах, противоположных шарнирам, и продольными поверхностями, частично ограничивающими окна, со стороны муфты выполнено по одному пазу, примыкающему к поперечной поверхности, ограничивающей окно, с выпуклостью, обращенной наружу от зажимных скоб, и ширина которого превышает ширину упора на корпусе. 3 з.п. ф-лы, 4 ил.
Изобретение относится к предохранительным устройствам кабельных линий питания электродвигателей погружных насосов при добыче нефти и других пластовых жидкостей.
Известна полезная модель RU 12432, «Устройство для крепления кабеля к колонне труб».
Устройство содержит корпус с продольным пазом для укладки кабеля, верхнюю и нижнюю зажимные скобы, снабженные пружинными элементами и шарнирно соединенные соответственно с верхней и нижней частями корпуса. Верхняя и нижняя части корпуса имеют фиксирующие выступы, а в скобах выполнены соответствующие выступам фиксирующие пазы.
Недостатками известного устройства являются:
– сложность и значительная трудоемкость его монтажа на колонне труб и демонтажа;
– возможность провисания кабеля в зазоре между дном продольного паза корпуса и муфтой, соединяющей трубы, в случае выполнения толщины кабеля и наружного диаметра муфты в пределах минимальных допускаемых отклонений, а глубины продольного паза – в пределах максимальных допускаемых отклонений.
Известна полезная модель RU 36700, «Устройство для крепления кабеля к колонне труб», выбранная заявителем в качестве прототипа.
Известное устройство содержит цельный металлический корпус. В корпусе выполнен продольный паз, в котором между корпусом и муфтой, соединяющей трубы, размещают электрический кабель. К корпусу с помощью шарниров присоединены верхний и нижний эксцентрики с выполненными на них кулачками, конфигурация которых обеспечивает самоторможение кулачков после прижатия их к трубам колонны. К эксцентрикам также с помощью шарниров присоединены верхняя и нижняя зажимные скобы, в которых выполнены фиксирующие пазы, с помощью которых скобы фиксируются на выступах, выполненных на корпусе.
Выбранный заявителем прототип имеет следующие недостатки:
– сложность конструкции в части введения в нее эксцентриков, дополнительных шарниров для крепления эксцентриков;
– низкая надежность закрепления устройств на колонне насосно-компрессорных труб, так как в процессе эксплуатации из-за вибрации труб часть эксцентриков на устройствах может растормозиться, что приведет к нарушению функции устройств;
– возможность провисания кабеля в зазоре между дном продольного паза корпуса и муфтой, соединяющей трубы.
Техническим результатом предложенного изобретения является устранение недостатков прототипа, а именно:
– упрощение конструкции устройства;
– повышение надежности закрепления устройства на колонне насосно-компрессорных труб;
– ликвидация возможности провисания кабеля в зазоре между дном продольного паза корпуса и соединительной муфтой.
Технический результат достигается тем, что в устройстве для крепления кабеля к колонне насосно-компрессорных труб, содержащем корпус с продольным пазом для укладки кабеля, верхнюю и нижнюю зажимные скобы, шарниры для крепления скоб на корпусе, выступы, выполненные на верхних и нижних цилиндрических частях корпуса, согласно изобретению между петлями шарниров предусмотрены зазоры, позволяющие продвигать скобы вдоль корпуса, в верхней и нижней зажимных скобах на сторонах, противоположных шарнирам, выполнено по одному фигурному окну, каждое из которых частично ограничено поверхностью, наклонной к контурным линиям скобы, верхние кромки упомянутых наклонных поверхностей контактируют с внутренними поверхностями выступов, выполненных на корпусе, в окнах зажимных скоб со стороны шарниров выполнено по одному контрящему язычку, каждый из которых примыкает к выступам на корпусе со стороны муфты, соединяющей трубы колонны, при этом в исходном положении контрящие язычки параллельны выступам, в перемычках, образованных между продольными торцами зажимных скоб, на сторонах, противоположных шарнирам, и продольными поверхностями, частично ограничивающими окна, со стороны муфты выполнено по одному пазу, примыкающему к поперечной поверхности, ограничивающей окно, с выпуклостью, обращенной наружу от зажимных скоб, и ширина которого превышает ширину упора на корпусе.
Кроме того, технический результат достигается тем, что в устройстве для крепления кабеля к колонне насосно-компрессорных труб в периферийной части продольного паза корпуса в районах, расположенных у торцов соединительной муфты, соединяющей трубы, в отверстиях, выполненных в стенках корпуса, образующих продольный паз, установлены упругие элементы, имеющие начальный прогиб в сторону муфты.
Упругие элементы могут быть выполнены из пружинной проволоки, иметь U-образную конфигурацию и закреплены на корпусе с помощью отгиба стержней элементов.
Упругие элементы могут быть выполнены из легированной стальной полосы и закреплены на корпусе с помощью отгиба их концов.
Кромки наклонных поверхностей, выполненных в окнах зажимных скоб, при контакте их с внутренними поверхностями выступов, выполненных на корпусе, обеспечивают натяг скоб на трубах колонны при продвижении скоб с осями шарниров в сторону муфты.
Контрящие язычки обеспечивают фиксацию положения зажимных скоб относительно корпуса устройства и величину натяга скоб на трубах колонны путем отгиба язычков к корпусу, осуществляемого после выхода язычков за выступы на корпусе.
Выполнение в перемычках окон зажимных скоб пазов обеспечивает прохождение выступов, выполненных на корпусе, относительно перемычек при накидывании скоб на корпус.
Установка упругих элементов в продольном пазу корпуса обеспечивает постоянное поджатие кабеля к корпусу устройства и совместно с натянутыми на трубы колонны зажимными скобами, закрепленными язычками, надежное крепление устройства на насосно-компрессорных трубах колонны.
Сущность предложенного изобретения поясняется чертежами.
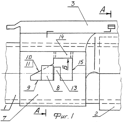
На фиг.1 изображен вид на одну из концевых частей устройства со стороны фигурного окна, выполненного в зажимной скобе.
На фиг.2 показано сечение А-А на фиг.1.
На фиг.3 изображен вид Б на фиг.1.
На фиг.4 изображен вид В на фиг.2.
На колонну насосно-компрессорных труб 1 с соединительной муфтой 2 установлен металлический корпус 3, изготовленный путем последовательных штамповочных операций. В корпусе 3 выполнен продольный паз 4, предназначенный для укладки в нем электрокабеля 5. К корпусу 3 с помощью шарниров 6 присоединены верхняя и нижняя зажимные скобы 7. Между петлями шарниров 6 предусмотрены зазоры, позволяющие продвигать скобы 7 вдоль корпуса 3. На верней и нижней частях корпуса 3, на сторонах, противоположных шарнирам 6, выполнено по одному выступу 8. В зажимных скобах 7, на сторонах, противоположных шарнирам 6, выполнено по одному фигурному окну 9, каждое из которых частично ограничено поверхностями 10, наклонными к контурным линиям скобы. Верхние кромки 11 поверхностей 10 контактируют с внутренними поверхностями 12 выступов 8 на корпусе 3. В окнах зажимных скоб 7 со сторон шарниров 6 выполнено по одному контрящему язычку 13, которые примыкают к выступам 8 корпуса 3 после сборки устройства. В исходном положении язычки 13 параллельны выступам 8. В перемычках 14, образованных между продольными торцами скоб на сторонах, противоположных шарниров 6 и продольными поверхностями 15, частично ограничивающими окна 9, со стороны муфты 2 выполнено по одному пазу 16, примыкающему к поперечным поверхностям, ограничивающим окна 9, при этом пазы 16 выполнены с выпуклостями, обращенными наружу от скоб 7. Ширина каждого из этих пазов превышает ширину выступов 8, выполненных на корпусе 3. В периферийной части продольного паза 4 корпуса 3 в районах, расположенных у торцов муфты 2 в отверстиях 17, выполненных в стенках корпуса 3, установлены и закреплены путем отгиба концов упругие элементы 18, имеющие начальный прогиб в сторону муфты 2 и поджимающие кабель 5 к муфте 2.
Установку устройства на колонну насосно-компрессорных труб выполняют в следующей последовательности.
В продольный паз 4 корпуса 3 укладывают электрокабель 5 и накладывают устройство на колонну насосно-компрессорных труб таким образом, чтобы муфта 2, соединяющая трубы колонны, оказалась расположенной между верхней и нижней частями корпуса 3. Накидывают зажимные скобы 7 на корпус 3 устройства таким образом, чтобы выступы 8 на корпусе 3 прошли через пазы 16, выполненные на скобах 7. Затем с помощью молотка или специального приспособления продвигают зажимные скобы 7 в сторону соединительных муфт 2. При этом за счет скольжения кромок 11 поверхностей 10 по поверхностям 12 и осей 19 в петлях корпуса 3 происходит натяг скоб 7 на трубах колонны 1 и поджатие кабеля 5 к муфте 2 упругими элементами 18.
После прохождения контрящих язычков 13 за габарит выступов 8 язычки отгибают до упора в корпус 3.
Этим достигается прочное и надежное закрепление устройств на колонне насосно-компрессорных труб и постоянное поджатие кабеля к трубам колонны.
Демонтаж устройства осуществляют следующим образом.
Отгибают контрящие язычки 13 на зажимных скобах 7, продвигают с помощью молотка или специального приспособления скобы 7 к концам корпуса 3 устройства, откидывают скобы 7 от корпуса и снимают устройство с колонны насосно-компрессорных труб.
Формула изобретения
1. Устройство для крепления кабеля к колонне насосно-компрессорных труб, содержащее корпус с продольным пазом для укладки кабеля, верхнюю и нижнюю зажимные скобы, шарниры для крепления скоб на корпусе, выступы, выполненные на верхних и нижних цилиндрических частях корпуса, отличающееся тем, что между петлями шарниров предусмотрены зазоры, позволяющие продвигать скобы вдоль корпуса, в верхней и нижней зажимных скобах на сторонах, противоположных шарнирам, выполнено по одному фигурному окну, каждое из которых частично ограничено поверхностью, наклонной к контурным линиям скобы, верхние кромки упомянутых наклонных поверхностей контактируют с внутренними поверхностями выступов, выполненных на корпусе, в окнах зажимных скоб со стороны шарниров выполнено по одному контрящему язычку, каждый из которых примыкает к выступам на корпусе со стороны муфты, соединяющей трубы колонны, при этом в исходном положении контрящие язычки параллельны выступам, в перемычках, образованных между продольными торцами зажимных скоб, на сторонах, противоположных шарнирам, и продольными поверхностями, частично ограничивающими окна, со стороны муфты выполнено по одному пазу, примыкающему к поперечной поверхности, ограничивающей окно, с выпуклостью, обращенной наружу от зажимных скоб, и ширина которого превышает ширину упора на корпусе.
2. Устройство для крепления кабеля к колонне насосно-компрессорных труб по п.1, отличающееся тем, что в периферийной части продольного паза корпуса в районах, расположенных у торцов соединительной муфты, соединяющей трубы, в отверстиях, выполненных в стенках корпуса, образующих продольный паз, установлены упругие элементы, имеющие начальный прогиб в сторону муфты.
3. Устройство для крепления кабеля к колонне насосно-компрессорных труб по п.2, отличающееся тем, что упругие элементы выполнены из пружинной проволоки, имеют U-образную конфигурацию и закреплены на корпусе с помощью отгиба стержней элементов.
4. Устройство для крепления кабеля к колонне насосно-компрессорных труб по п.3, отличающееся тем, что упругие элементы выполнены из легированной стальной полосы и закреплены на корпусе с помощью отгиба их концов.
РИСУНКИ
MM4A – Досрочное прекращение действия патента СССР или патента Российской Федерации на изобретение из-за неуплаты в установленный срок пошлины за поддержание патента в силе
Дата прекращения действия патента: 23.08.2007
Извещение опубликовано: 10.03.2009 БИ: 07/2009
NF4A – Восстановление действия патента СССР или патента Российской Федерации на изобретение
Дата, с которой действие патента восстановлено: 10.12.2009
Извещение опубликовано: 10.12.2009 БИ: 34/2009
|
|