|
|
(21), (22) Заявка: 2005115506/13, 23.05.2005
(24) Дата начала отсчета срока действия патента:
23.05.2005
(46) Опубликовано: 27.02.2007
(56) Список документов, цитированных в отчете о поиске:
SU 610865 А, 20.05.1978. SU 751834 А, 30.07.1980. RU 2184783 C1, 10.07.2002.
Адрес для переписки:
142452, Московская обл., Ногинский р-н, пос.Зеленый, до востребования, А.Д. Корнееву
|
(72) Автор(ы):
Корнеев Александр Дмитриевич (RU)
(73) Патентообладатель(и):
Корнеев Александр Дмитриевич (RU)
|
(54) СУЛЬФИТАТОР А.Д. КОРНЕЕВА
(57) Реферат:
Изобретение относится к сахарной промышленности. Сульфитатор включает емкость в виде циклона, снабженную в ее верхней части средством для отделения отработанного сернистого газа от сульфитированной жидкости, и устройство для смешивания сернистого газа с жидкостью. Оно содержит трубу с патрубком для подвода сернистого газа и диск с отверстиями, укрепленный перпендикулярно оси трубы в камере смешения. В отверстиях диска установлены параллельно расположенные насадки с соплами. В камере смешения дополнительно размещена решетка с зазором относительно торцев сопел, имеющая соосно расположенные с ними конусообразные отверстия, в которых установлены цилиндрические насадки с выходной частью в виде диффузоров с углом раскрытия 6-14°. Средство для отделения отработанного сернистого газа от сульфитированной жидкости содержит цилиндр с укрепленными внутри него дисковыми тарелками с отбортовкой, направленной вверх. Тарелки образуют проходные отверстия для газа со стенкой цилиндра, расположенные по разные стороны. Диск с насадками следует установить с возможностью возвратно-поступательного движения при помощи эксцентрика. Изобретение обеспечивает повышение коэффициента эжекции газа и интенсификацию процесса массообмена между жидкостью и газом. 1 з.п. ф-лы, 1 ил.
Изобретение относится к оборудованию сахарной промышленности.
Известен сульфитатор для сахарного производства, включающий емкость, выполненную в виде циклона и снабженную расположенным в ее верхней части средством для отделения отработанного сернистого газа от сульфитированной жидкости в виде цилиндра, расположенного по оси емкости и устройство для смешивания сернистого газа с жидкостью, содержащее трубу с патрубком для подвода сернистого газа и диск с отверстиями, укрепленный перпендикулярно оси трубы в камере смешения (SU 610865 A, 15.06.1978).
Недостаток известного сульфитатора заключается в недостаточно эффективном массообмене между струями сульфитируемой жидкости и подаваемым в камеру смешения сернистым газом, а также в процессе отделения сернистого газа от сульфитированной жидкости в цилиндре, жидкость, выходящая из отверстий диска в виде струй, не обеспечивает достаточно высокий коэффициент эжекции сернистого газа. Технический результат изобретения заключается в повышении коэффициента эжекции газа и эффективности массообмена. Этот результат достигается тем, что в предложенном сульфитаторе, включающем емкость, выполненную в виде циклона и снабженную средством для отделения отработанного сернистого газа от сульфитированной жидкости, и устройство для смешивания сернистого газа с жидкостью, содержащее трубу с патрубком для подвода сернистого газа и диск с отверстиями, укрепленный перпендикулярно оси трубы в камере смешения, в отверстиях диска установлены параллельно расположенные насадки с соплами, а в камере смешения дополнительно размещена решетка с зазором относительно торцев сопел, имеющая соосно расположенные с ними конусообразные отверстия, в которых установлены цилиндрические насадки с выходной частью в виде диффузоров с углом раскрытия 6-14°. Средство для отделения отработанного сернистого газа от сульфитированной жидкости содержит цилиндр с укрепленными внутри него дисковыми тарелками с отбортовкой, направленной вверх, причем тарелки образуют проходные отверстия для газа со стенкой цилиндра, расположенные по разные стороны. Диск с насадками целесообразно установить с возможностью возвратно-поступательного движения при помощи эксцентрика.
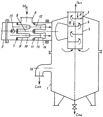
Изобретение поясняется чертежом, на котором схематично изображен продольный разрез сульфитатора.
Сульфитатор включает емкость 1, выполненную в виде циклона и снабженную расположенным в ее верхней части средством для отделения отработанного сернистого газа от сульфитированной жидкости, содержащим цилиндр 2, внутри которого укреплены дисковые тарелки 3 с отбортовкой, направленной вверх, образующие проходные отверстия 4 для газа со стенкой емкости, которые расположены по разные стороны от оси цилиндра. Сульфитатор снабжен устройством для смешивания сернистого газа с жидкостью, содержащим трубу 5 с патрубком 6 для подвода сернистого газа и диск 7 с отверстиями, укрепленный перпендикулярно оси трубы в камере 8 смешения. В отверстиях диска 7 установлены параллельно расположенные насадки 9 с соплами 10. В камере 8 дополнительно размещена решетка 11 с зазором относительно торцев сопел 10, имеющая соосно расположенные с ними конусообразные отверстия 12, в которых установлены цилиндрические насадки 13 с выходной частью в виде диффузоров 14 с углом раскрытия 6-14°.
Диск 7 с насадками 9 установлен с возможностью возвратно-поступательного движения при помощи эксцентрика 15. Емкость 1 снабжена патрубком 16 для отвода сульфитированной жидкости.
Сульфитатор работает следующим образом.
Сок или сироп с клеровкой подаются по трубе 5 и насадкам 9 с соплами 10 в камеру 8 смешения. Давление жидкости перед диском 7 поддерживается в пределах 0,2-0,3 МПа. Струи исходной жидкости вытекают из сопел с большой скоростью и поступают в соосно расположенные конусообразные отверстия 12, цилиндрические насадки 13 с диффузорами 14. При движении струй жидкости с высокой скоростью, создаваемой соплами 10, сернистый газ интенсивно эжектируется и смешивается с жидкостью при протоке через конусообразные отверстия 12 и насадки 13 с диффузорами 14. Диск 7 с насадками 9 может перемещаться при помощи эксцентрика 15. При его возвратно-поступательном движении регулируется процесс эжекции газа исходной жидкостью в камере 8 смешения.
При протоке жидкости через конусообразные отверстия 12 и цилиндрические насадки 13 с диффузорами 14 происходят увеличение контакта газа с жидкостью и эффективная сульфитация последней.
Из камеры 8 смешения газожидкостной поток подается тангенциально в емкость 1 и затем в цилиндр 2. В последнем при движении газожидкостного потока через отверстия 4 и тарелки 3 происходит выделение газа из жидкости. При этом переливающаяся через отбортовку тарелок жидкость контактирует дополнительно со струями газа, поднимающимися из нижней части цилиндра вверх к выходному отверстию.
Сульфитированная жидкость удаляется из емкости через патрубок 16. Конструкция предложенного сульфитатора обеспечивает эффективный массообмен в процессе сульфитации, его ускорение и в результате возможность повысить степень обесцвечивания сульфитируемых соков и сиропов с клеровками.
Формула изобретения
1. Сульфитатор для сахарного производства, включающий емкость, выполненную в виде циклона и снабженную расположенным в ее верхней части средством для отделения отработанного сернистого газа от сульфитированной жидкости, и устройство для смешивания сернистого газа с жидкостью, содержащее трубу с патрубком для подвода сернистого газа и диск с отверстиями, укрепленный перпендикулярно оси трубы в камере смешения, отличающийся тем, что в отверстиях диска установлены параллельно расположенные насадки с соплами, а в камере смешения дополнительно размещена решетка с зазором относительно торцов сопел, имеющая соосно расположенные с ними конусообразные отверстия, в которых установлены цилиндрические насадки с выходной частью в виде диффузоров с углом раскрытия 6-14°, при этом средство для отделения отработанного сернистого газа от сульфитированной жидкости содержит цилиндр с укрепленными внутри него дисковыми тарелками с отбортовкой, направленной вверх, причем тарелки образуют проходные отверстия для газа со стенкой цилиндра, расположенные по разные стороны.
2. Сульфитатор по п.1, отличающийся тем, что диск с насадками установлен с возможностью возвратно-поступательного движения при помощи эксцентрика.
РИСУНКИ
|
|