|
|
(21), (22) Заявка: 2005116773/11, 02.06.2005
(24) Дата начала отсчета срока действия патента:
02.06.2005
(46) Опубликовано: 27.02.2007
(56) Список документов, цитированных в отчете о поиске:
RU 2087398 С1, 20.08.1997. SU 1211183 А, 15.02.1986. US 4807662 А, 28.02.1989.
Адрес для переписки:
105005, Москва, ул. Ф. Энгельса, 32, стр.1, ОАО “ВНИПИнефть”, Техническому директору
|
(72) Автор(ы):
Лебедев Сергей Николаевич (RU), Аникин Игорь Павлович (RU), Зубкова Нина Дмитриевна (RU), Бадаева Елена Георгиевна (RU), Кулешов Леонид Сергеевич (RU), Полотнюк Лариса Николаевна (RU)
(73) Патентообладатель(и):
Открытое акционерное общество “Научно-исследовательский и проектный институт нефтеперерабатывающей и нефтехимической промышленности” (ОАО “ВНИПИнефть”) (RU)
|
(54) УСТРОЙСТВО ДЛЯ ИЗМЕНЕНИЯ НАПРАВЛЕНИЯ ТРАНСПОРТИРОВАНИЯ СЫПУЧИХ МАТЕРИАЛОВ
(57) Реферат:
Изобретение относится к устройствам для изменения направления транспортирования сыпучих материалов и предназначено для использования в нефтеперерабатывающей, химической и других отраслях промышленности. Устройство для изменения направления транспортирования сыпучих материалов содержит распределительное устройство, имеющее корпус с входным и выходными патрубками для транспортируемого сыпучего материала и воздухоподводящим патрубком. Согласно изобретению корпус распределительного устройства выполнен в виде воронкообразной камеры с крышкой, содержащей направляющий элемент для входного патрубка, на боковых стенках камеры расположены направляющие элементы для выходных патрубков и внизу центральный направляющий элемент для воздухоподводящего патрубка. Между направляющими элементами и патрубками расположены уплотнительные кольца. Распределительное устройство установлено на опорах внутри кожуха со съемной крышкой, который жестко закреплен на фундаменте. В местах соединения с входным и выходными патрубками снабжен компенсационными элементами. Изобретение обеспечивает увеличение срока эксплуатации устройства, улучшение прочностных характеристик и повышение устойчивости работы устройства в аварийных режимах. 3 з.п. ф-лы, 1 ил.
Изобретение относится к устройствам для изменения направления транспортирования сыпучих материалов и предназначено для использования в нефтеперерабатывающей, химической и других отраслях промышленности.
Известны устройства для изменения направления транспортирования сыпучих материалов, представляющие собой корпус с загрузочными и двумя или более разгрузочными патрубками, содержащие распределители потока сыпучего материала, которые различаются между собой конструкцией распределителя (А.С. СССР №362760, №703448, №981156).
Однако эти устройства представляют собой сложные конструкции и, кроме того, непригодны для использования в условиях транспортирования сыпучих материалов, нагретых до очень высоких температур, например, катализаторов нефтехимических процессов.
Известно устройство для изменения направления потока материала, которое содержит корпус с загрузочным и разгрузочными патрубками, в полости которых с наружной стороны установлены запорные герметичные камеры из эластичного материала, связанные воздуховодом с источником сжатого воздуха (А.С. СССР №1491785, В 65 G 53/56).
Эта конструкция устройства является более простой, менее материалоемкой, но не очень надежной, так как эластичный материал подвергается быстрому износу и не обеспечивает герметичности.
Наиболее близким по совокупности признаков к заявляемому техническому решению является устройство для изменения направления транспортирования сыпучих материалов, содержащее корпус с входным и двумя выходными патрубками для транспортируемого сыпучего материала, переключатель направления потока материала и установленные на стенках входного патрубка сопла для подачи сжатого воздуха (Патент РФ №2087398, Кл. В 65 G 53/56).
Однако это устройство так же, как и вышеописанные, вследствие жесткой конструкции не может быть использовано при работе с очень горячими материалами при ограниченных возможностях компенсации тепловых расширений трубопроводов, например, при ограниченных монтажных пространствах.
Задача, на решение которой направлено заявляемое техническое решение, – снижение температурных нагрузок на само устройство, подводящие и отводящие трубопроводы и другое оборудование при работе с очень горячими материалами. При этом достигается получение такого технического результата, как увеличение срока эксплуатации устройства, улучшение его ремонтопригодности, увеличение прочностных характеристик оборудования и повышение устойчивости работы устройства в аварийных режимах.
Для решения поставленной задачи предлагается устройство для изменения направления транспортирования сыпучих материалов, включающее распределительное устройство, содержащее корпус с входным и выходными патрубками для транспортируемого сыпучего материала и воздухоподводящим патрубком, в котором согласно изобретению корпус распределительного устройства выполнен в виде воронкообразной камеры с крышкой, содержащей направляющий элемент для входного патрубка, на боковых стенках камеры расположены направляющие элементы для выходных патрубков и внизу центральный направляющий элемент для воздухоподводящего патрубка, при этом между направляющими элементами и патрубками расположены уплотнительные кольца и распределительное устройство установлено на опорах внутри кожуха со съемной крышкой, который жестко закреплен на фундаменте, и в местах соединения с входным и выходными патрубками снабжен компенсационными элементами.
Причем распределительное устройство содержит по меньшей мере два выходных патрубка для транспортируемого сыпучего материала; компенсационные элементы могут быть установлены как с внутренней, так и с наружной стороны кожуха; крышка камеры имеет по меньшей мере одно сквозное отверстие.
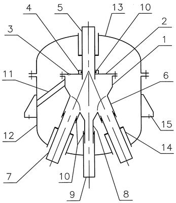
На чертеже схематически изображено предлагаемое устройство.
Устройство состоит из распределительного устройства, содержащего воронкообразную камеру 1 с крышкой 2, имеющей сквозное отверстие 3 и направляющий элемент 4 для входного патрубка 5, на боковых стенках камеры расположены направляющие элементы 6 для выходных патрубков 7 и внизу центральный направляющий элемент 8 для воздухоподводящего патрубка 9, между направляющими элементами и патрубками расположены уплотнительные кольца 10, распределительное устройство установлено на опорах 11 внутри кожуха 12 со съемной крышкой 13, кожух снабжен компенсационными элементами 14 и опорными элементами 15, с помощью которых он жестко закреплен на фундаменте. Компенсационные элементы 14 представляют собой линзовые компенсаторы, сальниковые или торцевые уплотнения. Элементы 15 могут быть выполнены в виде лап стоек, юбок или фланцев.
Входной и выходные патрубки соединяются соответственно с подводящим и отводящими трубопроводными линиями технологических установок, имеющими запорные устройства (вентили, задвижки, клапаны), которые обеспечивают перемещение сыпучего материала в соответствующий (один или несколько) выходной патрубок. Сыпучий материал поступает в тот выходной патрубок, который связан с трубопроводной линией, на которой запорное устройство находится в открытом состоянии.
Устройство работает следующим образом.
Горячий сыпучий материал, например, катализатор установки каталитического крекинга, нагретый до температуры 550°С, подается самотеком через входной патрубок 5 в камеру 1, из камеры 1 материал самотеком направляется в тот выходной патрубок 7, который связан с трубопроводной линией, на которой открыто запорное устройство, и далее по трубопроводной линии поступает к конечному потребителю. Через патрубок 9 при помощи сжатого воздуха осуществляется периодическое встряхивание материала в камере 1. Через этот же патрубок в случае технологической необходимости может быть осуществлен отбор проб.
При термическом расширении входной патрубок 5 и выходные патрубки 7 могут свободно перемещаться вдоль осей направляющих элементов 4 и 6 соответственно благодаря гибкой связи с кожухом 12 и крышкой 13 посредством компенсационных элементов 14, обеспечивающих в то же время герметичность внутренней полости кожуха 12. Центральный направляющий элемент 8 входит в воздухоподводящий патрубок 9 и также может перемещаться вдоль оси патрубка. Уплотнительные кольца 10, расположенные между направляющими элементами и патрубками, предотвращают заклинивание патрубков в направляющих элементах камеры из-за забивания зазоров сыпучим материалом.
Температурные расширения подводящего и отводящих трубопроводов компенсируются за счет линейных перемещений соответствующих патрубков, исключая тем самым возможность появления дополнительных напряжений в трубопроводах. При этом герметичность трубопроводных линий не нарушается, т.к. компенсационные элементы обеспечивают замкнутое пространство внутри кожуха без ограничения подвижности патрубков. Сквозное отверстие 3 в крышке распределительной камеры предназначено для выравнивания давления между камерой 1 и кожухом 12. Количество отверстий зависит от величины давления в аппарате, к которому подключено предлагаемое устройство. В том случае, если предлагаемое устройство подключено к аппаратам технологических установок, работающим без давления, крышка распределительной камеры может быть выполнена без сквозных отверстий.
Предлагаемая конструкция позволяет разделить элементы устройства на две части: элементы, работающие под давлением – кожух, крышка, компенсационные элементы; и элементы, работающие на износ в условиях высокотемпературной коррозии и эрозии – распределительная камера и патрубки. Такое разделение позволяет снизить температурную нагрузку на элементы, работающие под давлением, что, в свою очередь, увеличивает прочностные характеристики оборудования, повышает устойчивость работы в аварийных режимах, увеличивает срок эксплуатации устройства и улучшает его ремонтопригодность.
Формула изобретения
1. Устройство для изменения направления транспортирования сыпучих материалов, включающее распределительное устройство, содержащее корпус с входным и выходными патрубками для транспортируемого сыпучего материала и воздухоподводящим патрубком, отличающееся тем, что корпус распределительного устройства выполнен в виде воронкообразной камеры с крышкой, содержащей направляющий элемент для входного патрубка, на боковых стенках камеры расположены направляющие элементы для выходных патрубков и внизу – центральный направляющий элемент для воздухоподводящего патрубка, при этом между направляющими элементами и патрубками расположены уплотнительные кольца и распределительное устройство установлено на опорах внутри кожуха со съемной крышкой, который жестко закреплен на фундаменте и в местах соединения с входным и выходными патрубками снабжен компенсационными элементами.
2. Устройство по п.1, отличающееся тем, что оно содержит по меньшей мере два выходных патрубка для транспортируемого сыпучего материала.
3. Устройство по п.1, отличающееся тем, что компенсационные элементы расположены с внутренней или с наружной стороны кожуха.
4. Устройство по п.1, отличающееся тем, что крышка камеры имеет по меньшей мере одно сквозное отверстие.
РИСУНКИ
|
|