|
|
(21), (22) Заявка: 2005128892/11, 15.09.2005
(24) Дата начала отсчета срока действия патента:
15.09.2005
(46) Опубликовано: 27.02.2007
(56) Список документов, цитированных в отчете о поиске:
Система заполнения баков-отсеков водой на глиссировании самолета-амфибии Бе 200ЧС. Руководство по технической эксплуатации, раздел 152 “Системы специального пожарного оборудования”. BY-A-10-20-00R-040A-А.152.10.20, март 15/2005, с.1-4. RU 2174934 C1, 20.10.2001. US 3423053 А, 21.01.1969.
Адрес для переписки:
347923, Ростовская обл., г. Таганрог, пл. Авиаторов, 1, ОАО ТАНТК им. Г.М. Бериева, Патентный отдел
|
(72) Автор(ы):
Демченко Леонид Тимофеевич (RU)
(73) Патентообладатель(и):
Открытое акционерное общество Таганрогский авиационный научно-технический комплекс им. Г.М. Бериева (RU)
|
(54) СИСТЕМА ЗАПОЛНЕНИЯ БАКОВ-ОТСЕКОВ ВОДОЙ САМОЛЕТА-АМФИБИИ НА ГЛИССИРОВАНИИ
(57) Реферат:
Изобретение относится к авиационной технике и может быть применено в системах заполнения баков-отсеков водой на противопожарных самолетах-амфибиях при глиссировании по воде. Система заполнения баков-отсеков водой самолета-амфибии на режиме глиссирования имеет водозаборное устройство, водовод со входным патрубком и трубопроводы забора воды. Водозаборное устройство установлено за реданом параллельно нижней кромке последнего. Водозаборник выполнен в виде ковша с осью вращения с механизмом перемещения водозаборника, имеющим размещенный в гермоотсеке гидроцилиндр и фиксирующим ковш в двух крайних положениях. Ковшом управляют с помощью рычага качалки промежуточной оси, размещенной в корпусе водозаборного устройства. Имеется второй рычаг, жестко закрепленный на указанной оси и шарнирно связанный тягой с боковиной ковша. Водозаборное устройство снабжено заслонкой, размещенной в его корпусе и перекрывающей входной патрубок водовода при убранном ковше водозаборника, рычагом, жестко связанным с осью вращения заслонки, установленной параллельно промежуточной оси и в зоне гермоотсека в корпусе водозаборного устройства, механизмом преобразования непрерывного движения в движение с периодическим остановом, включающим в себя ведомую вилку и жестко закрепленный на промежуточной оси ведущий круговой сектор, ограниченный цилиндрической поверхностью и имеющий на краю выступающий палец, контактирующий с пазом ведомой вилки, жестко закрепленной на оси с рычагом, связанным с рычагом оси поворота заслонки посредством тяги. Технический результат заключается в повышении эксплуатационной надежности и снижении веса конструкции системы заполнения баков-отсеков водой. 6 ил.
Предлагаемое изобретение относится к авиационной технике и может быть применено в системе заполнения баков-отсеков водой на противопожарных самолетах-амфибиях при глиссировании по водной поверхности.
Известна конструкция системы заполнения баков-отсеков водой на гидросамолете по патенту US №3423053, МКИ B 64 D 1/16, НКИ 244-136, 1969 г.
Она содержит водозаборник и водовод, размещенные внутри бака, водозаборное отверстие, перекрываемое створкой с запором, размещенное в теневой за реданом зоне, механизм опускания водозаборника и механизм отпирания створки.
Недостатком такого водозаборного устройства системы является сложность конструкции и недостаточная надежность при скоростных наборах воды в больших объемах на глиссировании.
Известно водозагрузочное устройство системы заполнения баков-отсеков водой противопожарного самолета по патенту RU 2174934, МПК B 64 D 1/16, содержащее размещенный в теневой зоне за реданом параллельно нижней кромке последнего водозаборник, выполненный в виде ковша с осью вращения, образованным цилиндрической поверхностью и двумя секторными боковинами, и механизм перемещения водозаборника, фиксирующий его в двух крайних положениях и включающий размещенный в гермоотсеке гидроцилиндр, соединенный срезным элементом через рычаг качалки с промежуточной осью, размещенной в корпусе водозаборного устройства, второй рычаг, жестко закрепленный на указанной оси, шарнирно связанный с тягой, которая шарнирно соединена с секторной боковиной ковша, ось вращения ковша жестко установлена параллельно нижней кромке редана.
Недостатком такой системы является необходимость установки системы, состоящей из труб, выходящих через пол лодки на определенную высоту из-за негерметичности системы при убранном ковше водозаборника.
Наиболее близким решением к заявляемому является конструкция системы заполнения баков-отсеков водой на самолете-амфибии Бе-200ЧС (Руководство по технической эксплуатации, раздел 152 “Системы специального пожарного оборудования” BY-A-152-10-20-00R-040A-A. 152.10.20, стр.1, 2, 3, 4 март 15/2005 г. – копия прототипа прилагается) при глиссировании на водоеме с помощью водозаборных устройств и трубопроводов забора воды, трубопроводов, проходящих через пол лодки на определенную высоту в виде “колена” и далее в баки. Выход “колен” трубопроводов в грузоотсек вызван тем, что линия пола, при статическом нахождении самолета-амфибии на плаву, без необходимости набора воды в баки-отсеки, находится ниже ватерлинии, и поэтому вода через заборное устройство без этих “колен” заполняет баки. А в связи с тем, что набор воды на глиссировании происходит при значительных скоростях ( 150-170 км/ч), то расход воды через трубопроводную систему равен 0,5 м3 в секунду и в случае разрушения “колена”, а нагрузка на него приходится довольно значительная, в грузовой отсек самолета-амфибии хлынет поток воды, который может его быстро заполнить.
Задачей предлагаемого изобретения является повышение эксплуатационной надежности и снижение веса конструкции системы заполнения баков-отсеков водой за счет снятия трубопроводной системы с “коленами”, выходящими в грузоотсек и установки заслонки, перекрывающей вход во входной патрубок водовода загрузочного устройства и управляемой совместно с ковшом водозаборника от одного гидроцилиндра.
Технический результат достигается тем, что в системе заполнения баков-отсеков водой самолета-амфибии на глиссировании, имеющей водозаборное устройство, трубопроводы забора воды, трубопроводы, проходящие через пол лодки и далее в баки, причем водозаборное устройство установлено за реданом параллельно нижней кромке последнего, и водозаборник выполнен в виде ковша с осью вращения и механизм перемещения водозаборника, фиксирующего его в двух крайних положениях и включающий размещенный в гермоотсеке гидроцилиндр через рычаг качалки промежуточной оси, размещенной в корпусе водозаборного устройства, второй рычаг жестко закрепленный и находящийся внутри корпуса водозаборника на указанной оси шарнирно связан тягой с боковиной ковша, в корпусе водозаборного устройства размещена заслонка, перекрывающая входной патрубок водовода при убранном ковше водозаборника, которая шарнирно связана с рычагом, связанным жестко с осью вращения заслонки параллельно промежуточной оси, установленной в корпусе водозаборного устройства, и в зоне гермоотсека, связанной с ней механической связью преобразования непрерывного вращательного движения в движение с периодическим остановом (“мальтийский механизм” см. книгу Т.А.Гевондяна и Л.Т.Киселева “Детали механизмов точной механики”. Государственное издательство оборонной промышленности, М., 1953, с.140-141, фиг.112, 113), включающий в себя жестко закрепленный на промежуточной оси ведущий сектор, представляющий собой круговой сектор, ограниченный цилиндрической поверхностью и на краю имеющий выступающий палец (цевку), контактирующий с пазом ведомой вилки, жестко сидящей на оси с рычагом, связанным тягой с рычагом оси поворота заслонки.
Сопоставительный анализ предлагаемого изобретения с выявленными аналогами подтверждает, что предложенная система заполнения баков-отсеков водой самолета-амфибии на глиссировании является новой. Вся совокупность признаков изобретения не следует для специалистов явным образом из известного уровня техники, поэтому заявленная система отвечает критерию изобретательского уровня. Изобретение промышленно применимо, поскольку позволяет достигнуть технического результата.
Предлагаемое изобретение поясняется чертежами, где:
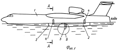
на фиг.1 представлен общий вид самолета-амфибии на плаву;
на фиг.2 – сечение А-А – разрез самолета-амфибии по бакам-отсекам;
на фиг.3 – узел Б – вид на связь гидроцилиндра с промежуточной осью и ковшом;
на фиг.4 – вид на размещение заслонки и ковша в убранном положении;
на фиг.5 – вид на размещение механизма преобразования непрерывного вращательного движения в движение с периодическим остановом;
на фиг.6 – сечение Б-Б – разрез по связи ведущего сектора и ведомой вилки.
“Руководство по технической эксплуатации” – копия прототипа прилагается.
Система установлена на самолете-амфибии 1, имеющем баки-отсеки 2, которые наполняются водой на глиссировании через водозаборное устройство 3 и трубопроводы 4.
В корпусе 5 водозаборного устройства 3 размещен входной патрубок 6, соединенный через трубопровод забора воды 7 с баками-отсеками 2.
В нише в теневой зоне за реданом 8 установлен ковш 9, установленный на оси вращения 10, управляемый механизмом перемещения (гидроцилиндром) 11 через рычаг качалки 12, жесткозакрепленный на конце промежуточной оси 13, выходящем в гермоотсек, а внутри корпуса водозаборного устройства 3 на промежуточной оси 13 установлен жестко рычаг 14, шарнирно соединенный тягой 15 с боковиной ковша 9. В корпусе 5 водозаборного устройства 3 установлена заслонка 16, шарнирно закрепленная на рычаге 17, который жестко закреплен на оси вращения заслонки 18, конец которой выходит в гермоотсек, на котором установлен жестко рычаг 19, связанный через тягу 20 с рычагом 21, жестко сидящем на оси 22 ведомой вилки 23, которая контактирует с пальцем 24 ведущего кругового сектора 25, жестко закрепленного на конце промежуточной оси 13, вынесенном в гермоотсек.
Работа системы происходит следующим образом.
При нахождении самолета-амфибии 1 на плаву в статическом положении заслонка 16 перекрывает входной патрубок 6, препятствуя несанкционированному попаданию воды через трубопроводы забора воды 7 в баки-отсеки 2. Столб воды, образованный между плоскостью закрытия заслонки и поверхностью воды водоема дополнительно создает усилие герметизации стыка заслонки 16 с входным патрубком 6.
При глиссировании самолета-амфибии 1 при наборе воды выдается команда на гидроцидиндр 11 для выпуска ковша 9, который через рычаг качалки 12 начинает вращение промежуточной оси 13, которая начинает поворачивать через рычаг 14 и тягу 15 ковш 9 вокруг оси 10, одновременно с этим вращая ведущий круговой сектор 25 с пальцем (цевкой) 24, который, упираясь в паз ведомой вилки 23, начинает ее поворачивать вокруг оси 22. А так как радиус вращения пальца 24 больше радиуса его контакта с ведомой вилкой 23 относительно оси вращения ведомой вилки 22, то ее вращение происходит значительно быстрее и, следовательно, через рычаг оси ведомой вилки 21, тягу 20, рычаг поворота оси заслонки 19 поворачивает на оси заслонки 18 рычаг 17 с заслонкой 16, отводит ее в нишу быстрее, чем контактирует входная кромка ковша 9 с поверхностью воды, и затем остается в статическом положении, в то время, когда происходит опускание ковша в толщу воды, и струя воды, выходящая из ковша 9 водозаборника, не контактирует с заслонкой 16.
Для прекращения набора воды подается команда на уборку ковша 9 и в процессе его вывода из воды заслонка 18 остается в статическом положении в нише и только после вывода ковша из контакта с водой происходит совместное движение ковша 9 и заслонки 16 до одновременного занятия ковшом и заслонкой своих первоначальных положений.
Таким образом, повышается эксплуатационная надежность и снижается вес конструкции системы заполнения баков-отсеков водой за счет снятия трубопроводной системы с “коленами”, выходящими в грузоотсек и установки заслонки, перекрывающей вход во входной патрубок водовода загрузочного устройства и управляемой совместно с ковшом водозаборника от одного гидроцилиндра, а следовательно, повышается безопасность в работе водозаборного устройства самолета-амфибии на глиссировании и уменьшается время заполнения баков.
Формула изобретения
Система заполнения баков-отсеков водой самолета-амфибии на глиссировании, содержащая водозаборное устройство, водовод со входным патрубком, трубопроводы забора воды, причем водозаборное устройство установлено за реданом параллельно нижней кромке последнего, а водозаборник выполнен в виде ковша с осью вращения, и механизм перемещения водозаборника, включающий размещенный в гермоотсеке гидроцилиндр и фиксирующий водозаборник в его двух крайних положениях через рычаг качалки промежуточной оси, размещенной в корпусе водозаборного устройства, второй рычаг, жестко закрепленный на указанной оси, шарнирно связан тягой с боковиной ковша, отличающаяся тем, что водозаборное устройство снабжено заслонкой, размещенной в его корпусе и перекрывающей входной патрубок водовода при убранном ковше водозаборника, рычагом, на котором шарнирно установлена заслонка, жестко связанным с осью вращения заслонки, установленной параллельно промежуточной оси, механизмом преобразования непрерывного вращательного движения в движение с периодическим остановом, установленным в зоне гермоотсека на корпусе водозаборного устройства и включающим в себя ведомую вилку и жестко закрепленный на промежуточной оси ведущий круговой сектор, ограниченный цилиндрической поверхностью и имеющий на краю выступающий палец, контактирующий с пазом ведомой вилки, жестко закрепленной на оси с введенным в систему рычагом, связанным с рычагом оси поворота заслонки посредством тяги.
РИСУНКИ
|
|