|
|
(21), (22) Заявка: 2005118009/02, 14.06.2005
(24) Дата начала отсчета срока действия патента:
14.06.2005
(46) Опубликовано: 27.02.2007
(56) Список документов, цитированных в отчете о поиске:
SU 417318 A1, 26.07.1974. SU 166219 A1, 18.02.1965. RU 2136500 C1, 10.09.1999. JP 63299893 A1, 07.12.1988. US 4698991 A1, 13.10.1987.
Адрес для переписки:
109428, Москва, Рязанский пр-т, 8а, АХК “ВНИИМЕТМАШ”, ЗАО “Прочность”, пат.пов. Е.Н.Чудной, рег. № 250
|
(72) Автор(ы):
Корнилов Владимир Владимирович (RU), Мухин Олег Сергеевич (RU)
(73) Патентообладатель(и):
Закрытое акционерное общество “Прочность” (RU)
|
(54) ГИДРАВЛИЧЕСКАЯ СИСТЕМА УПРАВЛЕНИЯ МНОГОПОЗИЦИОННЫМ ПРЕССОМ ДЛЯ ПРЕССОВАНИЯ ПОРОШКОВЫХ МАТЕРИАЛОВ
(57) Реферат:
Изобретение относится к области машиностроения, в частности к гидравлическим системам управления многопозиционными прессами, и может быть использовано в гидравлических многопозиционных прессах для прессования керамических или металлических порошковых материалов. Гидравлическая система содержит исполнительные гидроцилиндры с управляющей гидроаппаратурой, гидрораспределители, соединенные с программным устройством, и гидростанцию. Гидрораспределители установлены на верхней плите станины пресса. Управляющая гидроаппаратура каждого исполнительного гидроцилиндра размещена в блоке, выполненном в виде крышки его бесштоковой полости, и связана с соответствующим гидрораспределителем. Система снабжена кольцевым коллектором, установленным на верхней плите станины пресса и соединенным гидравлически с одной стороны с гидрораспределителями, а с другой стороны – с гидростанцией. Гидрораспределители установлены радиально на равных расстояниях от оси вращения центрального вала пресса с равным угловым шагом. Программное устройство установлено на верхнем конце центрального вала пресса и выполнено в виде цилиндра. На наружной поверхности упомянутого цилиндра с возможностью регулирования закреплены накладки. Кольцевой коллектор выполнен из согнутых в кольцо труб, размещенных одна над другой соосно с центральным валом. Количество труб определяется числом ступеней давления жидкости в гидравлической системе. В результате обеспечивается упрощение конструкции и повышение надежности системы, а так же упрощение ее отладки и регулировки. 3 з.п. ф-лы, 2 ил.
Изобретение относится к области машиностроения, в частности к гидравлическим системам управления многопозиционными прессами, и может быть использовано в гидравлических многопозиционных прессах для прессования керамических или металлических порошковых материалов.
Известно распределительное устройство гидравлической системы, предназначенное для распределения потоков рабочей жидкости, поступающих к исполнительным гидроцилиндрам многопозиционного пресса в соответствии со схемой его работы (SU 1750964, МПК В 30 В 15/16, 30.07.1992). Данное распределительное устройство содержит плоский золотник, состоящий из неподвижных верхнего и нижнего коммутативных дисков, между которыми расположены распределительный диск, приводимый во вращение индивидуальным приводом, и неподвижный диск-накладка. Недостатками этого устройства являются, во-первых, большие размеры, так как диаметр золотника резко возрастает с увеличением числа исполнительных гидроцилиндров, обслуживаемых указанным распределительным устройством, число которых соответствует числу рабочих позиций пресса, во-вторых, устройство имеет недостаточную надежность, которая обусловлена трудностями герметизации стыков подвижного распределительного диска и неподвижных коммуникационных дисков при высоком (до 32 МПа) давлении. Наличие диска-накладки, осуществляющей упругий поджим всего пакета дисков, не обеспечивает необходимой герметизации стыков.
Известна гидравлическая система управления прессом (гидравлический командоаппарат), предназначенная для автоматического управления работой группы гидроцилиндров пресса в заданной последовательности (SU 417318, МПК В 30 В 15/16, 28.11.1974). Устройство содержит корпус со встроенными в него распределительными золотниками, кулачковый вал, приводимый в прерывистое вращение посредством гидроцилиндра управления через передаточный рычажный механизм и храповой механизм. Данное устройство имеет следующие недостатки:
– сложность конструкции, обусловленная тем, что прерывистое вращение кулачкового вала реализуется посредством гидроцилиндра управления, обслуживаемого специальной системой управления, через передаточный механизм;
– невысокая надежность, которая определена большим числом подвижных соединений и наличием храпового механизма;
– затрудненность отладки цикла работы пресса, требующей изменения угла установки кулачков на кулачковом валу;
– невозможность изменения параметров цикла работы пресса без демонтажа кулачкового вала и установки на нем кулачков, изготовленных в соответствии с новыми параметрами цикла работы пресса. Два последних недостатка данной гидравлической системы усложняют ее обслуживание.
Известен гидравлический листоштамповочный пресс с номинальной силой 4 МН Днепропетровского завода прессов (см. Н.С.Добринский. Гидравлический привод прессов. М.: Машиностроение, 1975). Гидравлическая система указанного пресса имеет шесть однополостных гидроцилиндров, установленных в верхней части станины, причем каждый гидроцилиндр соединен отдельным трубопроводом с гидростанцией. Недостатком данной конструкции является наличие большого количества трубопроводов, связывающих гидроцилиндры с гидростанцией. Такое выполнение и размещение гидравлической системы особенно сложно использовать в многопозиционных прессах, имеющих значительное число (8-10) двухполостных гидроцилиндров, расположенных по окружности в верхней части пресса и такое же число двухполостных гидроцилиндров, установленных в нижней части.
Ближайшим аналогом настоящего изобретения является гидравлическая система управления многопозиционным прессом, описанная в указанном выше авторском свидетельстве SU 417318.
Технической задачей настоящего изобретения является упрощение конструкции гидравлической системы управления многопозиционным прессом, повышение надежности, упрощение отладки и регулировки указанной системы.
Поставленная задача решается гидравлической системой управления многопозиционным прессом, содержащей исполнительные гидроцилиндры с управляющей гидроаппаратурой, гидрораспределители, соединенные с программным устройством, и гидростанцию, в которой согласно изобретению гидрораспределители установлены на верхней плите станины пресса, а управляющая гидроаппаратура каждого исполнительного гидроцилиндра размещена в блоке, выполненном в виде крышки его бесштоковой полости, выполненной в виде блока, и связана с соответствующим гидрораспределителем, при этом гидравлическая система снабжена кольцевым коллектором, установленным на верхней плите станины пресса и соединенным гидравлически с одной стороны с гидрораспеределителями, а с другой стороны – с гидростанцией.
Наиболее предпочтительной является такая компоновка системы, при которой гидрораспределители установлены радиально на равных расстояниях от оси вращения центрального вала пресса с равным угловым шагом.
Программное устройство гидравлической системы установлено на верхнем конце центрального вала пресса и выполнено в виде цилиндра, на наружной поверхности которого с возможностью регулирования закреплены накладки, имеющие конфигурацию, соответствующую заданному циклу их воздействия на гидрораспределители.
Кольцевой коллектор может быть выполнен из согнутых в кольцо труб, размещенных одна над другой соосно с центральным валом пресса, причем количество труб определяется числом ступеней давления жидкости в гидравлической системе.
Гидравлическая система, выполненная согласно настоящему изобретению за счет расположения исполнительных гидроцилиндров на верхней и нижней плитах станины пресса и наличия кольцевого коллектора, соединяющего указанные гидроцилиндры с гидростанцией, имеет простую и надежную конструкцию, которая обеспечивает простоту обслуживания, отладки и регулировки системы, в том числе возможность изменения в определенных пределах параметров цикла работы пресса без демонтажа кулачкового вала. Кроме того, в системе сокращено количество трубопроводов, соединяющих ее элементы. Как было указано выше, заявителю известен пресс с расположением исполнительных однополостных гидроцилиндров в верхней части станины. В отличие от известного пресса в рассматриваемом в изобретении многопозиционном прессе для прессования порошкообразных материалов, двухполостные гидроцилиндры размещены как в верхней, так и в нижней частях пресса, причем их общее количество составляет 16-20 штук. Использование в таких прессах известной компоновки исполнительных гидроцилиндров без наличия кольцевого коллектора невозможно или крайне затруднительно из-за наличия множества трубопроводов, соединяющих каждый гидроцилиндр с гидростанцией. Большое количество трубопроводов, а значит, и большое количество их соединений не только отрицательно влияет на герметичность гидравлической системы, а следовательно, и на ее надежность, но и затрудняет ее обслуживание и наладку. Выполнение кольцевого коллектора из труб и размещение его соосно центральному валу пресса позволяет использовать гидравлическую систему, выполненную согласно настоящему изобретению, в прессах с большим числом рабочих позиций, так как при увеличении числа рабочих позиций пресса и соответственно числа исполнительных гидроцилиндров, связанных с коллектором, габаритные размеры коллектора изменяются незначительно. Помимо этого, применение коллекторов, выполненных согласно изобретению, существенно увеличивает теплоотдающую поверхность, что способствует понижению температуры рабочей жидкости.
Сущность изобретения раскрывается в примере его конкретной реализации со ссылкой на прилагаемые чертежи, на которых схематически показано следующее:
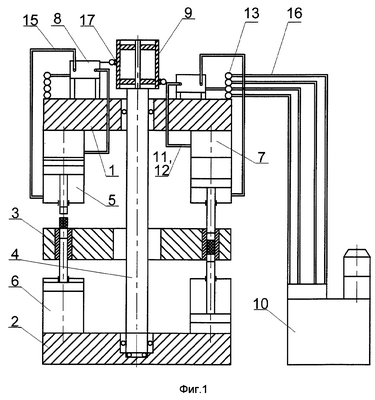
Фиг.1 – многопозиционный пресс с гидравлической системой управления, выполненной согласно настоящему изобретению, общий вид.
Фиг.2 – то же, вид сверху.
Гидравлическая система установлена в многопозиционном прессе для прессования порошковых материалов, который включает круговую станину, содержащую верхнюю плиту 1 и нижнюю плиту 2, на которой размещены пресс-формы 3, и центральный вал 4. Гидравлическая система содержит исполнительные (прессующие и выталкивающие) гидроцилиндры 5, 6, блок 7 с управляющей гидроаппаратурой, выполненные в виде крышек бесштоковых полостей гидроцилиндров, гидрораспределители 8, программное устройство 9 и гидростанцию 10. Гидрораспределители 8 установлены на верхней плите 1 станины пресса, а управляющая гидроаппаратура каждого исполнительного гидроцилиндра 5 размещена в блоке 7 и связана посредством трубопроводов 11, 12 с выходными линиями соответствующего гидрораспределителя 8. Гидравлическая система снабжена кольцевым коллектором 13, установленным на верхней плите 1 станины пресса и соединенным с одной стороны посредством каналов 14, 15 с входными линиями гидрораспеределителей 8, а с другой стороны – посредством каналов 16 с гидростанцией 10.
Гидрораспределители 8 установлены на равных расстояниях от оси вращения центрального вала 4 с равным угловым шагом S, то есть радиально и симметрично. Программное устройство 9 размещено на верхнем конце центрального вала 4 и выполнено в виде цилиндра, на наружной поверхности которого с возможностью регулирования по длине закреплены накладки 17, имеющие конфигурацию, соответствующую заданному циклу воздействия на гидрораспределители 8.
Кольцевой коллектор 13 выполнен из труб 18, количество которых определяется числом ступеней давления в гидравлической системе. Трубы 18 размещены одна над другой соосно с центральным валом 4.
Гидравлическая система работает следующим образом.
Рабочая жидкость низкого, среднего и высокого давления от гидростанции 10 по трубопроводам 16 подается в трубы 18 коллектора 13, из которых она по трубопроводам 14 поступает в гидрораспределители 8. В результате механического взаимодействия гидрораспределителей 8 с накладками 17 программного устройства 9 рабочая жидкость по каналам 12 поступает через крышки 11 и управляющую гидроаппаратуру 7 в исполнительные гидроцилиндры 5, 6, происходит формование изделий в пресс-формах 3 и их удаление из пресс-форм. Центральный вал 4 вращает цилиндр программного устройства 9, а установленные на нем регулируемые по длине накладки 17, обеспечивают цикл прессования и возможность его коррекции.
Количество пресс-форм, установленных в станине обеспечивает требуемую производительность пресса, при этом наличие коллектора и его размещение вместе с гидрораспределителями на верхней плите станины пресса позволяет резко сократить количество трубопроводов, соединяющих гидрораспределители с гидростанцией, а также сократить потери давления в гидролиниях, соединяющих исполнительные гидроцилиндры с насосами гидростанции и улучшить отвод тепла от гидравлической системы.
Формула изобретения
1. Гидравлическая система управления многопозиционным прессом для прессования порошковых материалов, включающим центральный вал, содержащая исполнительные гидроцилиндры с управляющей гидроаппаратурой, гидрораспределители, соединенные с программным устройством, и гидростанцию, отличающаяся тем, что гидрораспределители установлены на верхней плите станины многопозиционного пресса, а управляющая гидроаппаратура каждого исполнительного гидроцилиндра размещена в блоке, выполненном в виде крышки бесштоковой полости исполнительного гидроцилиндра, и связана с соответствующим гидрораспределителем, при этом гидравлическая система снабжена кольцевым коллектором, установленным на верхней плите станины пресса и соединенным гидравлически с одной стороны с гидрораспределителями, а с другой стороны – с гидростанцией.
2. Гидравлическая система по п.1, отличающаяся тем, что гидрораспределители установлены радиально на равных расстояниях от оси вращения центрального вала пресса с равным угловым шагом.
3. Гидравлическая система по п.1, отличающаяся тем, что программное устройство установлено на верхнем конце центрального вала пресса и выполнено в виде цилиндра, на наружной поверхности которого с возможностью регулирования закреплены накладки, имеющие конфигурацию, соответствующую заданному циклу их воздействия на гидрораспределители.
4. Гидравлическая система по п.1, отличающаяся тем, что кольцевой коллектор выполнен из согнутых в кольцо труб, размещенных одна над другой соосно с центральным валом, причем количество труб определено числом ступеней давления жидкости в гидравлической системе.
РИСУНКИ
|
|