|
|
(21), (22) Заявка: 2005128216/02, 09.09.2005
(24) Дата начала отсчета срока действия патента:
09.09.2005
(46) Опубликовано: 27.02.2007
(56) Список документов, цитированных в отчете о поиске:
RU 2186511 С2, 10.08.2002. SU 1252049 A1, 23.08.1986. RU 2013071 C1, 30.05.1994. GB 846619 A1, 31.08.1960. JP 9234593 A1, 09.09.1997.
Адрес для переписки:
460018, г.Оренбург, пр-т Победы, 13, ГОУ ОГУ, патентный отдел
|
(72) Автор(ы):
Коротков Владислав Георгиевич (RU), Сагитов Рамиль Фаргатович (RU), Нгуен Хоанг Линь (RU)
(73) Патентообладатель(и):
Государственное образовательное учреждение высшего профессионального образования “Оренбургский государственный университет” (RU)
|
(54) ПРЕСС-ЭКСТРУДЕР
(57) Реферат:
Изобретение относится к области переработки зернового сырья и может использоваться предприятиями пищевой промышленности. Пресс-экструдер содержит корпус, установленный в нем шнек, выполненный заодно с наконечником, и матрицу. Пресс снабжен втулкой, на которой снята фаска, и формующей шайбой, которые вставлены в матрицу. Наконечник выполнен в виде цилиндра и образует с втулкой зазор. Величину и ширину упомянутого зазора изменяют путем замены одной втулки на другую. В результате обеспечивается исключение пережога и полная гомогенизация получаемого продукта путем использования эффекта сложного сдвига в матрице. 2 ил.
Изобретение относится к области переработки зернового сырья и может использоваться предприятиями пищевой промышленности.
Известен экструдер [патент РФ №2186511, 10 августа 2002 г.], содержащий корпус, установленный в нем шнек, выполненный заодно с наконечником, матрицу с фильерами, наконечник выполнен в виде конуса, переходящего в цилиндр.
При использовании известного экструдера наблюдаются пережоги продукта в зоне между торцом шнека и торцом матрицы, также не обеспечивается полная гомогенизация получаемого продукта.
Техническим результатом является исключение пережога и полная гомогенизация получаемого продукта путем использования эффекта сложного сдвига в матрице.
Постановленная задача решается тем, что пресс-экструдер содержит корпус, установленный в нем шнек, выполненный заодно с наконечником, матрицу, втулку, на которой снята фаска, служащая входящей полостью в зазор, и формующую шайбу. Втулка и формующая шайба вставляются в матрицу. Наконечник шнека выполнен в виде цилиндра и образует с втулкой зазор, величину и ширину которого можно изменять путем замены одной втулки на другую.
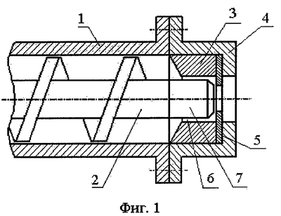
На фиг.1 показан пресс-экструдер, общий вид; на фиг.2 – форма втулки для регулировки ширины зазора.
Пресс-экструдер содержит корпус 1, шнек 2, втулку 3, матрицу 4, формующую шайбу 5. Конечная часть шнека 2 выполнена в виде цилиндрического наконечника 7. Ширину и величину зазора 6 между втулкой 3 и наконечником 7 можно регулировать, поменяв втулки 3. Диаметр наконечника должен быть равен внутреннему диаметру шнека, чтобы обрабатываемый продукт полностью вошел в зазор 6. При выполнении этого условия можно уменьшить потери давления при нагнетании в зазор 6, что приводит к уменьшению энергоемкости процесса. Длина формующей шайбы 5 от 3 до 5 мм, а также расстояние между торцом наконечника 7 и формующей шайбой 5 должно быть в пределе от 1 до 2 мм, чтобы продукт без особого усилия после зазора 6 мог свободно течь наружу. Формующую шайбу 5 можно не применять в случае, когда не нужно придать особую форму получаемому продукту, так как после зазора 6 продукт уже получает кольцевую форму.
Работа пресс-экструдера осуществляется следующим образом. Продукт, поступивший в пресс-экструдер, транспортируется шнеком 2 к зазору 6 между наконечником 7 и втулкой 3, где происходит разогрев и увеличение скорости сдвига за счет сложного сдвига в тонком слое продукта, а затем проходит через формующую шайбу 5 и выводится наружу. Из-за небольшой длины формующей шайбы 5 и небольшого расстояния между торцом наконечника 7 и шайбой 5 исключается возможность образования пробки и последующего пережога. В зависимости от влажности экструдируемого продукта нужно установить необходимые величину и ширину зазора 6.
Таким образом, предотвращается пережог и достигается полная гомогенизация получаемого продукта, что уменьшает энергоемкость процесса экструдирования и повышается качество получаемого продукта.
Формула изобретения
Пресс-экструдер, содержащий корпус, установленный в нем шнек, выполненный заодно с наконечником, матрицу, отличающийся тем, что он снабжен втулкой со снятой на ней фаской и формующей шайбой, которые вставлены в матрицу, а наконечник выполнен в виде цилиндра и образует с втулкой зазор, возможность изменения величины и ширины которого предусмотрена за счет замены втулки.
РИСУНКИ
MM4A – Досрочное прекращение действия патента СССР или патента Российской Федерации на изобретение из-за неуплаты в установленный срок пошлины за поддержание патента в силе
Дата прекращения действия патента: 10.09.2007
Извещение опубликовано: 10.03.2009 БИ: 07/2009
|
|