|
|
(21), (22) Заявка: 2005127864/12, 07.09.2005
(24) Дата начала отсчета срока действия патента:
07.09.2005
(46) Опубликовано: 27.02.2007
(56) Список документов, цитированных в отчете о поиске:
RU 2191113 C1, 20.10.2002. RU 2100013 C1, 27.12.1997. US 4781175 А, 01.11.1988. DE 2609783 A1, 22.09.1977. US 5026463 А, 25.06.1991. EP 0279371 A1, 24.08.1988.
Адрес для переписки:
109456, Москва, 1-й Вешняковский пр-д, 2, ГНУ ВИЭСХ, О.В. Голубевой
|
(72) Автор(ы):
Стребков Дмитрий Семенович (RU), Некрасов Алексей Иосифович (RU), Некрасов Антон Алексеевич (RU), Сивцов Алексей Борисович (RU), Трубников Владимир Захарович (RU)
(73) Патентообладатель(и):
Государственное научное учреждение Всероссийский научно-исследовательский институт электрификации сельского хозяйства (ГНУ ВИЭСХ) (RU)
|
(54) УСТРОЙСТВО ДЛЯ ЭЛЕКТРОГАЗОРАЗРЯДНОЙ ОБРАБОТКИ ПОВЕРХНОСТЕЙ МАТЕРИАЛОВ
(57) Реферат:
Изобретение относится к устройствам для обработки поверхностей материалов высокочастотным электрическим разрядом в газовой среде и может быть использовано для модификации структуры поверхности полимерных пленок, антисептирования, очистки и обеззараживания поверхностей материалов. Устройство содержит источник питания, регулируемый преобразователь частоты, повышающий высокочастотный резонансный трансформатор с рабочим игольчатым электродом и газодинамический блок с газопроводом и соплом для поддува газа в зону обработки материала. К выходу регулируемого преобразователя частоты подключен высоковольтный электрогазоразрядный блок плазмогенераторов, содержащих повышающие высокочастотные резонансные трансформаторы. Низковольтные обмотки трансформаторов соединены между собой параллельно и связаны с регулируемым преобразователем частоты, а высоковольтные обмотки своим высокопотенциальным выводом соединены с концентрирующими электромагнитную энергию игольчатыми электродами. Электроды коаксиально расположены в соплах, имеющих общий снабженный ротаметром газоподвод от газодинамического блока. Сопла обеспечивают образование сплошной равномерной ионизированной среды на поверхности материала, размещаемого на приемном барабане, получающем вращение от электродвигателя с регулятором напряжения. Описан второй вариант устройства. Изобретение обеспечивает расширение функциональных возможностей устройства, снижение расхода газа, повышение производительности, точности обработки, надежности и эффективности работы устройства. 2 н. и 3 з.п. ф-лы, 4 ил.
Изобретение относится к устройствам для обработки поверхностей материалов высокочастотным электрическим разрядом в газовой среде и может быть использовано для модификации структуры поверхности полимерных пленок, для антисептирования, очистки и обеззараживания поверхностей материалов.
Известно устройство для обработки поверхностей тканей высокочастотным электрическим разрядом, содержащее источник питания с генератором высокочастотного переменного напряжения и преобразователь частоты, соединенный с обмоткой плазмотрона, имеющего рабочий игольчатый электрод, а также газодинамический блок для поддува газа (патент РФ №2100013 по кл. А 61 В 17/39 от 11.04.1995).
Недостатком этого устройства являются узкие функциональные возможности, малая производительность из-за невозможности обработки больших поверхностей материалов. Прохождение поддуваемого газа внутри катушки через обмотки трансформатора, находящиеся под напряжением в сильном высокочастотном электрическом поле снижает надежность устройства и может привести к нарушению изоляции и преждевременному выходу плазмотрона из строя. Наличие сопла уменьшает обзор участка обрабатываемой поверхности, а размещение игольчатого электрода в сопле при длительной работе приводит к подгоранию сопла с образованием нагара на выходной части сопла, что ухудшает функциональные свойства прибора.
Известно устройство для обработки материалов высокочастотным электрическим разрядом, содержащее генератор переменного напряжения регулируемый преобразователь частоты, работающий в резонансном режиме с высокочастотным трансформатором, потенциальный вывод которого связан с игольчатым рабочим электродом, расположенным в сопле и создающим плазменную зону обработки материала с поддувом газа или без него в воздушной среде (патент РФ №2191113 по кл. В 29 В 13/08, В 05 D 3/14 от 20.10.2002).
Недостатками этого устройства являются недостаточные функциональные возможности, малая производительность, точечность воздействия рабочего электрода на обрабатываемую поверхность, отсутствие возможности дозирования воздействия разряда на материал, а также пропускание газа через преобразователь, что снижает надежность установки и увеличивает расход газа, продолжающего поступать в рабочую зону обработки материала и при отсутствии электрического разряда.
Задачей изобретения является расширение функциональных возможностей, повышение производительности и точности обработки поверхности материалов, снижение расхода газа, повышение надежности и эффективности работы установки.
В результате использования предлагаемого изобретения расширяются функциональные возможности, повышается производительность и точность обработки, снижается расход газа, повышается надежность и эффективность работы установки.
Вышеуказанный технический результат достигается тем, что в устройстве для электрогазоразрядной обработки поверхностей материалов, содержащем источник питания, регулируемый преобразователь частоты, повышающий высокочастотный резонансный трансформатор с рабочим игольчатым электродом и газодинамический блок с газопроводом и соплом для поддува газа в зону обработки материала, к выходу регулируемого преобразователя частоты подключен высоковольтный электрогазоразрядный блок плазмогенераторов, содержащих повышающие высокочастотные резонансные трансформаторы, низковольтные обмотки которых соединены между собой параллельно и связаны с регулируемым преобразователем частоты, а высоковольтные обмотки своим высокопотенциальным выводом соединены с концентрирующими электромагнитную энергию игольчатыми электродами, коаксиально расположенными в соплах, имеющих общий, снабженный ротаметром газоподвод от газодинамического блока, обеспечивающих образование сплошной равномерной ионизированной среды на поверхности обрабатываемого материала, размещаемого на приемном барабане, получающем заданную технологией обработки стабильную частоту вращения от электродвигателя с регулятором напряжения.
В устройстве для электрогазоразрядной обработки поверхностей материалов, содержащем источник питания, регулируемый преобразователь частоты, повышающий высокочастотный резонансный трансформатор с рабочим игольчатым электродом, газодинамический блок с газопроводом и соплом для поддува инертного газа в зону обработки материала, повышающий высокочастотный резонансный трансформатор с разомкнутым ферритовым сердечником ручного плазмогенератора снабжен полым трубчатым игольчатым электродом, соединенным с высоковольтной обмоткой и газоподводящей трубкой, которые размещены в одном изолированном фторопластовом корпусе с трансформатором, причем газоподводящая трубка и двужильный электрический провод плазмогенератора помещены в общую гибкую оболочку из электроизоляционного материала и соединены с блоком питания и газодинамическим блоком.
В устройстве для электрогазоразрядной обработки поверхностей материалов рабочий игольчатый электрод выполнен в виде полых электрогазоподводящих игл различной длины и радиуса кривизны, установленных к обрабатываемой поверхности под углом 90°.
В устройстве для электрогазоразрядной обработки поверхностей материалов рабочий электрод выполнен в виде полого электроизолированного запаянного цилиндра из материала высокой электрической прочности с металлическим покрытием внутренней поверхности или наполненного под давлением электропроводящими парами металла, соединенного со встроенным контактом, причем рабочий электрод имеет длину, соответствующую ширине поверхности обрабатываемого материала, соединен с высокопотенциальным выводом высоковольтной обмотки повышающего высокочастотного трансформатора и установлен параллельно над электропроводящим металлическим подпружиненным вращающимся цилиндром, причем поддув газа из сопел осуществляется под цилиндрический рабочий электрод со стороны движения материала.
В устройстве для электрогазоразрядной обработки поверхностей материалов блок питания плазмогенератора имеет “основной” и “мягкий” режимы работы и снабжен переключателем для фиксации “основного” и “мягкого” режимов работы.
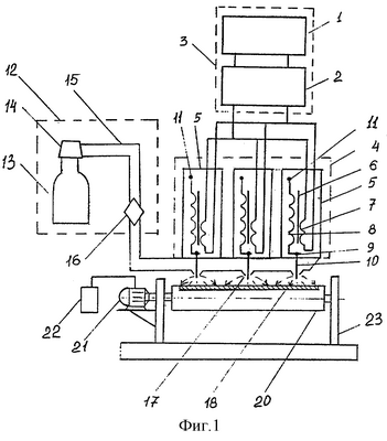
Сущность предлагаемого устройства и принцип его работы поясняются чертежами, где:
на фиг.1 представлен общий вид устройства;
на фиг.2 – вид устройства с цилиндрическим рабочим электродом;
на фиг.3 – вид устройства для обработки рифленой поверхности;
на фиг.4 – вид устройства для ручного пользования.
Предлагаемое устройство (фиг.1) содержит источник питания 1 и регулируемый преобразователь частоты 2, образующих блок питания 3, который соединен с высоковольтным электроразрядным блоком 4, повышающих высокочастотных резонансных трансформаторов 5, с незамкнутыми сердечниками 6, низковольтные обмотки 7 которых соединены между собой параллельно и подключены к преобразователю частоты 2 блока питания 3, а высоковольтные обмотки 8 своими потенциальными выводами 9 соединены с игольчатыми электродами 10, а другие выводы 11 высоковольтных обмоток 8 разомкнуты. Газодинамический блок 12 с баллоном 13 плазмообразующего газа, редуктором 14 и изолированным шлангом 15 соединен через ротаметр 16 с соплами 17, расположенными у обрабатываемой поверхности 18 материала, подаваемого с барабана 19 (фиг.2) и собираемого после обработки на приемном барабане 20, получающем вращение от электродвигателя 21, соединенного с регулятором напряжения 22, установленного на раме 23.
В другом варианте (фиг.2) при обработке ровной поверхности эластичного материала (пленки) 18 рабочий электрод выполнен в виде полого цилиндра 24, из электроизоляционного материала высокой электрической прочности (например, стекла), с металлическим покрытием внутренней поверхности или наполненного парами металла 25 под давлением, соединенными с встроенным контактом 26, а под пленкой 18 и полым цилиндром 24 установлен металлический подпружиненный вращающийся цилиндр 27. Поддув газа осуществляется из сопла 17 под полый цилиндрический рабочий электрод 24 со стороны движения материала. Обрабатываемая пленка 18 с подающего барабана 19 собирается на приемный барабан 20, получающий заданную частоту вращения от регулируемого привода, состоящего из электродвигателя 21 и регулятора напряжения 22.
При обработке материалов с рифленой поверхностью (фиг.3) применяют полые трубчатые электроды 28 с острием 29, совмещающие функции иглы и сопла и расположенные под углом 90° к обрабатываемой поверхности 18. Поддув газа к полым трубчатым электродам осуществляется от газодинамического блока 12 по изолированному шлангу 15.
В электроплазмогенераторе ручного пользования (фиг.4) в одном малогабаритном корпусе 30 размещен повышающий высокочастотный резонансный трансформатор 5 с разомкнутым ферритовым сердечником 6, низковольтной обмоткой 7 и высоковольтной обмоткой 8, соединенной с полым трубчатым электродом 28 с острием 29, а также помещена газоподводящая трубка 31. Подключение ручного электроплазмогенератора к блоку питания 3 и газодинамическому блоку 12 осуществляется благодаря двужильному изолированному электрическому проводу 32 и газоподводящей трубке 31, помещенным в общую гибкую оболочку 33 из электроизоляционного материала.
Устройство работает следующим образом.
При включении источника питания 1 блока питания 3 напряжение подается на преобразователь частоты 2, который генерирует напряжение повышенной частоты, равной собственной частоте колебаний системы высоковольтного электроразрядного блока 4, состоящего из повышающих резонансных трансформаторов 5. Одновременно с включением источника питания 1 включается электродвигатель 21 регулируемого электропривода приемного барабана 20 для перемещения обрабатываемого материала 18, а от газодинамического блока 12, в заданном ротаметром 16 объеме, через сопла 17 подается плазмообразующий газ в зону действия рабочего электрода с образованием области ионизированного газа синего цвета на поверхности материала.
Электрическая энергия низковольтных обмоток 7 преобразуется благодаря повышающим высокочастотным резонансным трансформаторам 5 высоковольтного электроразрядного блока 4 и электрические заряды концентрируются на потенциальных выводах 9 высоковольтных разомкнутых обмоток 8, соединенных с рабочим игольчатым электродом с возникновением в рабочем промежутке высоковольтного высокочастотного электрического разряда, воздействующего на обрабатываемый материал. Электрическая схема задающего генератора преобразователя частоты обеспечивает автоматическую подстройку частоты преобразователя, которая соответствует частоте высоковольтного электроразрядного блока, обеспечивающего стабильный режим обработки, который визуально определяется появлением тонкого высокочастотного холодноплазменного пучка синего цвета между электродом и обрабатываемым материалом, сопровождающегося легким потрескиванием при разряде в воздухе или более обширной светящейся областью ионизации подаваемого к обрабатываемой поверхности газа, образующих сплошную светящуюся область синего цвета. Регулирование подаваемой мощности, осуществляется изменением напряжения, а степень и глубина обработки поверхности материала – перемещением обрабатываемого материала при помощи регулируемого электропривода, а также частично скоростью и объемом подаваемого газа. Применение полого цилиндрического рабочего электрода с внутренним металлическим покрытием или наполненного под давлением парами металла, соединенных через металлический контакт с высоковольтной обмоткой, создает появление барьерного разряда и обеспечивает высокую равномерность “мягкой” обработки по всей ширине поверхности материала электрическим разрядом.
Применение полых трубчатых игольчатых электродов, объединяющих функции сопла и электрода, имеющих разную длину и изогнутость к обрабатываемой поверхности, позволяют осуществить обработку различных частей или всей площади рифленой поверхности, с высокой степенью направленности и точной дозировкой ротаметром подаваемого газа в зону обработки, что значительно снижает непроизводительный расход газа и обеспечивает экономию подаваемого газа.
Малогабаритный портативный ручной плазмогенератор предназначен для применения в медицине для обработки раневых поверхностей тканей (“мягкий” режим работы) или удаления тканевых новообразований (“основной” режим работы). Подача электроэнергии и газа осуществляется по одному гибкому подводящему шлангу, в котором помещены электрический провод и газоподводящая трубка. Полый трубчатый электрод, имеющий серебряную иглу, соединенный с высоковольтной обмоткой и газоподводящей трубкой, позволяет производить тонкие специализированные операции по обработке мелких участков поверхностей при наличии аэроионов серебра, обладающих высокой бактерицидностью. При этом возможен также режим работы устройства в обычной воздушной среде без поддува газа. Питание ручного плазмогенератора может осуществляется от электросети через адаптер или от аккумуляторов.
Формула изобретения
1. Устройство для электрогазоразрядной обработки поверхностей материалов, содержащее источник питания, регулируемый преобразователь частоты, повышающий высокочастотный резонансный трансформатор с рабочим игольчатым электродом и газодинамический блок с газопроводом и соплом для поддува газа в зону обработки материала, отличающееся тем, что к выходу регулируемого преобразователя частоты подключен высоковольтный электрогазоразрядный блок плазмогенераторов, содержащих повышающие высокочастотные резонансные трансформаторы, низковольтные обмотки которых соединены между собой параллельно и связаны с регулируемым преобразователем частоты, а высоковольтные обмотки своим высокопотенциальным выводом соединены с концентрирующими электромагнитную энергию игольчатыми электродами, коаксиально расположенными в соплах, имеющих общий снабженный ротаметром газоподвод от газодинамического блока, обеспечивающих образование сплошной равномерной ионизированной среды на поверхности обрабатываемого материала, размещаемого на приемном барабане, получающем заданную технологией обработки стабильную частоту вращения от электродвигателя с регулятором напряжения.
2. Устройство для электрогазоразрядной обработки поверхностей материалов, содержащее источник питания, регулируемый преобразователь частоты, повышающий высокочастотный резонансный трансформатор с рабочим игольчатым электродом и газодинамический блок с газопроводом и соплом для поддува инертного газа в зону обработки материала, отличающееся тем, что повышающий высокочастотный резонансный трансформатор с разомкнутым ферритовым сердечником ручного плазмогенератора снабжен полым трубчатым игольчатым электродом, соединенным с высоковольтной обмоткой и газоподводящей трубкой, которые размещены в одном изолированном фторопластовым корпусе с трансформатором, причем газоподводящая трубка и двужильный электрический провод плазмогенератора помещены в общую гибкую оболочку из электроизоляционного материала и соединены с блоком питания и газодинамическим блоком.
3. Устройство по п.1, отличающееся тем, что рабочий игольчатый электрод выполнен в виде полых электрогазоподводящих игл различной длины и радиуса кривизны, установленных к обрабатываемой поверхности под углом 90°.
4. Устройство по п.1, отличающееся тем, что рабочий электрод выполнен в виде полого электроизолированного запаянного цилиндра из материала высокой электрической прочности с металлическим покрытием внутренней поверхности или наполненного под давлением электропроводящими парами металла, соединенного со встроенным контактом, причем рабочий электрод имеет длину, соответствующую ширине поверхности обрабатываемого материала, соединен с высокопотенциальным выводом высоковольтной обмотки повышающего высокочастотного трансформатора и установлен параллельно над электропроводящим металлическим подпружиненным вращающимся цилиндром, причем поддув газа из сопел осуществляется под цилиндрический рабочий электрод со стороны движения материала.
5. Устройство по п.2, отличающееся тем, что блок питания плазмогенератора имеет “основной” и “мягкий” режимы работы и снабжен переключателем для фиксации “основного” и “мягкого” режимов работы.
РИСУНКИ
MM4A – Досрочное прекращение действия патента СССР или патента Российской Федерации на изобретение из-за неуплаты в установленный срок пошлины за поддержание патента в силе
Дата прекращения действия патента: 08.09.2007
Извещение опубликовано: 20.02.2009 БИ: 05/2009
|
|