|
|
(21), (22) Заявка: 2003135200/02, 16.06.2002
(24) Дата начала отсчета срока действия патента:
16.06.2002
(30) Конвенционный приоритет:
04.07.2001 IL 144138
(43) Дата публикации заявки: 10.05.2005
(46) Опубликовано: 27.02.2007
(56) Список документов, цитированных в отчете о поиске:
JP 11138325 А, 25.05.1999. SU 323278 A, 20.11.1972. SU 1133045 А, 07.01.1985. SU 1750862 A1, 30.07.1992. SU 1833253 A1, 07.08.1993.
(85) Дата перевода заявки PCT на национальную фазу:
04.02.2004
(86) Заявка PCT:
IL 02/00463 (16.06.2002)
(87) Публикация PCT:
WO 03/004206 (16.01.2003)
Адрес для переписки:
103062, Москва, ул. Покровка, д.33/22, стр.1, агентство “ИНТЭЛС”, пат.пов. О.М.Дьяконовой
|
(72) Автор(ы):
САТРАН Амир (IL), УЛИАНИТСКИ Даниэль (IL)
(73) Патентообладатель(и):
ИСКАР ЛТД. (IL)
|
(54) ФРЕЗА И РЕЖУЩАЯ ПЛАСТИНА ДЛЯ НЕЕ
(57) Реферат:
Изобретение относится к области сборного режущего инструмента, фрезам для обработки кулачков кулачковых валов. Индексируемая режущая пластина для фрезы имеет выполненные в квадратной формы верхнюю и нижнюю поверхности, четыре идентичные боковые поверхности, расположенные между верхней поверхностью и нижней поверхностью, два диаметрально противоположных выступа, выходящих в противоположные друг от друга стороны на виде сверху или снизу на режущую пластину. Каждый выступ имеет периферийную боковую поверхность, включающую промежуточную боковую поверхность и две вспомогательные боковые поверхности. Промежуточная боковая поверхность расположена между и плавно соединена с двумя вспомогательными боковыми поверхностями, при этом каждая боковая поверхность включает главную боковую поверхность, соединенную с примыкающей вспомогательной боковой поверхностью. Смежные главные боковые поверхности соединены двумя диаметрально противоположными угловыми кромками режущей пластины. Восемь идентичных главных режущих кромок, включающих четыре главные режущие кромки, образованные пересечением главных боковых поверхностей с верхней поверхностью, и четыре главные режущие кромки, образованные пересечением главных боковых поверхностей с нижней поверхностью, и восемь идентичных вспомогательных режущих кромок, включающих четыре вспомогательные режущие кромки, образованные пересечением вспомогательных боковых поверхностей с верхней поверхностью, и четыре вспомогательные режущие кромки, образованные пересечением вспомогательных боковых поверхностей с нижней поверхностью. При этом каждая вспомогательная режущая кромка соединена с примыкающей главной режущей кромкой. Фреза содержит корпус, имеющий в основном форму круглого диска, и множество идентичных режущих пластин, установленных с возможностью замены в гнездах. Корпус имеет две противоположно открытые в основном круглые боковые поверхности, соединенные периферийной поверхностью для установки режущих пластин, ось вращения, проходящую через боковые поверхности и определяющую направление вращения фрезы. Режущие пластины расположены попарно в шахматном порядке, при этом верхняя или нижняя из опорных поверхностей каждой режущей пластины обращена в направлении вращения, первая режущая пластина данной пары режущих пластин имеет наиболее удаленный в радиальном и осевом направлении первый выступ, выходящий в осевом направлении, по крайней мере частично, за первую боковую поверхность корпуса, а вторая режущая пластина данной пары режущих пластин имеет наиболее удаленный от центра в радиальном и осевом направлении второй выступ, выходящий в осевом направлении, по крайней мере частично, за вторую боковую поверхность корпуса. Технический результат: возможность обработки боковой стороны кулачка кулачкового вала и снятие фаски на ее кромках. 2 н. и 11 з.п. ф-лы, 9 ил.
ОБЛАСТЬ ТЕХНИКИ
Настоящее изобретение относится к фрезе и режущей пластине для обработки в основном металлических заготовок, в частности кулачков кулачковых валов.
УРОВЕНЬ ТЕХНИКИ
Фреза этого типа раскрыта в заявке Японии 2000052131. В этой публикации она включает группы из двух тангенциально ориентированных режущих пластин, установленные попарно в шахматном порядке по периферии. Две пластины данной пары перекрываются при наложении одна на другую, по крайней мере частично. Как показано на фиг.8 этой публикации, фреза удобна для обработки только боковой стороны (т.е. наружной периферийной изогнутой поверхности) кулачков кулачкового вала.
Другая фреза для обработки кулачков кулачкового вала раскрыта в заявке Японии 11138325. Эта фреза обрабатывает не только боковую сторону кулачка, но также снимает фаски на ее кромках. Фреза, раскрытая в этой публикации, также содержит группы режущих пластин, установленных в шахматном порядке по периферии. Первые пары режущих пластин, по крайней мере, частично перекрываются при наложении при обработке боковой стороны кулачка, как в заявке Японии 2000052131. Кроме того, вторые пары режущих пластин, отличных от первых пар, расположены в шахматном порядке по периферии по краю фрезы и предназначены для обработки фасок на боковой стороне.
Задачей настоящего изобретения является создание фрезы и режущей пластины, дающих возможность обработки боковой стороны кулачка кулачкового вала и снятия фасок на ее кромках, причем фреза включает группы из двух радиально ориентированных идентичных режущих пластин, установленных по периферии в шахматном порядке, а режущая пластина имеет восемь режущих кромок.
СУЩНОСТЬ ИЗОБРЕТЕНИЯ
В соответствии с настоящим изобретением индексируемая режущая пластина имеет:
выполненные в основном квадратной формы верхнюю и нижнюю поверхности;
четыре идентичные боковые поверхности, расположенные между верхней и нижней поверхностями;
два диаметрально противоположных выступа, выходящих в противоположные друг о друга стороны на виде сверху или снизу на режущую пластину, каждый выступ имеет периферийную боковую поверхность, включающую промежуточную боковую поверхность и две вспомогательные боковые поверхности, промежуточная боковая поверхность расположена между и плавно соединена с двумя вспомогательными боковыми поверхностями, при этом каждая боковая поверхность включает главную боковую поверхность, соединенную с примыкающей вспомогательной боковой поверхностью, смежные главные боковые поверхности соединены двумя диаметрально противоположными угловыми кромками режущей пластины;
восемь идентичных главных режущих кромок, включающих четыре главные режущие кромки, образованные пересечением главных боковых поверхностей с верхней поверхностью, и четыре главные режущие кромки, образованные пересечением главных боковых поверхностей с нижней поверхностью; и
восемь идентичных вспомогательных режущих кромок, включающих четыре вспомогательные режущие кромки, образованные пересечением вспомогательных боковых поверхностей с верхней поверхностью, и четыре вспомогательные режущие кромки, образованные пересечением вспомогательных боковых поверхностей с нижней поверхностью, при этом каждая вспомогательная режущая кромка соединена с примыкающей главной режущей кромкой.
В соответствии с предпочтительным вариантом настоящего изобретения вспомогательные режущие кромки выполнены короче, чем главные режущие комки, и образуют с ними тупой угол на виде сверху или снизу на режущую пластину.
Также в соответствии с предпочтительным вариантом настоящего изобретения каждая боковая поверхность имеет переменный размер по высоте.
Предпочтительно размер по высоте имеет минимальное значение на центральном участке боковой поверхности.
Предпочтительно также, размер по высоте монотонно уменьшается от максимального значения на наружном участке боковой поверхности до минимального значения на центральном участке.
Как правило, на верхней и нижней поверхностях выполнена стружечная канавка, прилегающая и расположенная вдоль главных и вспомогательных режущих кромок.
Предпочтительно, на верхней поверхности выполнена верхняя опорная поверхность, расположенная в основном центрально по отношению к главным режущим кромкам, а на нижней поверхности выполнена нижняя опорная поверхность, расположенная в основном центрально по отношению к главным режущим кромкам и открытая в основном в противоположном направлении от верхней опорной поверхности.
В соответствии с предпочтительным вариантом верхняя и нижняя опорные поверхности выполнены плоскими, параллельными и расположенными друг от друга на заданном расстоянии.
Также в соответствии с предпочтительным вариантом заданное расстояние между верхней и нижней опорными поверхностями, как минимум, равно максимальному значению размера по высоте боковых поверхностей.
В случае необходимости на режущей пластине может быть выполнена фаска, расположенная от главных и вспомогательных режущих кромок к стружечной канавке.
Также в соответствии с настоящим изобретением предложена фреза, содержащая корпус, имеющий в основном форму круглого диска, и множество идентичных режущих пластин, установленных с возможностью замены в гнездах;
корпус имеет две противоположно открытые в основном круглые боковые поверхности, соединенные периферийной поверхностью для установки режущих пластин, ось вращения, проходящую через боковые поверхности и определяющую направление вращения фрезы;
гнезда под пластины расположены с угловым шагом вокруг периферийной поверхности для их установки;
режущие пластины имеют:
выполненные в основном квадратной формы верхнюю и нижнюю поверхности;
четыре идентичных боковых поверхности между нижней поверхностью и верхней поверхностью;
два диаметрально противоположных выступа, выходящих в противоположные друг от друга стороны на видах сверху или снизу на режущую пластину, каждый выступ имеет периферийную боковую поверхность, включающую промежуточную боковую поверхность и две вспомогательные боковые поверхности, промежуточная боковая поверхность расположена между и плавно соединена с двумя вспомогательными боковыми поверхностями, при этом каждая боковая поверхность включает главную боковую поверхность, соединенную с примыкающей вспомогательной боковой поверхностью, смежные главные боковые поверхности соединены двумя диаметрально противоположными угловыми кромками режущей пластины;
восемь идентичных главных режущих кромок, образованных пересечением главных боковых поверхностей с верхней поверхностью и нижней поверхностью; и
восемь идентичных вспомогательных режущих кромок, образованных пересечением вспомогательных боковых поверхностей с верхней поверхностью и нижней поверхностью, при этом каждая вспомогательная режущая кромка соединена с примыкающей главной режущей кромкой;
режущие пластины расположены попарно в шахматном порядке, при этом верхняя или нижняя из опорных поверхностей каждой режущей пластины обращена в направлении вращения;
первая режущая пластина данной пары режущих пластин имеет наиболее удаленный в радиальном и осевом направлениях первый выступ, выходящий в осевом направлении, по крайней мере, частично, за первую боковую поверхность корпуса, а вторая режущая пластина данной пары режущих пластин имеет наиболее удаленный от центра в радиальном и осевом направлении второй выступ, выходящий в осевом направлении, по крайней мере, частично за вторую боковую поверхность корпуса.
В соответствии с предпочтительным вариантом первая режущая пластина имеет первую главную режущую кромку, расположенную на заданном радиальном расстоянии от оси вращения, а вторая режущая пластина имеет вторую главную режущую кромку, расположенную на том же заданном радиальном расстоянии.
В основном первый и второй выступы выходят в радиальном направлении, по крайней мере, частично за периферийную поверхность для установки режущих пластин.
КРАТКОЕ ОПИСАНИЕ ЧЕРТЕЖЕЙ
Для лучшего понимания, только в качестве примера, изобретение будет ниже описано с ссылками на чертежи, где:
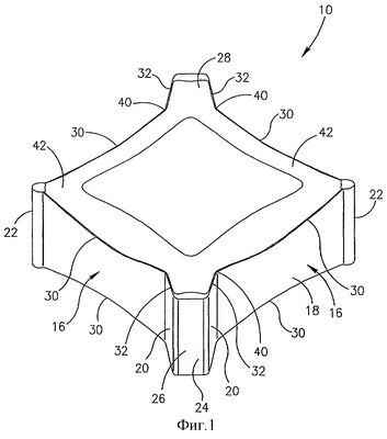
на фиг.1 показан вид в перспективе на режущую пластину в соответствии с настоящим изобретением;
на фиг.2 показан вид сверху на режущую пластину, представленную на фиг.1;
на фиг.3 показан вид сбоку на режущую пластину, представленную на фиг.1;
на фиг.4 показано поперечное сечение части режущей пластины вдоль линии IV-IV на фиг.2;
на фиг.5 показано поперечное сечение части режущей пластины вдоль линии V-V на фиг.2;
на фиг.6 показан вид в перспективе на фрезу, на которой установлены режущие пластины в соответствии с настоящим изобретением;
на фиг.7 показан вид в перспективе части фрезы, представленной на фиг.6;
на фиг.8 показан вид радиально сверху на часть фрезы, представленной на фиг.6; и
на фиг.9 представлен частичный вырыв, показывающий, как две режущие пластины фрезы, показанной на фиг.6, взаимно накладываются для обработки требуемого профиля на заготовке.
ДЕТАЛЬНОЕ ОПИСАНИЕ ПРЕДПОЧТИТЕЛЬНЫХ ВАРИАНТОВ
Вначале обратим внимание на фиг.1-3. Режущая пластина 10 в соответствии с настоящим изобретением имеет выполненные в основном квадратной формы верхнюю 12 и нижнюю 14 поверхности. Режущая пластина может быть изготовлена путем прессования и спекания или литья под давлением. Четыре идентичные боковые поверхности 16 расположены между верхней поверхностью 12 и нижней поверхностью 14. Боковые поверхности 16 спроектированы идентичными, однако в результате процесса изготовления одна или больше боковых поверхностей могут быть слегка отличными от требуемой формы. Например, известно, что в процессе спекания режущая пластина усаживается и что усадка может быть неравномерной. Следовательно, понятие «идентичные» означает здесь настолько идентичные, насколько это может быть достигнуто, принимая во внимание допуска на изготовление. Каждая боковая поверхность 16 включает главную боковую поверхность 18, соединенную с примыкающей вспомогательной боковой поверхностью 20. Смежные главные боковые поверхности 18 плавно соединены двумя диаметрально противоположными угловыми кромками 22.
Смежные вспомогательные боковые поверхности 20 плавно соединены промежуточной боковой поверхностью 24. Две смежные вспомогательные боковые поверхности 20 и промежуточная боковая поверхность 24 образуют периферийную боковую поверхность 26 выступа 28, выходящего наружу из режущей пластины 10. Два расположенных диаметрально противоположно выступа 28 выходят в противоположных направлениях друг от друга на виде сверху или снизу на режущую пластину 10, как можно видеть на фиг.2.
Пересечение каждой главной боковой поверхности 18 с верхней 12 и нижней 14 поверхностью образует главную режущую кромку 30. На пластине восемь идентичных главных режущих кромок 30. Пересечение каждой вспомогательной боковой поверхности 20 с верхней 12 или нижней 14 поверхностью определяет вспомогательную режущую кромку 32. На пластине восемь идентичных вспомогательных режущих кромок 32. Каждая вспомогательная кромка 32 соединена с примыкающей главной режущей кромкой 30. В соответствии с предпочтительным вариантом настоящего изобретения вспомогательные режущие кромки 32 выполнены короче, чем главные режущие кромки 30, и образуют с ними тупой угол на виде сверху или снизу на режущую пластину 10, как можно видеть на фиг.2.
Для каждой боковой поверхности 16 размер по высоте Н определяется как высота по вертикали боковой поверхности на виде сбоку на режущую пластину (см. фиг.3). Другими словами, размер по высоте Н является расстоянием между первой точкой P1 на главной режущей кромке 30, принадлежащей нижней поверхности 14, и вертикально противоположной второй точкой P2 на главной режущей кромке 30, принадлежащей верхней поверхности 12. В соответствии с предпочтительным вариантом настоящего изобретения каждая боковая поверхность 16 имеет переменный размер по высоте Н. Предпочтительно размер по высоте Н имеет минимальное значение Нmin на центральном участке 34 боковой поверхности 16. Предпочтительно также размер по высоте Н монотонно уменьшается от максимального значения Нmax на наружном участке 36 боковой поверхности 16 до минимального значения Нmin на центральном участке 34.
На фиг.3 определены две плоскости. Средняя плоскость М, расположенная посредине между верхней и нижней поверхностями 12, 14, и базовая плоскость N, параллельная средней плоскости М и проходящая через наружные вершины 38 вспомогательных режущих кромок 32, расположенных на верхней поверхности 12. Аналогичная базовая плоскость может быть определена по отношению к нижней поверхности 14, однако в этом нет необходимости, поскольку режущая пластина 10 имеет зеркальную симметрию по отношению к средней плоскости М.
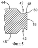
Для данной боковой поверхности 16 принадлежащие ей главные и вспомогательные кромки 30, 32 имеют переменный наклон, прямо связанный с переменным размером по высоте. Вспомогательная режущая кромка 32 проходит от ее наружной вершины 38 до точки 40, в которой она соединяется с главной режущей кромкой 30, отдаляясь от базовой плоскости N и приближаясь к средней плоскости М. Главная режущая кромка 30 включает две части, первая часть 301 проходит от точки 40, где она соединяется со вспомогательной режущей кромкой 32, к центральному участку 34 боковой поверхности 16, отклоняясь от базовой плоскости N и приближаясь к средней плоскости М, вторая часть 302 проходит от центрального участка 34 боковой поверхности 16, приближаясь к базовой плоскости N и удаляясь от средней плоскости М. Рассмотрим фиг.4 и 5, показывающие стружечную канавку 42, выполненную на верхней и нижней поверхностях 12, 14. Стружечная канавка 42 прилегает и проходит вдоль главных и вспомогательных режущих кромок 30, 32.
На верхней поверхности 12 выполнена верхняя опорная поверхность 44, расположенная в основном центрально по отношению к главным режущим кромкам 30, а на нижней поверхности 14 выполнена нижняя опорная поверхность 46, расположенная в основном центрально по отношению к главным режущим кромкам 30 и открытая в основном в противоположном направлении от верхней опорной поверхности 44. В соответствии с предпочтительным вариантом верхняя и нижняя опорные поверхности 44, 46 выполнены плоскими и параллельными друг другу. Расстояние между верхней и нижней опорными поверхностями 44, 46, как минимум, равно максимальному значению Нmax размера по высоте Н боковых поверхностей. Режущая пластина 10 выполнена с фаской 48, расположенной от главных и вспомогательных кромок 30, 32 к стружечной канавке 42.
Рассмотрим фиг.6-8, показывающие фрезу 50, содержащую корпус 52, имеющий в основном форму круглого диска и множество идентичных режущих пластин 10, соответствующих настоящему изобретению и установленных с возможностью замены в гнездах под пластины 54. На фиг.6 показаны только три режущие пластины 10 и те же самые три режущие пластины показаны на фиг.7 и 8. Корпус 52 имеет две открытые в противоположные стороны в основном круглые боковые поверхности 56, соединенные периферийной поверхностью для установки режущих пластин 58. Ось вращения А проходит через боковые поверхности 56 и определяет направление вращения R фрезы 50.
Гнезда под пластины 54 расположены с угловым шагом вокруг периферийной поверхности 58, а режущие пластины 10 установлены в шахматном порядке попарно, при этом одна из верхней или нижней опорных поверхностей каждой режущей пластины открыта в сторону направления вращения R. Первая режущая пластина 10′ данной пары режущих пластин имеет радиально и в осевом направлении наиболее удаленный первый выступ 28′, выходящий в осевом направлении, по крайней мере, частично за первую боковую поверхность 56′ корпуса 52. Вторая режущая пластина 10″ данной пары режущих пластин имеет радиально и в осевом направлении наиболее удаленный выступ 28″, выходящий в осевом направлении, по крайней мере, частично за вторую боковую поверхность 56″ корпуса 52. В основном, первый и второй выступы 28′ и 28″ выходят радиально, по крайней мере, частично из периферийной поверхности для установки режущих пластин 58.
Рассмотрим фиг.9, показывающую, как две режущие пластины 10′, 10″ фрезы 50 образуют требуемый профиль 60, 60′, 60″ на заготовке 62. Заготовка является кулачком кулачкового вала. На этой фигуре две режущие пластины 10′, 10″ показаны в положении взаимного наложения, при этом режущая пластина 10′, расположенная впереди второй режущей пластины 10″, показана сплошной линией, а вторая режущая пластина 10″ – пунктирной линией. Требуемый профиль заготовки включает центральный прямой участок 60 (периферийная поверхность кулачка) и два скошенных участка 60′, 60″ (фаски на периферийной поверхности) по одному на каждой стороне центрального участка 60. Первый скошенный участок 60′ образован первой вспомогательной режущей кромкой 32′, расположенной на первом выступе 28′ первой режущей пластины 10′, тогда как второй скошенный участок 60″ образован второй вспомогательной режущей кромкой 32″, расположенной на втором выступе 28″ второй режущей пластины 10″. Центральный прямой участок 60 образуется как первой главной режущей кромкой 30′ первой режущей пластины 10′, так и второй главной режущей кромкой 30″ второй режущей пластины 10″, которые, как видно, перекрываются. Поскольку первая главная режущая кромка 30′ первой пластины 10′ и вторая главная режущая кромка 30″ второй пластины 10″ перекрываются, они расположены на одном радиальном расстоянии от оси вращения.
Как можно видеть на фиг.8, то обстоятельство, что главная режущая кромка 30 (30′, 30″) наклонена, как описано выше, позволяет получить соответствующий осевой передний угол и избежать посредством этого необходимости расположения верхней поверхности 12 режущей пластины 10 под углом к оси вращения А. Следовательно, угловой шаг между соседними режущими пластинами может быть уменьшен, давая возможность увеличить хорошо известные преимущества мелкого шага во фрезах. При дальнейшем изучении становится ясным еще одно преимущество режущей пластины в соответствии с настоящим изобретением, заключающееся в возможности использования одних и тех же режущих пластин во фрезах различной ширины. Следовательно, путем регулировки осевого перекрытия режущих пластин может быть изменена длина центрального участка 60 на заготовке. Еще одним преимуществом настоящего изобретения является то, что во фрезе используются режущие пластины одного типа, которые могут быть индексированы восемь раз и могут быть использованы как праворежущие и как леворежущие в зависимости от установки во фрезе.
Как видно на фиг.7 и 8, режущая пластина 10 удерживается в гнезде под пластину 54 посредством клина 64, который взаимодействует с верхней опорной поверхностью 44 пластины 10. Клин перемещается в корпусе 52 фрезы 50 винтом 66. Пластина 10 заклинивается между клином 64 и опорной поверхностью 68 гнезда 54. Опорная поверхность 68 открыта в направлении вращения R. Как можно видеть, нижняя поверхность 14 пластины 10 взаимодействует с опорной поверхностью 68 на участке выступа 28 и угловой кромки 22, посредством чего воспринимаются силы резания, действующие на пластину 10 во время обработки фрезой 50. Как можно видеть на фиг.3, такое устройство становится возможным благодаря тому, что как угловые кромки 22, так и выступы имеют одну и ту же высоту Нmax, а также благодаря тому, что угловые кромки выполнены цилиндрическими по форме, что придает им большую поверхность, чем могла бы быть получена при формировании угловых кромок простым пересечением смежных главных боковых поверхностей 18.
Хотя настоящее изобретение было описано с определенной степенью подробности, следует отметить, что различные изменения могут быть сделаны без отхода от существа и объема притязаний изобретения, изложенных в формуле изобретения.
Формула изобретения
1. Индексируемая режущая пластина для фрезы, имеющая выполненные в основном квадратной формы верхнюю и нижнюю поверхности, четыре идентичные боковые поверхности, расположенные между верхней поверхностью и нижней поверхностью, два диаметрально противоположных выступа, выходящих в противоположные друг от друга стороны на виде сверху или снизу на режущую пластину, каждый выступ имеет периферийную боковую поверхность, включающую промежуточную боковую поверхность и две вспомогательные боковые поверхности, промежуточная боковая поверхность расположена между и плавно соединена с двумя вспомогательными боковыми поверхностями, при этом каждая боковая поверхность включает главную боковую поверхность, соединенную с примыкающей вспомогательной боковой поверхностью, смежные главные боковые поверхности соединены двумя диаметрально противоположными угловыми кромками режущей пластины, восемь идентичных главных режущих кромок, включающих четыре главные режущие кромки, образованные пересечением главных боковых поверхностей с верхней поверхностью, и четыре главные режущие кромки, образованные пересечением главных боковых поверхностей с нижней поверхностью, и восемь идентичных вспомогательных режущих кромок, включающих четыре вспомогательные режущие кромки, образованные пересечением вспомогательных боковых поверхностей с верхней поверхностью, и четыре вспомогательные режущие кромки, образованные пересечением вспомогательных боковых поверхностей с нижней поверхностью, при этом каждая вспомогательная режущая кромка соединена с примыкающей главной режущей кромкой.
2. Режущая пластина по п.1, в которой вспомогательные режущие кромки выполнены короче, чем главные режущие комки, и образуют с ними тупой угол на виде сверху или снизу на режущую пластину.
3. Режущая пластина по п.1, в которой каждая боковая поверхность выполнена с переменным размером по высоте.
4. Режущая пластина по п.3, в которой размер по высоте имеет минимальное значение на центральном участке боковой поверхности.
5. Режущая пластина по п.4, в которой размер по высоте монотонно уменьшается от максимального значения на наружном участке боковой поверхности до минимального значения на центральном участке.
6. Режущая пластина по п.1, в которой на верхней и нижней поверхностях выполнена стружечная канавка, прилегающая и расположенная вдоль главных и вспомогательных режущих кромок.
7. Режущая пластина по п.1, в которой на верхней поверхности выполнена верхняя опорная поверхность, расположенная в основном центрально по отношению к главным режущим кромкам, а на нижней поверхности выполнена нижняя опорная поверхность, расположенная в основном центрально по отношению к главным режущим кромкам и открытая в основном в противоположном направлении от верхней опорной поверхности.
8. Режущая пластина по п.7, в которой верхняя и нижняя опорные поверхности выполнены плоскими, параллельными и расположенными друг от друга на заданном расстоянии.
9. Режущая пластина по п.8, в которой заданное расстояние между верхней и нижней опорными поверхностями выполнено как минимум равным максимальному значению размера по высоте боковых поверхностей.
10. Режущая пластина по п.6, на которой выполнена фаска, расположенная от главных и вспомогательных режущих кромок к стружечной канавке.
11. Фреза, содержащая корпус, имеющий в основном форму круглого диска, и множество идентичных режущих пластин, установленных с возможностью замены в гнездах, корпус имеет две противоположно открытые в основном круглые боковые поверхности, соединенные периферийной поверхностью для установки режущих пластин, ось вращения, проходящую через боковые поверхности и определяющую направление вращения фрезы, гнезда под пластины расположены с угловым шагом вокруг периферийной поверхности для их установки, режущие пластины имеют выполненные в основном квадратной формы верхнюю и нижнюю поверхности, четыре идентичные боковые поверхности, расположенные между верхней поверхностью и нижней поверхностью, два диаметрально противоположных выступа, выходящих в противоположные друг от друга стороны на видах сверху или снизу на режущую пластину, каждый выступ имеет периферийную боковую поверхность, включающую промежуточную боковую поверхность и две вспомогательные боковые поверхности, промежуточная боковая поверхность расположена между и плавно соединена с двумя вспомогательными боковыми поверхностями, при этом каждая боковая поверхность включает главную боковую поверхность, соединенную с примыкающей вспомогательной боковой поверхностью, смежные главные боковые поверхности соединены двумя диаметрально противоположными угловыми кромками режущей пластины, восемь идентичных главных режущих кромок, образованных пересечением главных боковых поверхностей с верхней и нижней поверхностями, и восемь идентичных вспомогательных режущих кромок, образованных пересечением вспомогательных боковых поверхностей с верхней и нижней поверхностями, при этом каждая вспомогательная режущая кромка соединена с примыкающей главной режущей кромкой, режущие пластины расположены попарно в шахматном порядке, при этом верхняя или нижняя из опорных поверхностей каждой режущей пластины обращена в направлении вращения, первая режущая пластина данной пары режущих пластин имеет наиболее удаленный в радиальном и осевом направлении первый выступ, выходящий в осевом направлении, по крайней мере, частично за первую боковую поверхность корпуса, а вторая режущая пластина данной пары режущих пластин имеет наиболее удаленный от центра в радиальном и осевом направлении второй выступ, выходящий в осевом направлении, по крайней мере, частично за вторую боковую поверхность корпуса.
12. Фреза по п.11, в которой первая режущая пластина имеет первую главную режущую кромку, расположенную на заданном радиальном расстоянии от оси вращения, а вторая режущая пластина имеет вторую главную режущую кромку, расположенную на том же заданном радиальном расстоянии.
13. Фреза по п.12, в которой первый и второй выступы выходят в радиальном направлении, по крайней мере, частично за периферийную поверхность для установки режущих пластин.
РИСУНКИ
|
|