|
|
(21), (22) Заявка: 2004133695/15, 18.11.2004
(24) Дата начала отсчета срока действия патента:
18.11.2004
(46) Опубликовано: 27.02.2007
(56) Список документов, цитированных в отчете о поиске:
SU 1584990 A1, 15.08.1990. RU 2114689 C1, 10.07.1998. ЕР 0036067 А2, 23.09.1981. WO 00/56434 A1, 28.09.2000. GB 2075352 А, 18.11.1981.
Адрес для переписки:
392000, г.Тамбов, ул. Советская, 106, ТГТУ, Патентный отдел
|
(72) Автор(ы):
Червяков Виктор Михайлович (RU), Воробьев Юрий Валентинович (RU), Коптев Андрей Алексеевич (RU), Юдаев Василий Фёдорович (RU), Родионов Юрий Викторович (RU), Чичева-Филатова Людмила Валерьевна (RU), Алексеев Виктор Алексеевич (RU)
(73) Патентообладатель(и):
Государственное учреждение высшего профессионального образования “Тамбовский Государственный Технический Университет” (RU)
|
(54) РОТОРНЫЙ АППАРАТ
(57) Реферат:
Изобретение относится к устройствам для создания акустических колебаний в проточной жидкой среде и может быть использовано для проведения и интенсификации различных физико-химических, гидромеханических и тепломассообменных процессов в системах «жидкость-жидкость» и «твердое-жидкость». Техническая задача изобретения – интенсификация физико-химических, гидромеханических и тепломассообменных процессов. Роторный аппарат содержит корпус с патрубками входа и выхода среды, концентрично установленные в нем ротор и статор с каналами в боковых стенках, камеру озвучивания и привод. Во входном патрубке установлен конфузор. На внутренней торцовой поверхности ротора, напротив выхода конфузора находится вогнутый отражатель в виде лунки. 1 ил. 1 табл.
Изобретение относится к устройствам для создания акустических колебаний в проточной жидкой среде и может быть использовано для проведения и интенсификации различных физико-химических, гидродинамических и тепломассообменных процессов в системах «жидкость-жидкость» и «твердое-жидкость».
Известен роторный аппарат для обеспечения эффективности смешения сред непосредственно в полости ротора, содержащий корпус с входным и выходным патрубками, концентрично установленные в нем ротор и статор в боковых стенках, в котором ротор снабжен шипами в виде игл, равномерно расположенными на его внутренней торцовой поверхности (SU 1653816 А1, МКИ В 01 F 7/28, БИ21, 1991). Обрабатываемая среда, под давлением подаваемая в полость ротора, попадая на острия вращающихся игл, подвергается процессам диспергирования и перемешивания.
Недостатком данной конструкции является то, что диспергирование и смешение происходит только за счет механического воздействия игл на обрабатываемую среду в полости ротора, а это не позволяет получить, например, высокодисперсную эмульсию. Известно, что механическое воздействие всегда менее эффективно, чем кавитационное. Кроме того, следует отметить значительную трудоемкость при изготовлении ротора предложенной конструкции.
Наиболее близким к изобретению является роторный аппарат, содержащий корпус с входными и выходными патрубками, концентрично установленные в нем ротор и статор с отверстиями в боковых стенках, выпуклый рассекатель жидкости, установленный в полости ротора с зазором относительно его стенок и направленный выпуклостью входного патрубка, рабочую камеру и привод вращения ротора, причем выпуклый полый рассекатель имеет шлемообразную форму (SU 1584990 А1, МКИ В 01 F 7/26, БИ 30, 1990). Интенсификация технологического процесса осуществляется за счет дополнительных колебаний, вызванных кавитационными явлениями на шлемообразной поверхности рассекателя. Недостатком данного устройства является недостаточно интенсивная кавитация в зазоре между поверхностью рассекателя и внутренней поверхности ротора и, практически, отсутствие турбулентного перемешивания из-за плавной формы образующей поверхности рассекателя. Кроме того, не предусматривается синхронизация дополнительных колебаний и основных, генерируемых роторным аппаратом.
Техническая задача изобретения – интенсификация физико-химических, гидромеханических и тепломассообменных процессов.
Поставленная техническая задача изобретения достигается тем, что в роторном аппарате, содержащем корпус с патрубками входа и выхода среды, концентрично установленные в нем ротор и статор с каналами в боковых стенках цилиндров, камеру озвучивания и привод, во входном патрубке установлен конфузор, а на внутренней, торцовой поверхности ротора напротив выхода конфузора находится вогнутый отражатель в виде лунки.
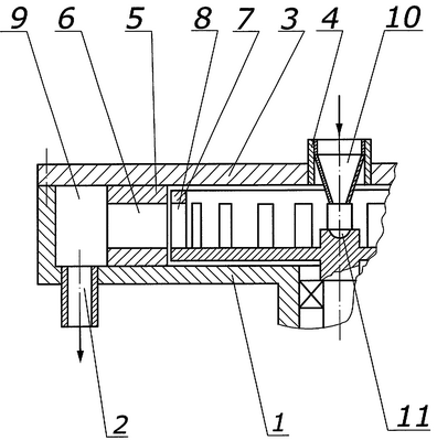
На схематичном чертеже изображен роторный аппарат, продольный разрез.
Роторный аппарат содержит корпус 1 с патрубком 2 выхода среды, крышку 3 с патрубком входа 4, статор 5 с каналами 6 в боковых стенках, ротор 7 с каналами в боковых стенках, камеру озвучивания 9, образованную корпусом 1, крышкой 3 и статором 5, конфузор 10 и отражатель 11. Аппарат работает следующим образом: обрабатываемая среда поступает под давлением в патрубок 4 и конфузор 10 в полость ротора 7, попадает на отражатель 11. Затем через каналы 8 ротора 7 и каналы 6 статора 5 проходят в камеру озвучивания 9 и выводятся из аппарата через патрубок 3.
Обрабатываемая среда, проходя конфузор, значительно увеличивает скорость истечения и, попадая на отражатель, расположенный на внутренней торцовой поверхности ротора, образует кавитационную полость между выходом конфузора и отражателем. Кавитационная полость пульсирует с определенной частотой и интенсивностью, определяемыми соотношениями между диаметром сопла и диаметром сопла при определенной форме отражающей поверхности. Наиболее экономически выгодна вогнутая форма отражателя в виде лунки (Ультразвук. Маленькая энциклопедия. Глав. ред. И.П.Галямина. – М.: Советская энциклопедия, 1979, с.80). Таким образом, обрабатываемая среда в полости ротора подвергается дополнительному акустическому воздействию при возникновении интенсивной кавитации. Одновременно в роторном аппарате генерируются акустические колебания, вызываемые периодически перекрываемыми каналами ротора и статора (основной тон). Частота этих колебаний зависит от угловой частоты вращения ротора и числа каналов в роторе и статоре. Если по известным методикам рассчитать диаметры конфузора и лунки, количество каналов в роторе и статоре, определить частоту вращения ротора так, что частота колебаний основного тона будет равна частоте колебания кавитационной полости между конфузором и отражателем, то возникнет явление резонанса. При этом повышается интенсивность излучения и его монохроматичность. Одновременно возрастает и интенсивность кавитации в полости ротора. Так как направление движения обрабатываемой среды резко изменяется после попадания ее на отражатель, то в полости ротора возникают интенсивные турбулентные потоки. Все указанные факторы позволяют значительно интенсифицировать процессы эмульгирования, диспергирования, растворения, экстракции и т.д. Следует отметить, что при приведении процесса эмульгирования одновременно с уменьшением времени приготовления эмульсии возрастает ее дисперсность, т.е. повышается качество готовой продукции.
К преимуществам предлагаемого конструктивного решения можно отнести то, что его можно использовать практически в любых подобных устройствах, с минимальными затратами на их модернизацию.
Для подтверждения эффективности предлагаемой конструкции проведены эксперименты по растворению хлорида натрия в воде. Сравнивались базовая конструкция роторного аппарата и модернизированная конструкция с соплом в виде конфузора во входном патрубке и вогнутым отражателем в виде лунки на торцовой поверхности ротора. Условие равенства частот основного тона роторного аппарата и колебаний кавитационной области между соплом и отражателем достигалось изменением частоты вращения ротора, с помощью двигателя постоянного тока. Режим резонанса определялся с помощью датчика из титаната бария по интенсивности кавитации – максимуму величины кавитационных импульсов давления. Эффективность аппарата оценивается временем достижения концентрации насыщения. Результаты исследований приведены в таблице.
| Таблица. |
| Конструкция роторного аппарата |
Базовая |
Предлагаемая, без резонанса |
Предлагаемая, с резонансом |
| Время достижения концентрации насыщения, С |
21 |
18 |
13 |
Опыты показывают, что при несоблюдении условий возникновений резонанса время достижения концентрации насыщения уменьшается приблизительно на 15%, а при возникновении резонанса приблизительно на 35%, т.е. в случае совпадения частоты, излучаемой роторным аппаратом, и частоты колебаний кавитационной полости между конфузором и отражателем в виде лунки происходит значительное увеличение скорости процесса растворения.
Формула изобретения
Роторный аппарат, содержащий корпус с патрубками входа и выхода среды, концентрично установленные в нем ротор и статор с каналами в боковых стенках цилиндров, камеру озвучивания, привод, отличающийся тем, что во входном патрубке установлен конфузор, а на внутренней торцовой поверхности ротора напротив выхода конфузора находится вогнутый отражатель в виде лунки.
РИСУНКИ
MM4A – Досрочное прекращение действия патента СССР или патента Российской Федерации на изобретение из-за неуплаты в установленный срок пошлины за поддержание патента в силе
Дата прекращения действия патента: 19.11.2006
Извещение опубликовано: 20.06.2008 БИ: 17/2008
|
|