|
|
(21), (22) Заявка: 2004100271/14, 05.06.2002
(24) Дата начала отсчета срока действия патента:
05.06.2002
(30) Конвенционный приоритет:
08.06.2001 (пп.1-12) US 60/297,001 31.12.2001 (пп.13-23) US 10/036,981 31.12.2002 (пп.13-23) US 10/038,970
(43) Дата публикации заявки: 10.06.2005
(46) Опубликовано: 27.02.2007
(56) Список документов, цитированных в отчете о поиске:
US 4595392 А, 17.06.1986. WO 98/29078 A, 09.07.1998. US 2682875 A, 06.07.1954. US 2328795 A, 07.09.1943. GB 2306888 A, 14.05.1997. RU 2122846 C1, 10.12.1998.
(85) Дата перевода заявки PCT на национальную фазу:
08.01.2002
(86) Заявка PCT:
US 02/18264 (05.06.2002)
(87) Публикация PCT:
WO 02/100311 (19.12.2002)
Адрес для переписки:
103064, Москва, ул. Казакова,16, НИИР Канцелярия “Патентные поверенные Квашнин, Сапельников и партнеры”, В.П.Квашнину
|
(72) Автор(ы):
ИДЕНС Роунелд Л. (US), ХЛЕБЕН Джеймс Дж. (US), КИЛИ Лора Дж. (US), КИНЕН Томас П. (US), ЛИТТЛ Сильвия Б. (US), МАКДЕНИЕЛ Мери Л. (US), НАНН Стивен Л. (US), РИВС Виллиам Джи. (US), СОРИБОУ Хитер А. (US), ВАЙНБЕРГ Сьюзен М. (US)
(73) Патентообладатель(и):
КИМБЕРЛИ-КЛАРК ВОРЛДВАЙД, ИНК. (US)
|
(54) ИНТЕРЛАБИАЛЬНАЯ ПРОКЛАДКА, СОДЕРЖАЩАЯ ЯЗЫЧОК (ВАРИАНТЫ)
(57) Реферат:
Изобретение относится к медицинским впитывающим изделиям, таким как лабиальная прокладка, которой придана конфигурация для размещения в преддверии влагалища женщины-пользователя. Женщины могут носить впитывающие изделие при менструациях, а также для защиты при недержании или для обеих целей, и оно содержит, по крайней мере, один язычок, выступающий из его периферийной части. Технический результат состоит в обеспечении простоты и гигиеничности размещения и удаления изделия. 2 н. и 21 з.п. ф-лы, 36 ил.
В целом настоящее изобретение относится к впитывающим изделиям, таким как лабиальные прокладки, которым придана конфигурация для размещения в преддверии влагалища женщины-пользователя. В частности, настоящее изобретение относится к лабиальным прокладкам, обладающим, по крайней мере, одним язычком, выступающим наружу из их периферийной части.
Разумеется, хорошо известно множество самых различных впитывающих изделий, предназначенных для впитывания экссудатов организма, таких как менструальные выделения. Для применения женщинами в гигиенических целях в данной области техники предлагаются два основных гигиенических средства защиты для женщин: гигиенические салфетки, разработанные для наружного ношения около половых органов, и тампоны, разработанные для размещения внутри влагалища и предотвращения вытекания из него менструальных выделений. Для женщин также предложены гигиенические средства защиты смешанного типа, в которых предпринята попытка в одном типе изделия совместить конструктивные особенности обоих типов, однако они не стали существенно более приемлемыми, поскольку соответствующие преимущества перевешиваются тем, что в большей степени сохраняются конструктивные и анатомические функциональные недостатки. Также были предложены другие, менее глубоко вставляющиеся внутрь изделия, известные как лабиальные или интерлабиальные изделия и характеризующиеся тем, что у них имеется участок, который, по крайней мере, частично размещается снаружи от преддверия влагалища пользователя.
Многие из этих изделий предшествующего уровня техники не полностью удовлетворяют потребность потребителя в еще меньших изделиях, которые женщины-пользователи могут носить между половыми губами. В ответ на это различные изготовители стали выпускать лабиальные прокладки, размер которых довольно мал по сравнению с размером описанных выше изделий предшествующего уровня техники. Однако конструкция многих из этих изделий, по-видимому, не соответствует наблюдающимся у женщин различиям в расположении входа во влагалище и отверстия мочеиспускательного канала в преддверии их влагалища. Например, в некоторых современных изделиях значительная часть впитывающего внутреннего элемента часто расположена в центре изделия, а на концах расположена менее значительная часть впитывающего внутреннего элемента. Такие изделия обеспечивают меньшую защиту широкому ряду женщин, у которых вход во влагалище и отверстие мочеиспускательного канала расположены не в центре преддверия их влагалища. В других изделиях впитывающий внутренний элемент, по-видимому, расположен равномерно по существу по длине изделия. Однако конструкция многих этих других изделий обычно не обеспечивает значительного улучшения соответствия формы индивидуальным особенностям пользователя и/или впитывающей способности.
Другим фактором, влияющим на приемлемость для потребителя, является легкость использования, включая размещение лабиальной прокладки в надлежащем положении и/или извлечение лабиальной прокладки. Обычно пользователь сжимает лабиальную прокладку своими пальцами и размещает лабиальную прокладку в надлежащем положении в преддверии своего влагалища. Пользователю также может потребоваться сжать лабиальную прокладку для извлечения, в частности, если она не была вытолкнута во время мочеиспускания. Размещение и/или извлечение обычных лабиальных прокладок часто сопровождается значительными затруднениями. Поэтому необходимы улучшенные средства, которые облегчат гигиеничное размещение лабиальной прокладки в надлежащем положении в преддверии влагалища, а также гигиеничное извлечение лабиальной прокладки из преддверия влагалища.
Краткое содержание изобретения
Авторы настоящего изобретения поняли недостатки и затруднения, присущие предшествующему уровню техники, и в соответствии с этим предприняли обширные исследования для разработки новейших лабиальных прокладок, соответствующих настоящему изобретению. При проведении своего исследования авторы настоящего изобретения также обнаружили, что, по крайней мере, один язычок, выступающий наружу из периферийной части лабиальной прокладки, улучшает возможность пользователя гигиенично и легко расположить лабиальную прокладку в преддверии влагалища и/или гигиенично и легко извлечь лабиальную прокладку из преддверия влагалища.
В одном из вариантов осуществления настоящего изобретения раскрыто впитывающее изделие, включающее влагопроницаемый закрывающий слой, влагонепроницаемый изолирующий слой и впитывающий материал. Предпочтительно, чтобы впитывающий материал располагался между закрывающим слоем и изолирующим слоем. Впитывающему изделию придана конфигурация для расположения в преддверии влагалища женщины-пользователя. Впитывающее изделие обладает главной продольной осью, главной поперечной осью, поверхностью, обращенной к телу, и поверхностью, противолежащей поверхности, обращенной к телу. Впитывающий материал обладает длиной, шириной, толщиной, первой и второй продольными сторонами, находящимися на расстоянии друг от друга, и первой и второй поперечными краевыми областями, находящимися на расстоянии друг от друга. Продольные стороны расположены между поперечными краевыми областями и совместно образуют периферию впитывающего изделия. По крайней мере, из одной продольной стороны впитывающего изделия наружу в боковом направлении выступает, по крайней мере, один язычок.
В другом варианте осуществления настоящего изобретения раскрыто впитывающее изделие, включающее влагонепроницаемый изолирующий слой и впитывающий материал. Впитывающему изделию придана конфигурация для расположения в преддверии влагалища женщины-пользователя. Впитывающее изделие обладает главной продольной осью, главной поперечной осью, поверхностью, обращенной к телу, и поверхностью, противолежащей поверхности, обращенной к телу. Впитывающий материал обладает длиной, шириной, толщиной, первой и второй продольными сторонами, находящимися на расстоянии друг от друга, и первой и второй поперечными краевыми областями, находящимися на расстоянии друг от друга. Продольные стороны расположены между поперечными концевыми частями и совместно образуют периферию впитывающего изделия. По крайней мере, из одной продольной стороны впитывающего изделия наружу в боковом направлении выступает, по крайней мере, один язычок.
В еще одном варианте осуществления настоящего изобретения раскрыто впитывающее изделие, включающее впитывающий материал. Впитывающему изделию придана конфигурация для расположения в преддверии влагалища женщины-пользователя. Впитывающее изделие обладает главной продольной осью, главной поперечной осью, поверхностью, обращенной к телу, и поверхностью, противолежащей поверхности, обращенной к телу. Впитывающий материал обладает длиной, шириной, толщиной, первой и второй продольными сторонами, находящимися на расстоянии друг от друга, и первой и второй поперечными краевыми областями, находящимися на расстоянии друг от друга. Продольные стороны расположены между поперечными краевыми областями и совместно образуют периферию впитывающего изделия. По крайней мере, из одной продольной стороны впитывающего изделия наружу в боковом направлении выступает, по крайней мере, один язычок.
В альтернативном варианте осуществления настоящего изобретения раскрыто впитывающее изделие, включающее влагопроницаемый закрывающий слой, влагонепроницаемый изолирующий слой и впитывающий материал. Предпочтительно, чтобы впитывающий материал располагался между закрывающим слоем и изолирующим слоем. Впитывающему изделию придана конфигурация для расположения в преддверии влагалища женщины-пользователя. Впитывающее изделие обладает главной продольной осью, главной поперечной осью, поверхностью, обращенной к телу, и поверхностью, противолежащей поверхности, обращенной к телу. Впитывающий материал обладает длиной, шириной, толщиной, первой и второй продольными сторонами, находящимися на расстоянии друг от друга, и первой и второй поперечными краевыми областями, находящимися на расстоянии друг от друга. Продольные стороны расположены между поперечными концевыми частями и совместно образуют периферию впитывающего изделия. Из периферии, по крайней мере, из одной поперечной краевой области впитывающего изделия наружу выступает, по крайней мере, один язычок.
В другом альтернативном варианте осуществления настоящего изобретения раскрыто впитывающее изделие, включающее влагонепроницаемый изолирующий слой и впитывающий материал. Впитывающему изделию придана конфигурация, предназначенная для расположения в преддверии влагалища женщины-пользователя. Впитывающее изделие обладает главной продольной осью, главной поперечной осью, поверхностью, обращенной к телу, и поверхностью, противолежащей поверхности, обращенной к телу. Впитывающий материал обладает длиной, шириной, толщиной, первой и второй продольными сторонами, находящимися на расстоянии друг от друга, и первой и второй поперечными краевыми областями, находящимися на расстоянии друг от друга. Продольные стороны расположены между поперечными концевыми частями и совместно образуют периферию впитывающего изделия. Из периферии, по крайней мере, из одной поперечной краевой области наружу выступает, по крайней мере, один язычок.
В еще одном альтернативном варианте осуществления настоящего изобретения раскрыто впитывающее изделие, включающее впитывающий материал. Впитывающему изделию придана конфигурация, предназначенная для расположения в преддверии влагалища женщины-пользователя. Впитывающее изделие обладает главной продольной осью, главной поперечной осью, поверхностью, обращенной к телу, и поверхностью, противолежащей поверхности, обращенной к телу. Впитывающий материал обладает длиной, шириной, толщиной, первой и второй продольными сторонами, находящимися на расстоянии друг от друга, и первой и второй поперечными краевыми областями, находящимися на расстоянии друг от друга. Продольные стороны расположены между поперечными краевыми областями и совместно образуют периферию впитывающего изделия. Из периферии, по крайней мере, из одной поперечной краевой области впитывающего изделия наружу выступает, по крайней мере, один язычок.
Чертежи
Указанные выше и другие особенности, характеристики и преимущества настоящего изобретения станут более понятными при рассмотрении последующего описания, прилагаемой формулы изобретения и чертежей, на которых изображено следующее:
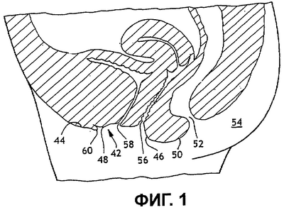
На ФИГ.1 представлен упрощенный анатомический поперечный разрез женщины, на котором показано окружение впитывающего изделия.
На ФИГ.2 представлен упрощенный анатомический поперечный разрез женщины, на котором показано расположение впитывающего изделия, находящегося в преддверии влагалища пользователя.
На ФИГ.3 представлен вид сверху, показывающий вариант впитывающего изделия.
На ФИГ.4 представлен поперечный разрез по линии 4-4 варианта осуществления, показанного на ФИГ.3.
На ФИГ.5 представлен поперечный разрез, показывающий другой вариант осуществления впитывающего изделия.
На ФИГ.6 представлен вид сверху, показывающий вариант осуществления, аналогичный представленному на ФИГ.3.
На ФИГ.7 представлен вид сверху, показывающий альтернативный вариант впитывающего изделия.
На ФИГ.8 представлен вид сверху, показывающий еще один вариант впитывающего изделия.
На ФИГ.9 представлен вид сверху, показывающий еще один вариант впитывающего изделия.
На ФИГ.10 представлен вид сверху, показывающий другой альтернативный вариант впитывающего изделия.
На ФИГ.11 представлен разрез, показывающий еще один альтернативный вариант впитывающего изделия.
На ФИГ.12 представлен поперечный разрез, показывающий по существу в сложенном виде вариант, представленный на ФИГ.11.
На ФИГ.13 в увеличенном виде представлен вариант впитывающего изделия, сложенного по существу вдоль главной оси.
На ФИГ.14 в увеличенном виде представлен вариант впитывающего изделия, сложенного по существу вдоль главной оси и сжатого пальцами пользователя для помещения в преддверие влагалища.
На ФИГ.15 представлен вариант впитывающего изделия, обладающего двумя язычками, выступающими наружу из каждой продольной стороны.
На ФИГ.16 представлен другой вариант впитывающего изделия, обладающего двумя язычками, выступающими наружу из каждой продольной стороны.
На ФИГ.17 представлен альтернативный вариант впитывающего изделия, обладающего двумя язычками, выступающими наружу из каждой продольной стороны.
На ФИГ.18 представлен другой вариант впитывающего изделия, обладающего двумя язычками, выступающими наружу из каждой продольной стороны.
На ФИГ.19 представлен еще один вариант впитывающего изделия, обладающего двумя язычками, выступающими наружу из каждой продольной стороны.
На ФИГ.20 представлен еще один вариант впитывающего изделия, обладающего двумя язычками, выступающими наружу из каждой продольной стороны.
На ФИГ.21 представлен другой вариант впитывающего изделия, обладающего двумя язычками, выступающими наружу из каждой продольной стороны.
На ФИГ.22 представлен поперечный разрез по линии 22-22 впитывающего изделия, показанного на ФИГ.21.
На ФИГ.23 представлен еще один вариант впитывающего изделия, обладающего двумя язычками, выступающими наружу из каждой продольной стороны.
На ФИГ.24 представлен разрез по линии 24-24 впитывающего изделия, показанного на ФИГ.23.
На ФИГ.25 представлен вариант впитывающего изделия, обладающего двумя язычками, выступающими наружу из каждой продольной стороны.
На ФИГ.26 представлен разрез по линии 26-26 впитывающего изделия, показанного на ФИГ.25.
На ФИГ.27 в увеличенном виде представлен вариант впитывающего изделия, сложенного по существу вдоль главной оси.
На ФИГ.28 в увеличенном виде представлен вариант впитывающего изделия, сложенного по существу вдоль главной оси и сжатого пальцами пользователя для помещения в преддверие влагалища.
На ФИГ.29 представлен альтернативный вариант впитывающего изделия, обладающего язычками, выступающими наружу из каждой поперечной краевой области.
На ФИГ.30 представлен другой вариант впитывающего изделия, обладающего язычками, выступающими наружу из каждой поперечной краевой области.
На ФИГ.31 представлен еще один вариант впитывающего изделия, обладающего язычками, выступающими наружу из каждой поперечной краевой области.
На ФИГ.32 представлен поперечный разрез по линии 32-32 впитывающего изделия, показанного на ФИГ.31.
На ФИГ.33 представлен еще один вариант впитывающего изделия, обладающего язычками, выступающими наружу из каждой поперечной краевой области.
На ФИГ.34 представлен поперечный разрез по линии 34-34 впитывающего изделия, показанного на ФИГ.33.
На ФИГ.35 представлен еще один вариант впитывающего изделия, обладающего язычками, выступающими наружу из каждой поперечной краевой области.
На ФИГ.36 представлен поперечный разрез по линии 36-36 впитывающего изделия, показанного на ФИГ.35.
Описание
На всех чертежах, т.е. на ФИГ. 1-36, одинаковые части обозначены одинаковыми числами. На ФИГ.2 схематично показано впитывающее изделие, такое как лабиальная прокладка, соответствующая настоящему изобретению, в целом обозначенная числом 40, расположенная в преддверии влагалища пользователя, которое целом обозначено числом 42 (см. также ФИГ.1). При использовании в настоящем изобретении термин “лабиальная прокладка” означает изделие, содержащее, по крайней мере, несколько впитывающих компонентов, которому придана специальная форма, предназначенная для того, чтобы при ношении женщиной-пользователем оно располагалась между большими половыми губами, по крайней мере, частично выступая в преддверие влагалища. В последующем описании преддверие влагалища (42) означает область, охватываемую половыми губами (на чертежах в настоящем изобретении специально не обозначены), начинающуюся приблизительно от точки, расположенной ниже передней спайки (44) половых губ, простирающейся назад к задней спайке (46) половых губ, и с внутренней стороны ограниченную дном (48) преддверия влагалища. Специалист в данной области техники полностью поймет, что у женщин относительный размер и форма больших и малых половых губ меняются в широких пределах, и они взаимосвязанно определяют форму преддверия влагалища (42). Однако для целей настоящего изобретения такие различия специально не рассматриваются, и считается, что в любом случае расположение впитывающего изделия (40), соответствующего настоящему изобретению, в преддверии влагалища (42) означает расположение между большими половыми губами, независимо от любых таких соображений относительно малых половых губ. Ниже преддверия влагалища (42) находится промежность (50), ведущая к заднему проходу (52), расположенному в области ягодиц (54). В самом преддверии влагалища (42) расположены основные мочеполовые органы, которые для задач настоящего изобретения состоят из входа во влагалище (56), отверстия мочеиспускательного канала (58) и клитора (60). С учетом приведенного выше упрощенного рассмотрения этой анатомической области и для упрощения настоящего описания преддверие влагалища (42) для удобства будет рассматриваться как область, расположенная между задней спайкой (46) половых губ и клитором (60). Для более подробного описания анатомии этой части тела женщины рекомендуется обратиться к книге Anatomy of the Human Body by Henry Gray, Thirtieth American Edition (Carmine D. Clemente ed., Lea & Febiger, 1985), pp.1571-1581.
Как можно видеть из анатомической структуры, представленной на ФИГ.1 и 2, впитывающее изделие (40), соответствующее настоящему изобретению, по крайней мере, частично расположено внутри преддверия влагалища (42), чтобы, по крайней мере, частично поглощать вытекающий из него поток жидкости. В связи с этим основное назначение впитывающего изделия (40) заключается в поглощении менструальных выделений, вытекающих из входа во влагалище (56); однако впитывающее изделие, соответствующее настоящему изобретению, в равной степени пригодно для использования в качестве изделия для страдающих недержанием, впитывающего мочу, выделяющуюся при слабом недержании у женщин.
Впитывающее изделие (40), соответствующее настоящему изобретению, вариант осуществления которого представлен на ФИГ.3, обладает главной продольной осью (L), которая в основном ориентирована в направлении х. При использовании в настоящем изобретении термин “продольная” относится к линии, оси или направлению в плоскости впитывающего изделия (40), которое в целом расположено соосно (т.е. приблизительно параллельно) с вертикальной плоскостью, разделяющей на левую и правую половины тело стоящей женщины при использовании впитывающего изделия. Продольное направление на ФИГ.3 в целом показано осью х. Впитывающее изделие (40) также обладает главной поперечной осью (Т). При использовании в настоящем изобретении термин “поперечная”, “боковая” и “направление у” относится к линии, оси или направлению, которое в целом перпендикулярно продольному направлению. Поперечное направление на ФИГ.3 в целом показано осью у. “Направление z” обычно представляет собой линию, ось или направление, в целом параллельное описанной выше вертикальной плоскости. Направление z на ФИГ.3 в целом показано осью z. Термин “верхний” обычно относится к ориентации по направлению к голове пользователя, тогда как термин “нижний” или “вниз” обычно относится к ориентации по направлению к ногам пользователя. Для целей проводимого в настоящем изобретении обсуждения каждый слой впитывающего изделия (40), например, влагопроницаемый закрывающий слой (62), влагонепроницаемый изолирующий слой (64) и/или впитывающий материал (66) обладает верхней, или обращенной к телу поверхностью, и нижней поверхностью, также описываемой, как поверхность, противолежащая верхней, или обращенной к телу поверхности.
Обратимся к ФИГ.5, на котором впитывающее изделие (40) представлено, как включающее влагопроницаемый закрывающий слой (62), влагонепроницаемый изолирующий слой (64) и впитывающий материал (66), расположенный между закрывающим слоем и разделительным слоем. Как показано на ФИГ.6, впитывающий материал (66) обладает первой концевой частью (70), второй концевой частью (72) и центральной частью (74), расположенной между обеими концевыми частями. Впитывающее изделие (40) должно обладать подходящими размером и формой, которые приводят к расположению, по крайней мере, части впитывающего изделия в преддверии влагалища (42) пользователя. Кроме того, предпочтительно, чтобы впитывающее изделие (40), по крайней мере, частично поглощало и препятствовало вытеканию менструальных выделений, мочи или других жидкостей организма из входа во влагалище (56) женщины и/или отверстия мочеиспускательного канала (58).
Впитывающий материал (66) и тем самым впитывающее изделие (40) обычно обладает геометрической структурой, ограниченной находящимися на расстоянии друг от друга первым (76) и вторым (78) поперечными краевыми областями. Для полного описания геометрической структуры следует отметить, что впитывающий материал (66) и тем самым впитывающее изделие (40) также включают находящиеся на расстоянии друг от друга первую (80) и вторую (82) продольные стороны, расположенные между поперечными краевыми областями (76, 78), которые в настоящем изобретении иногда совместно называются наружными сторонами (т.е. образующими периферию).
Геометрическая структура впитывающего материала (66) является важным фактором, влияющим на общий размер и эффективность впитывающего изделия (40). Обычно впитывающий материал (66) обладает максимальной шириной (Wmax), измеренной вдоль линии, расположенной в целом параллельно главной поперечной оси (Т) и идущей от одной продольной стороны до противолежащей продольной стороны (80, 82), и минимальной шириной (Wmin), измеренной вдоль линии, также расположенной в целом параллельно главной поперечной оси (Т) и идущей от одной продольной стороны до противолежащей продольной стороны (80, 82). Максимальная ширина (Wmax) впитывающего материала (66) обычно составляет не более около 30; альтернативно – не более около 40; альтернативно – не более около 50; альтернативно – не более около 60; или альтернативно – не более около 70 мм. Минимальная ширина (Wmin) впитывающего материала (66) обычно составляет не менее около 30; альтернативно – не менее около 20; альтернативно – не менее около 10; или альтернативно – не менее около 5 мм. Таким образом, впитывающий материал может обладать шириной, составляющей от не менее около 5 мм до не более около 70 мм; хотя приближенная ширина (ширины) впитывающего материала может меняться, в частности, в соответствии с общей конструкцией и предполагаемым расположением впитывающего изделия (40) в преддверии влагалища (42) женщины-пользователя. Специалист в данной области техники легко поймет, что некоторые варианты осуществления впитывающего материала (66), соответствующего настоящему изобретению, а тем самым и некоторые варианты осуществления впитывающего изделия (40), соответствующего настоящему изобретению, могут обладать минимальной шириной (Wmin), равной их максимальной ширине (Wmax). В таких случаях обычно указывается только максимальная длина (Wmax).
Впитывающий материал (66) также обладает максимальной длиной (Lmax), измеренной вдоль линии, расположенной в целом параллельно главной продольной оси (L) и идущей от одной поперечной краевой области до другой поперечной краевой области (76, 78). Максимальная длина (Lmax) впитывающего материала (66) обычно составляет не более около 40; альтернативно – не более около 50; альтернативно – не более около 60; альтернативно – не более около 70; альтернативно – не более около 80; альтернативно – не более около 90; или альтернативно – не более около 100 мм. Впитывающий материал (66) также может обладать минимальной длиной (Lmin), также измеренной вдоль линии, расположенной в целом параллельно главной продольной оси (L) и идущей от одной поперечной краевой области до другой поперечной краевой области (76, 78). Минимальная длина (Lmin) впитывающего материала (66) обычно составляет не менее около 100; альтернативно – не менее около 90; альтернативно – не менее около 80; альтернативно – не менее около 70; альтернативно – не менее около 60; альтернативно – не менее около 50; или альтернативно – не менее около 40 мм. Таким образом, впитывающий материал (66) может обладать длиной, составляющей от не менее около 40 мм до не более около 100 мм; хотя приближенная длина (длины) впитывающего материала может меняться, в частности, в соответствии с общей конструкцией и предполагаемым расположением впитывающего изделия (40) в преддверии влагалища (42) женщины-пользователя. Специалист в данной области техники легко поймет, что некоторые варианты осуществления впитывающего материала (66), соответствующего настоящему изобретению, а тем самым и некоторые варианты осуществления впитывающего изделия (40), соответствующего настоящему изобретению, могут обладать минимальной длиной (Lmin), равной их максимальной длине (Lmax). В таких случаях, как показано, по меньшей мере, на ФИГ.6, 8 и 9, обычно указывается только максимальная длина (Lmax). Варианты осуществления впитывающего материала (66), а тем самым и варианты осуществления впитывающего изделия (40), обладающие максимальной длиной (Lmax), не равной их минимальной длине (Lmin), показаны, по меньшей мере, на ФИГ.7 и 10.
И первая концевая часть (70), и вторая концевая часть (72) каждая минимально вытянуты наружу от центральной части (74) по направлению к поперечным краевым областям (76, 78) впитывающего материала (66) на расстояние, равное не менее около 30; альтернативно – не менее около 20; или альтернативно – не менее около 10% от максимальной длины (Lmax) впитывающего материала. И первая концевая часть (70), и вторая концевая часть (72) минимально вытянуты наружу от центральной части (74) по направлению к поперечным краевым областям (76, 78) впитывающего материала (66) на расстояние, равное не более около 20; альтернативно – не более около 30; или альтернативно – не более около 40% от максимальной длины (Lmax) впитывающего материала. Таким образом, концевые части (70, 72) могут занимать от минимально около 20% до максимально около 80% от максимальной длины (Lmax) впитывающего материала (66); хотя приближенный размер первой и второй концевых частей может меняться, в частности, в соответствии с общей конструкцией и предполагаемым расположением впитывающего изделия (40) в преддверии влагалища (42) женщины-пользователя.
Предпочтительно, чтобы впитывающее изделие (40) обладало достаточной способностью впитывать и удерживать предполагаемые количество и тип экссудата (экссудатов) организма. Впитывающая способность обеспечивается удерживающим жидкость впитывающим слоем, или впитывающим материалом, в целом обозначаемым числом 66. Предпочтительно, чтобы, по крайней мере, для менструальных выделений впитывающий материал (66) обладал минимальной впитывающей способностью, равной не менее около 19; альтернативно – не менее около 18; альтернативно – не менее около 17; альтернативно – не менее около 16; альтернативно – не менее около 15; альтернативно – не менее около 14; альтернативно – не менее около 13; альтернативно – не менее около 12; альтернативно – не менее около 11; альтернативно – не менее около 10; альтернативно – не менее около 9; альтернативно – не менее около 8; альтернативно – не менее около 7; альтернативно – не менее около 6; альтернативно – не менее около 5; альтернативно – не менее около 4; альтернативно – не менее около 3; альтернативно – не менее около 2; или альтернативно – не менее около 1 г/г. Впитывающий материал (66) также может обладать максимальной впитывающей способностью, равной не более около 5; альтернативно – не более около 6; альтернативно – не более около 7; альтернативно – не более около 8; альтернативно – не более около 9; альтернативно – не более около 10; альтернативно – не более около 11; альтернативно – не более около 12; альтернативно – не более около 13; альтернативно – не более около 14; альтернативно – не более около 15; альтернативно – не более около 16; альтернативно – не более около 17; альтернативно – не более около 18; альтернативно – не более около 19; альтернативно – не более около 20; альтернативно – не более около 25; или альтернативно – не более около 30 г/г. Таким образом, впитывающий материал (66) может обладать впитывающей способностью, составляющей от не менее около 1 г/г до не более около 30 г/г; хотя приближенная впитывающая способность впитывающего материала может меняться, в частности, в соответствии с общей конструкцией и предполагаемым расположением впитывающего изделия (40) в преддверии влагалища (42) женщины-пользователя. Специалист в данной области техники легко поймет, что прибавление к впитывающему материалу (66) супервпитывающего полимера (полимеров), такого как, например, описанный в европейской патентной заявке ЕР 0532002 или в патенте США US 4699823, или прибавление супервпитывающего полимера (полимеров) с покрытием обычно будет приводить к значительному увеличению впитывающей способности.
Если рассмотреть отдельные элементы более подробно, то впитывающий материал (66) обладает верхней, или обращенной к телу поверхностью, и нижней поверхностью (или поверхностью, противолежащей по отношению к поверхности, обращенной к телу) и может включать любой материал, способный впитывать и/или адсорбировать и тем самым удерживать необходимый экссудат (необходимые экссудаты) организма. Подходящие материалы также обычно являются гидрофильными, сжимаемыми и принимающими форму тела. Впитывающий материал (66) можно сформировать из любых материалов, хорошо известных специалистам в данной области техники. Примеры таких материалов включают (без наложения ограничений) различные натуральные и синтетические волокна, многослойный крепированный целлюлозный ватин, распушенные целлюлозные волокна, искусственный шелк и другие материалы из регенерированной целлюлозы, волокна из древесной пульпы и измельченные волокна из древесной пульпы, материалы, полученные аэродинамическим способом, текстильные волокна, смесь полиэфирных и полипропиленовых волокон, впитывающие пеноматериалы, впитывающие поропласты, супервпитывающие полимеры, супервпитывающие полимеры с покрытием, впитывающие пучки и комки и любые эквивалентные материалы и комбинации материалов. Для использования также пригоден гидрофобный материал, которому придана гидрофильность с помощью любого из целого ряда известных и применимых для этого способов. Однако полная впитывающая способность впитывающего материала (66) должна быть согласована с предполагаемым количеством поступающего экссудата и назначением впитывающего изделия (40). Кроме того, размер и впитывающая способность впитывающего материала (66) могут меняться. Поэтому размер, форма и конфигурация впитывающего материала (66) могут меняться (например, впитывающий материал может обладать разной толщиной, как это показано, по крайней мере, на ФИГ.11 и 12, или обладать градиентом гидрофильности, или может содержать супервпитывающий полимер(ы) и т.п.).
Впитывающий материал (66) в целом обладает толщиной, калибром или высотой (Н), как показано, по крайней мере, на ФИГ.4, измеряемой вдоль линии, обычно расположенной параллельно оси z. Минимальная толщина впитывающего материала (66) обычно составляет не менее около 9; альтернативно – не менее около 8; альтернативно – не менее около 7; альтернативно – не менее около 6; альтернативно – не менее около 5; альтернативно – не менее около 4; альтернативно – не менее около 3; альтернативно – не менее около 2; альтернативно – не менее около 1; или альтернативно – не менее около 0,5 мм. Максимальная толщина впитывающего материала (66) обычно составляет не более около 2; альтернативно – не более около 3; альтернативно – не более около 4; альтернативно – не более около 5; альтернативно – не более около 6; альтернативно – не более около 7; альтернативно – не более около 8; альтернативно – не более около 9; или альтернативно – не более около 10 мм. Таким образом, впитывающий материал может обладать толщиной, равной около 10 мм или менее; хотя приближенная толщина впитывающего материала может меняться, в частности, в соответствии с общей конструкцией и предполагаемым расположением впитывающего изделия (40) в преддверии влагалища (42) женщины-пользователя.
Впитывающий материал (66) также обладает относительно низкой плотностью, которая представляется желательной для создания комфорта. Обычно впитывающий материал (66) обладает плотностью, равной менее около 0,5 г/см3. Другими словами, впитывающий материал (66) обычно обладает максимальной плотностью, не превышающей около 0,5; альтернативно – не более около 0,4; альтернативно – не более около 0,3; альтернативно – не более около 0,2; альтернативно – не более около 0,1; альтернативно – не более около 0,09; альтернативно – не более около 0,08; альтернативно – не более около 0,07; альтернативно – не более около 0,06; альтернативно – не более около 0,05; альтернативно – не более около 0,04; альтернативно – не более около 0,03; или альтернативно – не более около 0,02 г/см3. Обычно впитывающий материал (66) обладает минимальной плотностью, равной не менее около 0,01; альтернативно – не менее около 0,02; альтернативно – не менее около 0,03; альтернативно – не менее около 0,04; альтернативно – не менее около 0,05; альтернативно – не менее около 0,06; альтернативно – не менее около 0,07; альтернативно – не менее около 0,08; альтернативно – не менее около 0,09; альтернативно – не менее около 0,1; альтернативно – не менее около 0,2; альтернативно – не менее около 0,3; или альтернативно – не менее около 0,4 г/см3. Таким образом, плотность впитывающего материала (66) может достигать около 0,5 г/см3; хотя приближенная плотность впитывающего материала может меняться, в частности, в соответствии с общей конструкцией и предполагаемым расположением впитывающего изделия (40) в преддверии влагалища (42) женщины-пользователя.
Также желательно, чтобы впитывающий материал (66) обладал массой единицы площади, равной менее около 600 граммов на квадратный метр (г/м2). Другими словами, впитывающий материал (66) обычно обладает максимальной массой единицы площади, не превышающей около 600; альтернативно – не более около 500; альтернативно – не более около 400; альтернативно – не более около 300; альтернативно – не более около 200; или альтернативно – не более около 100 г/м2. Обычно впитывающий материал (66) обладает минимальной массой единицы площади, равной не менее около 0,1; альтернативно – не менее около 50; альтернативно – не менее около 100; альтернативно – не менее около 150; альтернативно – не менее около 200; альтернативно – не менее около 250; альтернативно – не менее около 300; альтернативно – не менее около 350; альтернативно – не менее около 400; альтернативно – не менее около 450; альтернативно – не менее около 500; или альтернативно – не менее около 550 г/м2. Таким образом, впитывающий материал (66) может обладать массой единицы площади, равной около 600 г/м2 или менее; однако приближенная масса единицы площади впитывающего материала может меняться, в частности, в соответствии с общей конструкцией и предполагаемым расположением впитывающего изделия (40) в преддверии влагалища (42) женщины-пользователя. Конкретным примером подходящего впитывающего материала будет материал, аналогичный совместно сформованному материалу, изготовленному из смеси полипропиленовых и целлюлозных волокон и использующемуся в прокладках для трусов КОТЕХ® макси, выпускающихся компанией Kimberly-Clark Corporation, Neenah, WI, USA.
Необязательный изолирующий слой (64) обычно находится на нижней поверхности впитывающего материала (66) и может быть изготовлен из любого желательного материала, который является влагонепроницаемым. Предпочтительно, чтобы изолирующий слой (64) допускал прохождение воздуха и паров воды из впитывающего материала (66), но блокировал прохождение жидкости (жидкостей) организма. Примером подходящего материала изолирующего слоя является микротисненая полимерная пленка, такая как полиэтиленовая, полипропиленовая или полиэфирная, обладающая минимальной толщиной, равной не менее около 0,025 мм, и максимальной толщиной, равной не более около 0,13 мм. Также можно использовать двухкомпонентную пленку, а также тканые и нетканые материалы, которые были обработаны для придания им влагонепроницаемости. Примером другого подходящего материала является полимерный пеноматериал с закрытыми порами. Также может быть подходящим полиэтиленовый пеноматериал с закрытыми порами.
Изолирующий слой (64) может быть прикреплен к впитывающему материалу (66) путем связывания всех соседних поверхностей или их участков друг с другом. Для такого прикрепления можно использовать множество способов связывания, известных специалисту в данной области техники. Примеры таких способов включают (без наложения ограничений) ультразвуковое, термическое связывание или нанесение различных клеевых узоров между двумя связываемыми слоями. Конкретным примером материала изолирующего слоя будет материал, аналогичный полиэтиленовой пленке, использующейся в прокладках для трусов КОТЕХ®, выпускающихся компанией Pliant Corporation, Schaumburg, IL, USA.
Необязательный влагопроницаемый закрывающий слой (62) обладает верхней поверхностью и нижней поверхностью, причем верхняя поверхность обычно соприкасается с телом пользователя и принимает экссудат(ы) организма. Предпочтительно, чтобы закрывающий слой (62) был изготовлен из материала, который является эластичным и не раздражает ткани преддверии влагалища (42) женщины-пользователя. При использовании в настоящем изобретении термин “эластичные” означает материалы, которые являются податливыми и хорошо прилегают к поверхности (поверхностям) тела или легко деформируются при воздействии внешних сил.
Закрывающий слой (62) используется для обеспечения комфорта и прилегания к телу, и его назначение заключается в перемещении экссудата (экссудатов) в сторону от тела и по направлению к впитывающему материалу (66). Закрывающий слой (62) не должен удерживать жидкость в своей структуре или должен удерживать небольшое количество жидкости, так чтобы он образовывал относительно удобную и не оказывающую раздражающего воздействия поверхность рядом с тканями преддверия влагалища (42) женщины-пользователя. Закрывающий слой (62) может быть изготовлен из любого тканого или нетканого материала, в который легко проникают жидкости организма, соприкасающиеся с его поверхностью. Примеры подходящих материалов включают искусственный шелк, материал из кардного прочеса полиэфирных, полипропиленовых, полиэтиленовых, нейлоновых или других термически связывающихся волокон, также подходящими являются полиолефины, такие как сополимеры пропилена и этилена, линейный полиэтилен низкой плотности, алифатические сложные эфиры, такие как полиэфиры молочной кислоты, полотна из перфорированной пленки с мелкими отверстиями и сетчатый материал. Конкретным примером подходящего закрывающего материала будет материал, аналогичный нетканому материалу из кардного прочеса, изготовленному из полипропилена и полиэтилена, использующемуся в качестве закрывающего слоя в прокладках для трусов КОТЕХ®, выпускающихся компанией Sander Corporation, Germany. Другими примерами подходящих материалов являются композиционные материалы, состоящие из полимеров и нетканых материалов. Композиционные материалы обычно представляют собой связанные листы, обычно формируемые путем экструзии полимера на нетканый материал фильерного способа производства. Влагопроницаемый закрывающий слой (62) также может содержать множество сформированных в нем отверстий (не показаны), которые предназначены для увеличения скорости, с которой жидкость (жидкости) организма может проникать во впитывающий материал (66).
Для использования также пригоден физиологически влажный закрывающий материал. При использовании в настоящем изобретении термин “физиологически влажный” означает закрывающий материал, который при размещении в области преддверия влагалища сохраняет относительно влажную поверхность раздела между тканями преддверия влагалища (42) и впитывающим изделием (40); он обеспечивает необходимый комфорт при размещении тканей или тканеподобных структур в среде влажных тканей преддверия влагалища с учетом того вполне самоочевидного фактора, что впитывающее изделие принимает жидкость (жидкости) организма, проходящую через преддверие влагалища, и должен пропускать ее во впитывающий материал (66). Таким образом, не являясь до использования “влажным” в классическом смысле этого слова (в том смысле, что закрывающий слой в этот момент может быть сухим), закрывающий слой (62) поддерживает (или, по меньшей мере, не препятствует поддерживанию) надлежащий уровень или баланс влажности в преддверии влагалища (42).
Закрывающий слой (62) также может включать, по крайней мере, часть поверхности, обработанной поверхностно-активным веществом для того, чтобы сделать закрывающий слой более гидрофильным. Это приводит к обеспечению более легкого проникновения жидкости (жидкостей) организма через закрывающий слой (62). Поверхностно-активное вещество также может уменьшить вероятность того, что вытекающая жидкость (жидкости) организма, такая как менструальные выделения, стечет с закрывающего слоя (62), а не впитается во впитывающий материал (66). В одном пригодном способе обеспечивается по существу равномерное распределение поверхностно-активного вещества, по крайней мере, по части наружной поверхности закрывающего слоя (62), которая покрывает верхнюю поверхность впитывающего материала (66).
Закрывающий слой (62) можно прикрепить к впитывающему материалу (66) путем связывания друг с другом всех соседних поверхностей или их части. Для обеспечения связывания можно использовать множество способов связывания, известных специалисту в данной области техники. Примеры таких способов включают (без наложения ограничений) нанесение различных клеевых узоров между двумя соседними поверхностями, переплетение, по крайней мере, части соседней поверхности впитывающего материала с частями соседней поверхности закрывающего слоя или сплавление, по крайней мере, части соседней поверхности закрывающего слоя с частями соседней поверхности впитывающего материала.
Закрывающий слой (62) обычно располагается на верхней поверхности впитывающего материала (66), но альтернативно он может окружать и полностью или частично закрывать впитывающий материал. Альтернативно, закрывающий слой (62) и изолирующий слой (64) могут обладать периферийными частями, которые выходят за пределы периферии впитывающего материала (66) и на периферии могут быть связаны друг с другом с образованием кромки (84), как показано, по крайней мере, на ФИГ.5. Путем применения известных способов, таких как, например, склеивание, гофрирование, отверждение при нагревании и т.п., можно сформировать или полную кромку (84), так чтобы весь контур впитывающего материала (66) был окружен связанной кромкой, или же закрывающий слой (62) и изолирующий слой (64) можно связать по контуру лишь частично. Для сведения к минимуму возможность возникновения раздражения и/или дискомфорта для пользователя впитывающего изделия (40) предпочтительно, чтобы кромка (84) и, по крайней мере, часть впитывающего изделия, непосредственно примыкающая к кромке, была мягкой, сжимающейся и принимающей форму тела. Предпочтительно, чтобы любая сформированная таким способом кромка (84) обладала шириной, равной не более около 10; альтернативно – не более около 9; альтернативно – не более около 8; альтернативно – не более около 7; альтернативно – не более около 6; альтернативно – не более около 5; альтернативно – не более около 4; альтернативно – не более около 3; альтернативно – не более около 2; или альтернативно – не более около 1 мм. Кроме того, предпочтительно, чтобы любая сформированная таким способом кромка (84) обладала шириной, равной не менее около 0,5; альтернативно – не менее около 1; альтернативно – не менее около 2; альтернативно – не менее около 3; альтернативно – не менее около 4; альтернативно – не менее около 5; альтернативно – не менее около 6; альтернативно – не менее около 7; альтернативно – не менее около 8; или альтернативно – не менее около 9 мм. Таким образом, любая сформированная таким способом кромка (84) может обладать шириной, составляющей от не менее около 0,5 мм до не более около 10 мм; хотя приближенная ширина любой кромки может меняться, в частности, в соответствии с общей конструкцией и предполагаемым расположением впитывающего изделия (40) в преддверии влагалища (42) женщины-пользователя. В другом варианте осуществления закрывающий слой (62) и/или изолирующий слой (64) могут обладать периферийными частями, которые примыкают к периферийной части впитывающего материала (66).
Линия, расположенная на главной продольной оси (L) впитывающего материала (66) или в основном параллельно ей, необязательно является предпочтительной осью складывания (F). Предпочтительная ось складывания (F) обычно ориентирована в продольном направлении, т.е. в направлении оси х и может быть смещена от главной продольной оси (L) на расстояние, составляющее не более около 10; альтернативно – не более около 9; альтернативно – не более около 8; альтернативно – не более около 7; альтернативно – не более около 6; альтернативно – не более около 5; альтернативно – не более около 4; альтернативно – не более около 3; альтернативно – не более около 2; или альтернативно – не более около 1 мм. Предпочтительно, чтобы предпочтительная ось складывания (F) была ориентирована в направлении главной продольной оси (L). Предпочтительная ось складывания (F) обычно обладает в продольном направлении длиной, равной не менее около 90; альтернативно – не менее около 80; альтернативно – не менее около 70; альтернативно – не менее около 60; альтернативно – не менее около 50; или альтернативно – не менее около 40% от максимальной длины (Lmax) впитывающего материала (66). Предпочтительная ось складывания (F) обычно обладает в продольном направлении длиной, равной не более около 50; альтернативно – не более около 60; альтернативно – не более около 70; альтернативно – не более около 80; альтернативно – не более около 90; или альтернативно – не более около 100% от максимальной длины (Lmax) впитывающего материала (66). Предпочтительная ось складывания (F) может являться естественным следствием размеров, формы и/или конфигурации впитывающего материала (66) или во впитывающем материале могут быть созданы менее прочные оси или участок для формирования предпочтительной оси складывания. Предпочтительная ось складывания (F) также может быть сформирована любым из способов, известных специалисту в данной области техники, включая, например, надрезание, предварительное складывание, тиснение и т.п. Хотя в настоящем изобретении предпочтительная ось складывания (F) описана как находящаяся на впитывающем материале (66), специалист в данной области техники легко поймет, что предпочтительная ось складывания может быть сформирована на закрывающем слое (62), на изолирующем слое (64) и/или на впитывающем материале; на закрывающем слое и впитывающем материале; или на изолирующем слое и впитывающем материале. Предпочтительная ось складывания (F), если она имеется, обычно позволяет впитывающему изделию (40) легче складываться перед размещением в преддверии влагалища (42) женщины-пользователя.
Впитывающее изделие (40) также обладает толщиной, калибром или высотой (Н), как показано, по крайней мере, на ФИГ.4 и 5, измеряемой вдоль линии, обычно расположенной параллельно оси z. Минимальная толщина впитывающего изделия (40) обычно составляет не менее около 9; альтернативно – не менее около 8; альтернативно – не менее около 7; альтернативно – не менее около 6; альтернативно – не менее около 5; альтернативно – не менее около 4; альтернативно – не менее около 3; альтернативно – не менее около 2; альтернативно – не менее около 1; или альтернативно – не менее около 0,5 мм. Максимальная толщина впитывающего изделия (40) обычно составляет не более около 1; альтернативно – не более около 2; альтернативно – не более около 3; альтернативно – не более около 4; альтернативно – не более около 5; альтернативно – не более около 6; альтернативно – не более около 7; альтернативно – не более около 8; альтернативно – не более около 9; или альтернативно – не более около 10 мм. Таким образом, впитывающее изделие может обладать толщиной, равной около 10 мм или менее; хотя приближенная толщина впитывающего материала может меняться, в частности, в соответствии с общей конструкцией и предполагаемым расположением впитывающего изделия в преддверии влагалища (42) женщины-пользователя.
Продольная сторона (стороны)
До размещения в преддверии влагалища (42) женщины-пользователя впитывающее изделие (40) обычно складывается вдоль оси, находящейся на главной продольной оси (L) или расположенной параллельно ей, как это показано, по крайней мере, на ФИГ.12, 13 и 14. При складывании вдоль такой оси впитывающее изделие (40) будет образовывать углубление (92), которое защищает палец (пальцы) пользователя от загрязнения при размещении впитывающего изделия в преддверие влагалища (42). После внесения впитывающее изделие (40) может обладать склонностью развернуться в попытке заполнить преддверие влагалища и тем самым обеспечить соприкосновение верхней поверхности впитывающего изделия с тканями преддверия влагалища (42). Впитывающее изделие (40) можно упруго сжать вдоль оси, по которой оно складывается, для усиления склонности впитывающего изделия к развертыванию. Альтернативно, впитывающий материал (66) впитывающего изделия (40) может быть толще вдоль своих продольных краев, как показано, по крайней мере, на ФИГ.1 и 12, и таким образом при необходимости продемонстрировать эффект сжатия, что обычно предназначено для обеспечения соприкосновения верхней поверхности впитывающего изделия (40) с тканями преддверия влагалища (42). Однако для обеспечения соприкосновения впитывающего изделия (40), сконструированного так, как это описано в настоящем изобретении, с тканями преддверия влагалища (42) женщины-пользователя какие-либо дополнительные особенности не обязательны. Естественно влажные поверхности тканей преддверия влагалища (42) обычно проявляют склонность к обеспечению соприкосновения с верхней поверхностью впитывающего изделия (40).
Как отмечено выше, пользователь может сложить впитывающее изделие (40) вдоль оси, находящейся на главной продольной оси (L) или расположенной параллельно ей, до размещения в преддверие влагалища (42). Затем пользователь может удерживать впитывающее изделие (40) вблизи продольных сторон, как это показано, по крайней мере, на ФИГ.14. После этого пользователь может расположить впитывающее изделие (40) в преддверии влагалища (42), оказав нажим пальцем или пальцами, находящимися в углублении (92), образованном в сложенном впитывающем изделии.
Для использования со впитывающими изделиями, описанными в настоящем изобретении, пригоден, по крайней мере, один язычок (94), предназначенный для размещения и извлечения, выступающий наружу, по крайней мере, из одной продольной стороны впитывающего изделия (40). Поскольку считается, что один такой язычок (94) эффективен для размещения и извлечения впитывающего изделия (40), такого как лабиальная прокладка, то предполагается, что, по крайней мере, два язычка (94, 94′), т.е. один язычок, выступающий наружу из каждой продольной стороны (80, 82) впитывающего изделия, также эффективны для размещения и извлечения впитывающего изделия. Поэтому в последующем обсуждении, если не указано иного, впитывающее изделие (40) будет обладать, по крайней мере, двумя язычками (94, 94′). Хотя не обязательно, чтобы язычки (94, 94′) были одинаковыми или, что лучше, являлись зеркальными отображениями друг друга, предпочтительно, чтобы они были именно такими. Таким образом, описание первого язычка будет описанием любого другого язычка. Поэтому для ясности изложения обсуждение любого другого язычка будет опущено. Соответствующие элементы указаны на чертежах порядковыми номерами и порядковыми номерами со штрихами. В дополнение к этому, хотя они и проиллюстрированы в различных вариантах впитывающего изделия (40), раскрытого в настоящем изобретении, следует понимать, что в настоящем изобретении язычки (94, 94′) могут быть включены в целый ряд других обладающих подходящей формой и размерами лабиальных прокладок. Такие подходящие формы и размеры включают (без наложения ограничений) прямоугольную, овальную, эллиптическую, трапециевидную, круглую, треугольную, квадратную, каплеобразную, ромбическую, лепестковую, грушевидную, сердцевидную и множество их комбинаций.
Выступающий наружу из продольной стороны (80, 82) впитывающего изделия (40), язычок (94) может обладать любой подходящей конфигурацией. Неограничивающие примеры формы язычка (94) включают овальную, эллиптическую, трапециевидную, прямоугольную, треугольную, ромбическую, круглую, полукруглую и любую их комбинацию. Язычок (94) может быть сформирован в виде единого целого с впитывающим изделием (40) или может представлять собой отдельный элемент, связанный с впитывающим изделием. Специалист в данной области техники может легко понять, что, если язычок (94) представляет собой отдельный элемент, связанный с впитывающим изделием (40), то язычок может быть связан с помощью целого ряда известных способов, включая связывание сплавлением, приклеивание и другие способы связывания. Выражение “в виде единого целого” означает, что язычок (94) не связан с впитывающим изделием (40), а является продолжением: закрывающего слоя (62), изолирующего слоя (64) и/или впитывающего материала (66); закрывающего слоя и изолирующего слоя; закрывающего слоя и впитывающего материала; или изолирующего слоя и впитывающего материала.
Язычок (94) обладает длиной (I), измеренной вдоль линии, расположенной в целом параллельно главной продольной оси (L) впитывающего изделия (40), и шириной (w), измеренной вдоль линии, расположенной в целом параллельно главной поперечной оси (Т) впитывающего изделия. Язычок (94) обладает размерами, достаточными для того, чтобы помочь женщине-пользователю разместить впитывающее изделие (40) в преддверии влагалища (42) и, необязательно, извлечь впитывающее изделие из преддверия влагалища. Выражение “обладает достаточными размерами” означает, что язычок (94) можно сжать между указательным и большим пальцами или если, например, имеются два язычка – между указательным и большим пальцами и между средним и указательным пальцами. Обычно длина (I) язычка (94) не больше максимальной длины (Lmax) впитывающего материала (66). Точнее, длина (I) язычка (94) составляет не более около 100; альтернативно – не более около 90; альтернативно – не более около 80; альтернативно – не более около 70; альтернативно – не более около 60; альтернативно – не более около 50; альтернативно – не более около 40; альтернативно – не более около 30; альтернативно – не более около 20; альтернативно – не более около 10; или альтернативно – не более около 5 мм. Другими словами, длина (I) язычка (94) обычно составляет не более около 100; альтернативно – не более около 90; альтернативно – не более около 80; альтернативно – не более около 70; альтернативно – не более около 60; альтернативно – не более около 50; альтернативно – не более около 40; альтернативно – не более около 30; альтернативно – не более около 20; или альтернативно – не более около 10% от максимальной длины (Lmax) впитывающего материала (66). Обычно длина (I) язычка (94) составляет не менее около 1; альтернативно – не менее около 5; альтернативно – не менее около 10; альтернативно – не менее около 20; альтернативно – не менее около 30; альтернативно – не менее около 40; альтернативно – не менее около 50; альтернативно – не менее около 60; альтернативно – не менее около 70; альтернативно – не менее около 80; или альтернативно – не менее около 90 мм. Специалист в данной области техники легко поймет, что длина (I) язычка (94) может меняться, в частности, в соответствии с общей конструкцией и предполагаемым расположением впитывающего изделия в преддверии влагалища (42) женщины-пользователя.
Кроме длины (I), язычок (94) также обладает шириной (w). Ширина (w) язычка (94) обычно составляет не более около 50; альтернативно – не более около 40; альтернативно – не более около 30; альтернативно – не более около 20; альтернативно – не более около 10; альтернативно – не более около 7,5; альтернативно – не более около 5; альтернативно – не более около 2,5; или альтернативно – не более около 1 мм. Ширина (w) язычка (94) обычно составляет не менее около 1; альтернативно – не менее около 2,5; альтернативно – не менее около 5; альтернативно – не менее около 7,5; альтернативно – не менее около 10; альтернативно – не менее около 20; альтернативно – не менее около 10; альтернативно – не менее около 30; или альтернативно – не менее около 40 мм. Специалист в данной области техники легко поймет, что ширина (w) язычка (94) может меняться, в частности, в соответствии с общей конструкцией и предполагаемым расположением впитывающего изделия в преддверии влагалища (42) женщины-пользователя.
Размеры язычка (94) ограничиваются только характеристиками напряжения-деформации материала (материалов) язычка. Предпочтительно, чтобы любой материал, применяющийся в язычках (94, 94′), был мягким, сжимающимся и принимающим форму тела и тем самым аналогичным материалу, применяющемуся во влагопроницаемом закрывающем слое (62), влагонепроницаемом изолирующем слое (64) и/или впитывающем материала (66). Предпочтительно, чтобы любой такой материал сводил к минимуму раздражающее воздействие и/или неудобство для пользователя впитывающего изделия (40).
Язычок (94), соответствующий настоящему изобретению, может размещаться в различных положениях вдоль продольной стороны (80, 82) впитывающего изделия (40). Во впитывающих изделиях (40), описанных в настоящем изобретении, язычок (94) может располагаться в первой концевой части (70), второй концевой части (72) или в центральной части (74). Второй язычок (94′) одновременно может располагаться вдоль противолежащей продольной стороны (80, 82) в первой концевой части (70), второй концевой части (72) или в центральной части (74). Обычно, когда язычок (94) выступает наружу из продольной стороны (80, 82) конкретной части (70, 72, 74), любой второй язычок (94′) обычно выступает наружу из соответствующей части (70, 72, 74) противолежащей продольной стороны (80, 82). Также следует заметить, что в зависимости от длины (I) язычка (94) язычок может охватывать более одной части (70, 72, 74), описанной в настоящем изобретении. Описанные в настоящем изобретении язычки (94, 94′) предоставляют женщине-пользователю возможность сжать язычки, чтобы помочь извлечь лабиальную прокладку и тем самым свести к минимуму вероятность того, что пальцы женщины-пользователя соприкоснутся с обращенной к телу поверхности, возможно, загрязненной лабиальной прокладки.
На ФИГ. 15-20 представлены различные варианты впитывающего изделия (40), содержащие, по крайней мере, один язычок (94, 94′), расположенный вдоль каждой продольной стороны (80, 82).
На ФИГ.21 представлено впитывающее изделие (40), содержащее один язычок (94, 94′), расположенный вдоль каждой продольной стороны (80, 82). Каждый язычок (94, 94′) включает сформированные в виде единого целого закрывающий слой (62) и изолирующий слой (64). Когда представленный на ФИГ.21 закрывающий слой (62) и изолирующий слой (64) сформированы в виде единого целого, в каждом язычке (94, 94′) содержится впитывающий материал (96, 96′) язычка, который не сформирован в виде единого целого со впитывающим материалом (66). Обычно материал впитывающего материала (96, 96′) язычка аналогичен материалу впитывающего материала (66). Наличие в язычке впитывающего материала обычно увеличивает впитывающую способность впитывающего изделия. На ФИГ.22 представлен поперечный разрез по линии 22-22 впитывающего изделия (40), показанного на ФИГ.21.
На ФИГ.23 представлено впитывающее изделие (40), содержащее один язычок (94, 94′), расположенный вдоль каждой продольной стороны (80, 82). Каждый язычок (94, 94′) включает сформированные в виде единого целого закрывающий слой (62), изолирующий слой (64) и впитывающий материал (66); однако для удобства описания впитывающий материал, выступающий наружу из продольной стороны, называется впитывающим материалом язычка (96, 96′). На ФИГ.24 представлен поперечный разрез по линии 24-24 впитывающего изделия (40), показанного на ФИГ.23.
На ФИГ.25 представлено впитывающее изделие (40), содержащее один язычок (94, 94′), расположенный вдоль каждой продольной стороны (80, 82). Каждый язычок (94, 94′) включает сформированные в виде единого целого закрывающий слой (62) и изолирующий слой (64). На ФИГ.26 представлен поперечный разрез по линии 26-26 впитывающего изделия (40), показанного на ФИГ.25.
Поперечная сторона (стороны)
Хотя описанное выше в настоящем изобретении, как обычно, сложенное по оси, находящейся на главной продольной оси, или расположенной параллельно с главной продольной осью, впитывающее изделие (40) до размещения в преддверии влагалища (42) женщины-пользователя также может быть сложено по оси, находящейся на главной поперечной оси, или расположенной параллельно с главной поперечной осью (Т). При складывании вдоль такой оси впитывающее изделие (40) будет образовывать углубление (92), которое защищает палец (пальцы) пользователя от загрязнения при размещении впитывающего изделия в преддверие влагалища (42) (см. ФИГ.27 и 28). После внесения впитывающее изделие (40) может обладать склонностью развернуться в попытке заполнить преддверие влагалища и тем самым обеспечить соприкосновение верхней поверхности впитывающего изделия с тканями преддверия влагалища (42). Впитывающее изделие (40) можно упруго сжать вдоль оси, по которой оно складывается, для усиления склонности впитывающего изделия к развертыванию. Альтернативно, впитывающий материал (66) впитывающего изделия (40) может быть толще вдоль своих поперечных краевых областей (76, 78) и таким образом при необходимости продемонстрировать эффект сжатия, что обычно предназначено для обеспечения соприкосновения верхней поверхности впитывающего изделия (40) с тканями преддверия влагалища (42). Однако для обеспечения соприкосновения впитывающего изделия (40), описанного в настоящем изобретении, с тканями преддверия влагалища (42) женщины-пользователя какие-либо дополнительные особенности не обязательны. Естественно влажные поверхности тканей преддверия влагалища (42) обычно проявляют склонность к обеспечению соприкосновения с верхней поверхностью впитывающего изделия (40).
Для использования в некоторых вариантах впитывающих изделий, описанных в настоящем изобретении, пригоден, по крайней мере, один язычок (94), предназначенный для размещения и извлечения, выступающий наружу из периферии, по крайней мере, одной поперечной краевой области (76, 78) впитывающего изделия (40). Если считается, что один такой язычок (94) эффективен для размещения и извлечения впитывающего изделия (40), такого как лабиальная прокладка, то предполагается, что, по крайней мере, два язычка (94, 94′), т.е. один язычок, выступающий наружу из каждой поперечной краевой области (76, 78) впитывающего изделия, также эффективны для размещения и извлечения впитывающего изделия. Поэтому в последующем обсуждении, если не указано иного, впитывающее изделие (40) будет обладать, по крайней мере, двумя язычками (94, 94′). Хотя не обязательно, чтобы язычки (94, 94′) были одинаковыми или, что лучше, являлись зеркальными отображениями друг друга, предпочтительно, чтобы они были именно такими. Таким образом, описание первого язычка будет описанием любого другого язычка. Поэтому для ясности изложения обсуждение любого другого язычка будет опущено. Соответствующие элементы указаны на чертежах порядковыми номерами и порядковыми номерами со штрихами. В дополнение к этому, хотя они и проиллюстрированы в различных вариантах впитывающего изделия (40), раскрытого в настоящем изобретении, следует понимать, что в настоящем изобретении язычки (94, 94′) могут быть включены в целый ряд других обладающих подходящей формой и размерами лабиальных прокладок. Такие подходящие формы и размеры включают (без наложения ограничений) прямоугольную, овальную, эллиптическую, трапециевидную, круглую, треугольную, квадратную, каплеобразную, ромбическую, лепестковую, грушевидную, сердцевидную и множество их комбинаций.
Выступающий наружу из периферии поперечной краевой области (76, 78) впитывающего изделия (40) язычок (94) может обладать любой подходящей конфигурацией. Неограничивающие примеры формы язычка (94) включают овальную, эллиптическую, трапециевидную, прямоугольную, треугольную, ромбическую, круглую, полукруглую и любую их комбинацию. Язычок (94) может быть сформирован в виде единого целого с впитывающим изделием (40) или может представлять собой отдельный элемент, связанный со впитывающим изделием. Специалист в данной области техники может легко понять, что если язычок (94) представляет собой отдельный элемент, связанный со впитывающим изделием (40), то язычок может быть связан с помощью целого ряда известных способов, включая связывание сплавлением, приклеивание и другие способы связывания. Выражение “в виде единого целого” означает, что язычок (94) не связан со впитывающим изделием (40), а является продолжением: закрывающего слоя (62), изолирующего слоя (64) и/или впитывающего материала (66); закрывающего слоя и изолирующего слоя; закрывающего слоя и впитывающего материала; или изолирующего слоя и впитывающего материала.
Язычок (94) обладает длиной (I), измеренной вдоль линии, расположенной в целом параллельно главной поперечной оси (Т) впитывающего изделия (40), и шириной (w), измеренной вдоль линии, расположенной в целом параллельно главной продольной оси (L) впитывающего изделия (см. ФИГ.29 и 30). Язычок (94) обладает размерами, достаточными для того, чтобы помочь женщине-пользователю разместить впитывающее изделие (40) в преддверии влагалища (42), и, необязательно, извлечь впитывающее изделие из преддверия влагалища. Выражение “обладает достаточными размерами” означает, что язычок (94) можно сжать между указательным и большим пальцами или если, например, имеются два язычка – между указательным и большим пальцами и между средним и указательным пальцами. Обычно длина (I) язычка (94) не больше максимальной ширины (Wmax) впитывающего материала (66). Точнее, длина (I) язычка (94) составляет не более около 70; альтернативно – не более около 60; альтернативно – не более около 50; альтернативно – не более около 40; альтернативно – не более около 30; альтернативно – не более около 20; альтернативно – не более около 10; или альтернативно – не более около 5 мм. Другими словами, длина (I) язычка (94) обычно составляет не более около 100; альтернативно – не более около 90; альтернативно – не более около 80; альтернативно – не более около 70; альтернативно – не более около 60; альтернативно – не более около 50; альтернативно – не более около 40; альтернативно – не более около 30; альтернативно – не более около 20; или альтернативно – не более около 10% от максимальной ширины (Wmax) впитывающего материала (66). Обычно длина (I) язычка (94) составляет не менее около 1; альтернативно – не менее около 5; альтернативно – не менее около 10; альтернативно – не менее около 20; альтернативно – не менее около 30; альтернативно – не менее около 40; альтернативно – не менее около 50; или альтернативно – не менее около 60 мм. Специалист в данной области техники легко поймет, что длина (I) язычка (94) может меняться, в частности, в соответствии с общей конструкцией и предполагаемым расположением впитывающего изделия в преддверии влагалища (42) женщины-пользователя.
Кроме длины (I), язычок (94) также обладает шириной (w) (см. ФИГ.29 и 30). Ширина (w) язычка (94) обычно составляет не более около 50; альтернативно – не более около 40; альтернативно – не более около 30; альтернативно – не более около 20; альтернативно – не более около 10; альтернативно – не более около 7,5; альтернативно – не более около 5; альтернативно – не более около 2,5; или альтернативно – не более около 1 мм. Ширина (w) язычка (94) обычно составляет не менее около 1; альтернативно – не менее около 2,5; альтернативно – не менее около 5; альтернативно – не менее около 7,5; альтернативно – не менее около 10; альтернативно – не менее около 20; альтернативно – не менее около 10; альтернативно – не менее около 30; или альтернативно – не менее около 40 мм. Специалист в данной области техники легко поймет, что ширина (w) язычка (94) может меняться, в частности, в соответствии с общей конструкцией и предполагаемым расположением впитывающего изделия в преддверии влагалища (42) женщины-пользователя.
Размеры язычка (94) ограничиваются только характеристиками напряжения-деформации материала (материалов) язычка. Предпочтительно, чтобы любой материал, применяющийся в язычках (94, 94′), был мягким, сжимающимся и принимающим форму тела и тем самым аналогичным материалу, применяющемуся во влагопроницаемом закрывающем слое (62), влагонепроницаемом изолирующем слое (64) и/или впитывающем материала (66). Предпочтительно, чтобы любой такой материал сводил к минимуму раздражающее воздействие и/или неудобство для пользователя впитывающего изделия (40).
Язычок (94), соответствующий настоящему изобретению, может размещаться в различных положениях вдоль периферии поперечной краевой области (76, 78) впитывающего изделия (40). Обычно, когда язычок (94) выступает наружу из периферии поперечной краевой области (76, 78) впитывающего изделия (40), любой второй язычок (94′) обычно выступает наружу из периферии противолежащей поперечной краевой области (76, 78). Описанные в настоящем изобретении язычки (94, 94′) предоставляют женщине-пользователю возможность сжать язычки, чтобы помочь разместить лабиальную прокладку в преддверии влагалища. Кроме того, язычки (94, 94′) предоставляют женщине-пользователю возможность сжать язычки, чтобы помочь извлечь лабиальную прокладку и тем самым свести к минимуму вероятность того, что пальцы женщины-пользователя соприкоснутся с обращенной к телу поверхности, возможно, загрязненной лабиальной прокладки.
На ФИГ.31 представлено впитывающее изделие (40), содержащее, по крайней мере, один язычок (94, 94′), расположенный вдоль периферии каждого каждой поперечной краевой области (76, 78). Каждый язычок (94, 94′) включает сформированные в виде единого целого закрывающий слой (62) и изолирующий слой (64). Когда представленный на ФИГ.31 закрывающий слой (62) и изолирующий слой (64) сформированы в виде единого целого, в каждом язычке (94, 94′) содержится впитывающий материал (96, 96′) язычка, который не сформирован в виде единого целого с впитывающим материалом (66). Обычно материал впитывающего материала (96, 96′) язычка аналогичен материалу впитывающего материала (66). Наличие в язычке впитывающего материала обычно увеличивает впитывающую способность впитывающего изделия. На ФИГ.32 представлен поперечный разрез по линии 32-32 впитывающего изделия (40), показанного на ФИГ.31.
На ФИГ.33 представлено впитывающее изделие (40), содержащее, по крайней мере, один язычок (94, 94′), расположенный вдоль каждой поперечной краевой области (76, 78). Каждый язычок (94, 94′) включает сформированные в виде единого целого закрывающий слой (62), изолирующий слой (64) и впитывающий материал (66); однако для удобства описания впитывающий материал, выступающий наружу из продольной стороны, называется впитывающим материалом язычка (96, 96′). На ФИГ.34 представлен поперечный разрез по линии 34-34 впитывающего изделия (40), показанного на ФИГ.33.
На ФИГ.35 представлено впитывающее изделие (40), содержащее один язычок (94, 94′), расположенный вдоль каждой поперечной краевой области (76, 78). Каждый язычок (94, 94′) включает сформированные в виде единого целого закрывающий слой (62) и изолирующий слой (64). На ФИГ.36 представлен поперечный разрез по линии 36-36 впитывающего изделия (40), показанного на ФИГ.35.
Хотя раскрыты и подробно описаны различные версии или варианты осуществления настоящего изобретения, возможны другие варианты осуществления. Поэтому объем и сущность прилагаемой формулы изобретения не следует ограничивать иллюстрацией и описанием различных вариантов осуществления, содержащихся в настоящем изобретении.
Формула изобретения
1. Впитывающее изделие, выполненное в виде лабиальной прокладки для размещения в предверии влагалища женщины-пользователя, содержащее впитывающий материал и при этом и имеющее продольную ось, поперечную ось, поверхность, обращенную к телу, поверхность, противоположную обращенной к телу поверхности, длину, ширину, толщину, первую и вторую разнесенные продольные стороны и по меньшей мере один язычок, продолжающийся наружу от каждой продольной стороны; при этом впитывающий материал имеет максимальную длину (Lmax), которая не превышает 100 мм, измеренную вдоль линии, лежащей, в общем, параллельно продольной оси; впитывающий материал имеет максимальную ширину (Wmax), которая не превышает 50 мм, измеренную вдоль линии, лежащей, в общем, параллельно поперечной оси; каждый язычок содержит влагонепроницаемый материал; каждый язычок имеет ширину (w), которая не превышает 50 мм; язычкам придана конфигурация для захвата между указательным и большим пальцами пользователя, и между средним и указательным пальцами пользователя; для удержания впитывающего изделия в конфигурации, сложенной вдоль оси, лежащей на продольной оси или расположенной параллельно продольной оси перед размещением в предверии влагалища, и для приложения усилия пальцем или пальцами, расположенными в углублении, образованным сложенным впитывающим изделием, для расположения сложенного изделия в предверии влагалища пользователя.
2. Впитывающее изделие по п.1, в котором углубление имеет возможность защищать палец или пальцы пользователя от загрязнения при размещении впитывающего изделия в предверии влагалища.
3. Впитывающее изделие по п.1, в котором язычок включает влагопроницаемый материал.
4. Впитывающее изделие по п.1, в котором впитывающий материал дополнительно включает влагопроницаемый закрывающий слой.
5. Впитывающее изделие по п.4, в котором влагопроницаемый закрывающий слой продолжается наружу по меньшей мере от одной из продольных сторон с образованием язычка.
6. Впитывающее изделие по п.1, в котором язычок включает впитывающий материал.
7. Впитывающее изделие по п.6, в котором впитывающий материал язычка дополнительно включает супервпитывающий полимер.
8. Впитывающее изделие по п.1, в котором впитывающий материал выступает наружу, по меньшей мере, из одной из продольных сторон для формирования язычка.
9. Впитывающее изделие по п.8, в котором впитывающий материал дополнительно включает супервпитывающий полимер.
10. Впитывающее изделие по п.1, в котором впитывающее изделие дополнительно содержит влагонепроницаемый изолирующий слой.
11. Впитывающее изделие по п.10, в котором влагонепроницаемый изолирующий слой продолжается наружу от по меньшей мере одной из продольных сторон с образованием язычка.
12. Впитывающее изделие по п.1, в котором впитывающий материал дополнительно содержит супервпитывающий полимер.
13. Впитывающее изделие выполненное для размещения в предверии влагалища женщины-пользователя, содержащее впитывающий материал и имеющее продольную ось, поперечную ось, обращенную к телу поверхность, поверхность, противоположную обращенной к телу поверхности, длину, ширину, толщину, первую и вторую продольно разнесенные поперечные краевые области и первую и вторую разнесенные продольные стороны, причем продольные стороны расположены между поперечными краевыми областями и совместно образуют периферию впитывающего изделия, и по меньшей мере один язычок продолжается наружу от периферии каждого из указанной первой и второй поперечных краевых областей; при этом указанное изделие является более коротким вдоль его поперечной оси, чем вдоль его продольной оси; указанному изделию придана конфигурация для складывания вдоль оси, расположенной параллельно указанной поперечной оси перед размещением в предверии влагалища женщины-пользователя, причем складывание обеспечивает углубление, которое защищает палец (пальцы) пользователя от загрязнения, когда изделие размещают в предверии влагалища; указанный впитывающий материал имеет максимальную ширину (Wmax), которая не превышает 70 мм, измеренную вдоль линии, лежащей, в общем, параллельно поперечной оси; указанный впитывающий материал имеет максимальную длину (Lmax), которая не превышает около 100 мм, измеренную вдоль линии, лежащей, в общем, параллельно продольной оси; каждый указанный язычок имеет длину (I), которая не превышает 70 мм, и не превышает около 100% максимальной ширины (Wmax) впитывающего материала; каждый язычок содержит влагонепроницаемый материал; каждый указанный язычок имеет ширину (w), которая не превышает 50 мм; и язычкам придана конфигурация для захвата между указательным и большим пальцами пользователя, и между средним и указательным пальцами пользователя; для удержания впитывающего изделия в конфигурации, сложенной вдоль оси, лежащей на поперечной оси или расположенной параллельно поперечной оси перед размещением в предверии влагалища, и для приложения усилия пальцем или пальцами, расположенными в углублении, образованным сложенным впитывающим изделием, для расположения сложенного изделия в предверии влагалища пользователя.
14. Впитывающее изделие по п.13, в котором язычок содержит влагопроницаемый материал.
15. Впитывающее изделие по п.13, в котором впитывающий материал дополнительно содержит влагопроницаемый закрывающий слой.
16. Впитывающее изделие по п.15, в котором влагопроницаемый закрывающий слой продолжается наружу от периферии по меньшей мере одной поперечной краевой области, с образованием язычка.
17. Впитывающее изделие по п.13, в котором язычок содержит впитывающий материал.
18. Впитывающее изделие по п.17, в котором впитывающий материал язычка дополнительно содержит супервпитывающий полимер.
19. Впитывающее изделие по п.13, в котором впитывающий материал продолжается наружу от периферии по меньшей мере одной поперечной краевой области, с образованием язычка.
20. Впитывающее изделие по п.19, в котором впитывающий материал дополнительно содержит супервпитывающий полимер.
21. Впитывающее изделие по п.13, в котором впитывающее изделие дополнительно содержит влагонепроницаемый изолирующий слой.
22. Впитывающее изделие по п.21, в котором влагонепроницаемый изолирующий слой продолжается наружу от периферии по меньшей мере одной поперечной краевой области, с образованием язычка.
23. Впитывающее изделие по п.13, в котором впитывающий материал дополнительно содержит супервпитывающий полимер.
РИСУНКИ
|
|