|
|
(21), (22) Заявка: 2005112457/14, 26.09.2002
(24) Дата начала отсчета срока действия патента:
26.09.2002
(43) Дата публикации заявки: 20.09.2005
(46) Опубликовано: 27.02.2007
(56) Список документов, цитированных в отчете о поиске:
RU 2051648 C1, 10.01.1996. RU 2168962 C2, 10.02.1999. DE 29920434 U1, 11.05.2000. US 5653767 A, 05.08.1997. US 5571213 A, 05.11.1996.
(85) Дата перевода заявки PCT на национальную фазу:
26.04.2005
(86) Заявка PCT:
US 02/30471 (26.09.2002)
(87) Публикация PCT:
WO 2004/028416 (08.04.2004)
Адрес для переписки:
129010, Москва, ул. Б.Спасская, 25, стр.3, ООО “Юридическая фирма Городисский и Партнеры”, пат.пов. Ю.Д.Кузнецову, рег.№ 595
|
(72) Автор(ы):
ТАУНСЕНД Барри В. (US), КЛАУДИНО Байрон К. (US)
(73) Патентообладатель(и):
ТАУНСЕНД Барри В. (US), КЛАУДИНО Байрон К. (US)
|
(54) ПРОТЕЗ СТОПЫ С РЕГУЛИРУЕМЫМИ ФУНКЦИОНАЛЬНЫМИ ХАРАКТЕРИСТИКАМИ
(57) Реферат:
Изобретение относится к медицинской технике, а именно к высоко функциональному протезу стопы, обеспечивающему улучшенные способности динамического ответа. Протез стопы содержит вытянутый в продольном направлении киль стопы и ствол голени, прикрепленный к килю стопы по его нижнему концу и направленный вверх от киля стопы. Нижний конец ствола голени имеет форму спирали. Ствол голени направлен вверх впереди от спирали до его вертикально стоящего верхнего конца. В другом варианте протез стопы дополнительно содержит соединительный элемент, соединенный с килем стопы. При этом пружинящий, вертикально стоящий ствол голени, имеющий нижний конец, соединен с килем стопы посредством соединительного элемента для формирования области голеностопного сочленения стопы, и верхний конец для соединения с поддерживающей структурой ноги человека с ампутированной конечностью. Ствол голени для протеза стопы содержит удлиненный полужесткий упругий элемент, имеющий один конец в форме спирали для прикрепления к килю стопы для формирования области голеностопного сочленения протеза стопы и противоположный конец для соединения с поддерживающей структурой на ноге человека с ампутированной нижней конечностью. Элемент простирается криволинейно с постепенно увеличивающимся радиусом кривизны от спирали на одном конце по направлению к указанному противоположному концу. Технический результат – улучшенная прикладная механика, динамический ответ высокой и низкой степени, регулируемость совмещения, которую можно тонко настраивать для улучшения горизонтального и вертикального компонентов активности. 3 н. и 20 з.п. ф-лы, 31 ил.
ОБЛАСТЬ ТЕХНИКИ, К КОТОРОЙ ОТНОСИТСЯ ИЗОБРЕТЕНИЕ
Настоящее изобретение относится к протезу стопы с улучшенными функциональными характеристиками, обеспечивающему улучшенные способности динамического ответа, поскольку данные способности относятся к механике приложенных усилий.
ПРЕДЫДУЩИЙ УРОВЕНЬ ТЕХНИКИ
Не имеющая сочленений искусственная стопа для протезирования ноги раскрыта Martin et al. в патенте США №5897594. В отличие от более ранних решений, в которых искусственная стопа имеет жесткую конструкцию, снабженную сочленением для имитации функции голеностопного сустава, не содержащая сочленений искусственная стопа Martin et al. использует пружинящую вставку стопы, которая размещена внутри формы для стопы. Вставка имеет приблизительно «С»-образную конструкцию в продольном разрезе с отверстием на тыльной стороне и принимает нагрузку на протез с его верхней «С»-образной части, и через его нижнюю С-образную часть передает данную нагрузку соединенной с ней пластинчатой пружине. Пластинчатая пружина, как видно снизу, имеет выпуклую конструкцию и простирается приблизительно параллельно области подошвы вперед в область, соответствующую кончикам пальцев стопы. Изобретение Martin et al. в своей основе имеет цель усовершенствования не имеющей сочленения искусственной стопы, касающуюся смягчения ударного воздействия на пяточную часть, эластичности, ходьбы с пятки на носок, боковой устойчивости с тем, чтобы, таким образом, позволить носящему ее человеку иметь естественную походку, с намерением дать возможность носителю как двигаться обычным образом, так и выполнять физические упражнения и заниматься спортом. Однако характеристики динамического ответа данной известной искусственной стопы ограничены. Имеется потребность в протезе стопы с более высокими функциональными характеристиками, обладающем улучшенными признаками конструкции с точки зрения прикладной механики, которые могут улучшить атлетические возможности людей с ампутированной нижней конечностью, касающиеся, например, таких видов активности, как бег, прыжки, спринтерский бег, взятие старта, остановка и подрезание.
Другие протезы стопы, предложенные Van L. Phillips, которые, как утверждают авторы, обеспечивают человека быстротой и мобильностью в плане вовлечения в широкий диапазон видов активности, в прошлом являвшихся недоступными в связи с конструктивными ограничениями и соответствующими функциональными характеристиками протезов, соответствующих предыдущему уровню техники. Данный известный протез, по утверждению авторов, способствует осуществлению бега, прыжков, ходьбы и других видов активности и, по их сообщениям, может использоваться таким же образом, как и естественная стопа носящего его человека. См., например, Патенты США №№6071313; 5993488; 5800569; 5800568; 5728177; 5728176; 5824112; 5593457; 5514185; 5181932 и 4822363.
РАСКРЫТИЕ ИЗОБРЕТЕНИЯ
Для того чтобы позволить спортсмену с ампутированной нижней конечностью достичь более высокого функционального уровня, имеется необходимость в протезе стопы, обладающем улучшенными функциональными характеристиками, с улучшенными с точки зрения прикладной механики параметрами, который может превосходить по функциональным характеристикам стопу человека, а также превосходить по функциональным характеристикам протез стопы, соответствующий предыдущему уровню техники. Спортсмен с ампутированной нижней конечностью заинтересован в том, чтобы иметь протез с улучшенными функциональными характеристиками, обладающий улучшенными с точки зрения прикладной механики параметрами, динамическим ответом высокой и низкой степени и регулируемостью совмещения, которые могут быть тонко настроены для улучшения горизонтального и вертикального компонентов активности, что может представлять специфическую по своей природе задачу.
Протез стопы настоящего изобретения направлен на удовлетворение данных потребностей. В соответствии с воплощением, раскрытым в примере данного описания, протез стопы данного изобретения содержит вытянутый в продольном направлении киль стопы, имеющий участок переднего отдела стопы на одном конце, участок заднего отдела стопы на противоположном конце и сравнительно длинный участок среднего отдела стопы, расположенный между ними и выгнутый вверх от участков переднего отдела стопы и заднего отдела стопы. Также предусмотрен ствол голени, включающий в себя выпукло закругляющийся книзу нижний конец.
Регулируемое фиксирующее приспособление прикрепляет закругленный нижний конец ствола голени к выгнутому вверх участку киля стопы, соответствующему среднему отделу стопы для формирования области протеза стопы, аналогичной голеностопному суставу.
Регулируемое фиксирующее приспособление позволяет осуществлять регулировку совмещения ствола голени и киля стопы по отношению друг к другу в продольном направлении киля стопы для настройки функциональных характеристик протеза стопы. Путем регулирования совмещения расположенных напротив выгнутого вверх участка среднего отдела стопы и выпукло закругляющегося книзу нижнего конца ствола голени по отношению друг к другу в продольном направлении киля стопы меняются характеристики динамического ответа и двигательные результаты с целью решения специфической задачи в отношении требуемой/желательной горизонтальной и вертикальной линейных скоростей. Раскрыт протез стопы многопрофильного использования, обладающий характеристиками динамического ответа высокой и низкой степени, так же как и характеристиками движения в двух плоскостях, которые улучшают функциональную результативность людей с ампутированной нижней конечностью, участвующих в спортивных и/или реабилитационных видах активности. Также раскрыт протез стопы, предназначенный особенно для спринтерского бега.
В одном воплощении ствола голени его нижний конец имеет форму спирали, где ствол голени направлен вверх впереди от спирали до вертикально стоящего его верхнего конца. Это создает ствол голени с интегрированной областью, аналогичной голеностопному суставу, в области его нижнего конца, когда ствол голени прикреплен к килю стопы, с различными радиусами и результирующим ответом, подобным стволу голени параболической формы данного изобретения. Ствол голени может быть прикреплен к килю стопы при помощи соединительного элемента. В раскрытом воплощении соединительный элемент включает в себя стопор для ограничения изгиба ствола голени к тыльной стороне при ходьбе. Указанный стопор включает, по меньшей мере, один элемент в форме клина, прикрепленный к соединительному элементу в передней части ствола голени.
Радиально внутренний конец спирали ствола голени скрепляется с соединительным элементом. Нижний конец ствола голени проходит по спирали вокруг радиально внутреннего конца над килем стопы.
Ствол голени прикреплен к задней части киля стопы и направлен вверх над участком заднего отдела стопы и задней частью участка среднего отдела киля стопы.
Протез стопы может дополнительно содержать косметическое покрытие в форме стопы и нижней части ноги человека, расположенное над килем стопы и, по меньшей мере, над нижним концом ствола голени, и ствол голени поднимается вверх от киля стопы внутри покрытия нижней части ноги.
Протез стопы может дополнительно содержать регулируемое закрепляющее приспособление, позволяющее осуществлять регулировку взаимодействия киля стопы и ствола голени для настройки функционирования протеза стопы. Регулируемое закрепляющее приспособление включает, по меньшей мере, один высвобождаемый фиксатор и вытянутое в продольном направлении отверстие в киле стопы, через которое проходит фиксатор для того, чтобы позволить осуществить регулировку совмещения ствола голени и киля стопы в продольном направлении киля стопы.
Ствол голени может иметь радиус кривизны, который увеличивается постепенно по мере продвижения ствола голени по спирали во внешнем направлении и по направлению ствола голени вверх от его нижнего спирального конца.
Киль стопы имеет выпукло закругленную вверх тыльную поверхность участка среднего отдела киля стопы, обращенную к спиральному нижнему концу ствола голени, причем радиусы кривизны спирали и выпукло закругленной тыльной поверхности киля стопы влияют на способность динамического ответа и двигательный результат протеза стопы при ходьбе.
Объектом изобретения также является ствол голени для протеза стопы, содержащий удлиненный полужесткий упругий элемент, имеющий один конец в форме спирали для прикрепления к килю стопы для формирования области голеностопного сочленения протеза стопы и противоположный конец для соединения с поддерживающей структурой на ноге человека с ампутированной нижней конечностью, причем элемент простирается криволинейно с постепенно увеличивающимся радиусом кривизны от спирали на одном конце по направлению к указанному противоположному концу. Радиально внутренний конец спирали на указанном одном конце данного элемента включает фиксатор для скрепления ствола голени с соединительным элементом для прикрепления к килю стопы.
Один конец данного элемента расположен по спирали вокруг радиально внутреннего конца перед протягиванием по направлению к противоположному концу.
Противоположный конец данного элемента включает прикрепленный к нему адаптер и установленный на нем узел крепления в форме обратной пирамиды.
Данные и другие цели, признаки и преимущества настоящего изобретения становятся более очевидными при рассмотрении следующего детального описания раскрытых воплощений изобретения, представленных в качестве примеров, и сопровождающих их чертежей.
КРАТКОЕ ОПИСАНИЕ ЧЕРТЕЖЕЙ
Фиг.1 представляет собой схематическую иллюстрацию двух прилегающих друг к другу радиусов кривизны R1 и R2 киля стопы и ствола голени протеза стопы, один против другого, которые создают способность динамического ответа и результирующего движения стопы при ходьбе в направлении, указанном стрелкой В, которое перпендикулярно касательной линии А, соединяющей два данных радиуса.
Фиг.2 представляет собой вид, аналогичный фиг.1, но показывающий выравнивание двух данных радиусов в протезе стопы, измененное в соответствии с изобретением для увеличения горизонтального компонента и уменьшения вертикального компонента способности динамического ответа и результирующего движения стопы при ходьбе таким образом, что стрелка В1, перпендикулярная касательной линии А1, направлена более горизонтально, чем в случае, изображенном на фиг.1.
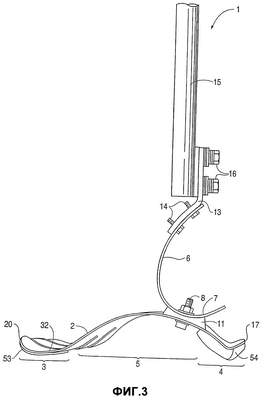
Фиг.3 представляет собой вид сбоку протеза стопы, согласно приведенному в качестве примера воплощению данного изобретения, с адаптером пилона и пилоном, соединенным с ним, для прикрепления стопы к нижней части ноги человека с ампутированной нижней конечностью.
Фиг.4 представляет собой вид спереди протеза стопы с адаптером пилона и пилоном, представленными на фиг.3.
Фиг.5 представляет собой вид сверху воплощения, представленного на фиг.3 и 4.
Фиг.6 представляет собой вид сбоку еще одного киля стопы данного изобретения, предназначенного в особенности для спринтерского бега, который может быть использован в протезе стопы данного изобретения.
Фиг.7 представляет собой вид сверху киля стопы, представленного на фиг.6.
Фиг.8 представляет собой вид снизу киля стопы в протезе стопы, представленном на фиг.3, который обеспечивает характеристики динамического ответа различной высоты так же, как и двигательные способности в двух плоскостях.
Фиг.9 представляет собой вид сбоку дополнительного киля стопы данного изобретения для протеза стопы, особенно применимого для спринтерского бега спортсменом с ампутированной нижней конечностью, который перенес ампутацию стопы по Симсу.
Фиг.10 представляет собой вид сверху киля стопы, представленного на фиг.9.
Фиг.11 представляет собой дополнительную разновидность киля стопы для протеза стопы данного изобретения для человека, перенесшего ампутацию по Симсу, причем данный киль стопы обеспечивает протез стопы характеристиками динамического ответа различной высоты, так же как и двигательными способностями в двух плоскостях.
Фиг.12 представляет собой вид сверху киля стопы, представленного на фиг.11.
Фиг.13 представляет собой вид сбоку киля стопы данного изобретения, в котором толщина киля уменьшается, например, постепенно уменьшается от участка киля, соответствующего среднему отделу стопы, до участка, соответствующего заднему отделу стопы.
Фиг.14 представляет собой вид сбоку другой формы киля стопы, в котором толщина киля уменьшается от середины в направлении участков киля, соответствующих как переднему отделу стопы, так и заднему отделу стопы.
Фиг.15 представляет собой вид сбоку и несколько сверху на фронтальную сторону ствола голени параболической формы протеза стопы данного изобретения, где толщина ствола голени снижается по направлению к его верхнему концу.
Фиг.16 представляет собой вид сбоку, аналогичный фиг.15, но показывающий еще один ствол голени, сужающийся от середины по направлению к обоим, верхнему и нижнему, концам.
Фиг.17 представляет собой вид сбоку ствола голени «С»-образной формы для протеза стопы, где толщина ствола голени уменьшается от середины по направлению к обоим, верхнему и нижнему, концам.
Фиг.18 представляет собой вид сбоку еще одного примера ствола голени «С»-образной формы для протеза стопы, где толщина ствола голени постепенно уменьшается от его среднего участка к его верхнему концу.
Фиг.19 представляет собой вид сбоку ствола голени «S»-образной формы для протеза стопы, оба конца которого постепенно уменьшаются по толщине от его середины.
Фиг.20 представляет собой дополнительный пример ствола голени «S»-образной формы, который уменьшается по толщине лишь в области его верхнего конца.
Фиг.21 представляет собой вид сбоку ствола голени «J»-образной формы, сужающегося на каждом из концов, для протеза стопы данного изобретения.
Фиг.22 представляет собой вид, аналогичный фиг.21, но показывающий ствол голени «J»-образной формы, который постепенно уменьшается по толщине по направлению только к его верхнему концу.
Фиг.23 представляет собой вид сбоку и несколько сверху соединительного элемента из металлического сплава или пластика, используемого в регулируемом фиксирующем приспособлении данного изобретения для прикрепления ствола голени к килю стопы, как показано на фиг.3.
Фиг.24 представляет собой вид сбоку и несколько спереди адаптера пилона, используемого в протезе стопы, представленном на фиг.3-5, а также, который можно использовать для стопы, представленной на фиг.28 и 29, для присоединения стопы к пилону, который будет прикрепляться к ноге человека с ампутированной нижней конечностью.
Фиг.25 представляет собой вид сбоку еще одного протеза стопы данного изобретения, похожего на протез, представленный на фиг.3, но показывающий использование соединительного элемента с двумя высвобождаемыми фиксаторами, размещенными с промежутком в продольном направлении, присоединяющими данный элемент к стволу голени и килю стопы, соответственно.
Фиг.26 представляет собой увеличенный вид сбоку соединительного элемента, представленного на фиг.25.
Фиг.27 представляет собой увеличенный вид сбоку ствола голени протеза стопы, представленного на фиг.25.
Фиг.28 представляет собой вид сбоку еще одного воплощения протеза стопы, в котором используется ствол голени внутри косметического покрытия стопы.
Фиг.29 представляет собой вид сверху протеза стопы по Фиг.28.
Фиг.30 представляет собой вид поперечного сечения вдоль линии 30-30 на фиг.29 протеза стопы, представленного на фиг.28 и 29.
Фиг.31А и 31В представляют собой сечения клиньев различной толщины, которые могут быть использованы в стопоре против изгиба назад соединительного элемента, как показано на фиг.30.
НАИЛУЧШИЙ СПОСОБ ОСУЩЕСТВЛЕНИЯ ИЗОБРЕТЕНИЯ
При ссылке в данный момент на чертежи, протез стопы 1 в воплощении, приведенном в качестве примера, как видно на фиг.3-5, содержит вытянутый в продольном направлении киль стопы 2, имеющий участок 3 переднего отдела стопы на одном конце и участок 4 заднего отдела стопы на противоположном конце и выгнутый вверх участок 5 среднего отдела стопы, расположенный между участками переднего отдела стопы и заднего отдела стопы. Участок среднего отдела стопы 5 выгнут выпукло вверх на всем своем протяжении в продольном направлении между участками переднего отдела стопы и заднего отдела стопы в воплощении, приведенном в качестве примера.
Вертикально стоящий ствол голени 6 стопы 1 прикреплен на участке закругляющегося книзу его нижнего конца 7 к проксимальной задней поверхности участка 5 среднего отдела стопы киля при помощи высвобождаемого фиксатора 8 и соединительного элемента 11. Фиксатор в воплощении, приведенном в качестве примера, представляет собой одиночный болт с гайкой и шайбой, но он также может быть высвобождаемым зажимом или другим фиксатором для закрепленного расположения и удержания ствола голени на киле стопы, когда фиксатор затянут.
Вытянутое в продольном направлении отверстие 9 сформировано в проксимальной задней поверхности участка 5 среднего отдела киля стопы, см. фиг.8. Вытянутое в продольном направлении отверстие 10 также сформировано в закругленном нижнем конце 7 ствола голени 6, как это показано, например, на фиг.15. Высвобождаемый фиксатор 8 проходит через отверстия 9 и 10, которые позволяют проводить совмещения ствола голени и киля стопы по отношению друг к другу в продольном направлении А-А на фиг.5, когда фиксатор 8 ослаблен или высвобожден для регулирования режима функционирования протеза стопы, являющегося специфической задачей. Таким образом, фиксатор 8, соединительный элемент 11 и вытянутые в продольном направлении отверстия 9 и 10 составляют вместе регулируемое фиксирующее приспособление для прикрепления ствола голени к килю стопы для образования области голеностопного сустава протеза стопы.
Эффекты регулирования совмещения ствола голени 6 и киля стопы 2 видны при рассмотрении фиг.1 и 2, где два радиуса R1 и R2 киля стопы, следующих друг за другом, представляют смежные внешние сферические или выпукло изогнутые поверхности участка 5 среднего отдела киля стопы и стержня голени 6. Когда два таких радиуса считаются следующими друг за другом, способность движения существует перпендикулярно тангенциальной линии А на фиг.1, А1 на фиг.2, прочерченной между двумя данными радиусами. Взаимодействие между данными двумя радиусами определяет направление результирующих движений. Как следствие, динамический ответ на приложение усилий к стопе 1 является зависимым от данного отношения. Чем больше радиус вогнутой поверхности, тем больше способность к динамическому ответу. Однако, чем меньше радиус, тем быстрее он реагирует.
Возможность совмещения ствола голени и киля стопы в протезе стопы в соответствии с данным изобретением позволяет изменять радиусы таким образом, что это воздействует на горизонтальные или вертикальные линейные скорости при атлетической активности стопы. Например, для того чтобы улучшить горизонтальную линейную скоростную способность протеза стопы 1, могут быть проведены изменения совмещения, чтобы воздействовать на взаимодействие между радиусом ствола стопы и радиусом киля стопы. То есть для того чтобы улучшить характеристику горизонтальной линейной скорости, нижний радиус R2 киля стопы установлен в более дистальное положение, чем его стартовое положение, фиг.2 в сравнении с фиг.1. Это изменяет динамические характеристики ответа и двигательные результаты таким образом, что направление стопы является более горизонтальным, и, как результат, большая величина линейной скорости может быть достигнута при тех же самых прикладываемых усилиях.
Лица с ампутированной нижней конечностью на основе практики находят установку для каждого вида активности, которая соответствует их потребностям, так как их потребности относятся к горизонтальным и вертикальным линейным скоростям. Прыгуну или баскетболисту, например, требуется более вертикальный подъем, чем бегуну спринтеру. Соединительный элемент представляет собой пластиковый или из металлического сплава совмещающий соединитель (см. фиг.3, 4 и 23), заключенный между прикрепленным килем стопы 2 и стволом голени 6. Высвобождаемый фиксатор проходит через отверстие 12 в соединительном элементе. Соединительный элемент расположен вдоль прикрепленного участка ствола голени и проксимальной, задней поверхности участка 5 среднего отдела киля стопы.
Закругленный нижний конец 7 ствола голени 6 имеет параболическую форму, где наименьший радиус кривизны параболы расположен в области нижнего конца и распространяющийся вверх и изначально вперед в форме параболы. Обращенная назад вогнутая поверхность образована кривизной ствола голени, как изображено на фиг.3. Параболическая форма имеет преимущество, состоящее в том, что она обладает улучшенными характеристиками динамического ответа в создании улучшенной горизонтальной линейной скорости, сочетающейся со сравнительно большими радиусами их проксимального терминального конца, при этом обладая меньшим радиусом кривизны в области его нижнего конца для более быстрых характеристик ответа. Большие радиусы кривизны в области верхнего конца параболической формы обеспечивают касательную линию А, объяснение которой дается со ссылкой на фиг.1 и 2, для того чтобы оставаться более вертикально ориентированным при изменениях в совмещении, которое создает улучшенную горизонтальную линейную скорость.
Ствол голени параболической формы отвечает на исходные контактные силы, действующие со стороны опоры, при ходьбе человека путем сжатия или его скручивания. Данное воздействие уменьшает радиусы кривизны параболы и, как следствие, уменьшается сопротивление компрессии. Напротив, когда ствол голени параболической формы отвечает, следуя силам реакции опоры (GRFs), действующим на человека при ходьбе, путем растяжения, это увеличивает радиусы кривой параболы и, как следствие, сопротивление является намного большим, чем вышеупомянутое сопротивление при сжатии. Данные виды сопротивления связаны с функцией передней и задней групп мышц голени человека при его ходьбе. При исходном контакте с плоскостью стопы при ходьбе человека малая передняя группа мышц голени отвечает силам реакции опоры эксцентричным сокращением для опускания стопы на землю, при этом создается сгибающий назад момент. От плоскости стопы до носка большая задняя группа мышц голени отвечает за силу реакции опоры также эксцентричным сокращением и создает момент подошвенного сгибания. Величина данного момента связана с разностью в размере передней и задней группы мышц голени. Как следствие, противостояние ствола голени протеза моменту сгибания назад и моменту подошвенного сгибания при ходьбе человека имитируется и достигается нормальная походка. Изменяющаяся способность к сопротивлению параболических кривых имитирует функцию мышц голени человека при активностях, связанных с ходьбой и бегом, а также прыжками и, как следствие, достигается результативность работы протеза.
Человек ходит со скоростью приблизительно 3 мили в час (4,83 км/ч). Человек, пробегающий расстояние в одну милю за 4 минуты, бежит со скоростью 12 миль за 1 час и 10 секунд. Спринтеры, бегающие на дистанцию 100 метров, бегут со скоростью 21 миля в час (33,80 км/ч). Это составляет отношение 1:4:7. Горизонтальный компонент при каждой задаче увеличивается по мере увеличения скорости данной активности. Как следствие, размер радиуса ствола голени протеза может быть заранее определен. Пешеходу требуется меньший радиус параболически закругленного ствола голени, чем бегуну на расстояние в одну милю и спринтеру. Спринтеру требуется параболически закругленный ствол голени, который больше в 7 раз. Данные отношения показывают, как следует определять параболические радиусы для пешеходов, бегунов на длинные дистанции и спринтеров. Это имеет существенное значение, поскольку бегуны-спринтеры обладают широким диапазоном двигательных требований и их стволы голени должны быть более крепкими для принятия на себя повышенных нагрузок, связанных с данной активностью. Чем шире или больше параболический ствол голени, тем будет относительно более плоским кривая, которая соответствует большей структурной мощности с высоким диапазоном движений.
Адаптер пилона 13 соединен с верхним концом ствола голени 6 при помощи фиксаторов 14. Адаптер 13, в свою очередь, закреплен на нижнем конце пилона 15 посредством фиксаторов 16. Пилон 15 закреплен на нижней конечности человека с ампутированной нижней конечностью при помощи поддерживающей структуры (не показанной на чертеже), прикрепленной к культе ноги.
Участки киля стопы 2, соответствующие переднему отделу стопы, среднему отделу стопы и заднему отделу стопы сформированы из отдельного куска пружинящего материала в воплощении, представленном в качестве примера, например, куска твердого материала, являющегося по природе пластиком, имеющего удерживающие форму характеристики при давлении сил реакции опоры. Более конкретно, киль стопы, а также ствол голени может быть сформирован из ламинированного композитного материала, имеющего армирующее волокно, ламинированное полимерным матричным материалом. В частности, высокопрочный графит, ламинированный термореактивными эпоксидными смолами или экструдированными пластмассами, используемыми под товарным знаком Delran, или могут использоваться сополимеры дегазированного полиуретана для формирования киля стопы, а также ствола голени. Функциональные качества, связанные с данными материалами, позволяют добиться высокой прочности при низком весе и минимальном сдвиге. Термостабильные эпоксидные смолы ламинируются в вакууме с применением стандартов протезной индустрии. Сополимеры полиуретана могут быть залиты в негативные формы и может производиться экструдированная пластмасса. Каждый используемый материал имеет свои преимущества и недостатки. Было обнаружено, что ламинированный композитный материал, предназначенный для киля стопы и ствола голени, может также преимущественно являться термоформованным (препрег) ламинированным композитным материалом, изготовленным согласно промышленным стандартам с применением армирующего волокна и термопластичного полимерного матричного материала для достижения повышенного качества при механическом растяжении. Подходящим экономически доступным композитным материалом данного типа является CYLON®, изготавливаемый Cytec Fiberite Inc в Havre de Grace, Maryland.
Все упругие физические свойства материала, поскольку они относятся к жесткости, пластичности и прочности, определяются толщиной материала одной и той же плотности. Используемый материал, так же как и физические свойства, связаны с жесткостно-пластическими характеристиками в киле стопы и стволе голени протеза. Толщина киля стопы и ствола голени является единообразной или симметричной в воплощении, представленном в качестве примера на фиг.3-5, однако толщина по длине данных компонентов может быть изменена, что будет обсуждаться далее, например, путем придания области переднего и заднего отделов стопы меньшей толщины и в большей степени восприимчивыми к изгибу в области среднего отдела стопы.
Для дополнительного обеспечения протеза стопы 1 способностью динамического ответа различной степени, участок, соответствующий среднему отделу стопы 5, образован посредством продольной дуги таким образом, что медиальная сторона продольной дуги имеет сравнительно более высокую динамическую отвечающую способность, чем латеральная сторона продольной дуги. С данной целью в воплощении, представленном в качестве примера, медиальный аспект вогнутости продольной дуги является большим по радиусу, чем ее боковая сторона.
Взаимоотношение между размерами медиального и латерального радиусов вогнутости дуги участка среднего отдела стопы 5 далее определяется как передне-задняя подошвенная поверхность, области поверхности киля стопы 2, несущая на себе вес. Линия Т1-Т2 на переднем разрезе участка 5 на фиг.8 представляет собой переднюю подошвенную поверхность несущей вес области. Линия Р1-Р2 представляет собой заднюю подошвенную несущую вес поверхность участка 5. Несущие вес подошвенные поверхности латеральной стороны стопы могут быть представлены при помощи расстояния между Т1-Р1. Подошвенные несущие вес поверхности на медиальной стороне стопы 2 могут быть представлены при помощи расстояния между Т2-Р2. Расстояния, представленные отрезками Т1-Р1 и Т2-Р2, определяют размер радиусов и, в результате, высокий и низкий ответ взаимодействия определяется, и на него может повлиять конвергенция или дивергенция этих двух линий от Т1-Т2 к Р1-Р2. Высокий и низкий динамический ответ может быть определен структурой конструкции.
Задний конец 17 участка 4 заднего отдела стопы имеет форму закругленной вверх дуги, которая реагирует на силы реакции опоры при ударе пятки путем сжатия для поглощения удара. Пятка, образованная участком 4 заднего отдела стопы, образована задним боковым углом 18, являющегося более задним и более латеральным, чем медиальный угол 19, для того чтобы способствовать разворачиванию заднего отдела во время исходной контактной фазы при ходьбе. Передний конец 20 участка 3 переднего отдела стопы имеет форму закругленной вверх дуги, для того чтобы смоделировать выгнутые вверх пальцы ног в позиции поднятия пятки поздней фазы ходьбы. Каучуковые или пенные подложки 53 и 54 предусмотрены на нижней стороне переднего и заднего отдела стопы в качестве амортизаторов.
Улучшенная двигательная способность в двух плоскостях протеза стопы создана посредством отверстий 21 и 22 медиального и латерального протяженных пазов, проходящих сквозь участок 3 переднего отдела стопы между его тыльной и подошвенной поверхностями. Протяженные пазы 23 и 24 вытянуты вперед от соответствующих отверстий до переднего края участка, соответствующего переднему отделу стопы для формирования медиального, среднего и латерального протяженных упоров 25-27, которые создают улучшенную двухплоскостную двигательную способность участка переднего отдела киля стопы. Отверстия 21 и 22 протяженных пазов расположены по линии В-В на фиг.5. В поперечной плоскости, которая расположена под углом , равным 35° к продольной оси А-А киля стопы, причем медиальное отверстие 21 протяженного паза располагается ближе к передней части протеза, чем латеральное отверстие 22 протяженного паза.
Угол , который составляет линия В-В по отношению к продольной оси А-А на фиг.5, может составлять даже менее 15° и по прежнему обуславливать высокий и низкий динамический ответ. Когда данный угол уменьшается, то же самое должно происходить с углом Z линии Т1-Т2 на фиг.8. Отверстия 21 и 22 протяженных пазов при проекции на сагиттальную плоскость отклонены на угол 45° к поперечной плоскости, причем тыльная сторона отверстий находится в более заднем положении, чем подошвенная сторона. При данном размещении расстояние от высвобождаемого фиксатора 8 до отверстия 22 латерального протяженного паза короче, чем расстояние от высвобождаемого фиксатора до отверстия 21 медиального протяженного паза таким образом, что латеральный участок протеза ноги имеет более низкий уровень пальцев ноги, чем медиальный, для обеспечения высокого и низкого динамического ответа среднего отдела стопы. Кроме того, расстояние от высвобождаемого фиксатора 8 до латеральной подошвенной несущей на себе вес поверхности, как представлено при помощи линии Т1, короче, чем расстояние от высвобождаемого фиксатора до несущей на себе вес поверхности медиальной подошвенной поверхности, как представлено линией Т2, таким образом, что латеральный участок протеза стопы 1 имеет более низкий уровень пальцев ноги, чем медиальный, для обеспечения высокого и низкого динамического ответа среднего отдела стопы. Передняя часть участка 4 заднего отдела киля стопы 2 далее включает в себя отверстие 28 протяженного паза, проходящего сквозь участок 4 заднего отдела стопы между его тыльной и подошвенной поверхностями. Протяженный паз 29 вытянут в заднем направлении от отверстия 28 до заднего края участка заднего отдела стопы для образования протяженных упоров 30 и 31. Все это создает улучшенную двигательную способность в двух плоскостях участка заднего отдела стопы.
Тыльная сторона участка 5 среднего отдела стопы и участок 3 переднего отдела киля стопы образуют обращенную вверх вогнутость 32 на фиг.3 таким образом, что это имитирует функционирование пятилучевой оси при движении стопы человека. А именно, вогнутость 32 имеет продольную ось С-С, которая ориентирована под углом от 15° до 35° к продольной оси А-А киля стопы, причем медиальный участок находится в более переднем положении, чем латеральный участок, для того чтобы способствовать пятиосевому движению при ходьбе, подобно чередованию по косой низкой оси со второго по пятый элементы плюсны стопы человека.
Важность двигательной способности в двух плоскостях может быть оценена, когда человек с ампутированной нижней конечностью ходит по неровному грунту или когда спортсмен наступает на медиальную или латеральную сторону стопы. Направление вектора силы тяжести изменяется от сагиттальной ориентации до наличия компонента во фронтальной плоскости. Опора будет толкать медиально в направлении, противоположном стопе, толкающей латерально. Как следствие этого, ствол голени наклоняется медиально и вес прикладывается к медиальной структуре киля стопы. В ответ на данные давления, медиальные протяженные упоры 25 и 31 киля стопы 2 сгибаются назад и внутрь, при этом латеральные протяженные упоры 27 и 30 сгибаются к подошве вниз и наружу. Данное движение стремится положить подошвенную поверхность стопы плоско на землю (плоское расположение).
Другой киль стопы 33 данного изобретения может быть использован в протезе ноги данного изобретения, специально для спринтерского бега см. фиг.6 и 7. Центр тяжести тела при спринтерском беге становится практически полностью (исключительно) ориентированным в сагиттальной плоскости. Протезу ноги не требуется обладать низкой динамической характеристикой ответа. Как следствие, ориентация внешнего поворота на угол от 15° до 35° продольной оси вогнутости между передним отделом стопы и средним отделом стопы, что имеет место в киле стопы 2, не требуется. Скорее, ориентация продольной оси D-D вогнутости должна стать параллельной фронтальной плоскости, как изображено на фиг.6 и 7. Это позволяет спринтерской стопе отвечать только в сагиттальной плоскости. Дополнительно, ориентация отверстий протяженных пазов 34 и 35 участков переднего и среднего отделов стопы по линии Е-Е параллельна фронтальной плоскости, то есть латеральное отверстие 35 передвинуто вперед на одну линию с медиальным отверстием 34 и параллельную фронтальной плоскости. Передний терминальный конец 36 киля стопы 33 также сконструирован параллельно фронтальной плоскости. Задняя терминальная пяточная область 37 киля стопы также параллельна фронтальной плоскости. Данные модификации влияют негативным образом на возможности полифункционального использования протеза стопы. Однако его функциональные характеристики становятся специфической задачей. Другое изменение в спринтерском киле стопы касается зоны оси пальцев участка переднего отдела стопы, где 15° изгиба к тыльной стороне в киле стопы 2 увеличены до 25-40° изгиба к тыльной стороне в киле стопы 33.
Фиг.9 и 10 показывают дополнительный киль стопы данного изобретения для протеза стопы, особенно подходящего для спринтерского бега людям с ампутированной конечностью, которым была проведена ампутация стопы по Симсу. Для данной цели участок среднего отдела киля стопы 38 включает в себя заднюю, обращенную вверх вогнутость 39, в области которой прикрепляется закругленный нижний конец ствола голени к килю стопы при помощи высвобождаемого фиксатора. Данный киль стопы может быть использован всеми людьми, перенесшими ампутацию нижней конечности. Киль стопы 38 производит аккомодацию более длинной оставшейся части конечности, связанной с уровнем ампутации по Симсу. Его функциональные характеристики однозначно быстрее в плане способностей динамического ответа. Его использование не является специфичным по отношению к данному уровню ампутации. Он может быть использован при транстибиальной и трансфеморальной ампутациях. Киль стопы 40 в воплощении, представленном в качестве примера на фиг.11 и 12, также имеет вогнутость 41 для случая ампутации по Симсу – это киль стопы, обеспечивающий протезу стопы низкие и высокие характеристики динамического ответа, так же как и двигательными способностями в двух плоскостях, подобными таковым в воплощении, представленном в качестве примера на фиг.3-5 и 8.
Функциональные характеристики нескольких килей стопы 1 связаны с особенностями формы и конструкции, поскольку они имеют отношение к вогнутостям, выпуклостям, размеру радиусов, растяжению, сжатию и физическим свойствам материала, а все эти свойства имеют отношение к реакции на силы, действующие со стороны опоры при таких видах активности, как ходьба, бег и прыжки.
Киль стопы 42 на фиг.13 подобен таковому в воплощении, приведенном в качестве примера на фиг.3-5 и 8, за исключением того, что толщина киля стопы увеличивается от участка медиального отдела стопы до задней части участка заднего отдела стопы. Толщина киля стопы 43 на фиг.14 постепенно уменьшается или увеличивается на обоих его переднем и заднем концах. Подобные изменения по толщине показаны в стволе голени 44 на фиг.15 и в стволе голени 45 на фиг.16, что может быть использовано в протезе стопы 1. Каждый тип конструкции киля стопы и ствола голени создает различные функциональные результаты, поскольку данные функциональные результаты относятся к горизонтальным или вертикальным линейным скоростям, которые обладают специфичностью в плане улучшения при различных задачах, относящихся к спорту. Способность ствола голени иметь многочисленные конфигурации, а также регулирование установки киля стопы относительно ствола голени создает в стволе голени протеза стопы взаимоотношение, предоставляющее человеку с ампутированной нижней конечностью и/или протезисту возможность настраивать протез стопы для максимального функционирования в одной, выбранной из широкого множества спортивной или реабилитационной активности.
Другие стволы голени для протеза ноги 1 проиллюстрированы на фиг.17-22 и включают в себя «С»-образные стволы голени 46 и 47, «S»-образные стволы голени 48 и 49 и «J»-образные стволы голени 50 и 51. Верхний конец ствола голени может также иметь прямой вертикальный конец с пирамидальной пластиной для прикрепления, прикрепленной к данному терминальному концу. Протяженная пирамида может быть прикреплена болтом к и через данный вертикальный конец ствола голени. Пластиковые или алюминиевые вставки для принятия проксимальной протяженной пирамиды и дистального киля стопы также могут быть предоставлены в удлиненных отверстиях на проксимальном и дистальном концах ствола голени. Протез ноги данного изобретения является модульной системой, конструируемый предпочтительно с наличием стандартизованных звеньев или размеров для гибкого и многостороннего использования.
Все виды беговой активности, имеющие отношение к треку, происходят против часовой стрелки. Другой дополнительный признак изобретения принимает во внимание силы, действующие на ногу, перемещающуюся вдоль такой закругленной траектории. Третий закон Ньютона применяется к действию энергии. Существует равная и противоположная реакция. Таким образом, для каждой центростремительной силы имеется центробежная сила. Центростремительная сила действует по направлению к центру движения и центробежная сила, сила реакции, действует по направлению от центра вращения. Если спортсмен бежит по треку по закругленной траектории, центростремительная сила тянет бегуна к центру кривой, тогда как центробежная сила оттягивает от центра кривой. Для того, чтобы противодействовать центробежной силе, которая старается отклонить бегуна от центра, бегун наклоняется внутрь. Если направление вращения бегуна на треке всегда противоположно движению часовой стрелки, тогда левая сторона является внутренней частью трека. Как следствие, согласно признаку настоящего изобретения, левая сторона стволов голени правого и левого протеза стопы может быть сделана более тонкой, чем правая сторона, и движение бегуна по кривой с ампутированной нижней конечностью может быть улучшено.
Кили стопы 2, 33, 38, 42 и 43 в различных воплощениях имеют каждый длину 29 см, имеют пропорции стопы 1, показанной для масштаба на фиг.3, 4, 5, и в нескольких изображениях различных стволов голени и килей стопы. Однако, что без труда поймут специалисты в данной области, специфические размеры протеза ноги могут изменяться в зависимости от размера, веса и других характеристик человека с ампутированной нижней конечностью, которые соотносятся со стопой.
Рассмотрим работу протеза стопы 1 в положениях фаз шаговых циклов при ходьбе и беге. Три закона движения Ньютона, которые относятся к закону инерции, ускорения и действия-противодействия, являются основой кинематики движения стопы 2. Из третьего закона Ньютона, закона действия противодействия, известно, что земля давит на стопу в направлении, противоположном направлению, в котором стопа давит на землю. Все это известно, как сила реакции опоры. Проделано много научных исследований, касающихся активности человека, связанных с ходьбой, бегом, прыжками. Исследования на плоскости по приложению усилий показывают нам, что Третий закон Ньютона действует при ходьбе. Из данных исследований узнаем направление давления опоры на стопу.
Фаза положений при активности, связанной с ходьбой/бегом, может быть дополнительно разбита на фазы замедления и ускорения. Когда протез стопы касается земли, нога давит вперед на землю, а земля давит обратно равным образом в противоположном направлении иными словами, земля давит назад на протез стопы. Данная сила заставляет протез стопы перемещаться. Анализ фаз положений при ходьбе и беге начинается с точки контакта, являющейся задним латеральным углом 18 фиг.5 и 8, который более смещен назад и латеральнее, чем медиальная сторона стопы. Данное смешение при исходном контакте заставляет ногу разворачиваться наружу и ствол голени сгибаться внутрь. Ствол голени всегда стремится занять положение, которое перемещает вес тела через ствол, т.е. стремится, чтобы длинный вертикальный элемент находился в положении, противостоящем силам, действующим со стороны земли. По этой причине он перемещается, изгибаясь к подошве назад для того, чтобы противостоять силе реакции опоры, которая давит на стопу в заднем направлении.
Силы, действующие со стороны земли, заставляют стволы голени 44, 45, 46, 47 и 50 сжиматься, при этом проксимальный конец перемещается назад. У стволов голени 48, 49 дистальная половина ствола голени будет сжиматься в зависимости от ориентации дистальных вогнутостей. Если дистальная вогнутость сжимается в ответ на силы реакции опоры, проксимальная вогнутость растягивается и вся секция ствола голени переместится в более заднем направлении. Силы, действующие со стороны земли, заставляют ствол голени сжиматься, при этом проксимальный конец перемещается назад. Нижний, меньший, радиус сжимается, моделируя подошвенное сгибание голеностопного сустава человека, при этом передний отдел стопы опускается путем сжатия на землю. В то же время задняя сторона киля, представленная задним отделом стопы 4, изображенная как 17, сжимает вверх под давлением. Обе данные сжимающие силы действуют как поглотители ударного воздействия. Данное поглощение ударного воздействия дополнительно усиливается при помощи смещенной задней латеральной части пятки 18, которая заставляет стопу разворачиваться наружу, что также действует, как поглотитель ударного воздействия, с того момента, как ствол голени прекращает перемещаться для подошвенного сгибания, при этом земля давит в заднем направлении на стопу.
Сжатые элементы киля стопы и ствола голени затем начинают разгружаться, таким образом, они стремятся обрести их первоначальную форму, и накопленная энергия высвобождается, что заставляет проксимальный конец ствола голени перемещаться вперед ускоренным способом. Как только ствол голени достигает вертикального стартового положения, силы, воздействующие со стороны земли, изменяют свое направление от давления назад до давления вертикально вверх на стопу. В связи с тем, что протез стопы имеет переднюю и заднюю области подошвенной поверхности, несущие на себе вес, и данные области соединены при помощи не несущего на себе вес удлиненного дугообразного среднего участка, вертикально от протеза направленные силы заставляют удлиненный дугообразный средний участок нагружаться путем растяжения. Задняя и передняя несущие на себе вес поверхности различаются. Данные вертикально направленные усилия накапливаются в удлиненном среднем дуговом участке стопы, поскольку силы, действующие со стороны земли, изменяются от вертикального по природе направления до направленных вперед. Ствол голени растягивается, моделируя изгиб лодыжки (голеностопного сустава) назад. Это заставляет протез стопы отталкиваться от подошвенной несущей вес поверхности. Как только происходит разгрузка веса, удлиненная дуга среднего участка 5 стопы выходит из сжатого состояния и стремится принять свою первоначальную форму, что создает модель всплеска активности подошвенной группы мышц-сгибателей. Это высвобождает накопленную вертикальную сжатую силовую энергию для улучшения растягивающей способности.
Удлиненная дуга киля стопы и ствол голени сопротивляется растяжению их взаимодействующих структур. Как следствие, движение ствола голени вперед блокируется и стопа начинает останавливать вращение несущей вес подошвенной поверхности. Растяжение участка среднего отдела киля стопы обладает способностью динамического ответа различной степени в случае киля стопы в воплощении, представленном в качестве примера на фиг.3-5 и 8, фиг.11 и 12, фиг.13 и фиг.14. Поскольку область перехода от участка среднего отдела киля стопы в участок переднего отдела стопы в данных килях стопы отклонена на угол от 15° до 30° во внешнюю от продольной оси стопы сторону, медиальная часть длинной дуги длиннее, чем латеральная часть длинной дуги. Это является важным, в связи с тем, что в естественной стопе во время ускорения и торможения используется медиальная сторона стопы.
Более длинная медиальная дуга протеза обладает более высокими характеристиками динамического ответа, чем латеральная. Латеральный уровень, соответствующий более коротким пальцам ног, используется при ходьбе или беге с более медленной скоростью. При ходьбе или беге с более медленной скоростью центр тяжести тела движется в пространстве по синусоидальной траектории. Он двигается в медиальном, латеральном и проксимальном и дистальном направлениях. При ходьбе или беге с более медленной скоростью центр тяжести движется более медиально и латерально, чем при быстрой ходьбе или беге. Кроме того, момент инерции имеет меньшую величину, и способность преодолевать большую способность динамического ответа меньше. Протез стопы данного изобретения приспособлен располагать данными принципами прикладной механики.
Кроме того, в цикле ходьбы человека в среднем положении центр тяжести находится настолько латерально, насколько это возможно. Из среднего положения через отрыв пальцев ног центр тяжести тела (BCG) движется из латеральной в медиальную сторону. Как следствие, центр тяжести тела продвигается через латеральную сторону киля стопы 2. Вначале (низкая передача) и по мере продвижения BCG вперед, он движется медиально на киле стопы 2 (высокая передача). Как следствие, киль стопы 2 протеза стопы обладает автоматическим трансмиссионным эффектом. То есть он начинает с низкой передачи и переходит в высокую передачу при каждом шаге, осуществляемом человеком с ампутированной нижней конечностью.
Поскольку силы, действующие со стороны земли, давят в переднем направлении на протез стопы, который давит на землю в заднем направлении, когда пяточная часть начинает подниматься, передний участок длинной арки участка среднего отдела стопы принимает форму для приложения данных направленных назад сил перпендикулярно его подошвенной плоскости. Это является наиболее эффективным и результативным способом приложения данных сил. То же самое можно сказать о задней части участка заднего отдела стопы. Она также имеет такую форму, что направленные назад силы, действующие со стороны земли, при исходном контакте противоположны плоскости подошвы киля стопы, которая перпендикулярна направлению данных прикладываемых сил.
В последующих фазах подъема пяточной части стопы носок при ходьбе и беге лучевая зона участка переднего отдела стопы отклонена назад к тыльной поверхности на 15°-35°. Данная протягивающаяся вверх дуга позволяет направленным вперед силам, действующим со стороны земли, сжимать данную зону стопы. Данное сжатие встречает меньшее сопротивление, чем растяжение, при этом происходит гладкий переход протеза стопы к фазе подъема при ходьбе и беге. На поздних стадиях фазы положений при ходьбе растянутый ствол голени и растянутая длинная дуга участка среднего отдела стопы высвобождают их накопленную энергию, способствуя движению центра тяжести человека с ампутированной нижней конечностью.
Один из основных механизмов движения при ходьбе человека называется активной пропульсивной фазой. При поднятии пятки вес тела переходит вперед на опорную конечность и центр тяжести опускается. Когда вес тела опускается на рокер участка переднего отдела стопы, линия С-С на Фиг.5, появляется ускорение вниз, которое приводит к тому, что тело принимает на себя максимальную вертикально направленную силу. Ускорение передней части лодыжки ноги, связанное с поднятием пятки, приводит к сдвигу назад по отношению к земле. По мере того, как центр давления движется вперед к осям вращения головок плюсны, появляется постоянно увеличивающийся вращающий момент с изгибом назад. Данное воздействие создает ситуацию полного переднего падения, которое генерирует основное усилие продвижения вперед при ходьбе. Принципами эффективного функционирования голеностопного сустава в процессе активного движения являются подъем пятки, минимальное движение сустава и почти нейтральное положение лодыжки. Стабильное положение средней части стопы является существенным для нормальной последовательности движения при подъеме пятки.
Как отмечалось ранее в некоторых воплощениях, задняя сторона участков заднего и переднего отделов киля стопы включают в себя отверстия протяженных пазов и протяженных упоров. Ориентация отверстий протяженных пазов функционирует как соединительный шарнир, и при этом улучшаются способности движения в двух плоскостях для улучшения общих контактных характеристик подошвенной поверхности стопы при ходьбе по неровному грунту.
Кили стопы Симса на фиг.9-12 четко отличаются по способностям динамического ответа, поскольку данные способности связаны с ходьбой, беговой, прыжковой активностями. Данные кили стопы четко различаются по четырем четким признакам. Они включают наличие вогнутости в проксимальной, задней части участка среднего отдела стопы для размещения формы дистальной оставшейся части конечности лучше, чем плоская поверхность. Данная вогнутость также ниже высоты киля стопы и размещает более длинную оставшуюся часть культи конечности, которая связана с уровнем ампутации по Симсу. Выравнивание вогнутости требует того, чтобы соответствующие передний и задний радиусы выгнутого среднего участка киля стопы являлись более активными и меньшими по размеру. Как следствие, все радиусы длинной арки участка среднего отдела стопы и участка заднего отдела стопы являются более сжатыми и меньшими. Это существенно влияет на характеристики динамического ответа. Меньшие радиусы создают меньший потенциал для динамического ответа. Однако протез стопы отвечает быстрее на все вышеперечисленные силы, действующие со стороны земли при ходьбе, беге и прыжках. Результатом является более быстрая стопа с меньшим динамическом ответом.
Улучшенное, предназначенное для выполнения конкретной задачи функционирование может быть достигнуто при помощи изменений совмещения с использованием протеза стопы данного изобретения, поскольку данные изменения совмещения влияют на вертикальный и горизонтальный компоненты при каждой задаче. Стопа человека является многофункциональным элементом, она участвует в ходьбе, беге и прыжках. Образованная большеберцовой и малоберцовой костями структура ствола голени человека, с другой стороны, не является многофункциональным элементом. Она является простым рычагом, прикладывающим свои усилия при активностях, связанных с ходьбой, бегом и прыжками, параллельно своей продольной проксимально-дистальной ориентации. Она является несжимаемой структурой и не обладает потенциалом в плане накопления энергии. С другой стороны, протез стопы данного изобретения обладает способностями динамического ответа, поскольку способности динамического ответа связаны с горизонтальной и вертикальной линейными скоростями при активностях, связанных со спортивной ходьбой, бегом и прыжками, и превосходит большую и малую берцовые кости человека. Как следствие, имеется возможность улучшить атлетическое функционирование человека с ампутированной нижней конечностью. С данной целью, в соответствии с настоящим изобретением, фиксатор 8 ослабляется, при этом совмещение ствола голени и киля стопы друг с другом регулируется в продольном направлении киля стопы. Такое изменение показано в связи с фиг.1 и 2. Ствол голени затем прикрепляется к килю стопы в отрегулированном положении посредством фиксатора 8. В процессе данной регулировки болт фиксатора скользит относительно одной или обеих расположенных напротив, сравнительно длинных, вытянутых в продольном направлении отверстий 9 и 10 в киле стопы ствола голени, соответственно.
Изменение совмещения, которое улучшает характеристики функционирования бегуна, осуществляющего исходный контакт с землей плоскостью стопы, как в случае бегуна, который ударяет средней частью стопы, является действием, при котором вызывается скольжение киля стопы вперед относительно ствола голени, и подошва стопы сгибается на стволе голени. Данное новое взаимодействие улучшает горизонтальный компонент бега. То есть, когда основание ствола голени изгибается к стопе, и стопа осуществляет контакт с землей при ее плоском расположении, что противоположно исходному пяточному контакту, земля сразу же давит в заднем направлении на стопу, которая давит на землю в переднем направлении. Это заставляет ствол голени двигаться быстро вперед (путем растяжения) и вниз. Силы динамического ответа создаются путем растяжения, которое противостоит движению ствола голени в исходном направлении. Как следствие, стопа поворачивается над несущей вес областью подошвенной плоскости плюсны. Это заставляет область киля, соответствующую среднему отделу стопы, растягиваться, чему можно противостоять в большей степени, чем сжатию. Эффект задержания при растяжении ствола голени и при растяжении среднего отдела стопы состоит в том, что оказывается сопротивление дальнейшему продвижению вперед ствола голени, что позволяет разгибателям коленного сустава и разгибателям бедра в теле человека, использующего протез, перемещать центр тяжести вперед и проксимально более результативным способом (т.е. с улучшением горизонтальной скорости). В данном случае перемещение направлено более вперед, чем в случае бегущего с перекатом с пятки на носок, продвижению ствола голени которого вперед оказывается меньшее противостояние со стороны ствола голени, стартующего с большим изгибом назад (вертикально), чем бегуна, наступающего всей стопой.
Для анализа функционирования спринтерской стопы проделано изменение совмещения ствола голени и киля стопы. Использовано преимущество стопы, имеющей все вогнутости с ориентацией их продольных осей параллельно фронтальной плоскости. Ствол голени изогнут к подошве и сдвинут назад на киле стопы. Это уменьшает дистальные обороты и даже сверх того, что имеет место в случае бегуна, наступающего всей поверхностью стопы, имеющего киль стопы многоцелевого назначения, как, например, на фиг.3-5 и 8. Как следствие, наблюдается больший потенциал горизонтального движения, причем динамический потенциал направлен на осуществление данной улучшенной горизонтальной способности.
Спринтеры обладают расширенным диапазоном движения, сил и механического момента (инерции), момент является основным двигателем. В связи с тем, что фаза торможения их фазы положений короче, чем фаза ускорения, достигаются увеличенные горизонтальные линейные скорости. Это означает, что исходный контакт в момент, когда палец ноги касается земли, земля давит в заднем направлении на стопу, при этом стопа давит на землю в переднем направлении. Ствол голени, который обладает повышенным усилием и механическим моментом, принуждает к большему изгибу и движению вниз, чем при первоначальном контакте бегуна, наступающего всей поверхностью стопы. Как следствие, действия данных усилий, вогнутость удлиненной дуги стопы нагружается путем растяжения, и ствол голени нагружается путем растяжения. Данные растягивающие усилия оказывают противодействие большему растяжению, чем все другие ранее упомянутые усилия, связанные с бегом. Как следствие, способность динамического ответа стопы является пропорциональной прикладываемому усилию. Ответ образованного большой и малой берцовыми костями ствола голени человека связан только с энергетическим потенциалом усилия, поскольку он является вертикальной структурой и не может накапливать энергию. Данные растягивающие усилия в протезе стопы данного изобретения при спринтерском беге имеют большую величину, чем все другие упомянутые ранее усилия, связанные с ходьбой и бегом. Как следствие, способность динамического ответа стопы пропорциональна прикладываемым усилиям, и становится возможной улучшенное атлетическое функционирование человека с ампутированной нижней конечностью по сравнению с функционированием тела обычного человека.
Протезы 53 стопы, изображенные на фиг.25, похожи на таковые на фиг.3, за исключением регулируемого скрепляющего приспособления между стволом голени и килем стопы и конструкции верхнего конца ствола голени в плане соединения с нижним концом пилона. В данном воплощении, представленном в качестве примера, киль 54 стопы регулируемо соединен со стволом голени 55 посредством пластикового или изготовленного из металлического сплава соединительного элемента 56. Соединительный элемент прикреплен к килю стопы и стволу голени при помощи, соответственно, высвобождаемых фиксаторов 57 и 58, которые находятся в соединительном элементе на расстоянии друг от друга в направлении вдоль продольной оси киля стопы. Фиксатор 58, соединяющий соединительный элемент со стволом голени, находится в более заднем положении, чем фиксатор 57, соединяющий киль стопы и соединительный элемент. Путем повышения таким способом активной длины ствола голени способности динамического ответа самого по себе ствола голени увеличиваются. Изменения совмещения осуществлены во взаимодействии с вытянутыми в продольном направлении отверстиями в стволе голени и киле стопы.
Верхний конец ствола голени 55 сформирован с наличием удлиненного отверстия 59 для принятия пилона 15. С момента вставки в отверстие пилон может быть надежно скреплен со стволом голени путем затягивания болтов 60 и 61 для притягивания свободных боковых концов 62 и 63 ствола голени друг к другу. Данное соединение пилона может быть без труда отрегулировано посредством ослабления болтов, выдвигая пилон относительно ствола голени в желаемое положение и вновь скрепляя пилон в отрегулированном положении путем затягивания болтов.
Протез стопы 70 согласно дополнительному воплощению данного изобретения изображен на фиг.28-31В. Протез 70 стопы содержит киль стопы 71, ствол голени 72 и соединительный элемент 73. Протез стопы 70 похож на протез стопы 53 в воплощении, представленном на фиг.25-27, за исключением того, что ствол голени 72 сформирован с наличием обращенного вниз и вперед выпукло закругленного нижнего конца 74, который имеет форму спирали 75. Ствол голени направлен вверх и вперед от спирали до его вертикально стоящего верхнего конца, как видно на фиг.28. Ствол голени может преимущественно быть сформирован из металла, такого как титан, при этом могут быть использованы другие пружинящие материалы для формирования полужесткого пружинящего ствола голени. Спиральная форма в области нижнего конца ствола голени характеризуется радиусом кривизны, который постепенно увеличивается по мере того, как ствол голени продвигается по спирали во внешнем направлении от радиально внутреннего его конца 76 и по мере того, как он простирается вверх от его нижнего спирального конца к его верхнему концу, который может быть закругленным или прямым. Было обнаружено, что данная конструкция создает протез ноги с интегрированным голеностопным сочленением и стволом голени с разнообразными радиусами результирующего ответа аналогично параболической форме ствола голени данного изобретения, при этом в то же время позволяя соединительному элементу 73 и стволу голени 72 находиться в более заднем положении на киле стопы 71. Как результат, ствол голени и соединительный элемент являются спрятанными более центрально в области, соответствующей лодыжке и ноге косметического покрытия 77, см. фиг.28.
Соединительный элемент 73 сформирован из пластмассы или металлического сплава и регулируемо прикреплен в области его переднего конца к задней части киля стопы 71 при помощи резьбового фиксатора 78, как показано на фиг.30. Киль стопы имеет отверстие 79, вытянутое в продольном направлении в его выгнутом вверх участке, которое принимает фиксатор 78 для того, чтобы обеспечить регулировку выравнивания ствола голени и киля стопы по отношению друг к другу в продольном направлении, например, вдоль линии 30-30 на фиг.29 способом, объяснение которого приводится выше в связи с другими воплощениями.
Задний конец соединительного элемента включает поперечный элемент 80, который закрепляется между двумя расположенными в продольном направлении пластинами 81 и 82 соединительного элемента при помощи металлических винтов 83 и 84 на каждом конце поперечного элемента. Радиально внутренний конец 76 спирали 75 прикреплен к поперечному элементу 80 соединительного элемента при помощи резьбового фиксатора 85, как изображено на фиг.30. Начиная от данной точки соединения с резьбовым элементом ствол голени проходит по спирали вокруг радиально внутреннего конца 76 выше пяточной части киля стопы и направлен вверх вперед от спирали через отверстие 85 в соединительном элементе между пластинами 81 и 82 впереди поперечного элемента 80. Поперечный элемент 86 в передней части соединительного элемента 73 закреплен между пластинами 81 и 82 при помощи фиксаторов 87 и 88 на каждом конце, как видно на фиг.28 и 30. Фиксатор 78 вставляется в резьбовое отверстие в поперечном элементе 86.
Задняя поверхность поперечного элемента 86 поддерживает клин 87, сформированный, например, из пластмассы или каучука, который связан при помощи адгезива с фиксатором 88 поперечного элемента. Клин служит в качестве стопора для ограничения изгиба к тыльной поверхности направленного вверх ствола голени при ходьбе. Размер клина может быть выбран шире, при 87′ на фиг.31А или уже, при 87” на фиг.31 В, для того чтобы позволить осуществлять регулировку желаемой величины изгиба к тыльной поверхности. Одновременно может быть использовано множество клиньев, один над другим и адгезивно связанных соединительным элементом для уменьшения разрешаемого изгиба к тыльной стороне.
Каркас протеза, не показан, присоединенный к культе нижней конечности человека с ампутированной нижней конечностью, может быть соединен с верхним концом ствола голени 72 посредством адаптера 88, прикрепленного к верхнему концу ствола голени фиксатором 89 и 90, как показано на фиг.28. Адаптер имеет узел крепления 91 в форме обратной пирамиды, соединенный с пластиной присоединения, присоединенной в верхней поверхности адаптера. Пирамидообразный узел воспринимается узлом каркасного типа комплементарной формы на зависимом каркасе протеза для объединения протеза стопы и каркаса протеза.
Данным разделом завершается описание воплощений, представленных примерами. Хотя настоящее изобретение описано со ссылкой на ряд иллюстративных воплощений, следует понимать, что многочисленные другие модификации и воплощения могут быть разработаны специалистами в данной области техники, и они охватываются сущностью и объемом принципов данного изобретения. Например, нижний конец ствола голени в протезе стопы данного изобретения не ограничен параболической формой или в целом параболической формой или спиральной формой, но может быть иначе сконфигурирован выпуклым книзу, криволинейно для получения желаемых двигательных результатов стопы при соединении с килем стопы для формирования области голеностопного сустава стопы. Признаки различных воплощений могут также использоваться один с другим. Более конкретно, возможны целесообразные вариации и модификации частей компонентов и/или расположений комбинации объектов в пределах объема вышеприведенного раскрытия, чертежей и прилагаемой формулы изобретения без отхода от сущности изобретения. В дополнение к вариациям и модификациям частей компонентов и/или расположений альтернативные применения будут также очевидными для специалистов в данной области техники.
Формула изобретения
1. Протез стопы, содержащий вытянутый в продольном направлении киль стопы, ствол голени, прикрепленный к килю стопы по его нижнему концу и направленный вверх от киля стопы, в котором нижний конец ствола голени имеет форму спирали, ствол голени направлен вверх впереди от спирали до его вертикально стоящего верхнего конца.
2. Протез стопы по п.1, в котором ствол голени прикреплен к килю стопы посредством соединительного элемента.
3. Протез стопы по п.2, в котором радиально внутренний конец спирали ствола голени скрепляется с соединительным элементом.
4. Протез стопы по п.3, в котором нижний конец ствола голени проходит по спирали вокруг радиально внутреннего конца над килем стопы.
5. Протез стопы по п.1, в котором соединительный элемент включает стопор для ограничения изгиба направленного вверх ствола голени к тыльной стороне при ходьбе.
6. Протез стопы по п.5, в котором указанный стопор включает, по меньшей мере, один элемент в форме клина, прикрепленный к соединительному элементу в передней части ствола голени.
7. Протез стопы по п.1, в котором ствол голени прикреплен к задней части киля стопы и направлен вверх над участком заднего отдела стопы и задней частью участка среднего отдела киля стопы.
8. Протез стопы по п.1, дополнительно содержащий косметическое покрытие в форме стопы и нижней части ноги человека, косметическое покрытие расположено над килем стопы и, по меньшей мере, над нижним концом ствола голени, и ствол голени поднимается вверх от киля стопы внутри покрытия нижней части ноги.
9. Протез стопы по п.1, дополнительно содержащий регулируемое закрепляющее приспособление, позволяющее осуществлять регулировку взаимодействия киля стопы и ствола голени для настройки функционирования протеза стопы.
10. Протез стопы по п.9, в котором регулируемое закрепляющее приспособление включает, по меньшей мере, один высвобождаемый фиксатор и вытянутое в продольном направлении отверстие в киле стопы, через которое проходит фиксатор для того, чтобы позволить осуществить регулировку совмещения ствола голени и киля стопы в продольном направлении киля стопы.
11. Протез стопы по п.1, в котором ствол голени имеет радиус кривизны, который увеличивается постепенно по мере продвижения ствола голени по спирали во внешнем направлении и по направлению ствола голени вверх от его нижнего спирального конца.
12. Протез стопы по п.1, в котором киль стопы имеет выпукло закругленную вверх тыльную поверхность участка среднего отдела киля стопы, обращенную к спиральному нижнему концу ствола голени, причем радиусы кривизны спирали и выпукло закругленной тыльной поверхности киля стопы влияют на способность динамического ответа и двигательный результат протеза стопы при ходьбе.
13. Протез стопы, содержащий вытянутый в продольном направлении киль стопы, соединительный элемент, соединенный с килем стопы, пружинящий, вертикально стоящий ствол голени, имеющий нижний конец, соединенный с килем стопы посредством соединительного элемента для формирования области голеностопного сочленения стопы, и верхний конец для соединения с поддерживающей структурой ноги человека с ампутированной конечностью, в котором нижний конец ствола голени имеет форму спирали, ствол голени направлен вверх впереди от спирали до его вертикально стоящего верхнего конца.
14. Протез стопы по п.13, в котором соединительный элемент включает стопор для ограничения изгиба ствола голени к тыльной стороне при ходьбе.
15. Протез стопы по п.14, в котором стопор включает, по меньшей мере, один элемент в форме клина, прикрепленный к соединительному элементу впереди ствола голени.
16. Протез стопы по п.13, дополнительно содержащий регулируемое закрепляющее приспособление для того, чтобы позволить осуществить регулировку совмещения ствола голени и киля стопы по отношению друг к другу в продольном направлении киля стопы для настройки функционирования протеза стопы.
17. Протез стопы по п.16, в котором регулируемое закрепляющее приспособление включает, по меньшей мере, один высвобождаемый фиксатор, соединяющий киль стопы и соединительный элемент и вытянутое в продольном направлении отверстие в киле стопы, через которое фиксатор проходит для того, чтобы позволить осуществить указанную регулировку совмещения киля стопы и ствола голени.
18. Протез стопы по п.13, в котором спиральный нижний конец ствола голени имеет радиус кривизны, который постепенно увеличивается по мере продвижения ствола голени по спирали и по направлению вверх от его нижнего спирального конца.
19. Протез стопы по п.13, дополнительно содержащий косметическое покрытие в форме человеческой стопы и нижней части ноги, косметическое покрытие расположено над килем стопы и, по меньшей мере, над нижним концом ствола голени, и ствол голени поднимается вверх от киля стопы внутри покрытия нижней части ноги.
20. Ствол голени для протеза стопы, содержащий удлиненный полужесткий упругий элемент, имеющий один конец в форме спирали для прикрепления к килю стопы для формирования области голеностопного сочленения протеза стопы и противоположный конец для соединения с поддерживающей структурой на ноге человека с ампутированной нижней конечностью, причем элемент простирается криволинейно с постепенно увеличивающимся радиусом кривизны от спирали на одном конце по направлению к указанному противоположному концу.
21. Ствол голени по п.20, в котором радиально внутренний конец спирали на указанном одном конце данного элемента включает фиксатор для скрепления ствола голени с соединительным элементом для прикрепления к килю стопы.
22. Ствол голени по п.21, в котором один конец данного элемента расположен по спирали вокруг радиально внутреннего конца перед протягиванием по направлению к противоположному концу.
23. Ствол голени по п.21, в котором противоположный конец данного элемента включает прикрепленный к нему адаптер и установленный на нем узел крепления в форме обратной пирамиды.
РИСУНКИ
|
|