|
|
(21), (22) Заявка: 2005109569/14, 05.04.2005
(24) Дата начала отсчета срока действия патента:
05.04.2005
(43) Дата публикации заявки: 10.09.2006
(46) Опубликовано: 27.02.2007
(56) Список документов, цитированных в отчете о поиске:
RU 2007136 C1, 15.02.1994. US 4620539 A, 29.10.1985. DE 3700487 A1, 21.07.1988. ФЕДОРОВ И.В. Хирургические инструменты. – Казань: АКП «АДЕЛАИДА», 2001, с.95, рис.10-6.
Адрес для переписки:
141070, Московская обл., г. Королев, ул. Октябрьская, 25/26, кв.29, Н.В. Корягиной
|
(72) Автор(ы):
Корягина Наталия Владимировна (RU)
(73) Патентообладатель(и):
Корягина Наталия Владимировна (RU)
|
(54) ХИРУРГИЧЕСКАЯ ДРЕЛЬ
(57) Реферат:
Изобретение относится к медицинской технике и может быть использовано, например, в травматологии и ортопедии для обработки костных тканей. Хирургическая дрель содержит корпус и соединенный с корпусом привод, который кинематически связан с выходным валом. Выходной вал имеет инструментальный канал и съемный зажимной патрон на рабочем конце. Кинематическая связь привода с выходным валом включает, как минимум, один редуктор для увеличения крутящего момента выходного вала. Выходной вал снабжен опорным круговым выступом под съемный зажимной патрон и/или под съемный переходник. Опорный круговой выступ выполнен для уменьшения биения съемного зажимного патрона и/или съемного переходника и имеет диаметр, составляющий не менее 1/6 от диаметра нерабочего торца съемного зажимного патрона и/или съемного переходника. Технический результат изобретения заключается в сокращении времени операции и в атравматичном взаимодействии с обрабатываемой тканью спиц и инструментов, которые устанавливают в съемном зажимном патроне хирургической дрели. 3 з.п. ф-лы, 3 ил.
Изобретение относится к медицинской технике и может быть использовано, например, в травматологии и ортопедии для обработки костных тканей.
Известна хирургическая дрель, содержащая корпус и соединенный с корпусом привод, кинематически связанный с выходным валом, имеющим инструментальный канал (см. SU 1225544 А, 23.04.1986).
К недостатком дрели по SU 1225544 прежде всего следует отнести отсутствие в ней съемного зажимного патрона, что ограничивает ее функциональные возможности. Размещенное в корпусе дрели средство для фиксации инструмента может быть использовано только для спиц, относящихся к определенному диапазону размеров, и не может быть заменено в процессе эксплуатации на средство, способное взаимодействовать с другими спицами или с другими инструментами, кроме того, известная дрель имеет сложную конструкцию.
Более близкой к предлагаемому изобретению является хирургическая дрель, содержащая корпус и соединенный с корпусом привод, кинематически связанный с выходным валом, имеющим инструментальный канал и съемный зажимной патрон на рабочем конце (см. RU 2007136 С1, 15.02.1994).
Известная дрель способна взаимодействовать практически с любыми спицами и с инструментами, имеющими хвостовики различных диаметров, однако она (так же как, и другие известные хирургические дрели) имеет биение инструмента, не удовлетворяющее современным требованиям, предъявляемым к инструментам такого рода.
Задача, на решение которой направлено данное, изобретение заключается в создании хирургической дрели простой конструкции, имеющей уменьшенное биение съемного зажимного патрона и/или съемного переходника и обеспечивающей, как следствие, незначительное отклонение спицы или инструмента от оси канала, получаемого в костной ткани.
Соответственно техническим результатом изобретения является атравматичное взаимодействие с обрабатываемой тканью спиц и инструментов, установленных в съемном зажимном патроне хирургической дрели, и сокращение времени операции.
Сущность изобретения выражается в совокупности существенных признаков, в которой хирургическая дрель, содержащая корпус и соединенный с корпусом привод, кинематически связанный с выходным валом, имеющим инструментальный канал и съемный зажимной патрон на рабочем конце, отличается от ближайшего аналога тем, что кинематическая связь привода с выходным валом включает, как минимум, один редуктор для увеличения крутящего момента выходного вала, снабженного опорным круговым выступом под съемный зажимной патрон и/или под съемный переходник, причем опорный круговой выступ выполнен для уменьшения биения съемного зажимного патрона и/или съемного переходника и имеет диаметр, составляющий не менее 1/6 от диаметра нерабочего торца съемного зажимного патрона и/или съемного переходника.
Приведенная совокупность существенных признаков достаточна для достижения технического результата изобретения во всех случаях, на которые распространяется испрашиваемый объем правовой охраны.
В частных случаях своего выполнения или использования дрель может содержать привод, который выполнен съемным и имеет электродвигатель, кинематическую связь, включающую зубчатую передачу, а также установленный на резьбе патрон с кулачковым и/или цанговым механизмом, причем патрон может быть выполнен с возможностью автоматической фиксации спиц и/или инструментов.
Причинно-следственная связь перечисленных признаков с техническим результатом изобретения заключается в том, что выполнение кинематической связи привода с выходным валом с, как минимум, одним редуктором для увеличения крутящего момента выходного вала позволяет ускорить обработку костной ткани, а наличие на выходном валу опорного кругового выступа под съемный зажимной патрон и/или под съемный переходник, выполненного для уменьшения биения съемного зажимного патрона и/или съемного переходника и имеющего диаметр, составляющий не менее 1/6 от диаметра нерабочего торца съемного зажимного патрона и/или съемного переходника, позволяет свести к минимуму отклонения спиц и инструментов от их продольных осей и обеспечить снижение травматичности операции.
Уменьшение биения происходит за счет того, что взаимодействие опорного кругового выступа и съемного зажимного патрона и/или съемного переходника ставит патрон и/или переходник в определенное положение по отношению к продольной оси выходного вала с однократной выборкой всех установочных зазоров (например, зазоров, обеспечивающих свинчивание выходного вала и съемного зажимного патрона и/или съемного переходника).
При этом соотношение диаметра опорного кругового выступа выходного вала и торцевых диаметров зажимного патрона и/или переходника, составляющее не менее 1/6 от диаметра нерабочего торца съемного зажимного патрона и/или съемного переходника, является необходимым условием для снижения травматичности операции. При несоблюдении этого соотношения биение спиц и/или инструментов резко возрастает, оказывая отрицательное влияние как на точность их ввода в кость, так и на форму канала в костной ткани (особенно на форму его входного участка). Этот вывод подтверждается следующими примерами осуществления изобретения.
При установке на дрель съемного зажимного патрона с диаметром нерабочего торца 24 мм и наличии в дрели выходного вала с опорным круговым выступом диаметром 18 мм биение установленной в патрон спицы было допустимым.
При использовании съемного зажимного патрона с диаметром нерабочего торца 32 мм и выходного вала с диаметром опорного кругового выступа 5 мм биение резко возросло, т.к. новый зажимной патрон уже не имел нужной площади опоры, компенсирующей при высокоскоростном вращении его размеры и массу.
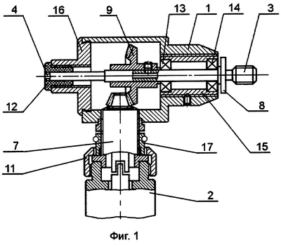
Сущность изобретения поясняется чертежом, где на фиг.1 дан продольный разрез хирургической дрели, на фиг.2 показана хирургическая дрель со съемным зажимным патроном и на фиг.3 – хирургическая дрель со съемным зажимным патроном и со съемным переходником.
Хирургическая дрель содержит корпус 1 и соединенный с корпусом 1 привод 2. Привод 2 кинематически связан с выходным валом 3, имеющим инструментальный канал 4 и съемный зажимной патрон 5 или съемный переходник 6 на рабочем конце. Кинематическая связь привода 2 с выходным валом 3 включает, как минимум, один редуктор 7, выполненный для увеличения крутящего момента выходного вала 3. Опорный вал 3 снабжен опорным круговым выступом 8 под съемный зажимной патрон 5 и/или под съемный переходник 6. Опорный круговой выступ 8 выполнен для уменьшения биения съемного зажимного патрона 5 и/или съемного переходника 6 и имеет диаметр, составляющий не менее 1/6 от диаметра нерабочего торца съемного зажимного патрона 5 и/или съемного переходника 6.
В частных случаях своего выполнения или использования дрель может содержать привод 2, который выполнен съемным и включает электродвигатель, кинематическую связь, которая кроме редуктора включает зубчатую передачу 9, а также съемный зажимной патрон 5, установленный на резьбе и имеющий кулачковый механизм и/или цанговый механизм, причем съемный зажимной патрон 5 может быть выполнен с возможностью автоматической фиксации спиц и/или инструментов.
Съемный привод 2 может иметь средство подсоединения, включающее накидную гайку 11, выходной вал 3 может располагаться в подшипнике скольжения 12 и в подшипниках качения 13, 14, установленных во вкладыше 15, а корпус 1 может иметь крышку 16 и ручку 17, в которой установлен, как минимум, один редуктор 7.
Для работы съемный привод 2, включающий электродвигатель, при помощи средства подсоединения с накидной гайкой 11 соединяют с ручкой 17. Затем в инструментальный канал 4 выходного вала 3 вставляют, например, спицу 18, которую фиксируют предварительно установленным на выходном валу 3 съемным зажимным патроном 5. При установке (навинчивании) съемный зажимной патрон 5 упирается торцом в размещенный на выходном валу 3 опорный круговой выступ 8. Поскольку опорный круговой выступ 8 выполнен для уменьшения биения съемного зажимного патрона 5 и/или съемного переходника 6 и имеет диаметр, составляющий не менее 1/6 от диаметра нерабочего торца съемного зажимного патрона 5 и/или съемного переходника 6, зажимной патрон 5 имеет значительно меньшее отклонение своей оси от продольной оси выходного вала 3. В дальнейшем вследствие сохраняющегося контакта зажимного вала 5 и опорного кругового выступа 8 это сравнительно небольшое отклонение остается неизменным до конца работы дрели.
Вращение от привода 2 через, как минимум, один редуктор 7, выполненный для увеличения крутящего момента выходного вала 3, и зубчатую передачу 9 передается на выходной вал 3, вращающийся в подшипнике скольжения 12 и в подшипниках качения 13 и 14.
При необходимости съемный зажимной патрон 5 заменяют. Если новый патрон не может быть установлен непосредственно на выходной вал 3, применяют съемный переходник 6. Соединение зажимного патрона 5 и съемного переходника 6 увеличивает биение спицы или инструмента, но его значение и в этом случае будет меньшим, чем у аналогичного соединения других дрелей.
Формула изобретения
1. Хирургическая дрель, содержащая корпус и соединенный с корпусом привод, кинематически связанный с выходным валом, имеющим инструментальный канал и съемный зажимной патрон на рабочем конце, отличающаяся тем, что кинематическая связь привода с выходным валом включает как минимум один редуктор для увеличения крутящего момента выходного вала, снабженного опорным выступом под съемный зажимной патрон и/или под съемный переходник, причем опорный выступ выполнен для уменьшения биения съемного зажимного патрона и/или съемного переходника и имеет наибольший поперечный размер, составляющий не менее 1/6 от диаметра нерабочего торца съемного зажимного патрона и/или съемного переходника.
2. Дрель по п.1, отличающаяся тем, что привод выполнен съемным и имеет электродвигатель, кинематическая связь включает зубчатую передачу, а патрон установлен на резьбе и имеет кулачковый механизм и/или цанговый механизм.
3. Дрель по п.1, отличающаяся тем, что опорный выступ имеет дискообразную форму или форму цилиндра.
4. Дрель по п.1, или 2, или 3, отличающаяся тем, что патрон выполнен с возможностью автоматической фиксации спиц и/или инструментов.
РИСУНКИ
MM4A – Досрочное прекращение действия патента СССР или патента Российской Федерации на изобретение из-за неуплаты в установленный срок пошлины за поддержание патента в силе
Дата прекращения действия патента: 06.04.2007
Извещение опубликовано: 20.07.2008 БИ: 20/2008
|
|