|
|
(21), (22) Заявка: 2005109571/14, 05.04.2005
(24) Дата начала отсчета срока действия патента:
05.04.2005
(43) Дата публикации заявки: 20.10.2006
(46) Опубликовано: 27.02.2007
(56) Список документов, цитированных в отчете о поиске:
RU 2228150 C1, 10.05.2004. SU 1598980 A1, 15.10.1990. DE 3640516 C1, 28.04.1998. US 4617930 A, 21.10.1986. DE 3640516 С1, 28.04.1988.
Адрес для переписки:
141070, Московская обл., г. Королев, ул. Октябрьская, 25/26, кв.29, Н.В. Корягиной
|
(72) Автор(ы):
Корягина Наталия Владимировна (RU)
(73) Патентообладатель(и):
Корягина Наталия Владимировна (RU)
|
(54) ФИКСАТОР МЕДИЦИНСКОГО РЕЖУЩЕГО ПОЛОТНА
(57) Реферат:
Изобретение относится к медицинской технике и может использоваться в качестве средства крепления рабочих частей как ручных, так и механизированных хирургических инструментов. Фиксатор медицинского режущего полотна содержит корпус с установочной поверхностью и, как минимум, один удерживающий элемент в виде рамы. Удерживающий элемент снабжен фигурными неровностями, которые расположены с возможностью взаимодействия с дополнительными фигурными неровностями на режущем полотне, и/или с фигурным отверстиями в режущем полотне, и/или с ребрами режущего полотна, и/или с ответным выступом на режущем полоне. Высота фигурных неровностей составляет не менее 1/4 от высоты дополнительных фигурных неровностей, или от толщины режущего полотна, или от высоты ответного выступа. Технический результат изобретения заключается в удобстве работы, простоте эксплуатации и атравматическом взаимодействии режущего полотна с рассекаемыми тканями. 6 з.п. ф-лы, 4 ил.
Изобретение относится к медицинской технике и может использоваться в качестве средства крепления рабочих частей как ручных, так и механизированных хирургических инструментов.
Известен фиксатор медицинского режущего полотна по описанию к авторскому свидетельству СССР №1598980, А 61 В 17/14, 1990, содержащий удерживающие элементы и установочную поверхность.
Недостатком фиксатора по описанию к авторскому свидетельству СССР №1598980 является сложность его конструкции. Сложная конструкция фиксатора не только усложняет замену режущего полотна в процессе операции, но и обслуживание всего инструмента в целом.
Кроме того, конструкция известного фиксатора не исключает наличие зазоров между режущим полотном и удерживающими это полотно элементами. Зазоры являются причиной люфтов режущего полотна и приводят к его преждевременному износу.
Наиболее близким к предлагаемому изобретению является фиксатор К.А.Дроздова медицинского режущего полотна по описанию к патенту Российской Федерации №2228150, А 61 В 17/14, 17/16, 2004, содержащий корпус с установочной поверхностью и, как минимум, один удерживающий элемент в виде рамы.
По сравнению с другими известными техническими решениями фиксатор по описанию к патенту №2228150 в наибольшей степени удовлетворяет требованиям, предъявляемым к устройствам такого рода, однако его конструкция не учитывает следующего обстоятельства: при сильном нажиме удерживающего элемента на режущее полотно вибрация, возникающая в процессе работы, еще больше затягивает удерживающий элемент и делает затруднительным съем или замену режущего полотна в процессе операции, а при слабом нажиме ослабляет крепление этого полотна в фиксаторе.
Задача, на решение которой направлено настоящее изобретение, заключается в создании фиксатора медицинского режущего полотна с улучшенными эксплуатационными свойствами.
Технический результат изобретения – удобство работы, простота эксплуатации, а также атравматичное взаимодействие режущего полотна с рассекаемыми тканями.
Сущность изобретения выражается совокупностью существенных признаков, характеризующей фиксатор медицинского режущего полотна, содержащий корпус с установочной поверхностью и, как минимум, один удерживающий элемент в виде рамы, отличающийся от ближайшего аналога тем, что удерживающий элемент снабжен фигурными неровностями, которые расположены с возможностью взаимодействия с дополнительными фигурными неровностями, размещенными на режущем полотне, и/или с фигурными отверстиями в режущем полотне, и/или с ребрами режущего полотна, и/или с ответным выступом на режущем полотне, при этом высота фигурных неровностей составляет не менее 1/4 от высоты дополнительных фигурных неровностей, или от толщины режущего полотна, или от высоты ответного выступа.
Приведенная совокупность существенных признаков обеспечивает получение технического результата во всех случаях, на которые распространяется испрашиваемый объем правовой охраны.
В частных случаях своего выполнения или использования фиксатор медицинского режущего полотна может содержать ограничитель смещения режущего полотна, который может быть выполнен в виде стопора, или в виде упора, имеющего поверхность под ответную прорезь в режущем полотне, или в виде упора, соосного с приводным валом и имеющего поверхность под ответную прорезь в режущем полотне, или в виде концевого участка приводного вала, имеющего поверхность под ответную прорезь в режущем полотне; установочную поверхность, выполненную в виде паза, под хвостовик режущего полотна; удерживающий элемент в виде рамы кольцеобразной формы; ответный выступ на режущем полотне в виде размещенного в отверстии стержня; удерживающий элемент в виде рамы, имеющий крышку или стенку, расположенную параллельно его рабочей поверхности; удерживающий элемент в виде рамы, выполненный в виде установленного на резьбе подвижного прижима.
Причинно-следственная связь перечисленных признаков с техническим результатом изобретения заключается в том, что наличие в фиксаторе установочной поверхности позволяет хирургу легко устанавливать режущее полотно в фиксатор и осуществлять его последующее крепление, причем выполнение установочной поверхности в виде паза под хвостовик режущего полотна облегчает эту установку за счет формы паза и формы хвостовика.
Выполнение, как минимум, одного удерживающего элемента в виде рамы снижает вес фиксатора и облегчает его стерилизацию. Кроме того, такое выполнение дает возможность осуществить чистку тех элементов конструкции, которые, как правило, недоступны для этой процедуры (например, чистку установочного паза).
Выполнение удерживающего элемента с фигурными неровностями, которые расположены с возможностью взаимодействия с дополнительными фигурными неровностями, размещенными на режущем полотне, и/или с фигурными отверстиями в режущем полотне, и/или с ребрами режущего полотна, и/или с ответным выступом на режущем полотне, позволяет нейтрализовать отрицательное влияние возникающей при работе вибрации на положение удерживающего элемента относительно режущего полотна и предотвратить как его чрезмерное затягивание, так и ослабление создаваемого им прижимного усилия.
Выбор высоты фигурных неровностей, которая составляет не менее 1/4 от высоты дополнительных фигурных неровностей высоты, или от толщины режущего полотна, или от высоты ответного выступа, проведен на основании исследований, в результате которых установлено, что иная высота неровностей не обеспечивает сохранения положения удерживающего элемента относительно режущего полотна из-за недостаточности возникающих между неровностями сил трения. Существенность этого соотношения подтверждается следующими примерами. Так, при выполнении фигурных неровностей высотой 0,5 мм при высоте дополнительных фигурных неровностей 2,4 мм отмечалось изменение положения полотна через 4 мин после приведения устройства в действие. В то же время при выполнении фигурных неровностей высотой 0,6 мм при той же высоте дополнительных фигурных неровностей отмечалось стабильное положение пилы в процессе ее работы, без временных ограничений.
Кольцеобразная форма, как минимум, одного удерживающего элемента является наиболее простой для изготовления формой.
Выполнение фиксатора с ограничителем смещения режущего полотна, который может быть выполнен в виде стопора, или в виде упора, имеющего поверхность под ответную прорезь в режущем полотне, или в виде упора, соосного с приводным валом и имеющего поверхность под ответную прорезь в режущем полотне, или в виде концевого участка приводного вала, имеющего поверхность под ответную прорезь в режущем полотне, позволяет обеспечить дополнительную фиксацию режущего полотна при его изгибах.
Ответный выступ на режущем полотне в виде размещенного в отверстии стержня упрощает конструкцию, а при выполнении удерживающего элемента в виде рамы с крышкой или стенкой, расположенной параллельно его рабочей поверхности, фиксатор может использоваться в глубоких ранах или при неблагоприятных условиях, при этом изготовление его удерживающего элемента в виде рамы, выполненного в виде установленного на резьбе подвижного прижима, позволяет взаимодействовать этому прижиму с режущими полотнами разной толщины.
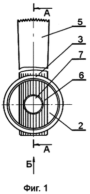
Сущность изобретения поясняется чертежами, где на фиг.1 изображен вид фиксатора медицинского режущего полотна сверху, на фиг.2 – сечение А-А, показанное на фиг.1, и на фиг.3 и 4 – два примера из частных случаев выполнения фиксатора, проиллюстрированные видом Б на фиг.1.
Фиксатор медицинского режущего полотна содержит корпус 1 с установочной поверхностью 2 и, как минимум, один удерживающий элемент в виде рамы 3. Удерживающий элемент 3 снабжен фигурными неровностями 4, которые расположены с возможностью взаимодействия с дополнительными фигурными неровностями 6, размещенными на режущем полотне 5, и/или с фигурными отверстиями в режущем полотне 5, и/или с ребрами режущего полотна 5, и/или с ответным выступом на режущем полотне 5, при этом высота фигурных неровностей 4 составляет не менее 1/4 от высоты дополнительных фигурных неровностей 6, или от толщины режущего полотна 5, или от высоты ответного выступа.
Фиксатор медицинского режущего полотна может иметь ограничитель смещения режущего полотна 5, который может быть выполнен в виде стопора, или в виде упора, имеющего поверхность под ответную прорезь в режущем полотне 5, или в виде упора, соосного с приводным валом 7 и имеющего поверхность под ответную прорезь в режущем полотне 5, или в виде концевого участка приводного вала 7, имеющего поверхность 8 под ответную прорезь в режущем полотне 5; установочную поверхность 2, выполненную в виде паза, под хвостовик режущего полотна 5; удерживающий элемент 3 в виде рамы кольцеобразной формы; ответный выступ на режущем полотне 5 в виде размещенного в отверстии стержня 9; удерживающий элемент 3 в виде рамы, имеющий крышку или стенку, расположенную параллельно его рабочей поверхности, и удерживающий элемент 3 в виде рамы, выполненный в виде установленного на резьбе подвижного прижима.
При работе с фиксатором режущее полотно 5 размещают на установочной поверхности 2 корпуса 1, выполненной, например, в виде паза под хвостовик режущего полотна 5. При установке концевой участок 8 приводного вала 7 может входить в ответную прорезь в режущем полотне 5, а фигурные неровности 4 входят во взаимодействие с дополнительными фигурными неровностями 6, размещенными на режущем полотне 5, и/или с фигурными отверстиями в режущем полотне 5, и/или с ребрами режущего полотна 5, и/или с ответным выступом на режущем полотне 5, выполненным, например, в виде размещенного в отверстии стержня 9. Затем удерживающий элемент 3 навинчивают на корпус 1, закрепляя хвостовик режущего полотна 5 в требуемом положении. Режущее полотно 5 позволяет осуществить такое навинчивание удерживающего элемента 3 на корпус 1, обеспечивая за счет своих пружинящих свойств скольжение фигурных неровностей 4 по дополнительным фигурным неровностям 6 или по выступу, выполненному в виде стержня 10. При установке медицинского режущего полотна 5 дополнительных усилий как для вращения удерживающего элемента 3, так и для его затягивания не требуется.
В процессе резания фигурные неровности 4 и дополнительные фигурные неровности 6 или выступ в виде стержня 10 не дают вращаться удерживающему элементу 3 и затянуть соединение или, наоборот, ослабить его.
После проведения операции режущее медицинское полотно 5 извлекают из корпуса 1 без прикладывания больших усилий к удерживающему элементу 3 и без риска повредить инструмент или руку.
Формула изобретения
1. Фиксатор медицинского режущего полотна, содержащий корпус с установочной поверхностью и как минимум один удерживающий элемент в виде рамы, отличающийся тем, что удерживающий элемент снабжен фигурными неровностями, которые расположены с возможностью взаимодействия с дополнительными фигурными неровностями, размещенными на режущем полотне, и/или с фигурными отверстиями в режущем полотне, и/или с ребрами режущего полотна, и/или с ответным выступом на режущем полотне, при этом высота фигурных неровностей составляет не менее 1/4 от высоты дополнительных фигурных неровностей, или от толщины режущего полотна, или от высоты ответного выступа.
2. Фиксатор по п.1, отличающийся тем, что имеет ограничитель смещения режущего полотна, который выполнен в виде стопора, или в виде упора, имеющего поверхность под ответную прорезь в режущем полотне, или в виде упора, соосного с приводным валом и имеющего поверхность под ответную прорезь в режущем полотне, или в виде концевого участка приводного вала, имеющего поверхность под ответную прорезь в режущем полотне.
3. Фиксатор по п.1, отличающийся тем, что установочная поверхность выполнена в виде паза, под хвостовик режущего полотна.
4. Фиксатор по п.1, отличающийся тем, что удерживающий элемент в виде рамы имеет кольцеобразную форму.
5. Фиксатор по п.1, отличающийся тем, что ответный выступ на режущем полотне выполнен в виде размещенного в отверстии стержня.
6. Фиксатор по п.1, отличающийся тем, что удерживающий элемент в виде рамы имеет крышку или стенку, расположенную параллельно его рабочей поверхности.
7. Фиксатор по п.1, или 2, или 3, или 4, или 5, или 6, отличающийся тем, что удерживающий элемент в виде рамы выполнен в виде установленного на резьбе подвижного прижима.
РИСУНКИ
MM4A – Досрочное прекращение действия патента СССР или патента Российской Федерации на изобретение из-за неуплаты в установленный срок пошлины за поддержание патента в силе
Дата прекращения действия патента: 06.04.2007
Извещение опубликовано: 20.07.2008 БИ: 20/2008
|
|