|
|
(21), (22) Заявка: 2005109974/14, 07.04.2005
(24) Дата начала отсчета срока действия патента:
07.04.2005
(43) Дата публикации заявки: 20.10.2006
(46) Опубликовано: 27.02.2007
(56) Список документов, цитированных в отчете о поиске:
SU 1512573 А, 30.01.1984. SU 1435241 A1, 07.11.1988. SU 1297824 A1, 23.03.1987. SU 1512573 A1, 07.10.1989. US 2001/049483 A1, 06.12.2001.
Адрес для переписки:
123001, Москва, ул. Большая Садовая 3, к.1, кв.109, О.В.Копиенко
|
(72) Автор(ы):
Груша Ярослав Олегович (RU), Горайко Татьяна Викторовна (RU), Копиенко Олег Владимирович (RU), Заморин Игорь Александрович (RU)
(73) Патентообладатель(и):
Груша Ярослав Олегович (RU), Горайко Татьяна Викторовна (RU), Копиенко Олег Владимирович (RU), Заморин Игорь Александрович (RU)
|
(54) ОФТАЛЬМОЛОГИЧЕСКОЕ УСТРОЙСТВО ДЛЯ ИЗМЕРЕНИЯ НАТЯЖЕНИЯ ТКАНЕЙ
(57) Реферат:
Изобретение относится к медицинской технике. Офтальмологическое устройство для измерения натяжения тканей содержит измерительное средство, средство регистрации натяжения, тягу для соединения с тканями, усилитель и опорную платформу с направляющими. Направляющие соединены с подпружиненной кареткой. Каретка имеет возможность фиксации и перемещения вдоль шкалы. Шкала выполнена для определения удлинения тканей. На каретке размещен подвижный прижим, взаимосвязанный с тягой. Измерительное средство установлено с возможностью взаимодействия с подвижным прижимом и выполнено в виде электромеханического преобразователя с выходом, соединенным через усилитель со средством регистрации натяжения. Тяга имеет крючок и выполнена в виде петли или рамы. Поперечный размер петли или рамы на прилегающем к крючку участке составляет не менее 1/4 от поперечного размера петли или рамы. Изобретение обеспечивает атравматичность использования устройства. 3 з.п. ф-лы, 3 ил.
Изобретение относится к измерительной медицинской технике и может быть использовано, в частности, в терапевтической и хирургической офтальмологии для определения степени натяжения век и наружного угла глазной щели.
Известно устройство для измерения натяжения тканей, содержащее измерительное средство, средство регистрации натяжения и средство для соединения с тканями (см. SU 1512573 А1, 07.10.1989).
Устройство по SU 1512573 может эффективно использоваться в операциях, где измеряют большие усилия натяжения тканей, и не приспособлено, например, для офтальмологических измерений.
Более близким к предлагаемому изобретению является применяемое в офтальмологии устройство, содержащее измерительное средство, средство регистрации натяжения и средство для соединения с тканями (см. SU 1069809 А, 30.01.1984, кол.3, 5-15).
При помощи устройства по SU 1069809 определяют прочность склеры на разрыв, и, следовательно, оно не является точным измерительным прибором, который можно применять, например, при операции по горизонтальному укорочению нижнего века. Эту операция используется для репозиции при различных аномалиях положения век и включает шовную тарзопексию с фиксацией к надкостнице орбитального бугорка наружной стенки, что приводит к восстановлению нормального положения нижнего века (Anderson R.L., Gordy D.D. The tarsal lateral strip procedure. Arch. Ophthalmol. 1979; 2192-2196).
Возникающие после такой операции осложнения часто связаны с субъективностью в оценке силы, прикладываемой к нижнему веку, с субъективностью дозирования величины резекции тарзальной пластинки и с отсутствием инструментального контроля за силой натяжения нижнего века до операции. В частности, при гиперкоррекции наблюдаются болезненные ощущения в области наружного угла глаза, боль при моргании, чувство дискомфорта, тянущее ощущение, бинокулярное двоение, рецидив заворота.
При гипокоррекции, в свою очередь, отсутствует стабильность края века, развивается рецидив выворота век, депрессия нижнего века, возможно прогрессирование роговичной патологии.
Задача, на решение которой направлено настоящее изобретение, заключается в создании точного специализированного офтальмологического устройства для измерения натяжения тканей, способного, в частности, обеспечить инструментальный контроль силы натяжения нижнего века и проведение оптимальной резекции связочного аппарата нижнего века.
Технический результат изобретения проявляется в атравматичности устройства, в частности, в щадящем контакте с веком его средства, выполненного для соединения с тканями и являющегося частью конструкции, способной измерять, в том числе, небольшие усилия.
Сущность изобретения выражается в совокупности существенных признаков, в которой офтальмологическое устройство для измерения натяжения тканей, содержащее измерительное средство, средство регистрации натяжения и тягу для соединения с тканями, отличается от ближайшего аналога тем, что дополнительно содержит усилитель и опорную платформу с направляющими, которые соединены с подпружиненной кареткой, имеющей возможность фиксации и перемещения вдоль шкалы, выполненной для определения удлинения тканей, причем опорная платформа и каретка снабжены рукоятками, на каретке размещен подвижный прижим, взаимосвязанный с тягой, а измерительное средство установлено с возможностью взаимодействия с подвижным прижимом и выполнено в виде электромеханического преобразователя с выходом, соединенным через усилитель со средством регистрации натяжения, при этом тяга имеет крючок и выполнена в виде петли или рамы с поперечным размером на прилегающем к крючку участке, составляющем не менее 1/4 от поперечного размера петли или рамы.
Приведенная совокупность существенных признаков достаточна для достижения технического результата изобретения во всех случаях, на которые распространяется испрашиваемый объем правовой охраны.
В частных случаях своего выполнения или использования офтальмологическое устройство для измерения натяжения тканей может содержать каретку, которая может быть подпружинена винтовыми пружинами, установленными на направляющих в виде цилиндрических стержней; электромеханический преобразователь, выполненный в виде тензодатчика или в виде моста тензодатчиков, и усилитель, имеющий каскадную транзисторную схему; средство регистрации натяжении, имеющее цифровое табло и балансировочный узел с интегратором и с аналого-цифровым преобразователем, причем вход интегратора может быть соединен с выходом усилителя, а вход аналого-цифрового преобразователя может быть соединен с выходом интегратора, при этом выход аналого-цифрового преобразователя может быть соединен с цифровым табло, устройство может быть выполнено для крепления на средстве пространственного позиционирования, например, для крепления на щелевой лампе.
Причинно-следственная связь перечисленных признаков независимого пункта формулы изобретения с его техническим результатом заключается в том, что измерительное средство, средство регистрации натяжения и тяга для соединения с тканями являются необходимыми элементами для обеспечения, по существу, любого инструментального контроля и, в частности, инструментального контроля силы натяжения нижнего века.
Поскольку измерение натяжения тканей сопровождается приложением к этим тканям механической силы, хирург должен иметь возможность точного перемещения элементов устройства и не испытывать каких-либо неудобств при его использовании. Удобство и точность обеспечивают рукоятки, усилитель и шкала для определения удлинения тканей, а также опорная платформа с направляющими, которые соединены с подпружиненной кареткой, подвижный прижим, размещенный на каретке и взаимосвязанный с тягой, и измерительное средство, установленное с возможностью взаимодействия с подвижным прижимом и выполненное в виде электромеханического преобразователя с выходом, соединенным через усилитель со средством регистрации натяжения.
Выполнение тяги в виде петли или рамы в сочетании с крючком делает возможным захват тканей с уменьшенной нагрузкой в зоне контакта. При этом выполнение тяги в виде петли или рамы с поперечным размером на прилегающем к крючку участке, составляющем не менее 1/4 от поперечного размера петли или рамы, позволяет за счет уменьшенного размера одной стороны легко размещается между глазным яблоком и веком, а с другой стороны, иметь достаточно большую площадь опоры.
Признаки, перечисленные в зависимых пунктах формулы, направлены на наиболее рациональное выполнение устройства, что оптимизирует проведение операции и, соответственно, позволяет улучшить результаты лечения.
Например, выход аналого-цифрового преобразователя, соединенный с цифровым табло, сокращает время проведения операционного вмешательства за счет более удобного восприятия результатов измерения, а расположение устройства на средстве пространственного позиционирования, например на щелевой лампе, делает возможным проведение измерения без обращения к ассистенту.
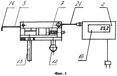
Сущность изобретения поясняется чертежами, где на фиг.1 изображен общий вид офтальмологического устройства для измерения натяжения тканей, на фиг.2 – продольный разрез части устройства, предназначенной для взаимодействия с тканями, и одна из проекций этой части, и на фиг.3 – структурная схема электрических элементов устройства.
Офтальмологическое устройство для измерения натяжения тканей содержит измерительное средство 1, средство 2 регистрации натяжения и тягу 3 для соединения с тканями, усилитель 4 на плате 5 и опорную платформу 6 с направляющими 7, которые соединены с подпружиненной кареткой 8. Каретка 8 имеет возможность фиксации и перемещения вдоль шкалы 9, выполненной для определения удлинения тканей. На каретке 8 размещен подвижный прижим 10, взаимосвязанный с тягой 3. Измерительное средство 1 установлено с возможностью взаимодействия контактным элементом 11 с подвижным прижимом 10 и выполнено в виде электромеханического преобразователя с выходом, соединенным через усилитель 4 со средством 2 регистрации натяжения.
В частных случаях своего выполнения или использования офтальмологическое устройство для измерения натяжения тканей может содержать опорную платформу 6 и каретку 8, которые снабжены рукоятками 12 и 13, а тяга 3 для соединения с тканями имеет крючок 14 и выполнена в виде петли или рамы. Поперечный размер петли или рамы на прилегающем к крючку 14 участке может составлять не менее 1/4 от поперечного размера петли или рамы. Каретка 8 может быть подпружинена винтовыми пружинами 15, установленными на направляющих 7 в виде цилиндрических стержней. Электромеханический преобразователь может быть выполнен в виде тензодатчика или в виде моста тензодатчиков, а усилитель 4 может иметь каскадную транзисторную схему. Средство 2 регистрации натяжении может иметь цифровое табло 16 и балансировочный узел с интегратором 17 и с аналого-цифровым преобразователем 18, причем вход интегратора 17 может быть соединен с выходом усилителя 4, а вход аналого-цифрового преобразователя 18 может быть соединен с выходом интегратора 17, при этом выход аналого-цифрового преобразователя 18 может быть соединен с цифровым табло 16. Устройство может быть выполнено для крепления на средстве пространственного позиционирования, например для крепления на щелевой лампе. Устройство включает блок питания 19 и фиксатор 20. Части устройства соединены электропроводами 21.
При работе офтальмологическое устройство для измерения натяжения тканей включают в сеть при помощи блока питания 19. Затем, удерживая устройство за рукоятки 12 и 13, размещают крючок 14 тяги 3 между глазным яблоком и веком пациента.
Поскольку тяга 3 выполняется, как правило, в виде петли или рамы, поперечный размер которой на прилегающем к крючку 14 участке составляет не менее 1/4 от ее поперечника, крючок 14 за счет уменьшенного размера одной стороны легко размещается между глазным яблоком и веком, а с другой стороны, имеет достаточно большую площадь опоры. Нарушение указанного соотношения делает опору крючка 14 на ткань для глазных операций недостаточной и может привести к травме.
Нажимают пальцами на рукоятку 13 и перемещают ее вместе с подпружиненной кареткой 8 относительно опорной платформы 6. Крючок 14 при этом натягивает веко, а тяга 3 перемещает подвижный прижим 10.
Подвижный прижим 10 взаимодействует с контактным элементом 11 измерительного средства 1, выполненного в виде электромеханического преобразователя, которым может быть, например, тензодатчик или тензодатчики, соединенные по мостовой схеме. В результате механическое усилие натяжения глазного века преобразовывается в электрический сигнал, который через размещенный на плате 5 усилитель 4 и провода 21 передается к интегратору 17 и аналого-цифровому преобразователю 18 средства 2 регистрации натяжения.
После преобразования аналогового сигнала в цифровой код на табло 16 появляются показания тягового усилия.
Для обеспечения стабильности показаний после натяжения века на выбранную длину подпружиненная каретка 8 закрепляется относительно опорной платформы 6 фиксатором 20 за счет его взаимодействия с одной из направляющих 7. Затем при помощи шкалы 9 определяется длина вытяжения века.
Для возврата тяги 3 в исходное положение служат винтовые пружины 15, которые после снятия фиксации возвращают каретку 8 в исходное положение, снимая нагрузку с контактного элемента 11 измерительного средства 1.
Формула изобретения
1. Офтальмологическое устройство для измерения натяжения тканей, содержащее измерительное средство, средство регистрации натяжения и тягу для соединения с тканями, отличающееся тем, что дополнительно содержит усилитель и опорную платформу с направляющими, которые соединены с подпружиненной кареткой, имеющей возможность фиксации и перемещения вдоль шкалы, выполненной для определения удлинения тканей, причем опорная платформа и каретка снабжены рукоятками, на каретке размещен подвижный прижим, взаимосвязанный с тягой, а измерительное средство установлено с возможностью взаимодействия с подвижным прижимом и выполнено в виде электромеханического преобразователя с выходом, соединенным через усилитель со средством регистрации натяжения, при этом тяга имеет крючок и выполнена в виде петли или рамы с поперечным размером на прилегающем к крючку участке, составляющем не менее 1/4 от поперечного размера петли или рамы.
2. Устройство по п.1, отличающееся тем, что каретка подпружинена винтовыми пружинами, установленными на направляющих в виде цилиндрических стержней.
3. Устройство по п.1, отличающееся тем, что электромеханический преобразователь выполнен в виде тензодатчика или в виде моста тензодатчиков, а усилитель имеет каскадную транзисторную схему.
4. Устройство по п.1, отличающееся тем, что средство регистрации натяжения имеет цифровое табло и балансировочный узел с интегратором и с аналого-цифровым преобразователем, причем вход интегратора соединен с выходом усилителя, а вход аналого-цифрового преобразователя соединен с выходом интегратора, при этом выход аналого-цифрового преобразователя соединен с цифровым табло.
РИСУНКИ
|
|