|
|
(21), (22) Заявка: 2005118317/28, 14.06.2005
(24) Дата начала отсчета срока действия патента:
14.06.2005
(46) Опубликовано: 20.02.2007
(56) Список документов, цитированных в отчете о поиске:
RU 2121241 C1, 27.10.1998. JP 57201399 A, 09.12.1982. US 3952387 A, 27.04.1976. EP 0342874 A2, 23.11.1989. JP 60069548 A, 20.04.1985. US 4825115 A, 25.04.1989.
Адрес для переписки:
344006, г.Ростов-на-Дону, ул. Б. Садовая, 105, РГУ, начальнику патентно-лицензионной службы Н.Г. Сороке
|
(72) Автор(ы):
Рахимов Вадим Фазылович (RU), Хоруженко Сергей Николаевич (RU)
(73) Патентообладатель(и):
Государственное образовательное учреждение высшего профессионального образования “Ростовский государственный университет” (РГУ) (RU), Общество с ограниченной ответственностью Производственно-техническое и технологическое предприятие “Титан-А” (ООО ПТиТП “Титан-А”) (RU)
|
(54) МНОГОЭЛЕМЕНТНЫЙ ПЬЕЗОЭЛЕКТРИЧЕСКИЙ ПРЕОБРАЗОВАТЕЛЬ И СПОСОБ ЕГО ИЗГОТОВЛЕНИЯ
(57) Реферат:
Изобретение относится к пьезоэлектрическим преобразователям. Техническим результатом изобретения является повышение чувствительности и разрешающей способности. Многоэлементный пьезоэлектрический преобразователь выполнен из отдельных элементарных преобразователей, каждый из которых содержит пьезокерамический элемент с электродами и токосъемниками на противоположных поверхностях, демпфер и согласующий слой. Акустоэлектроизоляционный слой посредством связующего вещества размещен между боковыми поверхностями элементарных преобразователей. На согласующие слои всех элементарных преобразователей нанесена общая фокусирующая линза. Способ изготовления многоэлементного пьезоэлектрического преобразователя состоит в том, что предварительно изготавливают первичный преобразователь из пьезокерамической пластины путем припаивания по ее длине сплошных токосъемников и нанесения на противоположные поверхности электродов демпфирующего и согласующего слоев. Затем производят резку на элементарные преобразователи, осуществляют сортировку по электроакустическим параметрам и склеивают через акустоэлектроизоляционный слой по плоскости разреза отсортированные части между собой. После чего со стороны согласующих слоев крепят фокусирующую линзу. 2 н.п. ф-лы, 4 ил.
Изобретение относится к пьезоэлектрическим преобразователям и предназначено для использования в фазированных антенных решетках ультразвуковых приборах медицинской диагностики.
Известен ультразвуковой преобразователь, содержащий множество пьезоэлектрических элементов, со стороны поверхности излучения которых нанесены общие электрод и один или более согласующих слоев, а с противоположной стороны – сигнальные электроды и общий демпфирующий слой [1]. Для его изготовления на снабженную электродами длинномерную поляризованную пьезокерамическую пластину, толщина которой определяется его рабочей частотой, наносят токопроводящий согласующий слой. Затем в поперечном направлении прорезают узкие пазы через пьезокерамическую пластину и, частично, через согласующий слой. К противоположным электродам нарезанных таким образом элементов припаивают отдельные сигнальные токопроводы и наносят общий демпфирующий слой. В результате при изготовлении преобразователя достигается повышение надежности контакта общего токопровода с электродом каждого элемента и, как следствие, снижение брака.
Недостатком описанного преобразователя является наличие акустической взаимосвязи между его элементами, обусловленной переходом при работе преобразователя акустических колебаний с одного элемента на другой через общие демпфер и согласующий слой. Это приводит к снижению чувствительности и разрешающей способности всего преобразователя.
Задача повышения чувствительности и разрешающей способности частично решена в ультразвуковом многоэлементном преобразователе [2], который содержит множество пьезокерамических элементов, каждый из которых снабжен отдельным токопроводящим демпфером, являющийся одновременно токопроводом. С противоположной стороны пьезоэлементов их электроды имеют электрический контакт с общим токопроводом.
При изготовлении преобразователя на одну из сторон поляризованной пьезокерамической пластины приклеивают токопроводящий демпфер. Затем прорезают пластину и часть демпфера, и заполняют образовавшиеся пазы резиноподобным электро- и акустическиизолирующим составом. После этого на свободные поверхности электродов всех полученных пьезоэлементов наносят общие токопроводящий и согласующий слои, а затем убирают непрорезанную часть демпфера.
Описанная конструкция позволяет уменьшить межэлементную акустическую взаимосвязь за счет использования раздельных демпферов, но общий согласующий слой остается, что снижает чувствительность и разрешающую способность преобразователя в целом.
В другом известном многоэлементном преобразователе с демпфером, выполненным из материала с ультранизким импедансом [3], прорезается пьезокерамическая пластина, согласующие слои и часть демпфера, что приводит к максимальной межэлементной акустической развязке. Однако часть демпфера остается, и полная акустическая изоляция элементов не достигается.
Аналогичная конструкция приведена в многоэлементном ультразвуковом преобразователе [4], в котором прорезаются согласующие слои, часть демпфера и пьезокерамическая пластина, в качестве которой для выравнивания электрической емкости различных по размерам элементов был использован традиционный многослойный пьезоэлектрический актюатор.
Все вышеперечисленные аналоги обладают общим недостатком совместно изготавливаемого массива элементов преобразователя, а именно неравномерностью чувствительности по его отдельным элементам.
Наиболее близким по выполнению и достигаемому результату к заявляемому преобразователю и способу его изготовления является многоэлементный пьезоэлектрический преобразователь и способ его изготовления [5], принимаемый за прототип.
Пьезоэлектрический преобразователь содержит пьезокерамические элементы с электродами на их противоположных поверхностях, имеющие соотношение высоты к ширине не менее двух и расположенные параллельно друг другу на жестко связанном с нижним электродом демпфере, а также согласующий слой, протектор или фокусирующую линзу. Пьезокерамические элементы соединены между собой связующим веществом через слой электроизоляционной пленки.
Способ изготовления пьезоэлектрического преобразователя состоит в том, что вначале формируют многослойные пакеты заготовок неполяризованных пьезокерамических элементов шириной в два раза меньшей резонансного размера путем их жесткого соединения связующим веществом через слой электроизоляционной пленки. После этого осуществляют их резку перпендикулярно слоям на высоту, соответствующую резонансному размеру, металлизируют и снабжают токосъемниками верхние и нижние поверхности заготовок, а затем подвергают поляризации и аттестации. Отобранные заготовки своими нижними поверхностями приклеивают к общему демпферу, а на верхние поверхности заготовок наносят согласующий слой, к которому крепят протектор или фокусирующую линзу.
Несмотря на то, что предварительный отбор заготовок элементов позволил уменьшить поэлементную неравномерность чувствительности преобразователя за счет доли, обусловленной технологическими допусками при производстве пьезокерамических пластин, остается существенный вклад в неравномерность, обусловленный качеством клеевых слоев между пьезоэлементами и демпфером, между пьезоэлементами и согласующим слоем. Принимая во внимание малые, в конкретном примере 100 мкм, поперечные размеры пьезоэлемента, возрастает вклад, обусловленный неоднородностью смесей и пространственной флуктуацией акустических импедансов составов демпфера и согласующего слоя. В преобразователе-прототипе также остается поэлементная неравномерность чувствительности, обусловленная технологическими допусками на толщину согласующего слоя.
Другим недостатком известного преобразователя является наличие акустических взаимосвязей между его элементами из-за общих демпфера и согласующего слоя, которые не обеспечивают межэлементную акустическую изоляцию.
Оба эти недостатка снижают общую чувствительность и поперечную разрешающую способность всего преобразователя. Это видно из следующего. Как известно [6], чувствительность определяется, как способность обнаруживать и наблюдать малые сигналы на фоне мешающих помех и собственных шумов системы. Чувствительность всего преобразователя зависит, в числе прочих, от чувствительности каждого элемента и способности к независимой друг от друга совместной работе группы или всех элементов по формированию фронта акустической волны, т.е. поверхности, в любой точке которой в данный момент времени фаза волны одна и та же, например, соединяющей начала излучаемых импульсов. Поперечной разрешающей называется способность преобразователя различать по отдельности два близких точечных отражателя, расположенных на линии, перпендикулярной акустической оси преобразователя. Чувствительность и поперечная разрешающая способность зависят от многих факторов, в том числе от резкости фокусировки, т.е. концентрации акустической энергии. Последняя, а следовательно, чувствительность преобразователя в фокусной зоне и поперечная разрешающая способность находятся в обратной зависимости от размеров фокусного пятна. А так как фокусировка в многоэлементном преобразователе осуществляется за счет совместной работы группы или всех элементов, но включающимися раздельно, с задержкой по времени, то поэлементная неравномерность чувствительности и межэлементная акустическая связь приводят к искажению волнового фронта и размыванию фокусного пятна, следовательно, снижению чувствительности и поперечной разрешающей способности преобразователя.
Техническим результатом изобретения является повышение чувствительности и поперечной разрешающей способности многоэлементного пьезоэлектрического преобразователя за счет существенного увеличения его поэлементной равномерности чувствительности и обеспечения электрической и акустической изоляции друг от друга его отдельных элементов.
Технический результат достигается тем, что многоэлементный пьезоэлектрический преобразователь, содержащий пьезокерамические элементы, снабженные электродами с токосъемниками на их противоположных поверхностях, демпфером, согласующим слоем и общей фокусирующей линзой, соединенные между собой связующим веществом через слой акустоэлектроизоляционного материала, согласно изобретению выполнен из отдельных элементарных преобразователей, каждый из которых содержит пьезокерамический элемент с электродами и токосъемниками на противоположных поверхностях, демпфер и согласующий слой, а акустоэлектроизоляционный слой посредством связующего вещества размещен между боковыми поверхностями элементарных преобразователей.
Технический результат достигается также тем, что в известном способе изготовления многоэлементного пьезоэлектрического преобразователя, включающем припаивание токосъемников к электродам поляризованной длинномерной пластины из пьезокерамического материала, нанесение демпфирующего и согласующего слоев на противоположные поверхности электродов пластины, резку в поперечной плоскости на отдельные части, склеивание поверхностей разреза через акустоэлектроизоляционный слой, формирование на согласующем слое фокусирующей линзы, согласно изобретению, предварительно изготавливают первичный преобразователь из пьезокерамической пластины путем припаивания по ее длине сплошных токосъемников и нанесения на противоположные поверхности электродов демпфирующего и согласующего слоев, затем производят резку на элементарные преобразователи, осуществляют сортировку по электроакустическим параметрам (статической электрической емкости, тангенсу угла диэлектрических потерь, а также амплитудно-частотной характеристике) и склеивают через акустоэлектроизоляционный слой по плоскости разреза отсортированные части между собой.
Изготовление первичного преобразователя из длинномерной пьезокерамической поляризованной пластины с последующей резкой на части позволяет получить полуфабрикаты – элементарные преобразователи (пьезоэлемент, токосъемники, демпфер и согласующий слой), которые после сортировки будут идентичными по электроакустическим параметрам, в отличие от прототипа, в котором проводилась сортировка заготовок пьезоэлементов.
Обеспечение идентичности электрически и акустически изолированных друг от друга элементов преобразователя позволяет сформировать плавный, равномерный волновой фронт и получить фокусное пятно с минимальными для данного фокусного расстояния и данной частоты акустических колебаний размерами. Это приводит к максимальной концентрации энергии в зоне фокуса и, соответственно, повышению чувствительности и поперечной разрешающей способности преобразователя.
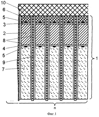
На фиг.1 приведен схематический чертеж многоэлементного пьезоэлектрического преобразователя; на фиг.2 – пьезокерамической пластины с припаянными вдоль ее длины сплошными токосъемниками; на фиг.3 – первичного преобразователя; на фиг.4 – расчетные графики амплитуды эхо-сигнала.
Многоэлементный пьезоэлектрический преобразователь (фиг.1) выполнен из n элементарных преобразователей 1, каждый из которых содержит пьезокерамический элемент 2 с верхним и нижним электродами 3 и 4, соответственно на противоположных поверхностях снабженные токосъемниками 5. К верхнему электроду 3 присоединен согласующий слой 6, а нижний электрод 4 жестко связан с демпфером 7. Боковые поверхности элементарных преобразователей 1 соединены между собой связующим веществом 8 через слой акустоэлектроизолирующего материла 9. По периметру и на согласующие слои 6 всех элементарных преобразователей 1 прикреплен жесткий электрический экран (не показан) и нанесена общая фокусирующая линза 10, соответственно.
Для изготовления многоэлементного пьезоэлектрического преобразователя вначале формируют заготовку преобразователя (фиг.2), состоящую из пьезокерамической пластины 2 с припаянными вдоль ее длины сплошными токосъемниками 5. Центральный токосъемник припаивают к нижнему электроду 4, а два периферийных токосъемника – к верхнему электроду 3 так, что они образуют форму для заливки демпфера. Используя торцевые заглушки (не показаны) для полученной формы, заливают демпфер 7. После этого на верхний электрод 3 пьезокерамической пластины 2 наносят согласующий слой 6. Полученный таким образом первичный преобразователь с заданным шагом режут перпендикулярно его длине на элементарные преобразователи 1 (фиг.3). Затем их подвергают электроакустическим испытаниям и сортируют. Отобранные, идентичные элементарные преобразователи склеивают друг с другом через слой акустоэлектроизоляционного материала. Склеивание производят в сборочном приспособлении, обеспечивающем формирование многоэлементного пьезоэлектрического преобразователя как линейного, так и конвексного типа. Далее, на сформированный преобразователь по его периметру крепят общий электрический экран, а со стороны согласующего слоя – фокусирующую линзу. После этого периферийные токосъемники всех элементарных преобразователей припаивают к общему электрическому экрану, а центральные токосъемники – к шинам разъема.
Работа многоэлементного пьезоэлектрического преобразователя определяется параметрами электрических сигналов, подаваемых на его отдельные элементы для формирования фронта излученной во внешнюю среду акустической волны и способом подключения элементов на прием отраженных акустических сигналов для преобразования их в электрические. Упрощенно, ее можно представить следующим образом. Преобразователь приводится в акустический контакт с исследуемым объектом. На каждый элемент всего преобразователя в случае использования его в качестве фазированной антенной решетки или части преобразователя при использовании его в режиме сканирующей фокусирующей системы подаются с задержкой по времени инициализирующие электрические сигналы. В результате этого излученные акустические волны от возбужденных элементов преобразователя в зависимости от соотношения фаз этих сигналов формируют цилиндрический фронт общей волны и фокусируются на заданном направлении и расстоянии в исследуемом объекте. При этом в зоне фокуса концентрируется максимум акустической энергии, и если здесь оказывается граница раздела сред с разными акустическими свойствами (отражатель), то часть этой энергии отражается назад к элементам преобразователя. Здесь происходит обратное преобразование акустического сигнала в электрический.
Как известно [7], сходящиеся волновые фронты при фокусировке звука характеризуются, как правило, неравномерным распределением амплитуды и отклонением формы фронта от идеальной сферы или цилиндра, т.н. аберрацией. При фокусировке в акустике большую роль играет неравномерность амплитуды и меньшую – аберрация. В результате дифракции волн в фокусе образуется фокальное пятно или полоса.
Чувствительность и поперечная разрешающая способность многоэлементного преобразователя определяются в том числе размерами фокусного пятна. Эти размеры зависят, в основном, от плавности и правильности формы волнового фронта и теоретически приближаются к размерам фокусного пятна, получаемым для активных концентраторов (изогнутые пьезопластины, представляющие часть цилиндра). Однако поэлементная неравномерность чувствительности и межэлементная акустическая связь приводят к искажению волнового фронта и увеличению размеров фокусного пятна. Так, у серийных многоэлементных преобразователей поэлементная неравномерность чувствительности может достигать 6 дБ, а у прототипа – 4 дБ. Но уменьшения размеров фокусного пятна у прототипа практически нет, так как влияние на него более высокой равномерности чувствительности компенсируется расширением фокусного пятна за счет значительной межэлементной акустической связи. В заявляемом преобразователе поэлементная неравномерность чувствительности может быть сведена до нуля при том, что межэлементная электрическая и акустическая изоляция реализуется в максимальном объеме. Это приводит, как показывают эксперименты, к существенному, на 30-50%, уменьшению размеров фокусного пятна и соответствующему повышению чувствительности и поперечной разрешающей способности преобразователя.
На фиг.4 приведены расчетные пронормированные графики амплитуды эхо-сигнала при сканировании двух точечных отражателей. Пунктирной и сплошной линиями показаны значения амплитуд эхо-сигналов от каждого отражателя поотдельности для прототипа и заявляемого преобразователя соответственно. Линиями двойной толщины обозначены суммарные эхо-сигналы от обоих отражателей, расположенных на минимальном расстоянии друг от друга, при котором они воспринимаются раздельно. На практике, для определения минимального расстояния различимости используется классический критерий, при котором полагается, что точечные объекты разрешаются, если в суммарном сигнале от них есть провал (двугорбость). Этот критерий разрешающей способности называется разрешением по Рэлею. Из анализа приведенных графиков видно, что при уменьшении размеров фокусного пятна на 30% у заявляемого преобразователя, на столько же повышается чувствительность и поперечная разрешающая способность.
Примером изготовления конкретного многоэлементного пьезоэлектрического преобразователя по заявляемому способу может служить изготовление стандартного 128-элементного преобразователя с конвексным электронным сканированием на частоту 3,5 МГц. Вначале из пьезокерамического материала типа ПКР-7М изготавливали пластины с соответствующей рабочей частоте преобразователя толщиной 0,56 мм, шириной 12 мм и длиной, например, 30 мм. Затем производили вакуумное напыление монель-металлом электродов на поверхность пьезопластин и их поляризацию. После этого припаивали к каждой пьезопластине вдоль ее длины сплошные токосъемники из медной фольги толщиной 0,05 мм. Центральный токосъемник припаивали к нижнему электроду пьезопластины, а два периферийных токосъемника – к верхнему электроду так, что они образовывали форму для заливки демпфера. Используя торцевые заглушки для полученной формы, заливали высокоимпедансный демпфер с максимальным содержанием вольфрама для обеспечения возможно большего прохождения акустических волн в демпфер. Высота токосъемников и, соответственно, формы определялась условием достаточного поглощения волн в демпфере и составляла примерно 4 мм. После этого на верхний электрод пьезоэлемента наносили четвертьволновой согласующий слой со значением акустического импеданса, равным средней геометрической величин импеданса пьезокерамики и среды распространения акустических волн для обеспечения максимально возможного прохождения акустических волн в среду и обратно из среды распространения к пьезоэлементу в режиме приема.
Полученный таким образом первичный преобразователь, резали перпендикулярно его длине на элементарные преобразователи толщиной 0,28 мм. Затем измеряли их электрические параметры – емкость, тангенс угла диэлектрических потерь и интегральный электроакустический параметр – амплитудно-частотную характеристику. По результатам измерений производили выборку с разбросом по указанным параметрам, например, не более 3%. Отобранные таким образом, 256 элементарных преобразователей склеивали друг с другом через слой конденсаторной бумаги толщиной 0,02 мм в сборочном приспособлении, обеспечивающем формирование конвексного многоэлементного пьезоэлектрического преобразователя с заданным радиусом кривизны, например, 60 мм. Далее на сформированный преобразователь по его периметру крепили общий электрический экран из твердой листовой латуни толщиной 0,2 мм для придания большей жесткости всей конструкции, а со стороны согласующего слоя – общую фокусирующую линзу из силиконовой резины. После этого с помощью перемычек каждые два элементарных преобразователя соединяли электрически между собой параллельно. Таким образом, получили пьезоэлектрический преобразователь, состоящий из 128 элементов, каждый из которых, в свою очередь, состоит из двух субъэлементов – элементарных преобразователя. Шаг дискретизации преобразователя составил 0,6 мм, а угол сканирования при 32-канальном сканировании – 57°. Периферийные токосъемники всех элементарных преобразователей припаивали к общему электрическому экрану, а центральные токосъемники каждой пары элементарных преобразователей – к шинам разъема.
Источники информации
1. Патент US №6821253, МПК А 61 В 008/00, H 01 L 041/047, 600/437, 459, 463, опубл. 23.11.2004 г.
2. Заявка US №20030150273 А1, МПК G 01 N 029/26, H 04 R 017/00, H 04 R 031/00, опубл. 14.08.2003 г.
3. Патент US №6087761, МПК H 01 L 041/18, 310/322, 326, 327, 334, 335, опубл. 11.07.2000 г.
4. Патент US №6656124, МПК А 61 В 006/00, 310/314, 336, 322, 334, 600/437, опубл. 02.12.2003 г.
5. Патент RU №2121241 С1, 6 МПК H 04 R 17/00, опубл. 27.10.1998 г.
6. Осипов Л.В. Ультразвуковые диагностические приборы. М.: Видар, 1999, 256 с.
7. Физический энциклопедический словарь. / Гл. ред. А.М.Прохоров. – М.: Сов. Энциклопедия, 1984, 944 с.
Формула изобретения
1. Многоэлементный пьезоэлектрический преобразователь, содержащий пьезокерамические элементы, снабженные электродами с токосъемниками на их противоположных поверхностях, демпфером, согласующим слоем и фокусирующей линзой, соединенные между собой связующим веществом через слой акустоэлектроизоляционного материала, отличающийся тем, что он выполнен из отдельных элементарных преобразователей, каждый из которых содержит пьезокерамический элемент с электродами и токосъемниками на противоположных поверхностях, демпфер и согласующий слой, а акустоэлектроизоляционный слой посредством связующего вещества размещен между боковыми поверхностями элементарных преобразователей.
2. Способ изготовления многоэлементного пьезокерамического преобразователя по п.1, включающий припаивание токосъемников к электродам поляризованной длинномерной пластины из пьезокерамического материала, нанесение демпфирующего и согласующего слоев на противоположные поверхности электродов, резку в поперечной плоскости на отдельные части, склеивание поверхностей разреза через акустоэлектроизоляционный слой, формирование на согласующем слое фокусирующей линзы, отличающийся тем, что предварительно изготавливают первичный преобразователь из пьезокерамической пластины путем припаивания по ее длине сплошных токосъемников и нанесения на противоположные поверхности электродов демпфирующего и согласующего слоев, затем производят резку первичного преобразователя на элементарные преобразователи, осуществляют их сортировку по электроакустическим параметрам и соединяют по плоскости разреза связующим через акустоэлектроизоляционный слой.
РИСУНКИ
|
|