|
|
(21), (22) Заявка: 2005109863/06, 06.04.2005
(24) Дата начала отсчета срока действия патента:
06.04.2005
(43) Дата публикации заявки: 20.10.2006
(46) Опубликовано: 20.02.2007
(56) Список документов, цитированных в отчете о поиске:
RU 2078969 C1, 10.05.1997. DE 890148 A, 17.09.1953. DE 961583 A, 11.01.1957. RU 2066779 C1, 10.09.1996. RU 2078974 C1, 10.05.1997. RU 2200864 C2, 20.03.2003.
Адрес для переписки:
125412, Москва, ул. Ижорская, 13/19, ИТЭС ОИВТ РАН, В.В. Голуб
|
(72) Автор(ы):
Голуб Виктор Владимирович (RU), Володин Владислав Владимирович (RU), Чепрунов Александр Александрович (RU), Лисин Дмитрий Геннадьевич (RU), Головастов Сергей Владимирович (RU), Бакланов Дмитрий Иванович (RU)
(73) Патентообладатель(и):
Институт теплофизики экстремальных состояний Объединенный институт высоких температур РАН (RU)
|
(54) КАМЕРА ПУЛЬСИРУЮЩЕГО ДВИГАТЕЛЯ ДЕТОНАЦИОННОГО ГОРЕНИЯ
(57) Реферат:
Изобретение относится к области авиастроения и может быть использовано при проектировании летательных аппаратов различного назначения, в двигателестроении самолетов. Камера пульсирующего двигателя детонационного горения включает корпус, воздухозаборник окружающего воздуха, устройства для инжекции окислителя и горючего в камеру, устройство инициирования детонационного горения. Тяговая стенка у камеры выполнена подвижной в виде поршня предварительного сжатия окружающего воздуха. В камере имеется перепускной канал для подачи сжатого воздуха в детонационную секцию камеры и пружинный толкатель обратного хода поршня. Воздухозаборник имеет канал в компрессорной секции камеры, сообщающий ее с атмосферой. Изобретение обеспечивает использование пульсирующих двигателей детонационного горения на режимах с низкими скоростями полета летательных аппаратов. 2 ил.
Изобретение относится к области авиационной техники и может быть использовано при проектировании летательных аппаратов (ЛА) различного назначения с пульсирующими двигателями детонационного горения (ПДДГ).
Известные камеры ПДДГ включают в себя детонационную трубу (камеру сгорания) с соплом, открытую с одного или двух торцов канала трубы, и снабженную инжекторами для горючего и окислителя, инициирующим устройством [1, 2]. Для повышения эффективности их работы в составе силовых установок с ПДДГ дополнительно применяются устройства (один или группа компрессоров) для подачи предварительно сжатого воздуха, используемого в качестве окислителя, что приводит к увеличению весогабаритных характеристик ЛА [3]. Известно, что устройство камеры по патенту №2034996, требующее для своего функционирования выполнение ряда условий, в частности, подачи на вход сжатого воздуха с начальным давлением Р0>2 кг/см2 на всех режимах от старта до полета ЛА с максимальной скоростью, накладывает ограничение на использование ПДДГ. Известна камера сгорания с воздухозаборным устройством, включающим дозвуковые диффузоры, при этом ПДДГ выполняет вспомогательную функцию создания тяги в ограниченном диапазоне скоростей полета ЛА с числом маха (М) в интервале 2<М<3 и не работает на остальных режимах полета, являясь при этом дополнительным грузом (патент 2130407). Известна камера ПДДГ по патенту 2059852 с воздухозаборником, состоящим из конической поверхности, переходящей в цилиндрическую, для увеличения подачи воздуха, что обеспечивает только дополнительный разгон и крейсерский режим при сверхзвуковых скоростях полета ЛА (М=3,5-4).
Наиболее близким к заявляемому изобретению по технической сущности (достигаемой цели и эффекту действия) и совокупности признаков (прототипом) является патент 2078969, в котором камера ПДДГ имеет плоскую форму тяговой (передней) стенки, переходящую в цилиндрическую форму, а противоположный (задний) торец камеры открыт и снабжен соплом типа сопла ракетного двигателя. Воздухозаборник (струйный ускоритель воздушного потока) выполнен в виде осесимметричного канала и заканчивается сверхзвуковым соплом, переходящим в полость камеры и соединяющим ее с источником воздуха, что позволяет достичь сверхзвуковой скорости подачи воздуха. Для работы камеры в этих условиях скорость воздушного потока на входе в нее должна быть достаточной для равномерного заполнения объема детонационной секции камеры, при этом поступление сверхзвукового потока воздуха через проточный канал входного устройства воздухозаборника обеспечивается после набора скорости полета ЛА в диапазоне чисел Маха М=2-4. Недостатком камеры прототипа является обеспечение работы ПДДГ только на гиперзвуковых скоростях полета ЛА и не использование ее на участках взлета, разгона, торможения и посадки.
Целью изобретения является расширение диапазона работы камеры ПДДГ на малых скоростях полета ЛА, когда не обеспечивается необходимое давление воздуха на входе камеры от дополнительного воздухозаборного устройства за счет введения компрессорной секции (предкамеры сжатого воздуха).
Заявленное изобретение направлено на улучшение характеристик ПДДГ за счет изменения конструкции его камеры, которая имеет в компрессорной секции воздухозаборник (в виде створки, окна, отверстия, пазов в боковой поверхности) для забора (ввода) окружающего воздуха и тяговую стенку в виде подвижного поршня для предварительного сжатия зашедшего туда окружающего воздуха и подачи его через перепускной канал в детонационную секцию.
Технический результат, достигаемый при реализации изобретения, состоит в повышении эффективности использования ПДДГ при низких скоростях полета ЛА. Указанный технический результат достигается усовершенствованием системы подачи воздуха в рабочий объем камеры ПДДГ и тем, что тяговая стенка закрытого торца детонационной секции камеры представляет собой подвижный поршень, который сжимает зашедший через воздузаборник окружающий воздух до давления 5 кг/см2 и обеспечивает его подачу в детонационную секцию камеры через перепускной канал. В предлагаемом устройстве компрессорная секция предназначена для предварительного сжатия затекающего воздуха, а детонационная секция – для сгорания горючего.
Устройство включает находящийся в корпусе камеры цилиндр с подвижно установленным в нем поршнем, рабочая (тяговая) поверхность которого ограничивает объем детонационной секции камеры, а компрессорная поверхность поршня – объем компрессорной секции камеры, при этом секции камеры сообщаются между собой посредством перепускного канала. Наличие перепускного канала позволяет периодически соединять объем детонационной секции для сгорания топлива с источником окислителя – компрессорной секции для сжатия воздуха.
Таким образом, камера выполнена с поршневой тяговой стенкой, а в стенках камеры выполнено отверстие для прохода воздуха, сообщающее камеру с атмосферой. Для возвращения поршня используется пружинный толкатель, размещенный на торце компрессорной секции камеры.
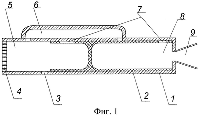
Предложенное изобретение иллюстрируется чертежами. На фиг.1 схематично представлена реализация устройства, состоящего из корпуса 1, поршня 2, воздухозаборника 3, пружинного толкателя 4, компрессорной секции 5, перепускного канала 6, перепускных отверстий 7, детонационной секции 8, сопла 9, а на фиг.2 изображена циклограмма работы устройства.
В целях наглядности представленных чертежей устройство для инжекции горючего, а также инициирования детонационного горения в секции сгорания не изображены. Способы выполнения и рациональные варианты конструктивного исполнения таких устройств известны и могут быть. использованы в данном случае. Камера ПДДГ условно показана цилиндрической, представляющей канал круглого поперечного сечения, имеющего воздухозаборник и сопло.
В омываемом снаружи потоком воздуха в стенке камеры показан воздузаборник, который может быть закрытым снаружи подвижным элементом и открывается при включении ПДДГ.
Работа камеры происходит следующим образом.
1. При запуске ПДДГ (первый такт на циклограмме работы, фиг.2) в компрессорную секцию 5 через воздухозаборник 3 поступает окружающий воздух, а в детонационной секции 8 создается давление от сжигания горючего, при этом поршень 2 начинает двигаться в сторону компрессорной секции камеры 5.
2. На втором такте работы стенки цилиндрического поршня 2 перекрывают отверстие воздухозаборника 3 и происходит сжатие воздуха до давления 5 кг/см2 в компрессорной секции камеры 5.
3. На третьем такте работы происходит подача сжатого воздуха в детонационную секцию камеры 8 при совмещении отверстий перепускного канала 6 с перепускными отверстиями 7 поршня 2, имеющих больший диаметр по сравнению с диаметром отверстий перепускного канала. При этом пружинный толкатель 4 начинает сжиматься, накапливая потенциальную энергию для обеспечения обратного хода поршня 2.
4. На четвертом такте работы поршень 2 возвращается в исходное положение под действием пружинного толкателя 4 и осуществляется впрыск горючего и инициирование детонационного горения. Происходит резкое повышение температуры, давления и выделение большого количества тепла, что приводит к детонационному (сверхзвуковому) горению продуктов горючего в среде воздуха. Продукты сгорания истекают через сопло и их давление создает импульс тяги двигателя.
После этого цикл работы камеры повторяются.
Проведенные расчеты показали, что предложенное конструктивное решение позволяет обеспечить окислителем (воздухом) процесс детонационного горения при режимах полета ЛА с числом 0<М<2, а отверстие воздухозаборника в омываемой снаружи потоком воздуха стенке камеры обеспечивает дополнительный приток воздуха в камеру ПДДГ. На малых скоростях (переходных режимах), когда нельзя обеспечить необходимое давление воздуха от набегающего потока на входе в ПДДГ, оно создается за счет сжатия воздуха в компрессорной секции.
Использование предложенного устройства приводит к следующему:
1. Дополнительно подается в составе заборного воздуха кислород окружающей среды, который является окислителем для продуктов сгорания, что приводит к интенсивному протеканию химических реакций с большим выделением тепла.
2. Обеспечиваются более благоприятные условия для возникновения детонационного горения и сверхзвукового истечения продуктов сгорания.
3. Снижается расход топлива, обусловленный реализацией высокоэффективного термодинамического цикла, близкого к циклу при постоянном объеме детонационной секции камеры.
4. Создается тяга за счет взаимодействия детонационных волн с внутренней поверхностью детонационной секции камеры, а дополнительная ее составляющая за счет ускорения движения продуктов детонационного горения в сопле.
5. Снижается вибрационная нагрузка на конструкцию ЛА.
Примеры конструктивного выполнения камер ПДДГ в соответствии с данным изобретением могут быть разнообразными, при этом рациональные (оптимальные) решения выбираются при конструкторском проектировании. Так, несколько камер ПДДГ могут быть расположены параллельно друг другу в виде кольца или пакета заданной формы. Компоновка может представлять собой блоки камер, размещенных внутри крыльев ЛА. Сопловые устройства камер могут ориентироваться различным образом, а ПДДГ управляться (включаться, выключаться, изменять частоту пульсаций) независимо друг от друга с целью изменения величины и направления вектора тяги силовой установки. Отверстия для забора окружающего воздуха могут выполняться различной формы и располагаться по окружности корпуса камеры, при этом перепускной канал может быть реализован в виде коаксиального цилиндра с секторами для забора воздуха и доставки воздуха в детонационную секцию камеры ПДДГ.
Вне зависимости от конструктивных параметров камеры тяга ПДДГ в основном создается повышенным давлением на тяговой стенке вследствие детонационного горения, а также за счет реактивной силы, образованной истекающей через сопло газовой сверхзвуковой струей. Введение в камеру компрессорной секции позволяет плавно изменять тягу двигателя в широких пределах (за счет изменения суммарного расхода воздуха и продуктов сгорания, или за счет их соотношения). В разработанной конструкции камеры с поршневой тяговой стенкой уровень тяги дополнительно может регулироваться созданием переменного рабочего объема детонационной секции, при котором происходит впрыск горючего и инициирования детонационного горения (за счет изменения объема секции при перемещении поршня).
Для заявленного устройства в том виде как оно охарактеризовано подтверждена возможность его осуществления с помощью описанных в заявке средств.
Предложенная камера позволяет более эффективно использовать окружающий воздух или имеющийся на борту ЛА запас окислителя, что позволяет включать ПДДГ в состав комбинированных двигательных установок, работающих во всех диапазонах скоростей полета. Преимущества предложенной камеры ПДДГ заключается в ее малой массе от общей массы комбинированной двигательной установки ЛА. Высокие параметры рабочего процесса камеры (степень повышения давления, температура детонационного сжигания топлива) способствуют улучшению характеристик ЛА.
Источники информации
1. Ляхов В.Н. и др. Воздействие ударных волн и струй на элементы конструкций: Математическое моделирование в нестационарной газодинамике. М.: Машиностроение, 1989, 392 с.
2. Применение пульсирующих двигателей с детонационным горением в летательных аппаратах, БИНТИ-1, “Авиация и космос”, 25.02.92 г., №8.
3. Мелькумов Т.М. и др. Ракетные двигатели. М.: Машиностроение, 1976.
Формула изобретения
Камера пульсирующего двигателя детонационного горения, включающая корпус, воздухозаборник окружающего воздуха, устройства для инжекции окислителя и горючего в камеру, устройство инициирования детонационного горения, отличающаяся тем, что тяговая стенка у камеры выполнена подвижной в виде поршня предварительного сжатия окружающего воздуха, имеется перепускной канал для подачи сжатого воздуха в детонационную секцию камеры и пружинный толкатель обратного хода поршня, а воздухозаборник имеет канал в компрессорной секции камеры, сообщающий ее с атмосферой.
РИСУНКИ
|
|