|
|
(21), (22) Заявка: 2004127676/12, 27.06.2003
(24) Дата начала отсчета срока действия патента:
27.06.2003
(30) Конвенционный приоритет:
08.07.2002 (пп.1-16) IT FI2002A000119
(43) Дата публикации заявки: 10.04.2005
(46) Опубликовано: 20.02.2007
(56) Список документов, цитированных в отчете о поиске:
ЕР 0694020 B1, 31.01.1996. SU 1509327 A1, 23.09.1989. ЕР 1006066 А1, 07.06.2000. US 5653401 А, 05.08.1997. US 4711405 А, 08.12.1987.
(85) Дата перевода заявки PCT на национальную фазу:
15.09.2004
(86) Заявка PCT:
IT 03/00399 (27.06.2003)
(87) Публикация PCT:
WO 2004/005173 (15.01.2004)
Адрес для переписки:
129010, Москва, ул. Б.Спасская, 25, стр.3, ООО “Юридическая фирма Городисский и Партнеры”, пат.пов. С.А.Дорофееву
|
(72) Автор(ы):
ПЕРИНИ Фабио (IT)
(73) Патентообладатель(и):
ПЕРИНИ Фабио (IT)
|
(54) ПЕРЕМОТОЧНАЯ МАШИНА И СПОСОБ ПРОИЗВОДСТВА БУМАЖНЫХ ЛОГОВ РАЗНОГО РАЗМЕРА
(57) Реферат:
Изобретение относится к перемоточной машине и к способу производства логов бумаги. Машина содержит средства для подачи непрерывного бумажного полотна вдоль заданного пути, средства для выполнения ряда прерывистых поперечных разрезов для разделения полотна на участки заданной длины, отделяемые путем отрыва, средства для подачи трубчатых сердечников, на каждый из которых должно быть намотано заданное количество участков бумаги для формирования логов, канал для задания направления сердечникам, который проходит между постом для подачи сердечников и станцией, на которой формируют лог. Данный канал частично ограничен закрепленной направляющей и частично вальцом, который способствует подаче бумаги. Машина содержит устройство, которое может подавать заданное количество клея в канал и которое включает первые и вторые средства, расположенные и действующие в соответствующих заданных местах, находящихся между станцией подачи сердечников и станцией формирования логов. Изобретение обеспечивает предотвращение вибрации и дисбаланса сердечника при формировании логов. 2 н. и 14 з.п. ф-лы, 28 ил.
Настоящее изобретение относится к перемоточной машине и к способу производства бумажных рулонов (так называемых “логов” на техническом жаргоне) разного размера.
Как известно, при производстве логов требуется подача непрерывного бумажного полотна по заданному пути. В определенном месте пути осуществляют прерывистое поперечное резание полотна, чтобы разделить его на части или участки заданной длины, отделяемые отрывом.
Формирование логов предполагает использование трубчатых бобин из картона (обычно называемых “сердечниками”), на поверхности которых распределяют заданное количество клея, чтобы обеспечить приклеивание первого участка формируемого лога.
При выполнении упомянутого формирования также используют намоточные вальцы, которые приводят во вращение сердечник, на который наматывают бумагу. Процесс формирования лога заканчивается после того, как на сердечник будет намотано заданное количество бумаги. В этот момент начинается формирование следующего лога.
При завершении формирования необходимо приклеить последний участок каждого лога к нижележащему участку, чтобы избежать самопроизвольного разматывания лога. Такой тип приклеивания называют “кромочным запечатыванием”.
С этой целью далее по ходу от агрегата для формирования лога установлено соответствующее клеящее устройство, к которому подают все сформированные логи. Каждый лог впоследствии разрезают в поперечном направлении, чтобы получить из него большое количество рулонов бумаги коммерческого формата.
Перемоточная машина для производства логов подробно описана в европейском патенте ЕР 694020.
Вышеупомянутый способ формирования лога требует наличия вспомогательного устройства для приклеивания. Это сильно влияет на эксплуатационные расходы и требует большего пространства для производственной системы.
В отношении вышеупомянутого способа также должны быть приняты во внимание и другие соображения. Один из важных аспектов, который должен быть учтен, касается процесса нанесения клея на сердечник, что необходимо для закрепления первого участка формируемого лога. На машинах, известных в настоящее время, этот процесс осуществляют вне зоны намотки; клей распределяют на сердечниках, которые затем должны быть использованы для формирования логов, перед тем как эти сердечники заходят в зону, в которой они входят в соприкосновение с бумажным полотном. Этот способ работы в случае продолжительной остановки машины может привести к высыханию клея, находящегося на сердечниках. Понятно, что такая ситуация, если ее не исправить, приводит к перебоям производственного процесса. Фактически на машинах этого типа при таких обстоятельствах оператор вынужден вручную удалять сердечник с ранее нанесенным клеем.
Другие соображения, вновь касающиеся нанесения клея на сердечник, относятся к той стадии, на которой размер лога между намоточными вальцами становится все больше и больше. Вес клея, нанесенного на сердечник, в том случае, если он распределен в продольном направлении в виде довольно толстой линии, приводит к “дисбалансу” сердечника, что при предполагаемой скорости может вызвать сильную вибрацию лога по ходу его формирования. Это явление, которое может усиливаться само по себе, может привести к формированию лога, в котором сердечник в результате будет отклонен от оси.
Основная цель настоящего изобретения заключается в устранении упомянутых недостатков.
Согласно изобретению нужный результат достигнут посредством использования принципов, раскрытых в независимом пункте формулы изобретения. Другие отличительные признаки указаны в зависимых пунктах формулы изобретения.
Настоящее изобретение позволяет избежать использования клеящих устройств такого типа, которые выполняют “кромочное запечатывание”, и получить при этом значительные преимущества как в отношении стоимости, так и пространства. Кроме того, оно позволяет устранить описанные выше проблемы высыхания и “дисбаланса”.
Упомянутые преимущества, а также другие отличительные признаки изобретения будут лучше поняты квалифицированными специалистами в этой отрасли при прочтении приведенного ниже описания совместно с рассмотрением прилагаемых фигур, представленных лишь в качестве примера практического осуществления изобретения и не предназначенных для наложения каких-либо ограничений.
На фигурах представлено следующее:
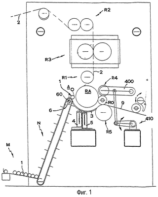
фиг.1 изображает схематический вид машины согласно изобретению;
фиг.2 – увеличенный фрагмент фиг.1;
фиг.3-10 – последовательность стадий работы машины по фиг.1;
фиг.11 – схематический вид в продольном сечении первого средства для нанесения клея, находящегося в нерабочем состоянии или в состоянии остановки;
фиг.12 – средство согласно фиг.11 в рабочем состоянии;
фиг.13А – частичный вид сбоку возможного варианта осуществления конструкции лопатки для средства по фиг.11 и 12, при этом лопатка имеет тонкие, отстоящие друг от друга зубцы;
фиг.13В – вид спереди лопатки согласно фиг.13А;
фиг.14А – частичный вид сбоку возможного варианта осуществления конструкции лопатки для средства по фиг.11 и 12, при этом лопатка имеет большие зубцы;
фиг.14В – вид спереди лопатки согласно фиг.14А;
фиг.15А – частичный боковой вид возможного варианта осуществления конструкции лопатки для средства согласно фиг.11 и 12, в котором лопатка имеет непрерывный профиль без зубцов;
фиг.15В – вид спереди лопатки согласно фиг.15А;
фиг.16 – схематический вид еще одного варианта осуществления изобретения;
фиг.17-28 – машина согласно изобретению с другой последовательностью выполнения стадий работы и с еще одним примером выполнения канала, предназначенного для направления сердечников.
Что касается базовой конструкции машины согласно изобретению, то, если обратиться к прилагаемым фигурам, она содержит:
станцию (А) для подачи сердечников (1);
накопитель (М) для хранения сердечников (1);
средства для подачи к станции (А) сердечников (1), извлекаемых из накопителя, посредством цепной подающей системы (N), проходящей между станцией (М) и станцией (А);
средства для подачи и поперечного предварительного резания или перфорирования бумаги (2) с помощью большого количества подающих, приводящих в движение и режущих вальцов (R1, R2, R3, RA), расположенных вдоль заданного пути, который также включает в себя станцию (А) подачи сердечников (1);
средства для наматывания бумаги (2) на сердечник (1) с помощью двух намоточных вальцов (RA, R4, R5), два из которых (R4 и R5) частично заходят друг за друга у выхода канала (С), ограниченного неподвижно закрепленной криволинейной направляющей (3) и поверхностью вальца (RA).
Валец (RA) выполняет двойную функцию – он подает бумагу (2) и наматывает ее на сердечник (1), что более подробно будет показано далее.
Вышеупомянутый канал (С) определяет границы последнего отрезка пути покрытия бумагой (2), а также путь следования каждого сердечника (1), который покидает станцию (А) подачи сердечника и перемещается к выходу канала (С).
Предпочтительно, чтобы согласно изобретению были созданы первые и вторые средства (4, 5) для подачи заданного количества клея на поверхность каждого сердечника (1), вводимого в канал (С). Такие средства (4, 5) для подачи клея действуют соответственно каналу (С) согласно определенной последовательности. При этом будет обеспечена первоначальная подача клея на последний участок лога (RO) в ходе формирования, а затем подача клея, предназначенного для крепления первого участка нового лога на соответствующий сердечник (1), надлежащим образом вводимый в канал (С).
Подача клея первыми и вторыми средствами (4, 5), как более подробно описано далее, чередуется с прохождением линии перфораций (р), которая отделяет последний участок лога (RO) по ходу формирования от первого участка последующего формируемого лога.
Точнее, если обратиться к фиг.3-10, то имеют место нормальные, описанные ниже условия работы.
После наматывания заданного количества участков на сердечник (1) формируемого лога (RO) рычаг (6), который вводит сердечник (1), находящийся на станции (А) (фиг.3), действует так, чтобы ввести один сердечник (1) в канал (С) посредством поворота вокруг его оси (60), и подталкивает сердечник с задней стороны (фиг.4). На этой стадии формирование лога (RO) продолжается на противоположной стороне канала (С), при этом продолжается наматывание бумаги на соответствующий сердечник (1r) посредством намоточных вальцов (RA, R4, R5).
Сердечник (1), только что введенный в канал (С), начинает продвижение и одновременное качение посредством соприкосновения его поверхности с поверхностью вальца (RA), который вращается вокруг своей собственной оси, как указано стрелкой (U).
В течение стадии, на которой сердечник (1) вводят в канал (С), угловая скорость вальца (R5) уменьшена по отношению к скорости вальца (RA) и вальца (R4). Эта ситуация вызывает перемещение формируемого лога (RO) в сторону от поверхности вальца (RA). Затем угловую скорость вальца (R4) устанавливают равной угловой скорости вальца (R5). Разность скоростей вальца (R5) и вальца (RA) определяет уменьшение натяжения и, следовательно, ослабление бумажного полотна (2) ближе по ходу от вальцов (R4, R5), а также приводит к отделению бумаги от поверхности вальца (RA) (фиг.4). Такое отделение происходит вдоль канала (С) на участке, проходящем между сердечником (1) и намоточными вальцами (R4, R5). Отделение бумаги от вальца (RA) может легче происходить при дутье сжатого воздуха через сопло (7), действующее между поверхностью вальца (RA) и станцией с намоточными вальцами (R4, R5). В качестве альтернативы дутью, выполняемому через сопло (7), может быть обеспечено всасывание со стороны направляющей (3). На фигурах позицией (VU) обозначен узел, обеспечивающий всасывание.
Когда сердечник (1) при своем продвижении вдоль канала (С) соответствующим образом подходит к первым средствам (4) для подачи клея, их приводят в действие и, соответственно, на поверхность сердечника (1) (фиг.5) наносят заданное количество клея. Когда этот сердечник (1) соответствующим образом подходит ко вторым средствам (5) для подачи клея, их также приводят в действие (фиг.6). Расстояние между первыми средствами (4) и вторыми средствами (5) выбирают надлежащим образом, так что при соответствии вторым средствам (5) сердечник (1) в результате будет повернут на некоторый угол относительно положения, занимаемого им при соответствии первым средствам (4) (фиг.6). В любом случае линия (р) перфораций на бумаге (2) в результате будет заключена между зонами (q, a), подвергаемыми воздействию первых и вторых средств (4, 5) для подачи клея. При этом подача клея первыми средствами (4) будет выполнена на последний участок формируемого лога (RO), в то время как подача клея вторыми средствами (5) приведет к наклеиванию на сердечник (1) первого участка нового формируемого лога.
На фиг.6 более подробно показано, что когда сердечник (1) благодаря своему комбинированному продвижению и качению вдоль канала (С) проходит поверх вторых средств (5) для подачи клея, зона (q) бумажного полотна (2) входит в соприкосновение с зоной сердечника (1), ранее подвергшейся воздействию первых средств (4) для подачи клея. В зависимости от положения средств (4, 5) для подачи клея зона (q) в результате будет смещена на вполне определенный угол по отношению к зоне (а) сердечника (1), на которую должны воздействовать вторые средства (5). На фиг.6 показан тот случай, при котором положение средств (4, 5) таково, что зоны (q) и (а), подвергаемые воздействию средств (4, 5), в результате будут диаметрально противоположны на сердечнике (1), так что упомянутый угол составит приблизительно 180°.
Сердечник (1) посредством перемещения и качения вперед вдоль канала (С) переносит бóльшую часть находящегося на нем клея, нанесенного средствами (4), на зону (q’) бумажного полотна. Зона (q) принадлежит последнему участку формируемого лога(RO), поскольку она в результате будет находиться далее по ходу от линии (р) перфораций, которая определяет конец этого лога (RO). На практике край (q’) последнего участка формируемого лога (RO) в результате будет приклеен, то есть будет обеспечен клеем на некотором расстоянии от линии (р); сердечник (1) образует средство, с помощью которого клей наносят на последний участок лога (RO), поскольку, по меньшей мере, частично (хотя и в достаточном количестве) клей посредством контакта будет перенесен от сердечника (зона q) к бумаге (край или зона q’).
При сохранении своего пути сердечник (1) также проходит вторые средства (5) для подачи клея, а посредством качения вдоль канала (С) зона (а) этого сердечника (1) также входит в контакт с бумажным полотном (2) в той зоне участка, которая следует за линией (р). Этот участок будет представлять собой первый участок последующего формируемого лога. Клей в зоне (а) наносят таким образом, чтобы вызвать прилипание бумажного полотна (2) к сердечнику (1), при этом полотно, как упомянуто выше, в зоне между сердечником (1) и концом канала (С) будет иметь некоторую свободу вследствие снижения скоростей намоточных вальцов (R4, R5) по отношению к вальцу (RA) (фиг.7).
Эффект освобождения бумажного полотна (2) в сочетании с его прилипанием к сердечнику (1), обеспечиваемым клеем, находящимся в зоне (а), таков, что в течение качения сердечника (1) будет происходить наматывание бумажного полотна (2) на сердечник (1) (фиг.7). После этого соответственно концевой части (30) направляющей (3) первый участок следующего формируемого лога в результате будет установлен (вновь посредством качения и продвижения сердечника (1)) между поверхностью части (30) и поверхностью сердечника (1) (см. фиг.8). Благодаря этому, а также тому, что сохраняется вращение намоточных вальцов (R4, R5), часть бумажного полотна (2), которая в результате сдавливается между поверхностью (30) направляющей (3) и формируемым логом (RO), подвергается такому натяжению, чтобы обеспечить отрыв по линии (р), как показано на фиг.9.
При продолжении вращения намоточных вальцов (R4, R5) завершают формирование лога (RO) прохождением клеевой зоны (q’) последнего участка лога под вальцом (R4). Это приводит к соответствующему приклеиванию последнего участка лога (RO) к нему непосредственно внизу этого лога (фиг.10). В этот момент скорость вальца (R4) увеличивается и за счет разности скоростей, создаваемой при этом между намоточными вальцами (R4, R5), формируемый лог (RO) освобождается и может скользить вдоль выпускной направляющей (9) далее по ходу от намоточных вальцов (R4, R5). После этой стадии вальцы (R4, R5) вновь достигают рабочей скорости и место (RO) занимает сердечник (1), продвигающийся к концевой части (30) направляющей (3), чтобы обеспечить формирование нового лога.
Будет понятно, что включение в процесс первых и вторых средств для подачи клея надлежащим образом синхронизировано по отношению друг к другу для обеспечения того, что было описано ранее, и чтобы непрерывно происходила подача бумаги (2) на поверхность вальца (RA) в течение продвижения сердечника (1) вдоль канала (С).
Намоточный валец (R4) установлен на соответствующем опорном плече (400), которое подвешено к стационарной части машины и взаимосвязано с приводным устройством (410), обеспечивающим его перемещение для приближения к нижнему намоточному вальцу (R5) и удаления от него способом, который хорошо известен квалифицированным специалистам в этой отрасли.
Описанные выше операции могут быть выполнены автоматически посредством программируемых электронных средств, которые известны квалифицированным специалистам в этой отрасли и поэтому не будут описаны более подробно.
Из приведенного выше описания машины и процесса работы понятно, что можно избежать использования каких-либо устройств для приклеивания далее по ходу от намоточных вальцов с получением при этом очевидных экономических преимуществ, вытекающих как из непосредственной экономии, так и из меньшего пространства, требуемого для размещения агрегата. Кроме того, очевидны преимущества, обеспечиваемые новой системой переноса клея на сердечник; приклеивание, выполняемое в пределах зоны наматывания, устраняет проблемы, связанные с высыханием клея (поскольку клей сразу же выполняет свою функцию, он не подвергается высыханию), а нанесение двойной продольной линии уменьшает проблемы, связанные с “дисбалансом”, поскольку зоны нанесения клея формируют фактически две линии, диаметрально противоположные по отношению к поверхности сердечника (1).
Как показано в примерах, представленных на фиг.11 и 12, первые средства (4) для нанесения клея могут содержать резервуар (40) для хранения клея в жидком состоянии, расположенный ниже направляющей (3), и лопатку (41), установленную внутри резервуара и имеющую возможность перемещения от канала (С) и к каналу с управлением соответствующим приводным средством (42), которое подсоединено к ней посредством цепи жестких звеньев (43, 44, 45) передаточной системы в состоянии, которое показано на фиг.11, лопатка (41) полностью удерживается внутри резервуара (40). В состоянии, показанном на фиг.12, лопатка (41) поднята посредством отведения штока приводного средства (42) и соответствующих перемещений (как показано стрелками) элементов (43, 44, 45) передаточной системы. Подъем лопатки (41) приводит к нанесению клея на поверхность сердечника (1), который в этот момент перемещается вдоль канала (С). Будет понятно, что направляющая (3) соответствующим образом прорезана, чтобы обеспечить подъем лопатки (41) и ее соприкосновение с поверхностью сердечника (1). Как показано на фиг.13А, 14А и 15А, верхний край лопатки (41) может быть выполнен прерывистым, то есть он может быть выполнен с зубцами (фиг.13А и 14А), либо непрерывным (фиг.15А). Кроме того, как показано на фиг.13В, 14В и 15В, верхний край лопатки (41) может быть вогнутым, при этом вогнутость направлена вверх.
Вторые средства (5) для нанесения клея могут быть выполнены подобно первым средствам (4) и поэтому их описание можно не повторять.
Очевидно, что можно обеспечить желаемое количество участков в каждом логе (RO) и их желаемую длину.
Согласно еще одному варианту осуществления настоящего изобретения, который показан на фиг.16, клей может быть подан посредством двух инжекторов (32, 31), предназначенных для подачи клея непосредственно на бумагу (2) ближе по ходу и соответственно далее по ходу от перфорационной линии (р), которая отделяет последний участок формируемого лога (RO) от первого участка последующего формируемого лога. Приведение инжекторов (32, 31) в действие можно выполнять одновременно, что схематически показано на фиг.16.
Как и в ранее описанном случае, инжекторы (32, 31) расположены внутри канала (С) на заданном расстоянии друг от друга.
Согласно примерам, представленным на фиг.17-28, неподвижная направляющая канала (С) состоит из двух элементов:
из первого элемента (3а), противоположного нижележащей транспортерной ленте (300), выполненной в виде замкнутого кольца и расположенной непосредственно далее по ходу от станции (А), который обеспечивает подачу трубчатых сердечников (1);
из второго элемента (3b), расположенного далее по ходу от первого элемента (3а) и ленты (300) противоположно вальцу (RA).
Схематические изображения на фиг.17-22 и соответственно на фиг.23-28 отличаются друг от друга только разным местом расположения средств для подачи клея, которые в любом случае действуют внутри канала (С) и установлены на заданном расстоянии друг от друга. Средства для подачи клея могут быть объединены так, как показано на фиг.17-22, когда первые средства для подачи клея представляют собой средства типа лопатки, а вторые средства для подачи клея представляют собой средства инжекционного типа.
На практике все детали конструкции могут быть изменены любым эквивалентным способом в отношении формы, размеров, расположения элементов и характера используемых материалов, но без отклонения от объема идеи разработанного решения, оставаясь при этом в пределах защиты, определяемых настоящим патентом на промышленное изобретение.
Формула изобретения
1. Перемоточная машина для производства логов бумаги, содержащая средства для подачи непрерывного бумажного полотна (2) вдоль заданного пути, средства для выполнения ряда прерывистых поперечных разрезов для разделения полотна (2) на участки заданной длины, которые можно отделять путем отрыва, средства для подачи трубчатых сердечников (1), на каждый из которых должно быть намотано заданное количество участков для формирования лога, канал (С) для направления сердечников, который проходит между станцией (А) для подачи сердечников и станцией, на которой формируют лог (RO), при этом канал (С) частично ограничен закрепленной направляющей (3) и частично вальцом (RA), который способствует подаче бумаги (2), отличающаяся тем, что она содержит устройство (4, 5; 32, 31), выполненное с возможностью подачи заданного количества клея внутрь канала (С), при этом упомянутое устройство включает в себя первые и вторые средства (4, 31; 5, 32), расположенные и действующие в соответствующих заданных местах канала (С), причем заданные места расположены между станцией (А) подачи сердечников (1) и станцией формирования логов (RO).
2. Машина по п.1, отличающаяся тем, что она содержит первые и вторые средства (4, 5) нанесения заданного количества клея на поверхность каждого сердечника (1), который совершает перемещение, то есть движется вперед и катится вдоль канала (С).
3. Машина по п.2, отличающаяся тем, что первые и вторые средства (4, 5) могут быть приведены в действие в разное время.
4. Машина по п.1 или 2, отличающаяся тем, что первые и вторые средства (4, 5) могут быть приведены в действие последовательно, причем надлежащая последовательность приведения в действие включает в себя переход линии (р) резания, которая отделяет последний участок формируемого лога (RO) от участка следующего формируемого лога.
5. Машина по п.1, отличающаяся тем, что она содержит пневматические средства (7; VU) для облегчения отделения бумаги (2) от поверхности вальца (RA).
6. Машина по п.5, отличающаяся тем, что пневматические средства расположены ближе по ходу от поста формирования логов (RO).
7. Машина по п.1, отличающаяся тем, что она содержит первые и вторые средства (30, 31) для впрыска заданного количества клея на разные места бумажного полотна (2).
8. Машина по п.7, отличающаяся тем, что первые и вторые средства (30, 31) могут быть приведены в действие в одно время.
9. Способ производства логов бумаги, содержащий следующие стадии: подачу непрерывного бумажного полотна (2) по заданному пути, выполнение ряда прерывистых поперечных разрезов, чтобы разделить полотно (2) на части или на участки заданной длины, отделяемые путем отрыва, подачу трубчатых сердечников (1), на каждый из которых должно быть намотано заданное количество участков, чтобы сформировать лог вдоль канала (С), направляющего сердечники, который проходит между станцией (А) подачи сердечников и станцией, на которой формируют лог (RO); при этом канал (С) частично ограничен закрепленной направляющей (3) и частично вальцом (RA), который способствует подаче бумаги (2), отличающийся тем, что он включает в себя станцию нанесения заданного количества клея на поверхность каждого сердечника (1), который совершает перемещение, то есть движется вперед и совершает качение вдоль канала (С), либо на заданные места или на края полотна (2), которое проходит вдоль канала (С), причем нанесение клея выполняют в соответствии с перемещением каждого сердечника (1), по меньшей мере, через то место канала (С), которое находится в промежутке между станцией (А) подачи сердечников и станцией формирования логов (RO).
10. Способ по п.9, отличающийся тем, что нанесение клея выполняют в соответствии с перемещением каждого сердечника (1) через два отдельных места канала (С).
11. Способ по п.9 или 10, отличающийся тем, что нанесение клея выполняют в двух отдельных зонах (a, q) каждого сердечника (1).
12. Способ по п.9 или 10, отличающийся тем, что нанесение клея выполняют в двух диаметрально противоположных зонах (а, q) каждого сердечника (1).
13. Способ по п.11, отличающийся тем, что между нанесением клея на зоны (а, q) каждого сердечника (1) происходит перемещение линии (р) резания бумаги, которая отделяет последний участок формируемого лога (RO) от первого участка последующего формируемого лога.
14. Способ по п.9, отличающийся тем, что вдоль канала (С) каждый сердечник (1) наносит клей посредством контакта на заданном расстоянии от линии (р) резания на кромку (q’) последнего участка лога (RO) в ходе его формирования.
15. Способ по п.9, отличающийся тем, что нанесение клея относится непосредственно к бумажному полотну (2) и его выполняют при перемещении каждого сердечника (1) через заданное место канала (С).
16. Способ по п.9, отличающийся тем, что он включает в себя выполняемое посредством отрыва отделение последнего участка формируемого лога (RO) от первого участка последующего формируемого лога путем натяжения бумаги в результате установки первого участка между поверхностью соответствующего сердечника (1) и фиксированной поверхностью направляющей (3).
РИСУНКИ
|
|