|
|
(21), (22) Заявка: 2004123220/12, 05.11.2002
(24) Дата начала отсчета срока действия патента:
05.11.2002
(30) Конвенционный приоритет:
28.12.2001 US 10/035,058
(43) Дата публикации заявки: 20.02.2006
(46) Опубликовано: 20.02.2007
(56) Список документов, цитированных в отчете о поиске:
US 6145782 А, 14.11.2000. ЕР 0061248 А2, 29.09.1982. US 4524895 A, 25.06.1985. RU 2110944 C1, 20.05.1998.
(85) Дата перевода заявки PCT на национальную фазу:
28.07.2004
(86) Заявка PCT:
US 02/35647 (05.11.2002)
(87) Публикация PCT:
WO 03/056994 (17.07.2003)
Адрес для переписки:
103064, Москва, ул. Казакова,16, НИИР Канцелярия “Патентные поверенные Квашнин, Сапельников и партнеры”, В.П.Квашнину
|
(72) Автор(ы):
ТРЭМОНТИНА Пол Фрэнсис (US), ГРИН Джонатан (GB), ТОМ Ричард С. (GB)
(73) Патентообладатель(и):
КИМБЕРЛИ-КЛАРК ВОРЛДВАЙД ИНК (US)
|
(54) ВЫДАЧНОЕ УСТРОЙСТВО ДЛЯ ЛИСТОВОГО МАТЕРИАЛА
(57) Реферат:
Изобретение относится к устройствам для выдачи листового материала. Выданное устройство, приспособленное для выдачи листового материала, содержит корпус, имеющий платформу, сконфигурированную для поддержания листового материала. Платформа включает съемную пластину с отверстием, расположенным на первой оси. Корпус сформирован так, что содержит выходное отверстие, расположенное на некотором расстоянии от платформы, причем это выходное отверстие расположено на второй оси. Листовой материал перемещается между отверстием в платформе и выходным отверстием по третьей оси. Предусмотрены варианты выполнения выдачного устройства, способ установки листового материала и способ регулирования потока листового материала. Изобретение обеспечивает использование листового материала различного типа с простой загрузкой и регулировкой устройства. 5 н. и 23 з.п. ф-лы, 9 ил.
ОБЛАСТЬ ИЗОБРЕТЕНИЯ
Настоящее изобретение, в общем, относится к выданным устройствам, и более конкретно, к устройствам для выдачи листового материала.
УРОВЕНЬ ТЕХНИКИ
Выданные устройства для рулонов или стопок листового материала содержат выходное отверстие, через которое обычно можно выдавать один листовой материал одновременно. Загрузка и перезагрузка во многих выдачных устройствах, предназначенных для выдачи листового материала, выполняется достаточно сложно, в результате чего происходит избыточная или недостаточная раздача листового материала.
Во многих выдачных устройствах также возникают проблемы при использовании различных продуктов. То есть, продукты в виде листовых материалов, поставляемые различными производителями, часто имеют собственные характеристики. Толщина и вес единицы площади листового материала для каждого продукта, весьма вероятно, будут разными. Кроме того, значение растяжимости листового материала в машинном направлении будет меняться для различных продуктов. Более того, прочность перемычки между отрываемыми частями для каждого вида листового материала также может отличаться от продукта к продукту. Такие различные характеристики каждого типа продукта также часто приводят к избыточной или недостаточной выдаче листового материала.
Кроме того, даже когда выданное устройство работает правильно, установка новой порции листового материала через малое или труднодоступное отверстие или выданное отверстие может быть затруднительной для оператора. Поэтому у оператора возникают трудности, связанные с повторной загрузкой всякий раз, когда требуется осуществить новую загрузку листового материала.
Было бы предпочтительно разработать выданное устройство для листового материала, свернутого в рулон, или листового материала, уложенного в стопку, которое обеспечивало бы для оператора возможность быстрой и простой загрузки и протяжки листового материала при использовании продуктов различного типа, с помощью, например, одной руки, и которое можно было бы легко регулировать для продуктов разного типа.
ОПРЕДЕЛЕНИЯ
Используемый здесь термин “толщина” относится к измеряемой толщине листа, измерение которой производят под действием постоянной силы. Толщину можно измерять с использованием испытательной методики № TAPPI 411-ОМ-89.
Используемый здесь термин “вес единицы площади” (ниже ВЕП (“BW”)) представляет вес единицы площади образца и может быть выражен в граммах-силы на квадратный метр, и его значение может быть получено с использованием испытательной процедуры ASTM D3776-96.
Используемый здесь термин “машинное направление” (ниже МН (“MD”)) представляет направление, параллельное направлению перемещения материала вперед во время его обработки.
Используемый здесь термин “растяжимость в машинном направлении” (ниже РМН (MDT)) представляет силу, требуемую для разрыва образца в машинном направлении. Значения этого параметра могут быть выражены в граммах силы, сокращенно “гс”. РМН можно определить с использованием испытательной методики номер ASTM D5035-95.
Используемый здесь термин “прочность на разрыв перемычек” представляет силу, требуемую для разрыва в машинном направлении листового продукта вдоль его линии перфорации. Значения этого параметра могут быть выражены в граммах силы и сокращенно “гс”.
Используемый здесь термин “выходное отверстие” или “выдачное отверстие” обозначает отверстие в корпусе выдачного устройства, предназначенное для выдачи листового материала из выдачного устройства.
Используемый здесь термин “рулон с подачей из центра” или “рулонный продукт с подачей из центра” означает листовой материал, намотанный цилиндрически вокруг центрального элемента и позволяющий извлечение материала центральной части. Предпочтительно, по мере потребления рулона при подаче из центра, при окончании материала обеспечивается выдача листового материала, находящегося на периферии рулона. Выдача материала с использованием рулонных продуктов с подачей из центра, описана в различных патентах, таких, как, например, патенты США №5370338 автора Lewis и 6082663 авторов Tramontina и др., но не ограничивается ими.
Используемый здесь термин “листовой материал” означает материал, имеющий малую толщину по сравнению с его длиной и шириной. Вообще говоря, листовой материал должен иметь относительно плоскую, ровную конфигурацию и должен быть гибким для обеспечения возможности его складывания, сворачивания в рулоны, укладки в стопки и т.п. Примеры листовых материалов включают бумажные салфетки, бумажные полотенца, рулоны с этикетками или другие волокнистые пленочные или полимерные продукты, но не ограничиваются ими.
Используемый здесь термин “крепежные элементы” означает устройства, которые закрепляют, соединяют, присоединяют, фиксируют, удерживают или зажимают компоненты вместе. Крепежные элементы включают винты, гайки и болты, заклепки, защелки, кнопки, гвозди, крепления с петельками и взаимно соединяющиеся входящие/охватывающие соединители, такие, как соединители типа крючков, но не ограничиваются ими, при этом соединитель типа крючков включает входящую часть с выступом на внешнем контуре. Введение входящей части в охватывающую часть, по существу, обеспечивает одновременную фиксацию двух частей.
Используемый здесь термин “соединение” включает, без ограничения, взаимное связывание, присоединение, закрепление, прикрепление или привязывание двух предметов друг к другу и с внедрением друг в друга.
СУЩНОСТЬ ИЗОБРЕТЕНИЯ
В одном объекте изобретения обеспечивается выдачное устройство, приспособленное для выдачи листового материала, которое включает корпус, имеющий платформу, сконфигурированную для поддержания на ней листового материала. Платформа включает съемную пластину с отверстием, отверстие которой расположено на первой оси. Корпус содержит выходное отверстие, разнесенное от платформы. Выходное отверстие расположено на второй оси. Листовой материал, расположенный в выданном устройстве перемещается между отверстием в платформе и выходным отверстием на третьей оси.
В другом объекте изобретения обеспечивается выдачное устройство, приспособленное для выдачи листового материала, которое содержит корпус, имеющий платформу, сконфигурированную для поддержания на ней листового материала. Платформа включает съемную пластину с отверстием на ней. Корпус содержит выходное отверстие, разнесенное от платформы. Когда листовой материал размещают в выдачном устройстве, этот листовой материал проходит, в общем, по Z-образному пути от платформы, через выходное отверстие.
В еще одном объекте изобретения обеспечивается способ установки продукта листового материала в выдачном устройстве. Предложено выдачное устройство, имеющее выходное отверстие. Выдачное устройство открывают для обеспечения доступа к платформе, установленной внутри корпуса, которая сконфигурирована для удерживания продуктов в виде листового материала. Платформа содержит съемную пластину с отверстием в ней. Пластину с отверстием выбирают для обеспечения выдачи эффективного количества листового материала через отверстие и выходное отверстие. Листовой материал размещают на платформе. Листовой материал протягивают через отверстие в пластине с отверстием. При этом ведущая кромка листового материала продолжается через пластину с отверстием. Выдачное устройство закрывают, и при этом ведущая кромка листового материала выходит через выходное отверстие.
В еще одном аспекте изобретения обеспечивается выдачное устройство, приспособленное для выдачи листового материала, которое корпус, имеющий платформу со сформированным в ней выходным отверстием. Платформа сконфигурирована для поддержания на ней листового материала. Смежно платформе расположена съемная пластина с отверстием, предназначенная для управления движением через выходное отверстие установленного в корпусе листового материала.
КРАТКОЕ ОПИСАНИЕ ЧЕРТЕЖЕЙ
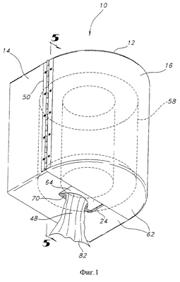
Фиг.1 – вид в перспективе с нижнего торца выдачного устройства для листового материала, представляющий рулон листового материала, расположенный в выдачно устройстве (показано пунктирными линиями), и листовой материал, продолжающийся через выходное отверстие.
Фиг.2 – вид в перспективе выдачного устройства по фиг.1, представляющий открытое выдачное устройство и рулон листового материала с выдачей листа из центра, установленный в нем.
Фиг.3 – вид в перспективе, аналогичный фиг.2, но представляющий корпус выдачного устройства, когда рулон листового материала с подачей из центра удален.
Фиг.4 – вид с покомпонентным представлением деталей платформы для выдачного устройства по фиг.3, представляющий верхнюю пластину с отверстием.
Фиг.5 – вид в сечении устройства по фиг.1, вдоль 5-5.
Фиг.6 – вид в сечении, аналогичный фиг.5, но представляющий вид с удаленным рулоном листового материала с выдачей из центра.
Фиг.7 – вид сверху одного из вариантов выполнения верхней пластины с отверстием.
Фиг.8 – вид в сечении устройства по фиг.7, вдоль 8-8.
Фиг.9 – вид сверху другого варианта выполнения верхней пластины с отверстием.
ПОДРОБНОЕ ОПИСАНИЕ ИЗОБРЕТЕНИЯ
Ниже приведено подробное описание предпочтительного в настоящее время варианта выполнения изобретения, один или несколько примеров которого изображены на чертежах. Каждый пример представлен в виде пояснения настоящего изобретения и не предназначен для его ограничения. Например, элементы, представленные или описанные как часть одного варианта выполнения или чертежа, можно использовать с другим вариантом выполнения или чертежом для получения еще одного варианта выполнения. Предполагается, что настоящее изобретение включает такие модификации и изменения.
На фиг.1-6 показано выдачное устройство 10 для листового материала. Выдачное устройство 10 содержит корпус 12 выдачного устройства. Корпус 12 выдачного устройства включает корпус 14 для рулона и крышку 16.
Корпус 14 для рулона сконфигурирован так, что он обеспечивает возможность установки выдачного устройства 10 на стене или на подходящей поверхности (не показана). Корпус 14 рулона включает платформу 18 для рулона, расположенную рядом с нижним концом 20 корпуса 14 для рулона. Как показано на фиг.4, платформа 18 для рулона содержит щель или отверстие 22. Другая щель 24 расположена на передней кромке 26 нижнего конца 20 корпуса 14 для рулона. Платформа 18 для рулона и нижний конец 20 разнесены друг от друга на расстояние 28 (фиг.5 и 6). Платформа 18 для рулона также включает фланцевый элемент 30, образованный вдоль периферии 32 отверстия 22, выполненный с небольшим углублением от верхней поверхности 34 платформы 18 для рулона. Фланцевый элемент 30 включает множество разнесенных друг от друга щелей 36. Верхнюю пластину 38 с отверстием устанавливают так, что она расположена на фланцевом элементе 30.
Верхняя пластина 38 с отверстием, как показано на фиг.3-8, сконфигурирована так, что она может быть установлена на фланцевом элементе 20 и соответствует большему участку периферии 32 отверстия 22 платформы 18 для рулона. Верхняя пластина 38 с отверстием содержит множество язычков 40, расположенных вдоль ее периферии 41. Каждый язычок 40 расположен так, что он проходит через одну щель 36 и продолжается ниже фланцевого элемента 30. Когда верхняя пластина 38 с отверстием, соответственно, расположена и немного повернута, язычки 40 скользят за щели 36 и упираются в нижнюю поверхность 42 фланцевого элемента 30, для удержания верхней пластины 34 с отверстием в положении для выдачи материала, как показано на фиг.3, 5 и 6.
Верхняя пластина 38 с отверстием по изобретению выполнена круглой, хотя можно использовать другие ее формы. Верхняя пластина 38 с отверстием имеет вогнутую криволинейную щель 43, сформированную по его периферии 41, которая образует, в общем, расширенную U-образную форму, как показано на фиг.3, 4, 7 и 9. То есть, каждая сторона U-образной формы разнесена на большее расстояние 44 друг от друга в верхней части расширенной U-образной формы, и на меньшее расстоянии 45 друг от друга на нижнем, закругленном конце 46 U-образной формы. Глубину 47 U-образной щели 43, а также ширину U-образной формы определяют в соответствии с типом продукта листового материала 48, устанавливаемого в выдачное устройство 10. Например, при сравнении верхней пластины 38 с отверстиями, показанной на фиг.7, с альтернативной верхней пластиной 38′ с отверстием, показанной на фиг.9, можно видеть, что значение ширины 44, 44′ верхних пластин 38, 38′, соответственно, приблизительно равно, но глубина 47′ верхней пластины 38′ с отверстием превышает глубину 47 верхней пластины 38 с отверстием. Большая глубина 47′ щели 43′ верхней пластины 38′ с отверстием обеспечивает меньшее сопротивления трения, и такую пластину используют с более толстыми, то есть, имеющими больший вес единицы площади, листовыми материалами. Для более тонких, а именно имеющих меньший вес единицы площади продуктов, требуется меньшая глубина 47 щели 43 пластины 38 с отверстием. При использовании устройства щель 43 совмещается с отверстием 22 платформы 18 для рулона, что обеспечивает легкое вытягивание листового материала 48 из устройства.
Крышка 16, как показано на фиг.1-6, соединена с одной стороной 49 корпуса 14 для рулона с помощью вертикального шарнира 50, который закреплен как на участке стороны 49, так и на участке крышки 16. Шарнир 50 обеспечивает возможность поворота крышки 16 так, что открывается корпус 14 и обеспечивается полный доступ к корпусу 14 для рулона и платформе 18 для рулона. Хотя, в соответствии с данным вариантом выполнения, используется шарнирное соединение, можно использовать другие средства крепления. Защелка 52, 53 расположена на противоположной стороне 54 корпуса 14 рулона и крышки, соответственно, вместе с нажимной кнопкой 56 для открывания, и предназначена для запирания крышки 16 в закрытом положении, как показано на чертеже для иллюстрации. Следует понимать, что можно использовать защелки с защитой от несанкционированного открывания (не показаны), которые обеспечивают доступ к рулону 58 листового материала 48 с подачей из центра, находящегося внутри выдачного устройства 10, только для оператора. Крышка 16 может быть сформирована из непрозрачного материала, или в качестве альтернативы, крышка 16 или любой ее участок может быть сформирована из прозрачного, окрашенного или полупрозрачного материала так, что оператор может видеть степень расходования рулона 58 с подачей материала из центра, установленного в выдачном устройстве 10. Крышка 16 выполнена закругленной так, что она, по меньшей мере, частично соответствует кривизне рулона 58 листового материала 48 с подачей материала из центра, установленного внутри, хотя можно использовать другие формы крышки.
Крышка 16 имеет нижний концевой участок 60, который вместе с нижним концом 20 платформы 14 для рулона образует нижний конец 62 корпуса 12 выдачного устройства. Нижний концевой участок 60 включает нижнюю пластину 64 с отверстием.
Нижняя пластина 64 с отверстием имеет вогнутую криволинейную щель 66, сформированную по периметру 68 нижней пластины 64 с отверстием, которая образует полуэллиптическую форму, хотя могут быть использованы полукруглые или другие формы. Когда нижний конец 20 корпуса 14 для рулона и нижний концевой участок 60 крышки 16 сведены вместе с обеспечением закрытого положения выдачного устройства 10, как показано на Фиг.1, 5 и 6, нижняя пластина 64 с отверстием перемещается в положение взаимодействия со щелью 24 в корпусе 14 рулона для образования выходного отверстия 70. В данном случае выходное отверстие 70 включает одну полуэллиптическую сторону и одну прямую сторону, но возможны также другие конфигурации. При использовании листовой материал 48 из рулона 58 с подачей из центра, установленный на платформе 18 для рулона, проходит через щель 43 в верхней пластине 38 с отверстием и через щель 66 в нижней пластине 64 с отверстием, которая образует участок выходного отверстия 70.
Вогнутый участок щели 66 нижней пластины 64 с отверстием расположен, в общем, так, что он обращен к вогнутому участку щели 43 верхней пластины 38 с отверстием, как показано на фиг.3 и 4, на которых выдачное устройство 10 представлено в открытом положении, но расположено позади щели 43 верхней пластины 38 с отверстием, когда выдачное устройство 10 закрыто, как показано на фиг.5-6. Ось 72 продолжается вертикально через щель 43 верхней пластины 38 с отверстием. Ось 74 продолжается через щель 66 нижней пластины 64 с отверстием, со смещением на некоторое расстояние от оси 72 и параллельно ей. Наклонно расположенная ось 76 продолжается через обе щели 43 верхней пластины 38 с отверстием и щель 66 нижней пластины 64 с отверстием, пересекая как ось 72, так и ось 74. Кроме того, верхняя пластина 38 с отверстием отделена от нижней пластины 64 с отверстием на расстояние 28 между платформой 18 для рулона и нижним торцом 20 корпуса 14 для рулона.
Как показано на фиг.5, листовой материал 48 продолжается, в общем, по Z-образному пути 77 через щели 43, 66 верхней и нижней пластин 38, 64 с отверстиями, в результате чего возникает сопротивление трения листового материала 48, из-за конфигурации пути 77, и сопротивление трения листового материала 48 о кромки 78, 80 щелей 43, 66 расположенных не параллельно, разнесенных друг от друга пластин 38, 64 с отверстиями. Сопротивление трения также образуется благодаря выбору размера и формы щелей 43, 43′ верхних пластин 38, 38′ с отверстиями. Такие характеристики взаимодействуют друг с другом, обеспечивая подачу требуемого количества листового материала, то есть одного куска листового материал одновременно, предотвращая, таким образом, избыточную или недостаточную выдачу листового материала.
Таким образом, для обеспечения правильной выдачи множества продуктов различного типа, требуется использовать только несколько верхних пластин 38, 38′ с отверстиями. Следует понимать, что в альтернативном варианте выполнения дополнительная верхняя пластина (пластины) с отверстием может храниться в корпусе 14 рулона (не показано). Также следует понимать, что в таком альтернативном варианте каждая из верхней и нижней пластин 38, 64 с отверстиями могут перемещаться в другое положение так, что пластина с отверстием, установленная на платформе 18 для рулона, будет зафиксирована, и пластина с отверстием, формирующая часть выходного отверстия 70, будет выполнена съемной, что позволит использовать в этом положении пластины с отверстиями, имеющие щели различных размеров.
В способе использования для установки листового материала 48 предложено выдачное устройство с выходным отверстием. Оператор открывает корпус 12 выдачного устройства, путем высвобождения крышки 16, и перемещает крышку 16 от корпуса 14 для рулона так, что может быть обеспечен доступ к платформе 18 для рулона. Платформа 18 для рулона включает верхнюю пластину 38 с отверстием, в которой сформирована щель 43, при этом оператор выбирает верхнюю пластину 38 с отверстием, имеющую определенную конфигурацию щели 43, для обеспечения подачи эффективного количества листового материала 48 через щель 43 и выходное отверстие 70. Рулон 58 листового материала 48 с подачей материала из центра устанавливают на платформе 18 для рулона, и ведущую кромку 82 листового материала протягивают через щель 43 в верхней пластине 38 с отверстием; при этом ведущая кромка 82 выходит на некоторое расстояние от нее. Крышку 16 корпуса 12 выдачного устройства затем закрывают, и ведущая кромка 82 листового материала 48 при этом выходит через выходное отверстие 70.
В способе регулирования перемещения листового материала 48 из выдачного устройства 10, предложен корпус 12 выдачного устройства, который содержит платформу 18 для рулона, предназначенную для поддержания на ней листового материала 48. Корпус 12 выдачного устройства также содержит выходное отверстие 70. Платформа 18 для рулона сконфигурирована для удержания съемной верхней пластины 38 с отверстием, в которой сформирована щель 43. Верхнюю пластину 38 с отверстием выбирают в соответствии с типом листового материала и устанавливают на платформу 18 для рулона. Листовой материал 48 затем загружают на платформу 18 для рулона, и ведущую кромку 82 протягивают через щель 43 в верхней пластине 38 с отверстием; при этом ведущая кромка 82 листового материала 48 выходит на некоторое расстояние от нее. Корпус 12 выдачного устройства закрывают, и ведущая кромка 82 выходит через выходное отверстие 70.
Выдачное устройство 10 сконфигурировано так, чтобы позволить пользователю открывать корпус 12 выдачного устройства, выбирать пластину с отверстием, например, 38 или 38′, и устанавливать выбранную пластину 38 или 38′ с отверстием в отверстие 22 платформы 18 для рулона, используя только одну руку. Кроме того, выдачное устройство 10 сконфигурировано так, чтобы позволить пользователю устанавливать новый рулон 58 листового материала 48 с подачей из центра в выдачное устройство 10, протягивать ведущую кромку 82 листового материала 48 через щель 43 или 43′ в пластине 38 или 38′ с отверстием и закрывать корпус 12 выдачного устройства, используя только одну руку.
Хотя настоящее изобретение было описано на примере конкретных предпочтительных вариантов выполнения, следует понимать, что объект настоящего изобретения не ограничивается этими конкретными вариантами выполнения. Напротив, предполагается, что объект настоящего изобретения включает все альтернативы, модификации и эквиваленты, которые могут быть включены в пределы объема и сущности следующей формулы изобретения.
Формула изобретения
1. Выдачное устройство, приспособленное для выдачи листового материала, содержащее корпус, включающий платформу, сконфигурированную для поддержания на ней листового материала, причем платформа включает съемную пластину с отверстием, расположенным на первой оси, при этом корпус сформирован так, что он содержит выходное отверстие, расположенное на некотором расстоянии от платформы, причем это выходное отверстие расположено на второй оси, при этом листовой материал, расположенный в выдачном устройстве, перемещается между отверстием в платформе и выходным отверстием по третьей оси.
2. Выдачное устройство по п.1, в котором отверстие в пластине с отверстием образует расширенную U-образную форму.
3. Выдачное устройство по п.2, в котором отверстие в пластине с отверстием сконфигурировано для выдачи листового материала с выбранной толщиной.
4. Выдачное устройство по п.1, в котором участок выходного отверстия сформирован с помощью пластины с отверстием.
5. Выдачное устройство по п.4, в котором пластина с отверстием сформирована так, что она образует полуэллиптическую форму.
6. Выдачное устройство по п.1, в котором листовой материал в общем перемещается по Z-образному пути через отверстие в пластине с отверстием и через выходное отверстие.
7. Выдачное устройство по п.6, в котором Z-образный путь создает сопротивление трения и способствует выдаче одного листового материала одновременно из выдачного устройства.
8. Выдачное устройство, приспособленное для выдачи листового материала, содержащее корпус, включающий платформу, сконфигурированную для поддержания на ней листового материала, при этом платформа включает съемную пластину с отверстием, причем корпус сформирован так, что он содержит выходное отверстие, расположенное на некотором расстоянии от платформы, при этом листовой материал, расположенный внутри выдачного устройства, проходит в общем по Z-образному пути от платформы и через выходное отверстие.
9. Выдачное устройство по п.8, в котором отверстие в пластине с отверстием имеет расширенную U-образную форму.
10. Выдачное устройство по п.9, в котором отверстие в пластине с отверстием имеет такую конфигурацию, которая обеспечивает выдачу листового материала выбранной толщины.
11. Выдачное устройство по п.8, в котором участок выходного отверстия образован пластиной с отверстием.
12. Выдачное устройство по п.11, в котором пластина с отверстием сформирована с обеспечением полуэллиптической формы.
13. Выдачное устройство по п.8, в котором Z-образный путь создает сопротивление трения и способствует выдаче одного листового материала одновременно из выдачного устройства.
14. Выдачное устройство по п.8, в котором отверстие в пластине с отверстием расположено на первой оси и выходное отверстие расположено на второй оси.
15. Выдачное устройство по п.14, в котором листовой материал, находящийся между платформой и выходным отверстием, расположен на третьей оси.
16. Способ установки продукта листового материала в выдачное устройство, предусматривающий обеспечение выдачного устройства с выходным отверстием, открывание выдачного устройства для обеспечения доступа к платформе, установленной в выдачном устройстве, которая сконфигурирована для удержания листового материала, причем платформа содержит съемную пластину с отверстием, причем пластину с отверстием выбирают для выдачи эффективного количества листового материала через отверстие и выходное отверстие, размещение листового материала на платформе, протягивание листового материала через отверстие в пластине с отверстием и продолжение ведущей кромки листового материала через него и закрытие выдачного устройства, так что ведущая кромка листового материала продолжается через выходное отверстие.
17. Способ по п.16, в котором стадия размещения листового материала на платформе предусматривает стадию размещения листового материала на платформе с использованием только одной руки.
18. Способ по п.16, в котором стадия протягивания листового материала через отверстие пластины с отверстием выполняют с использованием только одной руки.
19. Способ по п.16, в котором стадия закрытия корпуса выдачного устройства предусматривает стадию размещения дополнительной пластины с отверстием в контакте с листовым материалом.
20. Способ регулирования потока листового материала из выдачного устройства, содержащий обеспечение корпуса выдачного устройства, содержащего платформу, сконфигурированную для поддержания на ней листового материала, причем корпус выдачного устройства включает выходное отверстие и платформу, сконфигурированную для удержания на ней съемной пластины с отверстием, выбор пластины с отверстием, отверстие которой сконфигурировано, чтобы позволить выдачу эффективного количества листового материала через отверстие и выходное отверстие так, что исключается избыточная и недостаточная выдача листового материала, размещение пластины с отверстием на платформе для рулона, размещение листового материала на платформу, протягивание листового материала через отверстие в пластине с отверстием и продолжение ведущей кромки листового материала из него и закрывание выдачного устройства так, что ведущая кромка листового материала продолжается через выходное отверстие.
21. Способ по п.20, в котором стадию размещения листового материала на платформу выполняют только одной рукой.
22. Выдачное устройство, приспособленное для выдачи листового материала, содержащее корпус, включающий платформу и выходное отверстие, причем платформа сконфигурирована для поддержания на ней листового материала; и средство, расположенное смежно платформе, предназначенное для управления перемещением листового материала, размещенного внутри корпуса, через выходное отверстие, причем средство управления включает съемную пластину с отверстием.
23. Выдачное устройство по п.22, в котором отверстие в пластине с отверстием образует расширенную U-образную форму и сконфигурировано для выдачи листового материала выбранной толщины.
24. Выдачное устройство по п.23, в котором отверстие в пластине с отверстием расположено на первой оси, и выходное отверстие расположено на второй оси.
25. Выдачное устройство по п.24, в котором, по меньшей мере, участок листового материала перемещается из корпуса и через выходное отверстие по третьей оси.
26. Выдачное устройство по п.22, в котором участок выходного отверстия образован пластиной с отверстием.
27. Выдачное устройство по п.26, в котором пластина с отверстием сформирована для обеспечения полуэллиптической формы.
28. Выдачное устройство по п.22, в котором листовой материал, выходящий из корпуса через выходное отверстие, продолжается в общем по Z-образному пути, что создает сопротивление трения и способствует подаче одного листового материала одновременно из выдачного устройства.
РИСУНКИ
|
|