|
|
(21), (22) Заявка: 2003105166/12, 21.02.2003
(24) Дата начала отсчета срока действия патента:
21.02.2003
(30) Конвенционный приоритет:
22.02.2002 (пп.1-15) EP 02425095.3
(43) Дата публикации заявки: 27.08.2004
(46) Опубликовано: 20.02.2007
(56) Список документов, цитированных в отчете о поиске:
US 4630550 А, 23.12.1986. US 4303289 А, 01.12.1981. GB 2337093 А, 10.11.1999. DE 2330007 A1, 09.01.1975. SU 1606756 A1, 15.11.1990. SU 693059 A, 30.10.1979.
Адрес для переписки:
191036, Санкт-Петербург, а/я 24, “НЕВИНПАТ”, пат.пов. А.В.Поликарпову
|
(72) Автор(ы):
БАЙЕТТА Винченцо (IT), БАЙЕТТА Микеле (IT)
(73) Патентообладатель(и):
Металтекника Продуциони С.р.л. (IT)
|
(54) НАБОР МЕТАЛЛИЧЕСКИХ ЭЛЕМЕНТОВ ДЛЯ СОЗДАНИЯ МЕТАЛЛИЧЕСКИХ МЕБЕЛЬНЫХ КОНСТРУКЦИЙ
(57) Реферат:
Набор металлических элементов для создания металлических мебельных конструкций, содержащий вертикальные трубчатые стойки для поддерживания по меньшей мере одной горизонтальной поверхности и соединения боковых поперечин, он содержит по меньшей мере по одному соединительному узлу на каждую стойку, форма которого такова, что он геометрически сопрягается, во-первых, со стойкой и, во-вторых, по меньшей мере с одним соответствующим и согласующим профилем, вырезанным по меньшей мере в одном конце одной из поперечин, так что сначала соединительный узел и стойка, а затем соединительный узел и поперечина правильно сочленяются и предварительно позиционируются друг относительно друга, причем имеются по меньшей мере первые средства для прочного соединения соединительного узла со стойкой, вторые средства для прочного соединения соединительного узла с каждой сочлененной с ним поперечиной и третьи средства для прочного соединения каждой поперечины с горизонтальной поверхностью, причем ко всем этим соединительным средствам имеется легкий доступ, но их не видно снаружи. Использование данного изобретения обеспечивает возможность быстрой и легкой сборки металлических конструкций. 14 з.п. ф-лы, 10 ил.
Настоящее изобретение относится к набору металлических элементов для создания металлических мебельных конструкций, содержащему вертикальные трубчатые стойки для поддерживания по меньшей мере одной горизонтальной поверхности и соединения боковых поперечин.
Известны многочисленные металлические мебельные конструкции подобного типа, например столы, шкафы для одежды и т.п., в которых все или большинство входящих в их состав элементов соединяются друг с другом путем сварки.
Помимо того, что сам процесс сварки является длительным, для сварки всегда требуется обеспечить точное позиционирование свариваемых деталей, что еще больше увеличивает длительность сборки. Это особенно относится к случаю, когда используется сталь, покрытая пленкой из эстетических соображений и/или в соответствии с другими требованиями рынка, поскольку сначала приходится удалять пленку в местах сварки.
Сварные металлические конструкции не являются легко приспособляемыми, поскольку их очень трудно переделывать вне цеховых условий. Кроме того, такие конструкции всегда поставляются в собранном состоянии, поэтому требуется значительное пространство для их хранения и транспортировки. И наконец, в некоторых конструкциях предусмотрено использование деревянных или картонных панелей в качестве наполнителей, например горизонтальной поверхности столов или подобных предметов мебели, причем нижняя сторона этих панелей остается открытой, что недопустимо, в особенности для прилавков мясных магазинов.
Известен набор металлических элементов для создания мебельных конструкций, содержащий вертикальные трубчатые стойки для поддержания по меньшей мере одной горизонтальной поверхности и соединения боковых поперечин, и по меньшей мере по одному соединительному узлу на каждую стойку (US 4630550, А 47 В 47/02, 1986).
Недостатком такого набора является ограниченная область применения, так как он предназначен для создания используемых в промышленности и работающих в тяжелых режимах рабочих столов, а также сложность и недостаточная точность сборки конструкций и сложность разборки собранных конструкций.
Целью изобретения является устранение указанных выше недостатков путем обеспечения набора металлических элементов для создания металлических мебельных конструкций, который является более универсальным и позволяет любому человеку быстро и легко осуществить более точную сборку конструкции и разборку конструкции.
В предлагаемом наборе элементов предусмотрено использование специальных соединительных узлов, легко соединяемых, без сварки, со стойками конструкции, и специальных поперечин, которые, в свою очередь, могут быть без сварки соединены с этими узлами, причем их можно легко изготовить в цеховых условиях по низкой себестоимости, хотя они являются эффективными и прочными. Все эти входящие в состав набора элементы, включая соединительные узлы, выполняются из обычного фасонного и гнутого листового металла, однако они очень эффективны. Благодаря наличию отдельных соединительных узлов, которые геометрически сопрягаются со стойкой, а также наличию согласующего профиля, вырезанного в поперечинах, обеспечивается возможность осуществления более точного и легкого соединения между стойкой и поперечинами.
Кроме того, для транспортировки и хранения предлагаемого набора элементов требуется очень небольшое пространство.
Согласно изобретению эти и другие цели, которые будут очевидны из последующего описания, достигаются с помощью набора металлических элементов для создания металлических мебельных конструкций, описанного в формуле изобретения.
Изобретение подробно описано со ссылками на прилагаемые чертежи, изображающие не ограничивающий изобретение вариант его выполнения.
Фиг.1 изображает в аксонометрии предлагаемый набор элементов, в котором в некоторых частях сделаны вырезы, чтобы лучше были видны другие, согласно первому варианту в виде детали мебели (ломаная пиния) или согласно второму варианту в виде стола (сплошная пиния),
Фиг.2 изображает в аксонометрии часть предлагаемого набора, в котором в некоторых частях сделаны вырезы, чтобы лучше были видны другие, с противоположной по отношению к фиг.1 стороны, также согласно первому варианту в виде детали (часть показана штрихпунктирными линиями и часть – ломаными пиниями) или согласно второму варианту в виде стола (сплошная линия),
Фиг.3 изображает в разобранном виде соединительный узел, который может быть соединен со стойкой, которые входят в предлагаемый набор элементов,
Фиг.4 изображает сбоку внутреннюю часть поперечины, входящей в предлагаемый набор элементов,
Фиг.5 изображает разрез по линии V-V на фиг.4,
Фиг.6 изображает часть упомянутого выше соединительного узла, характерные составные части которого отделены друг от друга,
Фиг.7 изображает часть упомянутого выше соединительного узла, характерные составные части которого соединены друг с другом,
Фиг.8 изображает предлагаемый набор элементов для создания стола,
Фиг.9 изображает набор элементов для создания стола, расположенных так, чтобы их можно было уложить один в другой,
Фиг.10 изображает набор элементов для создания стола, уложенных один в другой.
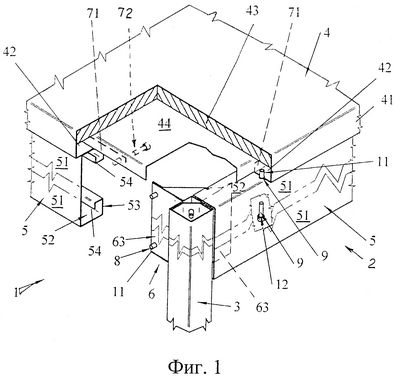
Согласно фиг.1 и 2 металлическая конструкция, обозначенная в целом цифровой позицией 1, содержит вертикальные трубчатые стойки 3, поддерживающие по меньшей мере одну горизонтальную поверхность 4 и соединяющие боковые поперечины 5. Все элементы этой конструкции предпочтительно выполнены из фасонного и гнутого листового металла.
Металлическая конструкция содержит также по меньшей мере по одному соединительнму узлу 6 на каждую стойку 3, форма которого такова, что обеспечивается его геометрическое сопряжение сначала со стойкой и затем по меньшей мере с одним соответствующим и согласующим профилем 58, вырезанным по меньшей мере в одном конце одной из поперечин 5, так что сначала соединительный узел 6 и стойка 3, а затем соединительный узел 6 и поперечина 5 правильно сочленяются и предварительно позиционируются друг относительно друга.
Изобретением также предусматриваются первые средства 7 для прочного соединения соединительного узла 6 со стойкой 3, вторые средства 8 для прочного соединения соединительного узла 6 с каждой сочлененной с ним поперечиной 5 и третьи средства 9 для прочного соединения каждой поперечины 5 с горизонтальной поверхностью 4. Ко всем этим соединительным средствам имеется легкий доступ, но они не видны снаружи.
В общем, соединительный узел 6 содержит по меньшей мере два крыла 63, расположенных на расстоянии друг от друга и под углом друг к другу, как правило, под прямым углом друг к другу. Каждое крыло может быть соединено с поперечинами 5 с помощью вторых соединительных средств 8. Как показано более детально на фиг.6 и 7, соединительный узел 6 предпочтительно содержит по меньшей мере две пластины 64 и 65, расположенные одна на другой и плотно сочлененные друг с другом, причем одна внутренняя пластина 64 и одна наружная пластина 65 образуют по существу элемент жесткости. Обе пластины выполнены фасонными и согнуты так, что они имеют первую часть 61, по меньшей мере частично соответствующую части стойки 3, и вторую часть 62, определяющую по меньшей мере два крыла 63, которые расположены на расстоянии друг от друга и под углом друг к другу, и каждое из которых может быть соединено с поперечинами 5 вторыми соединительными средствами 8.
Однако теоретически соединительный узел 6 мог бы содержать одну пластину 64, фасонированную и согнутую так, как показано слева на фиг.6.
Тем не менее выгодно, чтобы первая часть 61 содержала горизонтальные фасонные клапаны 66 из срезанного металлического листа, выступающие от верхнего и нижнего концов вертикальной плоскости 67, соединяющей крылья 63.
В случае, если стойки 3 имеют многоугольное поперечное сечение, то указанный выше соединительный узел содержит также фасонный элемент 67, расположенный внутри стойки 3 и согнутый так, чтобы прочно удерживаться на месте.
В этом случае по меньшей мере первые соединительные средства 7 расположены на вертикальном ребре стойки 3 и осуществляют крепление между фасонным элементом 67 и остальной частью соединительного узла 6, включающей крылья 63.
Другими важными элементами набора являются поперечины 5, каждая из которых содержит вертикальную полосу 51, снабженную наверху и внизу горизонтальными полосами 52, расположенными друг напротив друга. Свободные концы горизонтальных полос 52 имеют соответствующие первые вертикальные язычки 53, которые сцепляются со вторыми соединительными средствами 8. Однако предпочтительно, чтобы первые вертикальные язычки 53, по существу являющиеся элементами жесткости, заходили внутрь поперечины 5 соответствующими горизонтальными участками 55 и соединялись со вторыми соответствующими вертикальными язычками 54, параллельными первым вертикальным язычкам 53 и расположенными внутри по отношению к ним, где они сцепляются со вторыми соединительными средствами 8. В этом случае, как хорошо видно на фиг.2 и 4, свободный доступ к соединительным средствам 8 обеспечивается соответствующими отверстиями 10 в соответствующих первых вертикальных язычках 53 на каждом конце поперечины 5, который соединяется с соответствующей стойкой 3. Поскольку каждый соединительный узел 6 имеет тело 68 с поверхностью 69, расположенной между крыльями 63 под углом к ним, то каждая поперечина 5 снабжена на своих концах по меньшей мере одной парой углублений 56, вырезанных в вертикальных язычках 53, чтобы сделать возможным свободное и точное позиционирование тела 68 соединительного узла 6, когда поперечина сцепляется с соединительными средствами 8 вертикальными язычками 53.
Если же поперечина 5 сцепляется с соединительными средствами 8 вторыми вертикальными язычками 54, то ее концы также снабжены парой скошенных фасонных участков 57, вырезанных в горизонтальных участках 55 (фиг.2 и 5).
Если поперечины 5 имеют полосы 51, служащие для образования сторон по периметру детали мебели, то они будут иметь соответствующую высоту, как видно, например, на фиг.1 и 2 (ломаная линия), а соединительные узлы могут иметь крылья 63 соответствующего размера, как видно на фиг.1 (ломаная линия) или на фиг.2 (пунктирная линия), или разделенные на две части, как видно на фиг.2 (сплошная линия), одна из которых находится наверху, а другая внизу боковой стороны детали мебели.
В случае, когда металлическая конструкция 1 образует стол 2, как показано, например, на фиг.1 или 2 (сплошная линия) или на фиг.8 и 9, поперечины 5 имеют полосы 51 ограниченной высоты и крылья 63 соединительного узла 6 могут иметь соответствующую высоту, как показано на фиг.1 (сплошная линия) или на фиг.2 (пунктирная линия), или могут быть разделены на две части, как показано на фиг.2 (сплошная линия).
В последнем примере стол 2 обычно имеет горизонтальную поверхность 4 с периферийными обращенными вниз вертикальными стенками 41 и по меньшей мере одну горизонтальную нижнюю полосу 42, причем с внутренней стороны от поверхности 4 имеется по меньшей мере одна расположенная под ней деревянная панель 43, служащая как наполнитель и средство жесткости для поверхности 4.
В этом случае третьи соединительные средства 9 соединяют поверхность 4 со стойками 3, являющимися ножками стола 2, по горизонтальной полосе 42, при этом также соединяется элемент 44, защищающий нижнюю поверхность деревянной панели 43. Таким образом, поверхность панели всегда будет закрытой.
Защитный элемент 44 также может легко крепиться к поверхности 4 без использования сварки, если эта поверхность имеет внизу короткий вертикальный периферийный язычок 71, к которому защитный элемент может быть прикреплен соединительными средствами 72 и без сварки (см. фиг.1).
Стол 2 может также содержать по меньшей мере одну полку 21, расположенную под горизонтальной поверхностью 4 и имеющую соответствующие периферийные вертикальные стенки 211, L-образные углы для прочного соединения со стойками 3 и отверстия 212 для винтового соединения с соответствующими отверстиями 31 в каждой стойке 3.
В этом последнем случае очень важно рассчитать размеры всех элементов, входящих в состав стола 2, вертикальных стенок 41 горизонтальной поверхности 4 и вертикальных стенок 211 полки 21, чтобы можно было хранить по меньшей мере деревянную панель 43 и защитный элемент 44 внутри горизонтальной верхней части 4, а по меньшей мере стойки 3 с соответствующими установленными соединительными узлами 6 и поперечины 5 – внутри полки 21.
Для защиты всех частей во время хранения и транспортировки желательно вставить лист 70 полистирола (см. фиг.10), например, между поверхностью 4 и защитным элементом 44, заполненными, как описано выше. Также нужно отметить, что первые, вторые и третьи соединительные средства 7, 8 и 9 предпочтительно состоят просто по меньшей мере из одной резьбовой втулки 11, расположенной с одной стороны, и соответствующего резьбового средства 12, расположенного с другой стороны, которое может вставляться по меньшей мере в одно соответствующее отверстие 13.
Изобретение допускает различные изменения без отклонения от объема изобретательского замысла. Все детали, предусмотренные изобретением, могут заменяться технически эквивалентными элементами.
При практическом использовании изобретения все материалы и размеры элементов можно изменять в соответствии с требованиями.
Формула изобретения
1. Набор металлических элементов для создания металлических мебельных конструкций, содержащий вертикальные трубчатые стойки (3) для поддерживания по меньшей мере одной горизонтальной поверхности (4) и соединения боковых поперечин (5), отличающийся тем, что он содержит по меньшей мере по одному соединительному узлу (6) на каждую стойку (3), форма которого такова, что он геометрически сопрягается, во-первых, со стойкой и, во-вторых, по меньшей мере с одним соответствующим и согласующим профилем 58, вырезанным по меньшей мере в одном конце одной из поперечин (5), так что сначала соединительный узел (6) и стойка (3), а затем соединительный узел (6) и поперечина (5) правильно сочленяются и предварительно позиционируются друг относительно друга, причем имеются по меньшей мере первые средства (7) для прочного соединения соединительного узла (6) со стойкой (3), вторые средства (8) для прочного соединения соединительного узла (6) с каждой сочлененной с ним поперечиной (5) и третьи средства (9) для прочного соединения каждой поперечины (5) с горизонтальной поверхностью (4), причем ко всем этим соединительным средствам (7, 8, 9) имеется легкий доступ, но их не видно снаружи.
2. Набор металлических элементов по п.1, отличающийся тем, что соединительный узел (6) содержит по меньшей мере два крыла (63), которые находятся на расстоянии друг от друга и под углом друг к другу и каждое из которых может быть соединено вторыми соединительными средствами (8) с поперечинами (5).
3. Набор металлических элементов по п.1, отличающийся тем, что по меньшей мере стойки (3), горизонтальная поверхность (4), каждый соединительный узел (6) и каждая поперечина (5) выполнены из фасонных и гнутых деталей из листового металла.
4. Набор металлических элементов по п.3, отличающийся тем, что соединительный узел (6) содержит по меньшей мере одну деталь (64) из листового металла, фасонированную и согнутую так, что она имеет первую часть (61), которая по меньшей мере частично соответствует части его стойки (3), и вторую часть (62), содержащую по меньшей мере два крыла (63), которые находятся на расстоянии друг от друга и под углом друг к другу и каждое из которых может быть соединено вторыми соединительными средствами (8) с поперечинами (5).
5. Набор металлических элементов по п.3, отличающийся тем, что соединительный узел (6) содержит по меньшей мере две перекрывающие друг друга детали из листового материала (64 и 65), прочно соединенные друг с другом, при этом одна внутренняя деталь (64) и одна наружная деталь (65) являются по существу элементом жесткости, обе детали фасонированы и согнуты так, что имеют первую часть (61), по меньшей мере частично соответствующую части его стойки (3), и вторую часть (62), определяющую по меньшей мере два крыла (63), которые находятся на расстоянии друг от друга и под углом друг к другу и каждое из которых может быть соединено вторыми соединительными средствами (8) с поперечинами (5).
6. Набор металлических элементов по п.4 или 5, отличающийся тем, что первая часть (61) содержит горизонтальные фасонные клапаны (66) из срезанного металлического листа, выступающие от верхнего и нижнего концов вертикальной плоскости (67), соединяющей крылья (63).
7. Набор металлических элементов по п.4 или 5, отличающийся тем, что трубчатая стойка (3) имеет многоугольное поперечное сечение, а соединительный узел (6) содержит также фасонный элемент (67), расположенный внутри стойки (3) и согнутый так, чтобы прочно удерживаться на месте, причем первые соединительные средства (7) расположены на вертикальном ребре стойки (3) и обеспечивают крепление между фасонным элементом (67) и остальной частью соединительного узла (6), содержащей крылья (63).
8. Набор металлических элементов по любому из пп.2-5, отличающийся тем, что крылья (63) расположены под прямым углом друг к другу.
9. Набор металлических элементов по любому из пп.3-5, отличающийся тем, что каждая поперечина (5) имеет вертикальную полосу (51) с расположенными наверху и внизу, друг напротив друга горизонтальными полосами (52), свободные концы которых имеют соответствующие вертикальные язычки (53), сцепляющиеся со вторыми соединительными средствами (8).
10. Набор металлических элементов по любому из пп.3-5, отличающийся тем, что каждая поперечина (5) имеет вертикальную полосу (51) с расположенными наверху и внизу, друг напротив друга горизонтальными полосами (52), свободные концы которых имеют соответствующие первые вертикальные язычки (53), придающие жесткость, которые отходят внутрь поперечины (5) соответствующими горизонтальными участками (55) и соединяются с соответствующими вторыми вертикальными язычками (54), параллельными первым вертикальным язычкам и расположенными внутри по отношению к ним, причем вторые соединительные средства (8) сцепляются со вторыми вертикальными язычками (54), а свободный доступ ко вторым соединительным средствам (8) обеспечивается соответствующими отверстиями (10) в соответствующих первых вертикальных язычках (53) на каждом конце поперечины (5), соединяемом с соответствующей стойкой (3).
11. Набор металлических элементов по п.9, отличающийся тем, что каждый соединительный узел (6) имеет тело (68) с поверхностью (69), расположенной между крыльями (63) под углом к ним, а каждая поперечина (5) имеет на своих концах два углубления (56), вырезанных в вертикальных выступах (53), для обеспечения свободного и точного позиционирования тела (68) соединительного узла (6).
12. Набор металлических элементов по п.10, отличающийся тем, что каждый соединительный узел (6) имеет тело (68) с поверхностью (69), расположенной между крыльями (63) под углом к ним, а каждая поперечина (5) имеет на своих концах два углубления (56), вырезанных в вертикальных выступах (53), и два скошенных фасонных участка (57), вырезанных в горизонтальных участках (55), для обеспечения свободного и точного позиционирования тела (68) соединительного узла (6).
13. Набор металлических элементов по любому из пп.1-5, отличающийся тем, что металлическая конструкция (1) представляет собой стол (2), горизонтальная поверхность (4) которого имеет обращенные вниз периферийные вертикальные стенки (41) и по меньшей мере одну горизонтальную нижнюю полосу (42), причем с внутренней стороны от поверхности (4) имеется по меньшей мере одна лежащая под ней деревянная панель (43) и защитный элемент (44), который защищает нижнюю поверхность деревянной панели (43).
14. Набор металлических элементов по любому из пп.1-5, отличающийся тем, что каждое из первых, вторых и третьих соединительных средств (7,8 и 9) содержат просто по меньшей мере одну резьбовую втулку (11) на одной стороне и соответствующие резьбовые средства (12) на другой стороне, которые могут входить по меньшей мере в одно соответствующее отверстие (13).
15. Набор металлических элементов по п.13, отличающийся тем, что стол (2) содержит по меньшей мере одну полку (21), расположенную под горизонтальной поверхностью (4) и имеющую L-образные углы для прочного соединения со стойками (3) и соответствующие периферийные вертикальные стенки (211), причем размеры всех элементов, входящих в состав стола (2), вертикальных стенок (41) горизонтальной поверхности (4) и вертикальных стенок (211) полки (21) таковы, что когда стол (2) разобран, по меньшей мере деревянную панель (43) и защитный элемент (44) можно хранить внутри горизонтальной поверхности (4), а по меньшей мере стойки (3) с соответствующими установленными соединительными узлами (6) и поперечины (5) можно хранить внутри полки (21).
РИСУНКИ
MM4A – Досрочное прекращение действия патента СССР или патента Российской Федерации на изобретение из-за неуплаты в установленный срок пошлины за поддержание патента в силе
Дата прекращения действия патента: 22.02.2009
Извещение опубликовано: 27.11.2010 БИ: 33/2010
|
|